Деревообрабатывающий станок своими руками чертежи: Самодельный деревообрабатывающий станок – Из дерева своими руками. Мастер-классы по дереву
alexxlab | 20.04.1988 | 0 | Разное
Самодельный деревообрабатывающий станок своими руками: схемы, чертежи
Деревообрабатывающий многопрофильный станок
Народная мудрость гласит, что мужчина прожил жизнь не зря, если посадил дерево, вырастил сына и построил дом.
И если для первых двух дел особых механизмов не требуется, то при строительстве дома без них не обойтись. И среди них наиболее необходимы деревообрабатывающие механизмы — циркулярная пила, электрорубанок, фрезерная машинка, приспособление для точения или вместо них — один многофункциональный станок. При этом не важно, какие стены у дома: кирпичные, бетонные или какие-то другие. Без деревянных конструкций и материалов все равно не обойтись, поскольку дерево — строительный материал не только универсальный, но и незаменимый, особенно для внутренней отделки.
Для тех застройщиков, которые собрались возводить дом, но не имеют «лишних» денег на вспомогательные механизмы, рекомендуется изготовить дереворежущий станок, на котором можно выполнять множество операций: поперечное и продольное (роспуск) резание, строгание и фугование, точение и фрезерование, сверление и шлифование, изготовление шипов и выборку пазов.
Ну а при такой многофункциональности станок может пригодиться и тем, для кого деревообработка является ремеслом.
Конструкция представляемого дереворежущего станка при всех его перечисленных возможностях вообще-то классическая и довольно простая
Большинство деталей и узлов доступны для изготовления своими руками в условиях домашней мастерской. Однако некоторые узлы, например режущую головку, лучше заказать специалистам.
Сварных соединений немного, но и некоторые из них можно заменить клепкой или резьбовыми соединениями.
Материал силовых деталей (балок, стоек, ригелей) — в основном сортовой стальной прокат. Он немного утяжеляет станок, но значительно упрощает его изготовление.
Прежде, чем начать разговор о конструкции станка, — один совет.
При изготовлении из уголка рамки, угольника и т п. желательно после разметки мест сгибов вплотную к сгибаемой полке просверлить технологическое отверстие, сначала тонким сверлом (диаметром 4 — 5 мм), а затем сверлом побольше (диаметром 8 —10 мм).
После этого можно вырезать в полке «клинышек» (равнобедренный прямоугольный треугольник) и загибать заготовку Операция в этом случае идет легко и обеспечивается высокая точность изготовления.
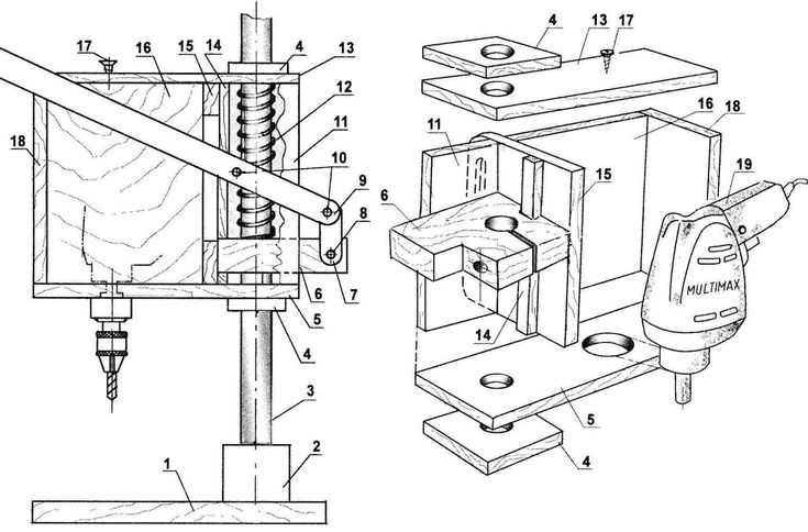
Рама станка состоит, в свою очередь, из двух рамок, соединенных между собой внизу опорами под двигатель, а вверху — ригелями. Все эти элементы — из уголка № 4 Рама опирается на балки-лонжероны основания, а вверху к ней на балках-царгах крепится рабочий стол. Балки выполнены из швеллера № 6,5. На концах балок основания смонтированы колеса, благодаря которым довольно тяжелый станок (массой около 100 кг) по силам перемещать в пределах помещения или из одного в другое, рядом расположенное помещение даже одному человеку Для работы механизм устанавливается на деревянные или металлические подкладки с помощью винтовых домкратиков, смонтированных здесь же на концах балок рядом с колесами. Внизу рамы на ложементе, обеспечивающем натяжение приводных ремней, смонтирован электродвигатель мощностью 1,5 кВт (но можно и больше) и скоростью вращения 1450 об/мин.
(мотор с меньшим числом оборотов в минуту устанавливать нежелательно). Для пуска и работы электродвигателя в схему включен блок конденсаторов, коробка с которыми закреплена в верхней части рамы.
Стенки рамы частично закрыты дюралюминиевым 1,5-мм листом, а внутри смонтирован наклонный лоток, по которому стружки и опилки из-под режущей головки удаляются в установленную рядом емкость или мешок Листы к раме приклепаны.
Главная часть станка — рабочий стол с режущей головкой.
Рабочий стол выполнен из дюралюминиевого листа толщиной 8 мм и состоит из четырех плит, двух малых (срединных) и двух больших (крайних). Плиты попарно — зеркально отображенные. Все отверстия в них под крепежные винты с потайной головкой — одинаковые, а их расположение в парных плитах также зеркально отображенное. Встречные кромки срединных плит, обращенные к режущей головке, выполнены со скосом 30° внутрь. Под задние плиты (срединную и крайнюю) подложены планки толщиной 1,5 мм, равной глубине резания при строгании заготовок.
Режущая головка — основной механизм станка, от которого зависит качество обработки заготовок По конструкции она не столь уж и сложна, но качество ее изготовления должно быть высоким. При недостатке опыта и при возможности лучше ее (а заодно и заднюю бабку с центром) заказать специалистам, у которых имеется хорошее металлорежущее оборудование.
Важнейшая деталь головки — довольно объемный и массивный барабан-вал с консольными концами в подшипниках качения 80104. Непосредственно на барабане монтируются четыре ножа. Количество ножей, скорость вращения барабана и длина рабочего стола по качеству обработки обеспечивают не строгание, а уже фугование заготовок. Все ножи одинаковые — у каждого по четыре режущие кромки (лезвия). Конструктивно закрепление ножей на барабане выполнено так, что при затуплении одного лезвия нож переставляется: поворачивается или перевертывается. Заточка ножей производится редко — только при затуплении всех кромок. При необходимости на барабане вместо ножей можно закрепить в специальной оправке наждачную шкурку или войлок и производить на станке плоскошлифовальные или полировальные операции.
На один конец вала насажен приводной шкив клиноременной передачи. На другом — монтируются всевозможные инструменты и приспособления, обеспечивающие станку многофункциональность Основной же инструмент, устанавливаемый здесь, —дисковая пила Закрепляется она между двумя специальными шайбами (упорной и прижимной) и затяжной гайкой. У гайки и упорной шайбы, как и на конце вала, — левая резьба М18х1,5.
При работе с дисковой пилой к рабочему столу пристыковывается подъемный столик (по длине он тако.й же, как и рабочий стол, но поуже), на котором закрепляется болтами направляющая с упорами. Подъем-опускание этого столика осуществляется передвижением его рамки на раме станка. Конструкция рамки на фото и чертежах немного разная1 сначала верхняя балка рамки крепилась к стойкам болтами (на фото), а затем балка была приварена к стойкам сверху (на чертеже). На плите подъемного стола монтируется направляющая с упорами. Направляющую можно устанавливать под углом до 45° относительно плоскости стола, чтобы можно было выполнить косой срез заготовки (у конструкции на фото такой возможности еще не было — она доработана, и это отображено на чертеже).
Этот же стол обеспечивает регулировку необходимой глубины резания дисковой пилой.
Сверла, концевые фрезы и тп. инструмент вставляется с торца вала в специальное отверстие-гнездо, выполненное в виде конуса Морзе № 1. Для удобства работы с длинными заготовками с этой стороны на раме вместо подъемного стола монтируется на кронштейне приставка, но о ней — в продолжении
Е.ЕВСИКОВ
деревообрабатывающий станок, универсальный деревообрабатывающий станок
Деревообрабатывающие станки для дома своими руками чертежи
При наличии деревообрабатывающих станков мастер может выполнить ряд необходимых работ по обустройству дома. Однако не всегда есть возможность приобрести заводские модели. В качестве альтернативы можно рассмотреть вариант изготовления их своими руками.
Основные операции деревообработки
Сначала необходимо определиться с видами деревообрабатывающих станков. Их конструкция и функциональные особенности зависят от типа проводимых операций.
Помимо необходимых ручных электрических инструментов для обработки древесины потребуется сделать дополнительное техническое оборудование.
На первом этапе составляется перечень выполняемых работ. В домашних условиях он может быть ограничен элементарной порезкой и небольшой обработкой деревянных поверхностей. Если же планируется небольшое производство — необходимо расширить перечень операций.
Виды работ, которые можно сделать своими руками в мастерской с помощью специального оборудования:
- обрезка. Осуществляется для формирования первичной формы детали или при заготовке дров. Во втором случае вместо традиционной бензопилы можно использовать пилорамы;
- фрезеровка и шлифование. С их помощью происходит обработка поверхности для достижения гладкой формы, а также удаление заусенец и возможных дефектов древесины;
- токарные работы. Один из самых сложных типов операции. Помимо специфического оборудования потребуется специальный ручной инструмент и практические навыки.
Это оптимальный перечень выполняемых операций. Он может быть дополнен другими типами работ.
Для качественной обработки древесины необходимо предусмотреть наличие инструментов для покраски или покрытия лаком.
Они позволят увеличить срок эксплуатация детали, сохранят ее первоначальный внешний вид.
Проектирование конструкции деревообрабатывающих станков
Самым сложным этапом является профессиональное создание чертежей для изготовления деревообрабатывающего станка своими руками. Во время выполнения этой работы необходимо учитывать будущие характеристики оборудования, а также наличие комплектующих для него.
Существуют определенные правила по разработке технической документации. Они заключаются в определении первоначальных условий, согласно которым составляется схема оборудования. Практически все деревообрабатывающие станки, которые можно сделать своими руками, состоят из следующих элементов:
- корпус (опорный стол, станина). На нем устанавливается все необходимое оборудование: силовая установка, блок обработки дерева, устройство для изменения текущих параметров;
- обрабатывающий блок. Его конфигурация и конструкция зависят от типа работ. Для резки дерева дома применяют дисковые или ленточные пилы.
Тонкая обработка осуществляется с помощью лобзикового станка; - устройство управления. С его помощью осуществляется изменение режима работы — частота вращения детали или механического воздействия на ее поверхность.
В качестве дополнительных компонентов при изготовлении самодельного деревообрабатывающего оборудования своими руками зачастую используют различные типы подсветок, измерительные инструменты. Они могут быть неотъемлемой частью конструкции.
Специалисты рекомендуют использовать комплексный подход во время проектирования. Изучаются чертежи заводских и самодельных моделей, выбирается подходящий вариант для мастерской.
Выбор комплектующих для деревообрабатывающих станков
На фактические характеристики будущего оборудования влияет качество комплектующих. Одной из проблем при изготовлении деревообрабатывающего станка своими руками является выбор деталей.
Специалисты рекомендуют применять как можно больше заводских комплектующих.
В первую очередь это относится к блокам обработки. Так, при изготовлении пилорамы для дома в качестве основы можно взять бензопилу. Это же относится к шлифовальному и фрезерному оборудованию. Детали для обработки изготавливается из инструментальной стали. Она характеризуется повышенной твердостью и прочностью. Поэтому сделать самостоятельно фрезу или валик с режущей кромкой будет проблематично.
Параметры выбора комплектующих:
- соответствие характеристик расчетным данным. Это относится к геометрическим размерам, материалу изготовления;
- возможность самостоятельной обработки;
- продолжительный срок эксплуатации.
После учета всех вышеописанных факторов можно приступать к проектированию и изготовлению деревообрабатывающего станка своими руками. Также необходимо позаботиться о мерах безопасности во время работы. В конструкции должны быть предусмотрены защитные панели, отсутствие вероятности прямого контакта с движущимися частями.
На чтение: 15 минут Нет времени?
Дерево – самый практичный и натуральный материал, из которого можно сделать предметы быта, мебель и даже детские игрушки.
Красивый самодельный станок для работы с древесиной
Читайте в статье
Станки по дереву для домашней мастерской: особенности и разновидности
Разнообразие станков по дереву для домашней мастерской широко. У каждого есть свое назначение и способы сборки самодельного варианта. Среди всех вариантов встречаются узконаправленные и с большим количеством функций, но со скромными размерами:
- Универсальные бытовые. Это мини-приспособления для обработки элементов из древесины. Используются дома или на приусадебном участке. Такой небольшой агрегат выполняет одновременно несколько функций, поэтому пользуется большой популярностью у «самоделкиных».
Самодельная циркуляционная пила
- Многофункциональный для собственной столярной мастерской. Можно использовать в небольшом производстве.
- Для создания деревянных изделий методом точения используют токарные станки. Есть компактные варианты, которые не займут много места в гараже.
- Для выпуска дверей и окон применяют фрезерные модели.
- Чтобы обстругать доски понадобится рейсмусовый станок.
- Копировально-фрезерные применяются для создания изделий необычных форм.
- Фуговальные могут обстругать болванку с одной стороны.
Статья по теме:
Для упрощения рабочих операций и уменьшения ошибок применяют специализированное оборудование. В этой статье рассказано о том, как правильно выбрать и приобрести многофункциональный бытовой деревообрабатывающий станок
Торцовочная пила руками «самоделкиных»
Много других вариантов деревообрабатывающих станков своими руками изготавливают по схемам.
Среди популярных приспособлений, которые очень полезны в домашней мастерской, выделяют:
- токарный станок;
- циркулярную пилу;
- фрезерное оборудование;
- рейсмусовый станок;
- шлифовальный и фуговальный вариант.
Небольшое токарное оборудование
Рассмотрим, особенности каждого приспособления для столярки и варианты самостоятельной сборки такого оборудования для своей деревообрабатывающей мини-мастерской.
Особенности токарного станка по дереву для домашней мастерской
Токарный станок – незаменимая вещь в мастерской любителей работать с натуральной древесиной. Используя его, можно сделать поверхность рифленой или расточить отверстия, а также вырезать настоящие произведения искусства самых необычных форм.
Конструктивно станок по дереву отличается от токарного варианта для металла отсутствием системы охлаждения. При этом скорость вращения основного элемента меньше, но есть регулировка мощности.
Ниже приведены несколько чертежей с размерами токарного станка по дереву своими руками:
Подробная схема со всеми размерами
Чертеж с габаритами элементов
Нередко для своих мастерских «самоделкины» изготавливают токарно-копировальные станки по дереву своими руками. Их применяют для производства большого количества одинаковых деталей, например, столбцов для забора или перил для лестницы. Вот примеры готовых станков в мастерских:
Видео о самодельном станке по дереву своими руками поможет разобраться в последовательности сборки и подборе необходимых для работы инструментов:
Способы сборки самодельных токарных станков по дереву своими руками с фото-примерами
Изготавливают своими руками токарные мини-станки по дереву, которые занимают немного место в гараже или разместятся в комнате городской квартиры. Вот несколько примеров готовых устройств от «самоделкиных»:
Задумываясь, как сделать самому токарные станки по дереву, вначале, выберите подходящий чертеж.
Затем, приготовьте материалы и приспособления для создания собственного агрегата. В процессе изготовления устройства пригодятся:
- станина;
- стойки передние и задние;
- мотор электрический;
- ведущий и управляемый центры;
- крепеж для инструмента.
Важно! Для самодельного станка достаточно мотора с мощностью до 250 Вт и количеством оборотов до 1500. Для более крупных элементов подбирайте другой вариант «движка» с большей производительностью.
Чтобы собрать все элементы в одну конструкцию понадобятся дрель, напильник, небольшая угловая шлифовальная машинка и сварочный аппарат. Ниже приведена инструкция по сборке мини-токарного станка:
| Иллюстрация | Последовательность действий |
Используйте высокое положение оси с закрытым типом подшипников и шайбой для фиксации дисков. С одной стороны оси устанавливаете диски, управляющие скоростью вращения, с другой – планшайбу для работы с древесиной.
В месте расположения передней бабки собираете площадку. Ее можно сделать также из фанеры. На площадке закрепляете электромотор.Существует немало способов сборки самодельного оборудования. Выбирайте подходящий исходя из наличия материала и необходимой производительности.
Специфика резцов для токарного станка по дереву
Резцы – один из главных элементов токарного станка. От их выбора зависит площадь и глубина удаляемой поверхности с детали. Состоят они из режущей части и участка для закрепления на оборудовании.
Варианты покупных резцов
Режущая кромка имеет одну или несколько поверхностей. А основной показатель резцов – ширина лезвия, его форма и возможность регулировки. Все модели разделяют на две подгруппы:
- радиальные, устанавливающиеся перпендикулярно и направленные на снятие большой поверхности;
- тангенциальные: для касательной обработки и формирования сложного рисунки.

Самодельные приспособления для работы с древесиной
Делая резцы для токарного станка по дереву самостоятельно, придерживайтесь нескольких правил:
- Длина рабочей поверхности должна быть в пределах 20-30 см. Такой размер обеспечивает надежный захват инструмента и достаточное количество места для размещения на упоре. А также вы обеспечите запас для регулярной заточки.
- Чтобы лезвие прочно крепилось в рукояти, следует оставлять хвостик достаточной длины. Если делаете резец из напильника или рашпиля, то удлините хвост в 1,5 – 2 р.
- Толщина рабочего дела должна быть достаточной, чтобы выдерживать удары при первичной обработке деталей.
- Длина рукояти из дерева или пластика составляет 25 см. Иначе, держать в руках такой инструмент неудобно.
Схемы токарных резцов
Вариант изготовления самодельного резца посмотрите в видеоматериале:
Использование деревообрабатывающего станка распространяется далеко за пределы строго промышленной сферы или столярных мастерских.
Довольно часто можно встретить подобные станки в хозяйстве обычного человека, который с его помощью может изготовить любой предмет мебели или целый дом, если конечно у данного человека есть все необходимые навыки. Приобретать в специализированных магазинах деревообрабатывающие станки довольно накладно, поэтому все чаще люди прибегают к самостоятельному изготовлению, основываясь на информации и чертежах, которые представлены в интернете.
Однако, прежде чем приступать к описанию работ, необходимых при изготовлении станка в домашних условиях, нужно разобраться в специфике данного устройства, а также некоторых нюансах, которые могут быть полезными в дальнейшем.
Основные сведения
Устройство деревообрабатывающего станка включает в себя несколько основных рабочих зон, а также дополнительных элементов. К числу основных относятся:
- станина;
- рабочая плита;
- валовый механизм;
- режущие инструменты;
- двигатель, передающий движение на другие компоненты устройства.

Дополнительные части станка
включают в себя
- области с ограждением потенциально опасного места;
- смазывающее устройство;
- агрегат, запускающий станок;
- точка, которая отвечает за подачу древесины.
Для изготовления станины используют, как правило, цельный сплав, либо другой массивный материал. Это неудивительно, ведь все остальные составляющие деревообрабатывающего станка располагаются на ней. Как правило, станина должна быть установлена на устойчивую поверхность из железобетона.
Рабочий стол в деревообрабатывающем станке отвечают за фиксацию всех рабочих компонентов Выполнен он из чугуна, который предварительно шлифуется. Конструкции рабочих столов могут быть разными, подвижного типа и нет.
Режущий элемент станка крепится к нему при помощи валового механизма. В зависимости от типа режущего элемента, валовый механизм может быть нескольких видов: ножевым, пильным и шпиндельного типа.
Что касается касается режущих элементов то они всегда изготавливается из высококачественной углеродной стали.
Кроме того, данные элементы могут быть самых различных видов:
- Круглопильные станки имеют в своей конструкции режущее устройство в форме круглого диска.
- Пильная лента используется в ленточнопильных деревообрабатывающих станках.
- Во фрезерных и шипорезных станках используются плоские ножи.
- Сверла используются, соответственно, на сверлильных установках.
- Долбежные цепи.
- Во фрезерных и шипорезных станках, помимо плоских ножей, используются крючки, фрезы и прорезные диски.
- Циклевальные ножи на соответствующих станках.
- Рулонная шкурка используется на шлифовальных установках.
Видео
Подручные материалы
Прежде чем приступать к изготовлению деревообрабатывающего станка в домашних условиях, нужно удостовериться в том, что у вас есть все необходимые инструменты и материалы. В частности, нам понадобятся:
- патроны для сверл;
- двигатель достаточной мощности;
- механизм вала;
- регулируемая станина.

Естественно, для изготовления различных деталей нам понадобится достаточное количество стали и металла. Необходимо запастись металлическими уголками, которые будут использованы при изготовлении рамной конструкции, различными болтами, ну и, конечно же, сварочным аппаратом, без которого соединение основных составляющих частей невозможно.
К используемому двигателю также есть определенные требования. В частности, его мощность должна быть в пределах 1,3-1,5 кВт, а скорость вращения вала должна быть порядка 2500 оборотов.
Касаемо режущих элементов, то многие специалисты сходятся во мнении, что при самостоятельном изготовлении станка лучше брать заводские детали, ведь они изготавливаются из инструментальной стали, отличающейся повышенной прочностью. В домашних условиях изготовление той же фрезы будет вряд ли возможным, поэтому лучше не усложнять данный процесс, а приобрести готовую продукцию.
Проектирование многопрофильного станка
В принципе, самостоятельное изготовление деревообрабатывающего станка вполне возможно в домашних условиях.
Однако, чтобы процесс работы был совершен в правильной последовательности, необходимо на первоначальном этапе сделать точный чертеж будущего станка. Подобное проектирование является одной из самых сложных задач во всей работе, поэтому нужно быть крайне внимательным на данном этапе.
Относительно деревообрабатывающих станок, то при их проектировании существуют определенные рекомендации, касающиеся составлению технической документации. В чертеже важно указать комплектацию будущего станка, обозначив все основные рабочие зоны, т.е. станину, режущие элементы и т.д.
Также на стадии проекта можно предусмотреть наличие определенного оборудования, установка которого необязательна, но в силу определенных причин она может оправданной. К примеру, можно предусмотреть освещение рабочей зоны, либо наличие различных измерительных инструментов и т.д.
Сборка своими руками
Заводской деревообрабатывающий станок является достаточно сложным техническим сооружением, выполняющим несколько работ:
Осуществление обрезки
Подобная обработка позволяет совершать формирование первичной заготовки какой-нибудь детали, либо совершать заготовку дров.
Фрезеровочные работы и шлифовка
После первичной обрезки, древесина подвергается шлифовке и прочим работам, направленным на удаление различных дефектов — заусенцев, неровностей и т.д.
Осуществление токарных работ
Считается наиболее сложным процессом, который можно совершать на станке. Это объясняется тем, что для их реализации нужны определенные знания и умения у человека, делающего данную работу, а также сопутствующий ручной инструмент.
Что касается самодельных деревообрабатывающих станков, то в большинстве случаев их функционал не такой широкий. Как правило, он ограничивается обычной обрезкой, а также минимальной обработкой древесины. Это вполне понятно, ведь чем меньше функций у устройства, тем легче его сделать, а деревообрабатывающий станок, как упоминалось ранее, довольно сложен в техническом плане. Поэтому, практически нереально изготовить в домашних условиях полноценный станок, ничем не отличающийся от заводского.
Сам процесс сборки станка
Начинается с чертежа, который можно изготовить самостоятельно, при достаточном понимании вопроса, либо воспользоваться расположенными в общем доступе, т.
е. в интернете. Однако, какой чертеж бы не был, работа всегда начинается с изготовления станины, на которой в дальнейшем будут располагаться основные рабочие детали.
Для изготовления станины
Нам понадобится металлическая труба или уголок. Например, берем шесть уголков с сечением 25 на 25 мм, а также один металлический уголок, сечение которого составляет 40 на 40 мм. Длина упомянутых комплектующих должна составлять порядка 300 мм. Соединяются они элементарным образом при помощи сварки, но нужно тщательно проверять швы, ведь при эксплуатации устройства появляется значительная вибрация, которая может расшатать конструкцию.
Изготовив станину, нужно определить ее на ровную поверхность. Лучше всего залить ее основание бетоном, чтобы устойчивость станка была достаточной для осуществления работ на нем.
Для конструкции станка
Нам понадобится валовый механизм, который можно изготовить самостоятельно, либо приобрести в магазине. В нем нужно предусмотреть отверстие, предназначенное для установки патрона для сверл.
Для этого подтачиваем окончание вала обычным напильником. Нужно сделать диаметр крепления немного большим, чем диаметр самого патрона. Затем подтачиваем патрон до тех пор, пока он надежно не закрепится на валовом механизме. Подгонка патрона к валу осуществляется при помощи надфиля и специального состава из абразива наждачной бумаги и масла. При этом, диаметр вала должен составлять порядка 300 мм.
На конце вала должен располагаться шкив клиноременной передачи, а на другом соответствующие приспособления, благодаря которым функционал станка становится шире. Режущий элемент в форме дисковой пилы должен быть закреплен между прижимной и упорной шайбой.
Конструкция стола
Изготавливается из стали, толщина которого должна быть прядка 10 мм. Для того, чтобы можно было изменять параметры строгания, нужно сделать стол раскладного типа, верхняя часть которого регулируется, а нижняя наоборот, должна быть жестко зафиксирована.
Внизу конструкции станка необходимо установить наш электродвигатель.
Натягиваем ремень на него и на вал, расположенный сверху. Также можно сделать дополнительный уголок, с помощью которого можно выравнивать деревянный материал по отношению к режущим элементам.
Работа и безопасность
Работа на деревообрабатывающем станке должна осуществляться только теми лицами, которые знакомы с определенными правилами техники безопасности. В противном случае, такая работа может закончиться весьма плачевно для того, кто ее осуществляет.
Всего же можно выделить несколько рекомендаций, соблюдение которых является обязательным:
- Перед началом работы на станке нужно тщательно проверить свой внешний вид, т.е. не торчат ли рукава или иные части, которые могут попасть под режущие элементы.
- Производим осмотр деревообрабатывающего станка. Проверяем надежность закрепления шайб, фиксирующих режущий элемент на валу. Также нужно проверить степень заточки ножей и дисковой пилы, ведь их недостаточная наточка может привести к неприятным моментам в процессе распиливания древесины.

- Древесину нужно подавать поступательно, без лишних рывков. Если на заготовке присутствуют сучки, то при приближении к ним режущего элемента нужно немного замедлять подачу.
- Приступать к работе нужно только после того, как двигатель наберет свои максимальные обороты.
- Большое внимание нужно уделять материалу, который будет обрабатываться на станке. На нем не должно быть никаких металлических скоб, гвоздей и прочих подобных элементов.
Соблюдение элементарной техники безопасности позволяет избежать множества трагических случаев, которые, к сожалению, не являются редкостью при работе с деревообрабатывающими станками. Понятно, что избежать всех внештатных ситуаций довольно сложно, но снизить риск их возникновения полностью во власти человека.
Советы по работе
Пожалуй, единственным советом в работе с деревообрабатывающим станком является точное соблюдение техники безопасности, которая изложена выше. К данному перечню хотелось бы добавить несколько моментов, касающихся непосредственной работы.
В частности, нужно знать, в каких случаях нужно выключать станок, чтобы не возникало внештатных ситуаций:
- Если вы заметили, что станок издает нехарактерные шумы и повышенную вибрацию.
- Если вышел из строя режущий элемент, либо его крепления.
- В случае попадания различного сора под режущие элементы.
- В случае перегрева электродвигателя и подшипников валового механизма.
- Естественно, если вы отходите от станка, то его также нужно отключать.
Каждый человек, вне зависимости от того, на каком именно станке он работает — самодельном или заводском, должен не забывать о том, что данная работа является потенциально опасной для его жизни, если он не будет соблюдать те правила, которые прямо прописаны в инструкциях по безопасности.
Деревообрабатывающий станок своими руками: подробное описание изготовления
Дерево – это строительный материал, который был востребован всегда. С развитием технологий появилось много различных инструментов и оборудования (в том числе и станков), при помощи которых можно производить обработку изделий без особых усилий, с высокой точностью и минимальной тратой времени.
Одним из наиболее востребованных аппаратов в данном списке является станок деревообрабатывающий универсальный.
Своими руками сделать его вполне реально, а о том, как именно реализовать эту идею, расскажет наша сегодняшняя статья.
О конструкции
В принципе, деревообрабатывающий станок не является сложнейшим высокотехнологичным механизмом. Его конструкция довольно простая, где-то даже классическая, поэтому проблем с его изготовлением зачастую ни у кого не возникает. Рассматривая внутреннюю часть данного оборудования, необходимо отметить, что режущую головку невозможно изготовить собственноручно, ибо такой элемент будет непригодным для использования. Поэтому некоторые детали следует заказывать у специалистов – так будет и быстрее, и надежнее.
Что же касается сварных соединений, то, изготавливая деревообрабатывающие станки своими руками (чертежи, точнее, схематические изображения данного устройства приведены на фото №2), вы не будете нуждаться в услугах профессиональных сварщиков.
Более того, некоторые места конструкции вполне можно заменить заклепками либо же резьбовыми соединениями.
О материале
Все важнейшие составляющие станка будут изготавливаться в основном из сортового стального проката. Из него делаются балки, стойки и ригели. По конструкции мы рассмотрели все нюансы, но прежде чем рассказать вам, как происходит изготовление деревообрабатывающих станков своими руками, дадим один совет. При изготовлении таких элементов, как уголок рамки и угольник, после разметки мест сгиба желательно просверлить технологическое отверстие вплотную к сгибаемой полке. Сначала в ход идет небольшое сверло (диаметром порядка 4-5 миллиметров), а затем покрупнее (9-10 миллиметров). После этого в полке вырезается так называемый клинышек (прямоугольный треугольник) и заготовка успешно загибается. Таким образом, станок деревообрабатывающий универсальный, своими руками сделанный, будет иметь очень точную и четкую конструкцию (в некоторых моментах его практически невозможно отличить от заводских аналогов).
А теперь более подробно об этапах изготовления.
Инструкция
Итак, как же изготовить станок деревообрабатывающий токарный своими руками? Первым делом нам нужно спроектировать и сделать основание инструмента, то есть раму. Она будет состоять из двух металлических рамок, соединяемых между собой внизу опорами под мотор, а вверху – ригелями. Все эти детали будут изготовляться из стального уголка. Рама опирается на лонжероны, а к верхней ее части крепится рабочий стол. В качестве крепежных элементов для последнего следует применить специальные балки-царги. На концах балок монтируются колеса. Благодаря им тяжелый станок можно будет с легкостью перемещать в пределах помещения с одного места на другое.
Для выполнения работ механизм монтируется на стальные подкладки при помощи резьбовых домкратиков. Последние монтируются рядом с колесами на концах балок. На ложементе, который осуществляет натяжение ремней, устанавливается электрический двигатель. Что же касается мощности мотора, то для деревообрабатывающего станка вполне достаточно иметь тяговый аппарат мощностью в 1.
5-2 киловатта со скоростью вращения не менее 1500 оборотов в минуту. Для пуска двигателя в схему следует включить блок конденсаторов. Коробка с ними монтируется в верхней части рамы станка.
Как далее делается деревообрабатывающий станок своими руками? На следующем этапе стенки рамы закрываются 1.5-миллиметровым листом стали, а внутри устанавливается наклонный лоток. Все листы к раме крепятся на заклепках.
Делаем деревообрабатывающий станок своими руками: о главной части устройства
Основные элементы данного оборудования – это рабочий стол и режущая головка. Начнем с первого. Рабочий стол изготовляется из дюралюминиевой стали и состоит из четырех зеркально отображенных плит. Все отверстия в них одинаковые, встречные кромки серединных элементов выполняются с откосом в 30 градусов внутрь. Под задние плиты подкладываются 1.5-миллиметровые планки.
Что же касается режущей головки, то здесь необходимо помнить следующее: данный механизм является основной составляющей деталью станка, именно от него зависит качество и быстрота обработки деревянных заготовок.
Поэтому изготавливать ее своими руками не следует – лучше закажите головку у специалистов, а заодно сделайте заказ на заднюю бабку с центром.
В конструкции деревообрабатывающего станка также имеется и специальный вал-барабан с консольными концами в подшипниках качения. На нем вам нужно будет установить четыре ножа, причем у каждого из них должно быть по столько же (4) режущих лезвий.
Делаем деревообрабатывающий станок своими руками – о дисковой пиле и подъемном столике
На один конец вала монтируется приводной шкив клиноременной передачи, на второй – навесные приспособления и инструменты, которые будут значительно расширять функционал деревообрабатывающего станка. Дисковая пила закрепляется между двух шайб (упорной и прижимной). При работе с данным оборудованием следует позаботиться о подъемном столике. Его размеры аналогичны габаритам рабочего стола.
Подъем-опускание данного элемента будет осуществляться при помощи его рамки на раме станка.
Конструкция предпоследней детали может быть разной. Однако зачастую рамка изготовляется по принципу, когда балка приваривается к стойкам сверху. На плите подъемного стола устанавливается направляющая с упорами. Ее инсталлируют под определенным углом (45 градусов), чтобы была возможность косого среза заготовки.
Заключение
Все, наш подъемный стол, впрочем, как и весь станок, успешно изготовлен. Для удобства работы на раме можно закрепить вместо подъемного стола приставку, однако это делается только тогда, когда вы работаете с особо длинными заготовками. На этом этапе вопрос о том, как изготовить деревообрабатывающий станок своими руками, можно считать закрытым.
Станок по дереву универсальный своими руками
Главная » Станок » Станок по дереву универсальный своими руками
Как сделать деревообрабатывающий станок для дома и домашней мастерской своими руками
При наличии деревообрабатывающих станков мастер может выполнить ряд необходимых работ по обустройству дома.
Однако не всегда есть возможность приобрести заводские модели. В качестве альтернативы можно рассмотреть вариант изготовления их своими руками.
Основные операции деревообработки
Универсальный деревообрабатывающий станок
Сначала необходимо определиться с видами деревообрабатывающих станков. Их конструкция и функциональные особенности зависят от типа проводимых операций.
Помимо необходимых ручных электрических инструментов для обработки древесины потребуется сделать дополнительное техническое оборудование. На первом этапе составляется перечень выполняемых работ. В домашних условиях он может быть ограничен элементарной порезкой и небольшой обработкой деревянных поверхностей. Если же планируется небольшое производство — необходимо расширить перечень операций.
Виды работ, которые можно сделать своими руками в мастерской с помощью специального оборудования:
- обрезка. Осуществляется для формирования первичной формы детали или при заготовке дров.
Во втором случае вместо традиционной бензопилы можно использовать пилорамы; - фрезеровка и шлифование. С их помощью происходит обработка поверхности для достижения гладкой формы, а также удаление заусенец и возможных дефектов древесины;
- токарные работы. Один из самых сложных типов операции. Помимо специфического оборудования потребуется специальный ручной инструмент и практические навыки.
Это оптимальный перечень выполняемых операций. Он может быть дополнен другими типами работ.
Для качественной обработки древесины необходимо предусмотреть наличие инструментов для покраски или покрытия лаком. Они позволят увеличить срок эксплуатация детали, сохранят ее первоначальный внешний вид.
Проектирование конструкции деревообрабатывающих станков
Пример схемы самодельного токарного станка по дереву
Самым сложным этапом является профессиональное создание чертежей для изготовления деревообрабатывающего станка своими руками.
Во время выполнения этой работы необходимо учитывать будущие характеристики оборудования, а также наличие комплектующих для него.
Существуют определенные правила по разработке технической документации. Они заключаются в определении первоначальных условий, согласно которым составляется схема оборудования. Практически все деревообрабатывающие станки, которые можно сделать своими руками, состоят из следующих элементов:
- корпус (опорный стол, станина). На нем устанавливается все необходимое оборудование: силовая установка, блок обработки дерева, устройство для изменения текущих параметров;
- обрабатывающий блок. Его конфигурация и конструкция зависят от типа работ. Для резки дерева дома применяют дисковые или ленточные пилы. Тонкая обработка осуществляется с помощью лобзикового станка;
- устройство управления. С его помощью осуществляется изменение режима работы — частота вращения детали или механического воздействия на ее поверхность.
В качестве дополнительных компонентов при изготовлении самодельного деревообрабатывающего оборудования своими руками зачастую используют различные типы подсветок, измерительные инструменты.
Они могут быть неотъемлемой частью конструкции.
Специалисты рекомендуют использовать комплексный подход во время проектирования. Изучаются чертежи заводских и самодельных моделей, выбирается подходящий вариант для мастерской.
Выбор комплектующих для деревообрабатывающих станков
На фактические характеристики будущего оборудования влияет качество комплектующих. Одной из проблем при изготовлении деревообрабатывающего станка своими руками является выбор деталей.
Специалисты рекомендуют применять как можно больше заводских комплектующих. В первую очередь это относится к блокам обработки. Так, при изготовлении пилорамы для дома в качестве основы можно взять бензопилу. Это же относится к шлифовальному и фрезерному оборудованию. Детали для обработки изготавливается из инструментальной стали. Она характеризуется повышенной твердостью и прочностью. Поэтому сделать самостоятельно фрезу или валик с режущей кромкой будет проблематично.
Параметры выбора комплектующих:
- соответствие характеристик расчетным данным.
Это относится к геометрическим размерам, материалу изготовления; - возможность самостоятельной обработки;
- продолжительный срок эксплуатации.
После учета всех вышеописанных факторов можно приступать к проектированию и изготовлению деревообрабатывающего станка своими руками. Также необходимо позаботиться о мерах безопасности во время работы. В конструкции должны быть предусмотрены защитные панели, отсутствие вероятности прямого контакта с движущимися частями.
В видеоматериале показан пример изготовления токарного оборудования по дереву для дома:
Чертежи и для сборки своими руками
stanokgid.ru
Как сделать компактный многофункциональный станок
Перевел SaorY для mozgochiny.ru
Всем мозгоремесленникам доброго времени суток! Для тех из вас, у кого нет больших мастерских или малогабаритных стеллажей под инструмент, пригодится самоделка этой статьи, в которой компактно умещены все полезные инструменты, и которую легко можно перемещать на другие рабочие площадки.
При создании этой мозгоподелки я старался сделать ее как можно компактной, чтобы ей можно было удобно пользоваться даже в небольшом пространстве, а перемещать даже при отсутствии у вас автомобиля. Для этого у нее имеются транспортировочные колеса, и передвигать поделку можно в одиночку, а если все же использовать для этого авто, то потребуется лишь небольшая помощь при погрузке.
Этот компактная станок-самоделка включает в себя: циркулярный стол, фрезерный стол и лобзик. А еще в ней имеется большой шкаф в котором вы можете хранить другой свой инструмент.
Полезная ссылочка
Чтобы показать поделку в действии я сделаю пару ящиков из дешевых сосновых досок. На видео показано как я нарезаю доски для ящиков на циркулярном столе с помощью салазок, для получения требуемых размеров пользуюсь дополнительной планкой с зажимом.
Потом я делаю канавку для основания.
Нужный угол можно получить используя угловой упор с направляющей. Сняв накладку можно выставить угол наклона диска, в данном случае 45 градусов.
Направляющая лобзика регулируется в трех осях, тем самым можно использовать лезвия разных размеров — от 100 до 180мм, тем самым получая максимальную высоту среза 70мм.
Далее я делаю ручку выдвижного ящика, и для этого использую фрезером, которым навожу округлую фаску. Здесь также имеется направляющая для углового упора, а еще будет полезен выносной подшипник для фрезерования кривых линий. Сам фрезер можно наклонять под углом 45°. Ящик готов, и он занимает предназначенное ему место.
Соединение паз-шип можно на этом мозгостоле сделать двумя путями. Во-первых, с помощью лобзика, дополнительной планки и углового упора. А во-вторых, на циркулярном столе, используя специальный кондуктор.
С диском самого большого размера, который можно установить на самоделку (235мм), можно получить максимальный рез 70мм. На направляющей имеются небольшие регулировочные болты для уменьшения наклона, а при необходимости даже для блокировки.
Для соединения деталей я выбрал второй способ, для этого одни части следует помещать с одной стороны кондуктора, а другие — со второй.
И вот что получилось, переходим к фрезеру, на этот раз уже используем прижимное устройство, чтобы сделать паз основания. Для этого необходимо поднять циркулярную пилу и выставить фрезер под углом 45°.
Шаг 1: Нарезка деталей
Начинается создание многофункционального стола-самоделки с нарезки всех деталей и их нумерации. Далее для получения прорези ручки высверливаются 4 угловых отверстия и «допиливаются» лобзиком. Затем высверливаются отверстия тех же размеров, что и диаметр и толщина шайбы системы открывания. Отверстия зенкуются.
После этого подготавливается место для установки кнопок включения питания и аварийного отключения. Затем с помощью дюбелей и 50мм-х саморезов собирается корпус мозгостола. По желанию, детали корпуса обрабатываются лаком, так поделка будет лучше выглядеть и дольше прослужит.
Подготовив корпус, собираются 3 верхние части. Для этого нарезаются детали откидных рамок и в них высверливаются необходимые отверстия. Отверстие под трубку сверлится такого диаметра, чтобы эта трубка свободно в нем вращалась, так как она является осью вращения откидных крышек.
Затем выбирается полость под циркулярную пилу. Я это сделал с помощью своего 3D-фрезера, за неимением подобного это можно сделать обычным фрезером с помощью соответствующих кондукторов и направляющих.
С лицевой стороны крышки циркулярного стола выбирается полость под быстросъемную панель, сняв которую можно будет менять угол наклона диска. Саму панель можно использовать для настройки глубины фрезерования полости.
Установив циркулярную пилу в предназначенную полость размечаются отверстия под ее крепление. Хорошо подходит для этого 3D-фрезер, потому что на сверлильном станке данные отверстия нельзя будет просверлить из-за его ограниченной рабочей поверхности.
Шаг 2: Начало сборки
На данной стадии начинается постепенная сборка портативного многофункционального станка для мастерской самодельщика.
Размечается и выбирается с помощью циркулярного стола паз под направляющую. Две дополнительных фанерки дадут необходимую глубину для прочного крепления планки направляющей. Далее на крышку крепится планка с нанесенной на него самоклеящейся рулеткой.
После этого высверливается отверстие для фрезера. Затем отрезаются трубки для осей вращения и на корпус монтируются рамки откидных крышек. В соответствии с чертежами изготавливаются и устанавливаются фиксирующие подпорки.
К рамке прикладывается крышка фрезера, выравнивается и крепится саморезами посредством отверстий в канале направляющей.
Затем подготавливается крышка лобзика, в ней выбирается паз под этот самый лобзик. Если для крышки используется материал не со скользящей поверхностью, такой как у меламина, то поверхность этой крышки следует обработать лаком, чередуя со шлифовкой.
Сделав это, вырезаются и собираются детали механизма вертикального подъемника фрезера, с помощью которого будет регулироваться глубина фрезерования.
Далее склеиваются вместе две фанерки, чтобы сделать из них держатель самого фрезера. В них высверливается отверстие того же диаметра, или подходящего, что и при создании крышки фрезера. Этот держатель мозгофрезера можно сделать на ЧПУ-станке или даже заказать онлайн.
Готовый держатель фрезера крепится к вертикальному подъемнику, и теперь его можно попробовать в действии.
Для разметки радиуса пазов наклона временно крепятся к вертикальному подъемнику обычные петли, а для изготовления ручек-вертушков используются обрезки фанеры.
Шаг 3: Завершение сборки
Эту стадию сборки самоделки я начну с тех деталей, о которых позабыл ранее. Они придадут стабильности системе подъема.
Для начала нарезаются детали основания, я сделал это на своем циркулярном столе, затем они собираются в рамку, которая крепится к дну корпуса многофункционального мозгостола.
Высота этой рамки должна быть такой же, что и высота имеющихся колесиков.
На створки одной из откидных крышек крепится щеколда, а створки другой — замок. Это может быть полезно при транспортировке поделки и выступать в качестве превентивной меры от кражи вашего инструмента.
Далее подготавливается 4-х разъемный электроудлинитель, в два разъема которого будут включаться лобзик и фрезер, а в два оставшихся — дополнительный электроинструмент. Розетка для циркулярной пилы подключается через кнопку включения питания и кнопку аварийного отключения. Провод удлинителя наматывается на специальные сделанные для этого ручки.
Быстросъемные панели сделаны из опалового метакрилата. Они помещаются на свои места, а прорезь в панели циркулярной пилы аккуратно делается самой пилой. В качестве направляющего подшипника я использовал аксессуар из комплекта старого фрезера. Это приспособление будет полезно при фрезеровании изогнутых линий.
После этого уровнем проверяется плоскость всей верхней части поделки, если они откидные крышки не лежат в плоскости центральной части, то это легко исправляется регулировкой наклона фиксирующих подпорок.
Далее проводится проверка перпендикулярности рабочих частей инструментов и плоскости стола. Для проверки фрезера в нем закрепляется трубка, по которой и смотрится перпендикулярность оси фрезера и плоскости стола, а еще проверяется параллельность канала направляющей и циркулярного диска. Ну и наконец, проверяется перпендикулярность полотна лобзика.
После этого крышки стола складываются, чтобы проверить не мешают ли мозгоинструменты друг другу.
Шаг 4: Полезные приспособления
Данный шаг повествует об изготовлении некоторых полезных аксессуарах для стола-самоделки.
Первым делом нарезаются детали салазок, далее выбирается паз под ползунок направляющей. После этого две фанерные детали скрепляются вместе саморезами, при этом положения саморезов следует выбрать так, чтобы они не мешали последующей доработке этой детали. Затем в специально подготовленный паз на нее наклеивается измерительная лента, и этот аксессуар для мозгостола покрывается лаком, чередуя со шлифованием, тем самым создавая на этом приспособлении необходимую гладкую поверхность.
Салазки собираются, помещаются на многофункциональную самоделку и от них отрезается лишнее и прорезается срединный пропил, а затем еще наклеивается измерительная лента.
От саней откручивается ползунок направляющей и делается паз для кондуктора «шип-паз». Такого же как у другого моего циркулярного стола.
Ползунок канала настраивается таким образом, чтобы исчез крен между болтами. Сам ползунок можно при необходимости застопорить просто закрутив бота по максимуму.
Далее нарезаются детали для стойки, она собирается, и лакируется-шлифуется. После сборки стойки изготавливается фиксирующая система для нее. Дюбели, вклеенные в эту фиксирующую систему, используются как направляющие оси. В окончании сборки стойки изготавливается ручка фиксирующей системы, а затем вся стойка проверяется в действии.
Дополнительно на стойку устанавливается пылесборник для фрезера, а в боковую сторону мозгостойки у пылесборника вкручиваются резьбовые втулки для прижимной панели.
Сделав это проверяется параллельность стойки и циркулярного диска, затем в паз боковой стенки вклеивается измерительная лента.
Закончив с этим, нарезаются детали кондуктора «шип-паз», которые затем склеиваются и зачищаются.
Шаг 5: Еще несколько полезных приспособлений
Это последнее видео данного мозгоруководства, и в его первой части показано как сделать угловой упор (для его создания можно наклеить распечатанный шаблон или воспользоваться линейкой). Заготовку упора можно уже нарезать на самом многофункциональном станке.
Резьба в ползунке направляющей дюймовая, если же необходима метрическая, то придется воспользоваться метчиком.
Обязательно стоит временно прикрутить заготовку упора к направляющей, чтобы убедиться, что радиус поворота сделан верно.
Затем нарезаются детали шипового кондуктора, при этом необходимо для уменьшения трения слегка увеличить толщину крепления кондуктора.
Чтобы изготовить прижимную панель на фанерную заготовку наклеивается шаблон, пазы настройки этой панели выбираются с помощью фрезера мозгостанка.
В нужных местах крышки с фрезером монтируются резьбовые втулки.
Далее изготавливается направляющая пилки лобзика, фиксирующая система этой направляющей такая же, как и у стойки.
Сначала собирается система регулировки подшипников, чтобы избежать износа фанеры используется металлическая пластина. Одно из отверстий делается большим, чтобы посредством этого производить настройку подшипников.
Тоже самое проделывается с фанеркой.
После этого механизируется система регулировки высоты, и теперь конструкция может перемещаться в трех осях, тем самым получается необходимое положение.
Наконец, готовую направляющую для пилки можно проверить в действии, при этом важно удерживать распиливаемую дощечку двумя руками, чтобы она достаточно прочно прилегала к плоскости стола.
О компактной многофункциональной самоделке всё, удачи в творчестве!
(A-z Source)
Нет понравившихся элементов.
Your browser doesn’t support canvas.
mozgochiny.ru
Деревообрабатывающий станок своими руками: подробное описание изготовления
Дерево – это строительный материал, который был востребован всегда.
С развитием технологий появилось много различных инструментов и оборудования (в том числе и станков), при помощи которых можно производить обработку изделий без особых усилий, с высокой точностью и минимальной тратой времени. Одним из наиболее востребованных аппаратов в данном списке является станок деревообрабатывающий универсальный. Своими руками сделать его вполне реально, а о том, как именно реализовать эту идею, расскажет наша сегодняшняя статья.
О конструкции
В принципе, деревообрабатывающий станок не является сложнейшим высокотехнологичным механизмом. Его конструкция довольно простая, где-то даже классическая, поэтому проблем с его изготовлением зачастую ни у кого не возникает. Рассматривая внутреннюю часть данного оборудования, необходимо отметить, что режущую головку невозможно изготовить собственноручно, ибо такой элемент будет непригодным для использования. Поэтому некоторые детали следует заказывать у специалистов – так будет и быстрее, и надежнее.
Что же касается сварных соединений, то, изготавливая деревообрабатывающие станки своими руками (чертежи, точнее, схематические изображения данного устройства приведены на фото №2), вы не будете нуждаться в услугах профессиональных сварщиков.
Более того, некоторые места конструкции вполне можно заменить заклепками либо же резьбовыми соединениями.
О материале
Все важнейшие составляющие станка будут изготавливаться в основном из сортового стального проката. Из него делаются балки, стойки и ригели. По конструкции мы рассмотрели все нюансы, но прежде чем рассказать вам, как происходит изготовление деревообрабатывающих станков своими руками, дадим один совет. При изготовлении таких элементов, как уголок рамки и угольник, после разметки мест сгиба желательно просверлить технологическое отверстие вплотную к сгибаемой полке. Сначала в ход идет небольшое сверло (диаметром порядка 4-5 миллиметров), а затем покрупнее (9-10 миллиметров). После этого в полке вырезается так называемый клинышек (прямоугольный треугольник) и заготовка успешно загибается. Таким образом, станок деревообрабатывающий универсальный, своими руками сделанный, будет иметь очень точную и четкую конструкцию (в некоторых моментах его практически невозможно отличить от заводских аналогов).
А теперь более подробно об этапах изготовления.
Инструкция
Итак, как же изготовить станок деревообрабатывающий токарный своими руками? Первым делом нам нужно спроектировать и сделать основание инструмента, то есть раму. Она будет состоять из двух металлических рамок, соединяемых между собой внизу опорами под мотор, а вверху – ригелями. Все эти детали будут изготовляться из стального уголка. Рама опирается на лонжероны, а к верхней ее части крепится рабочий стол. В качестве крепежных элементов для последнего следует применить специальные балки-царги. На концах балок монтируются колеса. Благодаря им тяжелый станок можно будет с легкостью перемещать в пределах помещения с одного места на другое.
Для выполнения работ механизм монтируется на стальные подкладки при помощи резьбовых домкратиков. Последние монтируются рядом с колесами на концах балок. На ложементе, который осуществляет натяжение ремней, устанавливается электрический двигатель. Что же касается мощности мотора, то для деревообрабатывающего станка вполне достаточно иметь тяговый аппарат мощностью в 1.
5-2 киловатта со скоростью вращения не менее 1500 оборотов в минуту. Для пуска двигателя в схему следует включить блок конденсаторов. Коробка с ними монтируется в верхней части рамы станка.
Как далее делается деревообрабатывающий станок своими руками? На следующем этапе стенки рамы закрываются 1.5-миллиметровым листом стали, а внутри устанавливается наклонный лоток. Все листы к раме крепятся на заклепках.
Делаем деревообрабатывающий станок своими руками: о главной части устройства
Основные элементы данного оборудования – это рабочий стол и режущая головка. Начнем с первого. Рабочий стол изготовляется из дюралюминиевой стали и состоит из четырех зеркально отображенных плит. Все отверстия в них одинаковые, встречные кромки серединных элементов выполняются с откосом в 30 градусов внутрь. Под задние плиты подкладываются 1.5-миллиметровые планки.
Что же касается режущей головки, то здесь необходимо помнить следующее: данный механизм является основной составляющей деталью станка, именно от него зависит качество и быстрота обработки деревянных заготовок.
Поэтому изготавливать ее своими руками не следует – лучше закажите головку у специалистов, а заодно сделайте заказ на заднюю бабку с центром.
В конструкции деревообрабатывающего станка также имеется и специальный вал-барабан с консольными концами в подшипниках качения. На нем вам нужно будет установить четыре ножа, причем у каждого из них должно быть по столько же (4) режущих лезвий.
Делаем деревообрабатывающий станок своими руками – о дисковой пиле и подъемном столике
На один конец вала монтируется приводной шкив клиноременной передачи, на второй – навесные приспособления и инструменты, которые будут значительно расширять функционал деревообрабатывающего станка. Дисковая пила закрепляется между двух шайб (упорной и прижимной). При работе с данным оборудованием следует позаботиться о подъемном столике. Его размеры аналогичны габаритам рабочего стола. Подъем-опускание данного элемента будет осуществляться при помощи его рамки на раме станка. Конструкция предпоследней детали может быть разной.
Однако зачастую рамка изготовляется по принципу, когда балка приваривается к стойкам сверху. На плите подъемного стола устанавливается направляющая с упорами. Ее инсталлируют под определенным углом (45 градусов), чтобы была возможность косого среза заготовки.
Заключение
Все, наш подъемный стол, впрочем, как и весь станок, успешно изготовлен. Для удобства работы на раме можно закрепить вместо подъемного стола приставку, однако это делается только тогда, когда вы работаете с особо длинными заготовками. На этом этапе вопрос о том, как изготовить деревообрабатывающий станок своими руками, можно считать закрытым.
fb.ru
Самодельный универсальный станок по дереву
Свой самодельный универсальный станок по дереву я собрал из частей старого токарного станка. Нынешний вариант преобразован для разного рода комбинаций. Возможности универсального станка:
1) Можно использовать его как пильный станок по дереву. Причем он пилит бруски твердых пород до 100мм толщины.
Сырое дерево пилится очень легко. Сухое с трудом, но берет. Бруски меньше 50мм пилятся без проблем.
2) Станок можно использовать как точило. Очень удачный вариант, т.к. сам точильный круг расположен достаточно далеко от станка, что позволяет маневрировать затачиваемым предметом. К примеру, я заточил на нем косу.
3) Можно использовать данный токарный станок как резак по металлу. Преимущество в том, что иногда нужно вести деталь на резак, а не наоборот.
4) Можно вставлять фрезы с внутренним диаметром 22мм.
5) Можно использовать как горизонтальный сверлильный станок. Вот основные функции этого универсального настольного станка. Не маловажный момент- это маневренность, что очень важно для мастеров, выполняющих много разных комбинаций на одном изделии. Чтобы поменять насадку, нужно выбить ударом молотка одну и вклинить другую. Дело 15-ти секунд. Или вовсе можно использовать разные насадки с двух сторон. Иногда можно работать на таком станке сразу вдвоем.
Я использую такие 3 насадки:
Можно купить сверло с конусами и сверлить без патрона.
Продаются также и фрезы с конусным хвостовиком.
Эта насадка сделана для фрез с внутренним диаметром 22мм. Когда-то я хотел приспособить ее для изготовления зубцов на деревянных гребнях, но не получилось. Проще оказалось делать по 1 зарезу одной фрезой.
Это обычный патрон или цанговый зажим для сверел. Очень часто помогает, когда надо просверлить дырку в габаритной заготовке.
Это самая основная насадка. Главным образом я пилю на ней твердые породы дерева. Когда нужно аккуратно распилить толстую заготовку, она меня выручает.
На станке возможны три варианта скорости, но я использую одну стационарную. На входе у меня больше 2500об/мин. Это хорошо для циркулярной пилы, да и для резака по металлу достаточно.
Платформу для мотора я соорудил из уголка и листа металла. Все просто и регулируется натяжение ремня.
Для запуска я использовал пусковое устройство и конденсаторы, но для подключения обратился к специалисту электрику.
Все что я понял, он подключил мне так, что при запуске в работе все конденсаторы, а при обычной работе только часть. Мотор не греется очень долго.
Платформа с мотором находятся на весу и зафиксированы болтом от вибрации и для натяжения ремня.
Основная часть расположена на деревянных дубовых подкладках.
Столик для опоры разрезаемых заготовок оборудован ограничительной рейкой.
iz-dereva-svoimi-rukami.ru
Деревообрабатывающий станок своими руками бытовой уневирсальный — Видео смотреть онлайн бесплатно
Как сделать деревообрабатывающий станок своими руками
Производство деревообрабатывающего станка своими силами, все что для этого требуется.
Основные нюансы, чертежи, видео. Использование деревообрабатывающего станка распространяется далеко за пределы строго промышленной сферы или столярных мастерских. Довольно часто можно встретить подобные станки в хозяйстве обычного человека, который с его помощью может изготовить любой предмет мебели или целый дом, если конечно у данного человека есть все необходимые навыки.
Приобретать в специализированных магазинах деревообрабатывающие станки довольно накладно, поэтому все чаще люди прибегают к самостоятельному изготовлению, основываясь на информации и чертежах, которые представлены в интернете.
Однако, прежде чем приступать к описанию работ, необходимых при изготовлении станка в домашних условиях, нужно разобраться в специфике данного устройства, а также некоторых нюансах, которые могут быть полезными в дальнейшем.
Основные сведения
Устройство деревообрабатывающего станка включает в себя несколько основных рабочих зон, а также дополнительных элементов. К числу основных относятся:
- станина;
- рабочая плита;
- валовый механизм;
- режущие инструменты;
- двигатель, передающий движение на другие компоненты устройства.

Дополнительные части станка
включают в себя
- области с ограждением потенциально опасного места;
- смазывающее устройство;
- агрегат, запускающий станок;
- точка, которая отвечает за подачу древесины.
Для изготовления станины используют, как правило, цельный сплав, либо другой массивный материал. Это неудивительно, ведь все остальные составляющие деревообрабатывающего станка располагаются на ней. Как правило, станина должна быть установлена на устойчивую поверхность из железобетона.
Рабочий стол в деревообрабатывающем станке отвечают за фиксацию всех рабочих компонентов выполнен он из чугуна, который предварительно шлифуется. Конструкции рабочих столов могут быть разными, подвижного типа и нет.
Режущий элемент станка крепится к нему при помощи валового механизма. В зависимости от типа режущего элемента, валовый механизм может быть нескольких видов: ножевым, пильным и шпиндельного типа.
Что касается касается режущих элементов то они всегда изготавливается из высококачественной углеродной стали.
Кроме того, данные элементы могут быть самых различных видов:
- Круглопильные станки имеют в своей конструкции режущее устройство в форме круглого диска.
- Пильная лента используется в ленточнопильных деревообрабатывающих станках.
- Во фрезерных и шипорезных станках используются плоские ножи.
- Сверла используются, соответственно, на сверлильных установках.
- Долбежные цепи.
- Во фрезерных и шипорезных станках, помимо плоских ножей, используются крючки, фрезы и прорезные диски.
- Циклевальные ножи на соответствующих станках.
- Рулонная шкурка используется на шлифовальных установках.
Подручные материалы
Прежде чем приступать к изготовлению деревообрабатывающего станка в домашних условиях, нужно удостовериться в том, что у вас есть все необходимые инструменты и материалы. В частности, нам понадобятся:
- патроны для сверл;
- двигатель достаточной мощности;
- механизм вала;
- регулируемая станина.

Естественно, для изготовления различных деталей нам понадобится достаточное количество стали и металла. Необходимо запастись металлическими уголками, которые будут использованы при изготовлении рамной конструкции, различными болтами, ну и, конечно же, сварочным аппаратом, без которого соединение основных составляющих частей невозможно.
К используемому двигателю также есть определенные требования. В частности, его мощность должна быть в пределах 1,3-1,5 кВт, а скорость вращения вала должна быть порядка 2500 оборотов.
Касаемо режущих элементов, то многие специалисты сходятся во мнении, что при самостоятельном изготовлении станка лучше брать заводские детали, ведь они изготавливаются из инструментальной стали, отличающейся повышенной прочностью. В домашних условиях изготовление той же фрезы будет вряд ли возможным, поэтому лучше не усложнять данный процесс, а приобрести готовую продукцию.
Проектирование многопрофильного станка
В принципе, самостоятельное изготовление деревообрабатывающего станка вполне возможно в домашних условиях.
Однако, чтобы процесс работы был совершен в правильной последовательности, необходимо на первоначальном этапе сделать точный чертеж будущего станка. Подобное проектирование является одной из самых сложных задач во всей работе, поэтому нужно быть крайне внимательным на данном этапе.
Относительно деревообрабатывающих станок, то при их проектировании существуют определенные рекомендации, касающиеся составлению технической документации. В чертеже важно указать комплектацию будущего станка, обозначив все основные рабочие зоны, т.е. станину, режущие элементы и т.д.
Также на стадии проекта можно предусмотреть наличие определенного оборудования, установка которого необязательна, но в силу определенных причин она может оправданной. К примеру, можно предусмотреть освещение рабочей зоны, либо наличие различных измерительных инструментов и т.д.
Сборка своими руками
Заводской деревообрабатывающий станок является достаточно сложным техническим сооружением, выполняющим несколько работ:
Осуществление обрезки
Подобная обработка позволяет совершать формирование первичной заготовки какой-нибудь детали, либо совершать заготовку дров.
Фрезеровочные работы и шлифовка
После первичной обрезки, древесина подвергается шлифовке и прочим работам, направленным на удаление различных дефектов — заусенцев, неровностей и т.д.
Осуществление токарных работ
Считается наиболее сложным процессом, который можно совершать на станке. Это объясняется тем, что для их реализации нужны определенные знания и умения у человека, делающего данную работу, а также сопутствующий ручной инструмент.
Что касается самодельных деревообрабатывающих станков, то в большинстве случаев их функционал не такой широкий. Как правило, он ограничивается обычной обрезкой, а также минимальной обработкой древесины. Это вполне понятно, ведь чем меньше функций у устройства, тем легче его сделать, а деревообрабатывающий станок, как упоминалось ранее, довольно сложен в техническом плане. Поэтому, практически нереально изготовить в домашних условиях полноценный станок, ничем не отличающийся от заводского.
Сам процесс сборки станка
Начинается с чертежа, который можно изготовить самостоятельно, при достаточном понимании вопроса, либо воспользоваться расположенными в общем доступе, т.
е. в интернете. Однако, какой чертеж бы не был, работа всегда начинается с изготовления станины, на которой в дальнейшем будут располагаться основные рабочие детали.
Для изготовления станины
Нам понадобится металлическая труба или уголок. Например, берем шесть уголков с сечением 25 на 25 мм, а также один металлический уголок, сечение которого составляет 40 на 40 мм. Длина упомянутых комплектующих должна составлять порядка 300 мм. Соединяются они элементарным образом при помощи сварки, но нужно тщательно проверять швы, ведь при эксплуатации устройства появляется значительная вибрация, которая может расшатать конструкцию.
Изготовив станину, нужно определить ее на ровную поверхность. Лучше всего залить ее основание бетоном, чтобы устойчивость станка была достаточной для осуществления работ на нем.
Для конструкции станка
Нам понадобится валовый механизм, который можно изготовить самостоятельно, либо приобрести в магазине. В нем нужно предусмотреть отверстие, предназначенное для установки патрона для сверл.
Для этого подтачиваем окончание вала обычным напильником. Нужно сделать диаметр крепления немного большим, чем диаметр самого патрона. Затем подтачиваем патрон до тех пор, пока он надежно не закрепится на валовом механизме. Подгонка патрона к валу осуществляется при помощи надфиля и специального состава из абразива наждачной бумаги и масла. При этом, диаметр вала должен составлять порядка 300 мм.
На конце вала должен располагаться шкив клиноременной передачи, а на другом соответствующие приспособления, благодаря которым функционал станка становится шире. Режущий элемент в форме дисковой пилы должен быть закреплен между прижимной и упорной шайбой.
Конструкция стола
Изготавливается из стали, толщина которого должна быть прядка 10 мм. Для того, чтобы можно было изменять параметры строгания, нужно сделать стол раскладного типа, верхняя часть которого регулируется, а нижняя наоборот, должна быть жестко зафиксирована.
Внизу конструкции станка необходимо установить наш электродвигатель.
Натягиваем ремень на него и на вал, расположенный сверху. Также можно сделать дополнительный уголок, с помощью которого можно выравнивать деревянный материал по отношению к режущим элементам.
Работа и безопасность
Работа на деревообрабатывающем станке должна осуществляться только теми лицами, которые знакомы с определенными правилами техники безопасности. В противном случае, такая работа может закончиться весьма плачевно для того, кто ее осуществляет.
Всего же можно выделить несколько рекомендаций, соблюдение которых является обязательным:
- Перед началом работы на станке нужно тщательно проверить свой внешний вид, т.е. не торчат ли рукава или иные части, которые могут попасть под режущие элементы.
- Производим осмотр деревообрабатывающего станка. Проверяем надежность закрепления шайб, фиксирующих режущий элемент на валу. Также нужно проверить степень заточки ножей и дисковой пилы, ведь их недостаточная наточка может привести к неприятным моментам в процессе распиливания древесины.

- Древесину нужно подавать поступательно, без лишних рывков. Если на заготовке присутствуют сучки, то при приближении к ним режущего элемента нужно немного замедлять подачу.
- Приступать к работе нужно только после того, как двигатель наберет свои максимальные обороты.
- Большое внимание нужно уделять материалу, который будет обрабатываться на станке. На нем не должно быть никаких металлических скоб, гвоздей и прочих подобных элементов.
Соблюдение элементарной техники безопасности позволяет избежать множества трагических случаев, которые, к сожалению, не являются редкостью при работе с деревообрабатывающими станками. Понятно, что избежать всех внештатных ситуаций довольно сложно, но снизить риск их возникновения полностью во власти человека.
Советы по работе
Пожалуй, единственным советом в работе с деревообрабатывающим станком является точное соблюдение техники безопасности, которая изложена выше. К данному перечню хотелось бы добавить несколько моментов, касающихся непосредственной работы.
В частности, нужно знать, в каких случаях нужно выключать станок, чтобы не возникало внештатных ситуаций:
- Если вы заметили, что станок издает нехарактерные шумы и повышенную вибрацию.
- Если вышел из строя режущий элемент, либо его крепления.
- В случае попадания различного сора под режущие элементы.
- В случае перегрева электродвигателя и подшипников валового механизма.
- Естественно, если вы отходите от станка, то его также нужно отключать.
Каждый человек, вне зависимости от того, на каком именно станке он работает — самодельном или заводском, должен не забывать о том, что данная работа является потенциально опасной для его жизни, если он не будет соблюдать те правила, которые прямо прописаны в инструкциях по безопасности.
Деревообработка своими руками чертежи. Деревообрабатывающий станок своими руками: подробное описание изготовления.
Деревообрабатывающий многопрофильный станок
Народная мудрость гласит, что мужчина прожил жизнь не зря, если посадил дерево, вырастил сына и построил дом.
И если для первых двух дел особых механизмов не требуется, то при строительстве дома без них не обойтись. И среди них наиболее необходимы деревообрабатывающие механизмы – циркулярная пила, электрорубанок, фрезерная машинка, приспособление для точения или вместо них – один многофункциональный станок. При этом не важно, какие стены у дома: кирпичные, бетонные или какие-то другие. Без деревянных конструкций и материалов все равно не обойтись, поскольку дерево – строительный материал не только универсальный, но и незаменимый, особенно для внутренней отделки.
Для тех застройщиков, которые собрались возводить дом, но не имеют «лишних» денег на вспомогательные механизмы, рекомендуется изготовить дереворежущий станок, на котором можно выполнять множество операций: поперечное и продольное (роспуск) резание, строгание и фугование, точение и фрезерование, сверление и шлифование, изготовление шипов и выборку пазов. Ну а при такой многофункциональности станок может пригодиться и тем, для кого деревообработка является ремеслом.
Конструкция представляемого дереворежущего станка при всех его перечисленных возможностях вообще-то классическая и довольно простая
Большинство деталей и узлов доступны для изготовления своими руками в условиях домашней мастерской. Однако некоторые узлы, например режущую головку, лучше заказать специалистам.
Сварных соединений немного, но и некоторые из них можно заменить клепкой или резьбовыми соединениями.
Материал силовых деталей (балок, стоек, ригелей) – в основном сортовой стальной прокат. Он немного утяжеляет станок, но значительно упрощает его изготовление.
Прежде, чем начать разговор о конструкции станка, – один совет.
При изготовлении из уголка рамки, угольника и т п. желательно после разметки мест сгибов вплотную к сгибаемой полке просверлить технологическое отверстие, сначала тонким сверлом (диаметром 4 – 5 мм), а затем сверлом побольше (диаметром 8 -10 мм). После этого можно вырезать в полке «клинышек» (равнобедренный прямоугольный треугольник) и загибать заготовку Операция в этом случае идет легко и обеспечивается высокая точность изготовления..jpg)
Чертежи и схемы циркулярного деревообрабатывающего станка
Рама станка состоит, в свою очередь, из двух рамок, соединенных между собой внизу опорами под двигатель, а вверху – ригелями. Все эти элементы – из уголка № 4 Рама опирается на балки-лонжероны основания, а вверху к ней на балках-царгах крепится рабочий стол. Балки выполнены из швеллера № 6,5. На концах балок основания смонтированы колеса, благодаря которым довольно тяжелый станок (массой около 100 кг) по силам перемещать в пределах помещения или из одного в другое, рядом расположенное помещение даже одному человеку Для работы механизм устанавливается на деревянные или металлические подкладки с помощью винтовых домкратиков, смонтированных здесь же на концах балок рядом с колесами. Внизу рамы на ложементе, обеспечивающем натяжение приводных ремней, смонтирован электродвигатель мощностью 1,5 кВт (но можно и больше) и скоростью вращения 1450 об/мин. (мотор с меньшим числом оборотов в минуту устанавливать нежелательно).
Для пуска и работы электродвигателя в схему включен блок конденсаторов, коробка с которыми закреплена в верхней части рамы.
Стенки рамы частично закрыты дюралюминиевым 1,5-мм листом, а внутри смонтирован наклонный лоток, по которому стружки и опилки из-под режущей головки удаляются в установленную рядом емкость или мешок Листы к раме приклепаны.
Главная часть станка – рабочий стол с режущей головкой.
Рабочий стол выполнен из дюралюминиевого листа толщиной 8 мм и состоит из четырех плит, двух малых (срединных) и двух больших (крайних). Плиты попарно – зеркально отображенные. Все отверстия в них под крепежные винты с потайной головкой – одинаковые, а их расположение в парных плитах также зеркально отображенное. Встречные кромки срединных плит, обращенные к режущей головке, выполнены со скосом 30° внутрь. Под задние плиты (срединную и крайнюю) подложены планки толщиной 1,5 мм, равной глубине резания при строгании заготовок.
Режущая головка – основной механизм станка, от которого зависит качество обработки заготовок По конструкции она не столь уж и сложна, но качество ее изготовления должно быть высоким.
При недостатке опыта и при возможности лучше ее (а заодно и заднюю бабку с центром) заказать специалистам, у которых имеется хорошее металлорежущее оборудование.
Важнейшая деталь головки – довольно объемный и массивный барабан-вал с консольными концами в подшипниках качения 80104. Непосредственно на барабане монтируются четыре ножа. Количество ножей, скорость вращения барабана и длина рабочего стола по качеству обработки обеспечивают не строгание, а уже фугование заготовок. Все ножи одинаковые – у каждого по четыре режущие кромки (лезвия). Конструктивно закрепление ножей на барабане выполнено так, что при затуплении одного лезвия нож переставляется: поворачивается или перевертывается. Заточка ножей производится редко – только при затуплении всех кромок. При необходимости на барабане вместо ножей можно закрепить в специальной оправке наждачную шкурку или войлок и производить на станке плоскошлифовальные или полировальные операции.
На один конец вала насажен приводной шкив клиноременной передачи.
На другом – монтируются всевозможные инструменты и приспособления, обеспечивающие станку многофункциональность Основной же инструмент, устанавливаемый здесь, -дисковая пила Закрепляется она между двумя специальными шайбами (упорной и прижимной) и затяжной гайкой. У гайки и упорной шайбы, как и на конце вала, – левая резьба М18х1,5.
При работе с дисковой пилой к рабочему столу пристыковывается подъемный столик (по длине он тако.й же, как и рабочий стол, но поуже), на котором закрепляется болтами направляющая с упорами. Подъем-опускание этого столика осуществляется передвижением его рамки на раме станка. Конструкция рамки на фото и чертежах немного разная1 сначала верхняя балка рамки крепилась к стойкам болтами (на фото), а затем балка была приварена к стойкам сверху (на чертеже). На плите подъемного стола монтируется направляющая с упорами. Направляющую можно устанавливать под углом до 45° относительно плоскости стола, чтобы можно было выполнить косой срез заготовки (у конструкции на фото такой возможности еще не было – она доработана, и это отображено на чертеже).
Этот же стол обеспечивает регулировку необходимой глубины резания дисковой пилой.
Сверла, концевые фрезы и тп. инструмент вставляется с торца вала в специальное отверстие-гнездо, выполненное в виде конуса Морзе № 1. Для удобства работы с длинными заготовками с этой стороны на раме вместо подъемного стола монтируется на кронштейне приставка, но о ней – в продолжении
При наличии деревообрабатывающих станков мастер может выполнить ряд необходимых работ по обустройству дома. Однако не всегда есть возможность приобрести заводские модели. В качестве альтернативы можно рассмотреть вариант изготовления их своими руками.
Основные операции деревообработки
Сначала необходимо определиться с видами деревообрабатывающих станков. Их конструкция и функциональные особенности зависят от типа проводимых операций.
Помимо необходимых ручных электрических инструментов для обработки древесины потребуется сделать дополнительное техническое оборудование. На первом этапе составляется перечень выполняемых работ.
В домашних условиях он может быть ограничен элементарной порезкой и небольшой обработкой деревянных поверхностей. Если же планируется небольшое производство — необходимо расширить перечень операций.
Виды работ, которые можно сделать своими руками в мастерской с помощью специального оборудования:
- обрезка. Осуществляется для формирования первичной формы детали или при заготовке дров. Во втором случае вместо традиционной бензопилы можно использовать пилорамы;
- фрезеровка и шлифование. С их помощью происходит обработка поверхности для достижения гладкой формы, а также удаление заусенец и возможных дефектов древесины;
- токарные работы. Один из самых сложных типов операции. Помимо специфического оборудования потребуется специальный ручной инструмент и практические навыки.
Это оптимальный перечень выполняемых операций. Он может быть дополнен другими типами работ.
Для качественной обработки древесины необходимо предусмотреть наличие инструментов для покраски или покрытия лаком.
Они позволят увеличить срок эксплуатация детали, сохранят ее первоначальный внешний вид.
Проектирование конструкции деревообрабатывающих станков
Самым сложным этапом является профессиональное создание чертежей для изготовления деревообрабатывающего станка своими руками. Во время выполнения этой работы необходимо учитывать будущие характеристики оборудования, а также наличие комплектующих для него.
Существуют определенные правила по разработке технической документации. Они заключаются в определении первоначальных условий, согласно которым составляется схема оборудования. Практически все деревообрабатывающие станки, которые можно сделать своими руками, состоят из следующих элементов:
- корпус (опорный стол, станина). На нем устанавливается все необходимое оборудование: силовая установка, блок обработки дерева, устройство для изменения текущих параметров;
- обрабатывающий блок. Его конфигурация и конструкция зависят от типа работ.
Для резки дерева дома применяют дисковые или ленточные пилы. Тонкая обработка осуществляется с помощью ; - устройство управления. С его помощью осуществляется изменение режима работы — частота вращения детали или механического воздействия на ее поверхность.
В качестве дополнительных компонентов при изготовлении самодельного деревообрабатывающего оборудования своими руками зачастую используют различные типы подсветок, измерительные инструменты. Они могут быть неотъемлемой частью конструкции.
Выбор комплектующих для деревообрабатывающих станков
На фактические характеристики будущего оборудования влияет качество комплектующих. Одной из проблем при изготовлении деревообрабатывающего станка своими руками является выбор деталей.
Специалисты рекомендуют применять как можно больше заводских комплектующих. В первую очередь это относится к блокам обработки. Так, при изготовлении пилорамы для дома в качестве основы можно взять бензопилу. Это же относится к шлифовальному и фрезерному оборудованию.
Детали для обработки изготавливается из инструментальной стали. Она характеризуется повышенной твердостью и прочностью. Поэтому сделать самостоятельно фрезу или валик с режущей кромкой будет проблематично.
Параметры выбора комплектующих:
- соответствие характеристик расчетным данным. Это относится к геометрическим размерам, материалу изготовления;
- возможность самостоятельной обработки;
- продолжительный срок эксплуатации.
После учета всех вышеописанных факторов можно приступать к проектированию и изготовлению деревообрабатывающего станка своими руками. Также необходимо позаботиться о мерах безопасности во время работы. В конструкции должны быть предусмотрены защитные панели, отсутствие вероятности прямого контакта с движущимися частями.
Использование деревообрабатывающего станка распространяется далеко за пределы строго промышленной сферы или столярных мастерских. Довольно часто можно встретить подобные станки в хозяйстве обычного человека, который с его помощью может изготовить любой предмет мебели или целый дом, если конечно у данного человека есть все необходимые навыки.
Приобретать в специализированных магазинах деревообрабатывающие станки довольно накладно, поэтому все чаще люди прибегают к самостоятельному изготовлению, основываясь на информации и чертежах, которые представлены в интернете.
Однако, прежде чем приступать к описанию работ, необходимых при изготовлении станка в домашних условиях, нужно разобраться в специфике данного устройства, а также некоторых нюансах, которые могут быть полезными в дальнейшем.
Устройство деревообрабатывающего станка включает в себя несколько основных рабочих зон, а также дополнительных элементов. К числу основных относятся:
- станина;
- рабочая плита;
- валовый механизм;
- режущие инструменты;
- двигатель, передающий движение на другие компоненты устройства.
Дополнительные части станка
включают в себя
- области с ограждением потенциально опасного места;
- смазывающее устройство;
- агрегат, запускающий станок;
- точка, которая отвечает за подачу древесины.

Для изготовления станины используют, как правило, цельный сплав, либо другой массивный материал. Это неудивительно, ведь все остальные составляющие деревообрабатывающего станка располагаются на ней. Как правило, станина должна быть установлена на устойчивую поверхность из железобетона.
Рабочий стол в деревообрабатывающем станке отвечают за фиксацию всех рабочих компонентов Выполнен он из чугуна, который предварительно шлифуется. Конструкции рабочих столов могут быть разными, подвижного типа и нет.
Режущий элемент станка крепится к нему при помощи валового механизма. В зависимости от типа режущего элемента, валовый механизм может быть нескольких видов: ножевым, пильным и шпиндельного типа.
Что касается касается режущих элементов
то они всегда изготавливается из высококачественной углеродной стали. Кроме того, данные элементы могут быть самых различных видов:
- Круглопильные станки имеют в своей конструкции режущее устройство в форме круглого диска.

- Пильная лента используется в ленточнопильных деревообрабатывающих станках.
- Во фрезерных и шипорезных станках используются плоские ножи.
- Сверла используются, соответственно, на сверлильных установках.
- Долбежные цепи.
- Во фрезерных и шипорезных станках, помимо плоских ножей, используются крючки, фрезы и прорезные диски.
- Циклевальные ножи на соответствующих станках.
- Рулонная шкурка используется на шлифовальных установках.
Видео
Подручные материалы
Прежде чем приступать к изготовлению деревообрабатывающего станка в домашних условиях, нужно удостовериться в том, что у вас есть все необходимые инструменты и материалы. В частности, нам понадобятся:
- патроны для сверл;
- двигатель достаточной мощности;
- механизм вала;
- регулируемая станина.
Естественно, для изготовления различных деталей нам понадобится достаточное количество стали и металла. Необходимо запастись металлическими уголками, которые будут использованы при изготовлении рамной конструкции, различными болтами, ну и, конечно же, сварочным аппаратом, без которого соединение основных составляющих частей невозможно.
К используемому двигателю также есть определенные требования. В частности, его мощность должна быть в пределах 1,3-1,5 кВт, а скорость вращения вала должна быть порядка 2500 оборотов.
Касаемо режущих элементов, то многие специалисты сходятся во мнении, что при самостоятельном изготовлении станка лучше брать заводские детали, ведь они изготавливаются из инструментальной стали, отличающейся повышенной прочностью. В домашних условиях изготовление той же фрезы будет вряд ли возможным, поэтому лучше не усложнять данный процесс, а приобрести готовую продукцию.
Проектирование многопрофильного станка
В принципе, самостоятельное изготовление деревообрабатывающего станка вполне возможно в домашних условиях. Однако, чтобы процесс работы был совершен в правильной последовательности, необходимо на первоначальном этапе сделать точный чертеж будущего станка. Подобное проектирование является одной из самых сложных задач во всей работе, поэтому нужно быть крайне внимательным на данном этапе.
Относительно деревообрабатывающих станок, то при их проектировании существуют определенные рекомендации, касающиеся составлению технической документации. В чертеже важно указать комплектацию будущего станка, обозначив все основные рабочие зоны, т.е. станину, режущие элементы и т.д.
Также на стадии проекта можно предусмотреть наличие определенного оборудования, установка которого необязательна, но в силу определенных причин она может оправданной. К примеру, можно предусмотреть освещение рабочей зоны, либо наличие различных измерительных инструментов и т.д.
Сборка своими руками
Заводской деревообрабатывающий станок является достаточно сложным техническим сооружением, выполняющим несколько работ:
Осуществление обрезки
Подобная обработка позволяет совершать формирование первичной заготовки какой-нибудь детали, либо совершать заготовку дров.
Фрезеровочные работы и шлифовка
После первичной обрезки, древесина подвергается шлифовке и прочим работам, направленным на удаление различных дефектов — заусенцев, неровностей и т.
д.
Осуществление токарных работ
Считается наиболее сложным процессом, который можно совершать на станке. Это объясняется тем, что для их реализации нужны определенные знания и умения у человека, делающего данную работу, а также сопутствующий ручной инструмент.
Что касается самодельных деревообрабатывающих станков, то в большинстве случаев их функционал не такой широкий. Как правило, он ограничивается обычной обрезкой, а также минимальной обработкой древесины. Это вполне понятно, ведь чем меньше функций у устройства, тем легче его сделать, а деревообрабатывающий станок, как упоминалось ранее, довольно сложен в техническом плане. Поэтому, практически нереально изготовить в домашних условиях полноценный станок, ничем не отличающийся от заводского.
Сам процесс сборки станка
Начинается с чертежа, который можно изготовить самостоятельно, при достаточном понимании вопроса, либо воспользоваться расположенными в общем доступе, т.е. в интернете. Однако, какой чертеж бы не был, работа всегда начинается с изготовления станины, на которой в дальнейшем будут располагаться основные рабочие детали
.
Для изготовления станины
Нам понадобится металлическая труба или уголок. Например, берем шесть уголков с сечением 25 на 25 мм, а также один металлический уголок, сечение которого составляет 40 на 40 мм. Длина упомянутых комплектующих должна составлять порядка 300 мм. Соединяются они элементарным образом при помощи сварки, но нужно тщательно проверять швы, ведь при эксплуатации устройства появляется значительная вибрация, которая может расшатать конструкцию.
Изготовив станину, нужно определить ее на ровную поверхность. Лучше всего залить ее основание бетоном, чтобы устойчивость станка была достаточной для осуществления работ на нем.
Для конструкции станка
Нам понадобится валовый механизм, который можно изготовить самостоятельно, либо приобрести в магазине. В нем нужно предусмотреть отверстие, предназначенное для установки патрона для сверл. Для этого подтачиваем окончание вала обычным напильником. Нужно сделать диаметр крепления немного большим, чем диаметр самого патрона.
Затем подтачиваем патрон до тех пор, пока он надежно не закрепится на валовом механизме. Подгонка патрона к валу осуществляется при помощи надфиля и специального состава из абразива наждачной бумаги и масла. При этом, диаметр вала должен составлять порядка 300 мм.
На конце вала должен располагаться шкив клиноременной передачи, а на другом соответствующие приспособления, благодаря которым функционал станка становится шире. Режущий элемент в форме дисковой пилы должен быть закреплен между прижимной и упорной шайбой.
Конструкция стола
Изготавливается из стали, толщина которого должна быть прядка 10 мм. Для того, чтобы можно было изменять параметры строгания, нужно сделать стол раскладного типа, верхняя часть которого регулируется, а нижняя наоборот, должна быть жестко зафиксирована.
Внизу конструкции станка необходимо установить наш электродвигатель. Натягиваем ремень на него и на вал, расположенный сверху. Также можно сделать дополнительный уголок, с помощью которого можно выравнивать деревянный материал по отношению к режущим элементам.
Работа и безопасность
Работа на деревообрабатывающем станке должна осуществляться только теми лицами, которые знакомы с определенными правилами техники безопасности. В противном случае, такая работа может закончиться весьма плачевно для того, кто ее осуществляет.
- Перед началом работы на станке нужно тщательно проверить свой внешний вид, т.е. не торчат ли рукава или иные части, которые могут попасть под режущие элементы.
- Производим осмотр деревообрабатывающего станка. Проверяем надежность закрепления шайб, фиксирующих режущий элемент на валу. Также нужно проверить степень заточки ножей и дисковой пилы, ведь их недостаточная наточка может привести к неприятным моментам в процессе распиливания древесины.
- Древесину нужно подавать поступательно, без лишних рывков. Если на заготовке присутствуют сучки, то при приближении к ним режущего элемента нужно немного замедлять подачу.
- Приступать к работе нужно только после того, как двигатель наберет свои максимальные обороты.

- Большое внимание нужно уделять материалу, который будет обрабатываться на станке. На нем не должно быть никаких металлических скоб, гвоздей и прочих подобных элементов.
Соблюдение элементарной техники безопасности позволяет избежать множества трагических случаев, которые, к сожалению, не являются редкостью при работе с деревообрабатывающими станками. Понятно, что избежать всех внештатных ситуаций довольно сложно, но снизить риск их возникновения полностью во власти человека.
Пожалуй, единственным советом в работе с деревообрабатывающим станком является точное соблюдение техники безопасности, которая изложена выше . К данному перечню хотелось бы добавить несколько моментов, касающихся непосредственной работы. В частности, нужно знать, в каких случаях нужно выключать станок, чтобы не возникало внештатных ситуаций:
- Если вы заметили, что станок издает нехарактерные шумы и повышенную вибрацию.
- Если вышел из строя режущий элемент, либо его крепления.

- В случае попадания различного сора под режущие элементы.
- В случае перегрева электродвигателя и подшипников валового механизма.
- Естественно, если вы отходите от станка, то его также нужно отключать.
Каждый человек, вне зависимости от того, на каком именно станке он работает — самодельном или заводском, должен не забывать о том, что данная работа является потенциально опасной для его жизни, если он не будет соблюдать те правила, которые прямо прописаны в инструкциях по безопасности.
Всем мозгоремесленникам доброго времени суток! Для тех из вас, у кого нет больших мастерских или малогабаритных стеллажей под инструмент, пригодится самоделка этой статьи, в которой компактно умещены все полезные инструменты, и которую легко можно перемещать на другие рабочие площадки.
При создании этой мозгоподелки я старался сделать ее как можно компактной, чтобы ей можно было удобно пользоваться даже в небольшом пространстве, а перемещать даже при отсутствии у вас автомобиля.
Для этого у нее имеются транспортировочные колеса, и передвигать поделку можно в одиночку, а если все же использовать для этого авто, то потребуется лишь небольшая помощь при погрузке.
Этот компактная станок-самоделка включает в себя: циркулярный стол, фрезерный стол и лобзик. А еще в ней имеется большой шкаф в котором вы можете хранить другой свой инструмент.
Чтобы показать поделку в действии я сделаю пару ящиков из дешевых сосновых досок.
На видео показано как я нарезаю доски для ящиков на циркулярном столе с помощью салазок, для получения требуемых размеров пользуюсь дополнительной планкой с зажимом.
Потом я делаю канавку для основания.
Нужный угол можно получить используя угловой упор с направляющей.
Сняв накладку можно выставить угол наклона диска, в данном случае 45 градусов.
Направляющая лобзика регулируется в трех осях, тем самым можно использовать лезвия разных размеров – от 100 до 180мм, тем самым получая максимальную высоту среза 70мм.
Далее я делаю ручку выдвижного ящика, и для этого использую фрезером, которым навожу округлую фаску. Здесь также имеется направляющая для углового упора, а еще будет полезен выносной подшипник для фрезерования кривых линий. Сам фрезер можно наклонять под углом 45°.
Ящик готов, и он занимает предназначенное ему место.
Соединение паз-шип можно на этом мозгостоле сделать двумя путями. Во-первых, с помощью лобзика, дополнительной планки и углового упора. А во-вторых, на циркулярном столе, используя специальный кондуктор.
С диском самого большого размера, который можно установить на самоделку (235мм), можно получить максимальный рез 70мм. На направляющей имеются небольшие регулировочные болты для уменьшения наклона, а при необходимости даже для блокировки.
Для соединения деталей я выбрал второй способ, для этого одни части следует помещать с одной стороны кондуктора, а другие – со второй.
И вот что получилось, переходим к фрезеру, на этот раз уже используем прижимное устройство, чтобы сделать паз основания.
Для этого необходимо поднять циркулярную пилу и выставить фрезер под углом 45°.
Шаг 1: Нарезка деталей
Начинается создание многофункционального стола-самоделки с нарезки всех деталей и их нумерации.
Далее для получения прорези ручки высверливаются 4 угловых отверстия и «допиливаются» лобзиком. Затем высверливаются отверстия тех же размеров, что и диаметр и толщина шайбы системы открывания. Отверстия зенкуются.
После этого подготавливается место для установки кнопок включения питания и аварийного отключения. Затем с помощью дюбелей и 50мм-х саморезов собирается корпус мозгостола . По желанию, детали корпуса обрабатываются лаком, так поделка будет лучше выглядеть и дольше прослужит.
Подготовив корпус, собираются 3 верхние части. Для этого нарезаются детали откидных рамок и в них высверливаются необходимые отверстия. Отверстие под трубку сверлится такого диаметра, чтобы эта трубка свободно в нем вращалась, так как она является осью вращения откидных крышек.
Затем выбирается полость под циркулярную пилу. Я это сделал с помощью своего 3D-фрезера, за неимением подобного это можно сделать обычным фрезером с помощью соответствующих кондукторов и направляющих.
С лицевой стороны крышки циркулярного стола выбирается полость под быстросъемную панель, сняв которую можно будет менять угол наклона диска. Саму панель можно использовать для настройки глубины фрезерования полости.
Установив циркулярную пилу в предназначенную полость размечаются отверстия под ее крепление. Хорошо подходит для этого 3D-фрезер, потому что на сверлильном станке данные отверстия нельзя будет просверлить из-за его ограниченной рабочей поверхности.
Шаг 2: Начало сборки
На данной стадии начинается постепенная сборка портативного многофункционального станка для мастерской самодельщика .
Размечается и выбирается с помощью циркулярного стола паз под направляющую. Две дополнительных фанерки дадут необходимую глубину для прочного крепления планки направляющей.
Далее на крышку крепится планка с нанесенной на него самоклеящейся рулеткой.
После этого высверливается отверстие для фрезера. Затем отрезаются трубки для осей вращения и на корпус монтируются рамки откидных крышек. В соответствии с чертежами изготавливаются и устанавливаются фиксирующие подпорки.
К рамке прикладывается крышка фрезера, выравнивается и крепится саморезами посредством отверстий в канале направляющей.
Затем подготавливается крышка лобзика, в ней выбирается паз под этот самый лобзик. Если для крышки используется материал не со скользящей поверхностью, такой как у меламина, то поверхность этой крышки следует обработать лаком, чередуя со шлифовкой.
Сделав это, вырезаются и собираются детали механизма вертикального подъемника фрезера, с помощью которого будет регулироваться глубина фрезерования.
Далее склеиваются вместе две фанерки, чтобы сделать из них держатель самого фрезера. В них высверливается отверстие того же диаметра, или подходящего, что и при создании крышки фрезера.
Этот держатель мозгофрезера можно сделать на ЧПУ-станке или даже заказать онлайн.
Готовый держатель фрезера крепится к вертикальному подъемнику, и теперь его можно попробовать в действии.
Для разметки радиуса пазов наклона временно крепятся к вертикальному подъемнику обычные петли, а для изготовления ручек-вертушков используются обрезки фанеры.
Шаг 3: Завершение сборки
Эту стадию сборки самоделки я начну с тех деталей, о которых позабыл ранее. Они придадут стабильности системе подъема.
Для начала нарезаются детали основания, я сделал это на своем циркулярном столе, затем они собираются в рамку, которая крепится к дну корпуса многофункционального мозгостола . Высота этой рамки должна быть такой же, что и высота имеющихся колесиков.
На створки одной из откидных крышек крепится щеколда, а створки другой – замок. Это может быть полезно при транспортировке поделки и выступать в качестве превентивной меры от кражи вашего инструмента.
Далее подготавливается 4-х разъемный электроудлинитель, в два разъема которого будут включаться лобзик и фрезер, а в два оставшихся — дополнительный электроинструмент. Розетка для циркулярной пилы подключается через кнопку включения питания и кнопку аварийного отключения. Провод удлинителя наматывается на специальные сделанные для этого ручки.
Быстросъемные панели сделаны из опалового метакрилата. Они помещаются на свои места, а прорезь в панели циркулярной пилы аккуратно делается самой пилой. В качестве направляющего подшипника я использовал аксессуар из комплекта старого фрезера. Это приспособление будет полезно при фрезеровании изогнутых линий.
После этого уровнем проверяется плоскость всей верхней части поделки , если они откидные крышки не лежат в плоскости центральной части, то это легко исправляется регулировкой наклона фиксирующих подпорок.
Далее проводится проверка перпендикулярности рабочих частей инструментов и плоскости стола. Для проверки фрезера в нем закрепляется трубка, по которой и смотрится перпендикулярность оси фрезера и плоскости стола, а еще проверяется параллельность канала направляющей и циркулярного диска.
Ну и наконец, проверяется перпендикулярность полотна лобзика.
После этого крышки стола складываются, чтобы проверить не мешают ли мозгоинструменты друг другу.
Шаг 4: Полезные приспособления
Данный шаг повествует об изготовлении некоторых полезных аксессуарах для стола-самоделки .
Первым делом нарезаются детали салазок, далее выбирается паз под ползунок направляющей. После этого две фанерные детали скрепляются вместе саморезами, при этом положения саморезов следует выбрать так, чтобы они не мешали последующей доработке этой детали. Затем в специально подготовленный паз на нее наклеивается измерительная лента, и этот аксессуар для мозгостола покрывается лаком, чередуя со шлифованием, тем самым создавая на этом приспособлении необходимую гладкую поверхность.
Салазки собираются, помещаются на многофункциональную самоделку и от них отрезается лишнее и прорезается срединный пропил, а затем еще наклеивается измерительная лента.
От саней откручивается ползунок направляющей и делается паз для кондуктора «шип-паз».
Такого же как у другого моего циркулярного стола.
Ползунок канала настраивается таким образом, чтобы исчез крен между болтами. Сам ползунок можно при необходимости застопорить просто закрутив бота по максимуму.
Далее нарезаются детали для стойки, она собирается, и лакируется-шлифуется. После сборки стойки изготавливается фиксирующая система для нее. Дюбели, вклеенные в эту фиксирующую систему, используются как направляющие оси. В окончании сборки стойки изготавливается ручка фиксирующей системы, а затем вся стойка проверяется в действии.
Дополнительно на стойку устанавливается пылесборник для фрезера, а в боковую сторону мозгостойки у пылесборника вкручиваются резьбовые втулки для прижимной панели.
Сделав это проверяется параллельность стойки и циркулярного диска, затем в паз боковой стенки вклеивается измерительная лента.
Закончив с этим, нарезаются детали кондуктора «шип-паз», которые затем склеиваются и зачищаются.
Шаг 5: Еще несколько полезных приспособлений
Это последнее видео данного мозгоруководства , и в его первой части показано как сделать угловой упор (для его создания можно наклеить распечатанный шаблон или воспользоваться линейкой).
Заготовку упора можно уже нарезать на самом многофункциональном станке.
Резьба в ползунке направляющей дюймовая, если же необходима метрическая, то придется воспользоваться метчиком.
Обязательно стоит временно прикрутить заготовку упора к направляющей, чтобы убедиться, что радиус поворота сделан верно.
Затем нарезаются детали шипового кондуктора, при этом необходимо для уменьшения трения слегка увеличить толщину крепления кондуктора.
Чтобы изготовить прижимную панель на фанерную заготовку наклеивается шаблон, пазы настройки этой панели выбираются с помощью фрезера мозгостанка . В нужных местах крышки с фрезером монтируются резьбовые втулки.
Сначала собирается система регулировки подшипников, чтобы избежать износа фанеры используется металлическая пластина. Одно из отверстий делается большим, чтобы посредством этого производить настройку подшипников.
Тоже самое проделывается с фанеркой.
После этого механизируется система регулировки высоты, и теперь конструкция может перемещаться в трех осях, тем самым получается необходимое положение.
Наконец, готовую направляющую для пилки можно проверить в действии, при этом важно удерживать распиливаемую дощечку двумя руками, чтобы она достаточно прочно прилегала к плоскости стола.
О компактной многофункциональной самоделке всё, удачи в творчестве!
Создайте свои собственные инструменты | Популярные Деревообработка
Мы можем получать комиссию, когда вы используете наши партнерские ссылки. Однако это не влияет на наши рекомендации.
Плотники славятся тем, что берут дело в свои руки. Когда что-то не работает так, как вы хотите, что вы делаете? Вы идете в магазин и строите что-то, что будет. Вероятно, поэтому сайт StumpyNubs.com так популярен. Стампи (настоящее имя Джеймс Гамильтон) ставит перед собой задачу решать проблемы и оптимизировать рабочий процесс в магазине, создавая машины с нуля. Вы можете найти чертежи оригинальных машин Гамильтона на его сайте, а также в его книге «Самодельная мастерская». В этом отрывке из книги он предлагает немного своей философии создания собственных инструментов.
Зачем создавать собственные инструменты? Вот несколько причин, по которым я считаю, что самодельные машины для вашего магазина — это то, что вам нужно.
Дополнительные функции
Многие из наиболее распространенных машин практически не изменились на протяжении поколений. В качестве примера возьмем ленточнопильный станок. Сегодняшние новые модели очень похожи на старые музейные машины с ременным приводом. Тем временем парень по имени Белл изобрел коробку с микрофоном, которая превратилась из телефона-подсвечника в линии для вечеринок, наборы с тональным набором, беспроводные телефоны, сотовые телефоны, а теперь и видеоподключения к Интернету — и мы все еще используем тот же дизайн ленточной пилы!
Где встроенный выдвижной стол для поперечной резки, встроенный пылесборник, который действительно собирает пыль, или компактная конструкция, обеспечивающая глубину горловины более 14 дюймов без использования 10-футовой машины с гигантскими колесами?
Когда вы строите его самостоятельно, вы сами решаете, какие функции для вас важны.
Немного подумав, вы можете сделать машины, которые на несколько световых лет опережают те, что продаются в магазинах.
Меньше затрат
Изготовление собственных деревообрабатывающих станков — отличный способ сэкономить деньги, если вы увлекаетесь подобными вещами. (Что я.)
Давайте снова рассмотрим пример с ленточной пилой. Я гордый обладатель 14-дюймовой ленточной пилы мощностью 1 л.с., которая считается довольно «премиальной» моделью. Это стоило мне 1000 долларов. Вы можете купить менее дорогие пилы, но не с функциями, которые входят в этот ценовой диапазон. Также у меня есть самодельная пила собственной конструкции. В нем есть все функции моей пилы за 1000 долларов, а также многое другое. Сборка обошлась мне примерно в 100 долларов, включая подержанный мотор. Но это еще не все. Моя самодельная пила имеет мощность 24″. 24-дюймовая ленточная пила на коммерческом рынке будет стоить вам на несколько тысяч долларов больше.
У меня также есть самодельный горизонтальный фрезер, барабанный шлифовальный станок, столярно-фрезерный станок, станок для изготовления ласточкиного хвоста и множество других механизмов, которые редко можно найти в небольшом магазине, потому что коммерческие версии намного превышают финансовые возможности среднего человека.
столяр. Моя мастерская оснащена намного лучше, чем многие профессиональные магазины, по одной простой причине: я сам изготавливал инструменты.
Расширенный доступ
Тысячи плотников построили машины, которые мы проектируем на StumpyNubs.com, чем я очень горжусь. Но лучшая часть моей работы — чтение электронной почты от столяров, которые живут в районах с деревообрабатывающее оборудование либо трудно найти, либо импортировать непомерно дорого. Многие в Европе, Африке и Азии обнаружили, что создание собственных машин — это единственный способ, с помощью которого они могут надеяться владеть некоторыми инструментами, которые другим легко приобрести.
Группа увидела, что стоимость в 1000 долларов в США в два или три раза выше, чем в некоторых странах. Другие просто не могут найти коммерческую версию в продаже вообще. Хотя доступность не является проблемой для всех, для некоторых это важная причина для создания собственных инструментов.
Право на хвастовство
Однажды мой сосед пришел в мой магазин, чтобы показать мне сделанную им разделочную доску.
Он очень гордился своей работой, как и все, когда создают что-то своими руками. Я похвалил его и болтал об этом, пока он не упомянул, что ему еще нужно закончить шлифовку. Будучи хорошим соседом, я предложил сделать это за него, включив свою самодельную барабанную шлифовальную машину. У него отвисла челюсть, когда я вставил его, стараясь отрегулировать каждую ручку и рукоятку, как если бы это была машина времени Герберта Уэллса.
Первое, что должен усвоить каждый столяр: ничто так не впечатляет ваших друзей, как самодельные станки. Устройте своим приятелям быструю экскурсию по вашему магазину, и вы навсегда станете хозяином вселенной деревообработки! Но самодельные машины предназначены не только для того, чтобы произвести впечатление на ваших друзей. Представьте себе удовлетворение, которое вы получаете, когда заканчиваете проект. А теперь представьте, что вы делаете этот проект с помощью инструментов, которые вы также сделали сами! Это чувство будет возвращаться каждый раз, когда вы пользуетесь самодельной машиной.
Чертежи машин Hamilton можно найти на stumpynubs.com/homemade-tools.html. Его книга «Самодельная мастерская» теперь доступна на ShopWoodworking.com.
Рекомендации по продуктам
Вот некоторые расходные материалы и инструменты, которые необходимы нам в повседневной работе в магазине. Мы можем получать комиссию с продаж, на которые ссылаются наши ссылки; тем не менее, мы тщательно отобрали эти продукты за их полезность и качество.
Крег Мини Трак
Лак на тунговом масле
Бит обрезки заподлицо
Недавние посты
Строительство деревянной столовой для вашего униформного комплекта Часть 2
Краткое пресс-вининг
5 обязательных зажимов для вашего магазина
15 Awesom
Работа по дереву — невероятно полезное хобби, которое может длиться всю жизнь и передаваться из поколения в поколение сыновьям и дочерям.
И для этого требуется немного больше, чем базовые навыки работы с деревом, батарея электрических и ручных инструментов, немного свободного времени и немного вдохновения (вот где мы вступаем).
🛠 Хотите мгновенный доступ к проектам DIY ниже? Станьте участником Pop Mech Pro сегодня.
Вот 15 проектов по деревообработке, взятых прямо со страниц Popular Mechanics , и они доступны для столяров всех уровней квалификации — будь вы новичок в домашнем деле или опытный профессионал. Все эти проекты включают в себя полные планы, а также списки материалов и инструментов, так что у вас будет все необходимое для начала работы.
Но прежде чем вы начнете, вот:
1
Журнальная стойка
Popular Mechanics
Два или три вечера, проведенных в мастерской, — это все, что нужно, чтобы построить эту подставку для журналов, и это отличный способ расслабиться.
Он также обеспечивает хранение журналов на журнальном столике в гостиной или тумбочке в спальне. Он состоит из пары одинаковых рам из трех частей, соединенных между собой самоблокирующимся полунахлестом.
🛠 Как собрать журнальную полку
Для этого изделия можно использовать практически любую древесину, но мы выбрали желтый тополь. Он легко наносится, а после нанесения прозрачного верхнего слоя приобретает кремовый цвет с зеленоватым оттенком. Тополь широко доступен, и его цена более разумна, чем у других сортов древесины для кабинета.
2
Плавающие полки
Popular Mechanics
Небольшие дома должны использовать все возможные сантиметры, включая драгоценные сантиметры за гипсокартоном.
🛠 Как построить парящую полку
Следуя этим планам, вы создадите отличное хранилище, а также архитектурное решение для любой комнаты. И лучшая часть? Это займет всего несколько инструментов, немного пиломатериалов и полдня.
3
Изготовитель мороженного
«Популярная механика»
Это проще простого — мороженое.
Смесители с ручным заводом помогут вам справиться с задачей, — говорит Брайан Смит, владелец и инструктор маслобойни Ample Hills. «Это то, что мы используем на наших уроках по приготовлению мороженого. Мне нравится аспект сообщества, когда мы делаем это старомодным способом, взбивая по очереди».
🛠 Как собрать мороженицу
Чтобы приготовить мороженое, положите чашку каменной соли и льда между банкой из-под кофе и банкой с краской. Налейте сливки в кофейную банку и проворачивайте около десяти минут (или пока сливки не загустеют и не станут мягкими).
4
Шезлонг на заднем дворе
Бен Гольдштейн
Задний двор — идеальное место для отдыха и размышлений, а для этого вам понадобится хороший, удобный стул.
Но зачем покупать, если можно построить один с помощью циркулярной пилы и аккумуляторной дрели? Этот шезлонг на заднем дворе не просто легко и доступно построить; он также выглядит деревенским и очень удобным.
🛠 Как сделать шезлонг на заднем дворе
Этот шезлонг для ленивого мальчика основан на традиционном дощатом стуле Westport 1903 года, который был предшественником классического кресла Adirondack. Однако наша версия намного быстрее и проще в сборке. Кроме того, вы можете сконструировать этот стул всего из двух сосновых брусков 1×10 длиной 10 футов, и на это уйдет не более пары часов 9.0012
5
Деревянный фургон
«Популярная механика»
Самые ценные детские подарки — деревянные игрушки ручной работы. И когда они будут такими же крутыми, как этот красный фургон, их будут беречь поколения.
🛠 Как построить деревянную повозку
Игрушечная повозка, сделанная своими руками, является типичным подарком для ребенка даже в наш век цифровых технологий.
Для него не требуется приложение или батареи, он никогда не устареет и практически не поддается разрушению. Ваши дети или внуки будут любить таскать за собой свои игрушки, братьев и сестер или собаку!
6
Бочче Корт
Popular Mechanics
Игра начинается!
Построить базовую площадку для игры в бочче довольно просто. В основном строить весело, хотя и не каждые шагов весело. Но это всегда весело, так как бочче — это древняя игра, в которую в солнечные дни играют обветренные итальянцы в панамах и пьющие вино из кувшина.
🛠 Как построить площадку для игры в бочче на заднем дворе
Строительство требует не более чем разметки большого прямоугольника, некоторых копаний, а также распределения и уплотнения гранулированных материалов. Это небольшая работа, но корт придает вашей игре предсказуемость, которой никогда не будет при катании мяча по газону.
7
Верстак
Popular Mechanics
Этот крепкий, прочный и красивый верстак станет идеальным помощником в мастерской для строительных проектов любого размера.
🛠 Как построить верстак
“Когда Popular Mechanics попросили меня спроектировать и построить верстак в качестве проекта и в качестве центрального элемента мастерской и студии в Нью-Йорке, я знал, что верстак должен отражать бренд и его серьезное наследие. Я хотел, чтобы он имел четкие линии и приятные пропорции, но самое главное, он должен был быть функциональным», — Ричард Романски, 9Говорит участник Pop Mech 0005.
Скамейка изготовлена из строительного пиломатериала: пихта Дугласа, лаги LVL (клееный шпон), распиленные на узкие полосы, а затем склеенные в плиту, и MDO (накладка средней плотности), форма фанеры с ламинированной поверхностью.
Без сомнения, это амбициозный проект. Но любой опытный столяр, у которого есть настольная пила и рубанок, может построить его. Вот как построить один для себя.
8
Ящик для плантатора из красного дерева
Popular Mechanics
Один из самых быстрых и недорогих способов улучшить внешний вид вашего дома — внутри и снаружи — добавить пару красивых ящиков для цветов.
Три конструкции, показанные в этом проекте, построены из красного дерева. Калифорнийское красное дерево — отличный выбор для плантаторов. Он может похвастаться непревзойденным сочетанием естественной красоты и превосходной долговечности. Красное дерево устойчиво к гниению и нападению насекомых.
🛠 Как сделать ящик для цветов из красного дерева
Чтобы определить стойкость к такому нападению, красное дерево классифицируется по цвету и другим факторам. Красновато-коричневая сердцевина внутренней части дерева содержит экстрактивные вещества, которые делают ее прочной. Заболонь кремового цвета, которая развивается во внешнем слое роста дерева, как и большинство белых пород, не имеет такой степени устойчивости к гниению и насекомым, как ядровая древесина.
При строительстве плантатора выберите один из сортов цельноядровой древесины. Также доступны сорта, содержащие немного заболони, которые будут немного дешевле.
9
Штабелируемые пилы
Popular Mechanics
Каждой мастерской нужна пара прочных козлов.
И эта породистая пара построена из нескольких 2х4. И эти козлы прочны, просты в сборке и удобно штабелируются для удобства хранения и транспортировки.
🛠 Как собрать штабелируемые пилы
Пилки необходимы для использования в качестве станка для резки и сверления, для удерживания пиломатериалов или для покраски двери. А когда они покрыты фанерой, они мгновенно превращаются в рабочий стол. Мы выделили несколько популярных конструкций козлов (включая нашу собственную), но эта конкретная пара козлов может быть нашей любимой на данный момент.
Собранная полностью из 2х4 козлов, эта козла популярна на строительных площадках и может быть скреплена гвоздями или шурупами. Мы впервые увидели этот дизайн, использованный Марком Клементом из My Fix It Up Life, и нам нравится обновленная версия от Джея Бейтса, которая позволяет использовать зажимы на концах
. 10
Набор инструментов A-Frame
Popular Mechanics
Традиционные ящики для инструментов с А-образной рамой использовались целыми поколениями мастеров, включая плотников, сантехников, электриков и механиков.
Итак, мы решили показать вам, как построить не одну, а пять различных версий наборов инструментов A-frame, каждая из которых настроена для определенного типа работы и работника.
🛠 Сделать ящик для инструментов с А-образной рамой
Ящики для инструментов с А-образной рамой с открытым верхом предпочтительнее ящиков с откидными крышками, поскольку они обеспечивают быстрый доступ к инструментам. Конечно, они могут выглядеть немного грубыми и готовыми, но эти коробки — рабочие лошадки, а не произведения искусства.
11
Простая коробка
Персонал
Изготовление ящиков — важный навык для столяров всех уровней квалификации. И хотя многие деревянные ящики использовались в магазинах и дома, в деревянных ящиках ручной работы есть что-то красивое и долговечное. Здесь мы покажем три различных способа построения коробки: с помощью коробчатых соединений, шлицевых соединений и шпунтовых соединений.
🛠 Как построить простую шкатулку
Как только вы отточите свои навыки изготовления деревянных коробок с плотными соединениями и идеальными пропорциями, вы сможете создавать гораздо большие вещи. Мы попросили трех опытных столяров построить простую коробку, чтобы посмотреть, как каждый подойдет к этой задаче. Оказывается, они очень разные, несмотря на то, что им даны схожие рекомендации по дизайну.
Внешние размеры должны были быть 8 дюймов в высоту, 12 дюймов в ширину и 16 дюймов в длину, и они могли использовать только инструменты и материалы, найденные в их местном домашнем центре. В итоге у нас получилось три коробки с тремя характерными соединениями — все одинаково потрясающие.
12
Винная стойка
Popular Mechanics
Можно с уверенностью сказать, что многие люди, которые покупают вино в ящиках, любят выставлять свои запасы как часть домашнего декора, но не любая винная полка подойдет.
🛠 Как собрать винный стеллаж
Ищете ли вы средиземноморский стиль, стеллаж, способный выдержать воздействие внешней среды, или если вам нужно хранить много вина, эти три винных стеллажа — созданы для вас. в 9Мастерская 0005 «Популярная механика » — именно то, что вам нужно.
13
Кухонный стол
Популярная механика
Часто кажется, что вещи уже не те, что были раньше, и это чувство справедливо как для мебели, так и для других аспектов нашей жизни. Некоторые современные дизайны заставляют нас думать о мебели как об искусстве или, по крайней мере, как о декоративном украшении, и при этом, кажется, готовы оставить комфорт и функциональность мебели позади. Вот почему мы подумали, что было бы здорово вернуться в те дни, когда стол был столом, простым и функциональным, но красивым.
🛠 Как собрать кухонный стол
Простота конструкции и четкие линии нашего кухонного стола напоминают мебель Shaker.
И, в традициях шейкеров, стол также был разработан, чтобы служить как утилитарным рабочим местом, для приготовления еды, так и обеденным столом. Он рассчитан на четырех посетителей или, в крайнем случае, на шесть человек.
14
Пергола
Popular Mechanics
Создайте привлекательное жилое пространство на свежем воздухе с помощью этой простой в сборке беседки на заднем дворе. Его уникальный архитектурный дизайн помещает вас одновременно внутрь и наружу.
🛠 Как построить перголу
Чертежи перголы — неизменный фаворит в Popular Mechanics (мы публикуем их с 1920-х годов), и легко понять, почему. Готовый продукт — это приятное дополнение к любому двору, тенистое место, где можно посидеть и почитать, поесть и выпить с друзьями или отдохнуть в летний день. С точки зрения «сделай сам» окупаемость инвестиций высока: небольшую беседку можно построить за выходные, для этого требуются достаточно недорогие материалы, а также только базовые столярные навыки и инструменты.
Простая пергола состоит из четырехстоечной конструкции квадратной или прямоугольной формы, увенчанной перекладинами, стропилами и решеткой. Здесь мы представляем восемь основных шагов строительства, а также планы DIY для создания собственной перголы. В любом случае, вы выиграете, потому что строить перголу так же приятно, как и делиться ею с семьей и друзьями.
15
Столик на двоих
Popular Mechanics
Хотя этот предмет мебели с уникальным дизайном выглядит так, как будто он прибыл из музея современного искусства, на самом деле это обновленная версия проекта, впервые появившегося в Popular Mechanics еще в 1939 году!
🛠 Как собрать этот стол на двоих
Расскажите о классике быстрого приготовления. И вы можете построить его за один уик-энд всего из четырех 2×4 2×4 длиной 8 футов, листа фанеры и обрезков твердой древесины.
Чертежи по дереву | Проекты деревообработки своими руками | Проекты по деревообработке «Сделай сам»
Поиск
37
Деревообработка своими руками Projects easy:
.
Чертежи и проекты по деревообработке!
Топ 1 Деревообрабатывающие чертежи :
.
деревообработка и идеи домашнего сада :
.
.
• Понятные пошаговые инструкции; В каждом плане есть простые инструкции, которые помогут вам быстро завершить свои проекты. • Списки материалов и раскроя, гарантирующие, что вы получите правильные материалы и сделаете правильную резку. Это сэкономит вам много денег.
• Вы получаете четкие, красочные и подробные схемы. Никаких догадок, вы будете знать, что и как делать, и завершите свои проекты в кратчайшие сроки.
• На планах видны все стороны. Вы увидите, как все должно выглядеть, прежде чем начать строить. Сложные детали для каждого соединения, угла и угла не оставят вас гадать.
• Различные списки планов (16 000+). Кроме того, вы также будете получать новые планы каждый месяц бесплатно.
Планы охватывают все уровни компетентности и навыков. Вам не нужно быть опытным резчиком по дереву или иметь дорогие инструменты и оборудование, чтобы использовать чертежи.
Независимо от того, являетесь ли вы профессиональным столяром, любителем или новичком в работе с ручными инструментами, вы найдете несколько подходящих проектов.
.
Плюс тонны советов, методик, видео и руководств для плотников
.
.
.
.
#ПланыПроектаДеревообработки
#ИнструментыДеревообработки .
.
.
#деревообработка
столярные станки
woodworking books
woodworking cabinets
woodworking carpentry
woodworking project
woodworking project plans
woodworking projects
woodworking chair
woodworking class
woodworking crafts
woodworking designs
woodworking equipment
woodworking furniture
woodworking hardware
woodworking ideas
woodworking kits
woodworking machines
деревообрабатывающий журнал
деревообрабатывающие журналы
деревообрабатывающие материалы
woodworking pattern
woodworking plan
woodworking plans
woodworking products
woodworking rack
woodworking software
woodworking stand
woodworking storage
woodworking store
woodworking supplies
woodworking tips
woodworking tools
beginner woodworking
custom woodworking
fine woodworking
free woodwork plans
бесплатные планы деревообработки
мебель планы деревообработки
популярные проекты деревообработки
деревообработка
Деревообработка Деревообработка Адирондак Планы деревообработки
Передовые планы деревообработки
Американские планы деревообработки
Старинные планы деревообработки
Детские кроватки планы деревообработки
Планы деревообработки в баре
Планы деревообработки кровати
Начальные планы деревообработки
чертежи по дереву книжного шкафа
чертежи по дереву книжной полки
чертежи по дереву буфета
Купить планы деревообработки
Планы деревообработки
Планы деревообработки CAD
Планы деревообработки CEDAR
Планы по деревообработке
Детские планы деревообработки
Планы деревообработки
.
Планы по дереву
. чертежи деревообработки шкафа
чертежи деревообработки шкафа сувенира
чертежи деревообработки на заказ
чертежи столярного производства стола
планы деревообработки своими руками
сделай сам планы деревообработки
планы деревообработки кукольного домика
планы деревообработки дверей
скачать планы деревообработки
загружаемые планы деревообработки
рисовать планы деревообработки
бесплатные чертежи деревообработки
футон чертежи деревообработки
планер-рокер чертежи деревообработки
отпускные чертежи деревообработки
humidor woodworking plans
hutch woodworking plans
japanese woodworking plans
kids woodworking plans
lamp woodworking plans
lectern woodworking plans
lighthouse woodworking plans
mailbox woodworking plans
master woodworking plans
mirror woodworking plans
modern woodworking plans
nutcracker woodworking plans
woodworking планы 2021
стол для пикника планы деревообработки
планы деревообработки
планы столярные работы
подиум деревообработки планы
чертежи деревообработки для печати
чертежи деревообработки кресла-качалки
чертежи деревообработки лошади-качалки
деревенские чертежи деревообработки
чертежи деревообработки шейкер
чертежи деревообработки полки
чертежи деревообработки жалюзи
чертежи деревообработки буфета
простые чертежи деревообработки
чертежи деревообработки игрушек
чертежи деревообработки ящиков для игрушек
уникальные чертежи деревообработки
чертежи деревообработки камердинера
vintage woodworking plans
windmill woodworking plans
woodsmith woodworking plans
woodwork plan
woodworker plan
woodworker plans
woodworkers plan
woodworkers plans
woodworking building plans
woodworking craft plans
woodworking design plans
woodworking furniture plans
woodworking plan
woodworking plans
Чертежи по дереву детские
Чертежи по дереву скамейки
Книга планов по дереву
Чертежи по дереву ящики
планы деревообработки шкафы
каталог планов деревообработки
планы деревообработки cd
планы деревообработки дети
планы деревообработки часы
планы деревообработки собака
планы деревообработки dvd
планы деревообработки для детей планы #Сделай сам #Деревообработка #Проекты #Деревообработка #Проекты
источник
– Реклама –
Управление согласием
Самодельные машины | Журнал деревообработки Stumpy Nubs
‹Вернуться на предыдущую страницу
Показаны все 12 результатов
Сортировка по умолчаниюСортировать по популярностиСортировать по последнимСортировать по цене: от низкой к высокойСортировать по цене: от высокой к низкойПосмотреть как:
Быстрый просмотр
Ленточная пила 24″
Самодельные станки, чертежи
Эта ленточная пила БОЛЬШАЯ во всем, кроме размера.
Он имеет полный 24-дюймовый зев, но при этом достаточно мал, чтобы поместиться на столе. Он оснащен функциями, которых нет даже у серийно выпускаемых пил, таких как встроенный выдвижной стол для поперечной резки, направляющие полотна на шарикоподшипниках и уникальный пылесборник. Вы можете использовать обычные 104-105-дюймовые лезвия, и самое приятное то, что они почти полностью сделаны из дерева!
15,00 $ В корзину
Быстрый просмотр
Верстак Roubo 2×6
Приспособления для ручных инструментов, самодельные станки, чертежи, мастерские
Андре Рубо был одним из старейших мастеров по дереву, и уникальные рисунки, найденные в его книге восемнадцатого века, вдохновляли столяров на протяжении более 200 лет. Stumpy разработал версию этой скамьи, которая является самой простой и дешевой в изготовлении. Вы можете построить его без сложных столярных работ и без компромиссов в прочности и характеристиках, и все это из дешевых строительных пиломатериалов! Он большой, крепкий и обладает всеми функциями, которые оценит плотник с ручным или даже с электроинструментом.
10,00 $ Добавить в корзину
Быстрый просмотр
Настольный столярный станок
Самодельные станки, приспособления для столярных работ, разное, чертежи
Этот станок родился из разочарования! У Стампи был дешевый ручной столярный станок для печенья, который он купил по прихоти в Harbour Freight. Проблема с такими дешевыми инструментами заключается в трудности, связанной с созданием точно расположенного паза без раскачивания инструмента во время резки! Итак, как любой хороший столяр, Стампи решил найти решение. В результате получилось настольное устройство, которое может превратить дешевый инструмент в нечто более простое в использовании, чем даже дорогие ручные версии. Настольный столярный станок для печенья быстр и точен, недорог в сборке и имеет множество применений. Он отлично подходит для склеивания кромок досок, укрепления любого стыкового соединения, вырезания пазов для фальшпанелей и рамок для картин.
.. что угодно!
10,00 $ В корзину
Быстрый просмотр
Ограждение фрезерного стола Deluxe
Самодельные станки, чертежи, приспособления для фрезерования
Эта удивительно точная и универсальная направляющая стола создана по образцу очень дорогой системы Incra LS. Он оснащен набором взаимосвязанных зубьев, создающих упоры через каждые 1/16 дюйма. Вы не промахнетесь даже на малейшую долю дюйма! работает на любом фрезерном столе и является самым точным самодельным фрезерным ограждением из существующих.0003
8,00 $ В корзину
Быстрый просмотр
Долбежный станок типа Domino
Самодельные станки, столярные приспособления, чертежи, фрезерные приспособления
Это инструмент, о котором Стампи давно мечтал, но просто не мог оправдать цену в 1000 долларов за коммерческую версию! Это ручной долбежный станок, предназначенный для столярных работ со свободными шипами, что очень похоже на традиционные столярные изделия с пазами и шипами, но НАМНОГО быстрее и проще! Эту самодельную версию, вдохновленную Festool Domino, сделать намного проще, чем вы думаете, и она имеет больше применений, чем вы можете себе представить!
8,00 $ В корзину
Быстрый просмотр
Станок для изготовления ласточкина хвоста
Самодельные станки, приспособления для столярных работ, чертежи, станки для фрезерования
Я разработал станок для изготовления ласточкина хвоста, который можно сделать из дерева и который имеет больше возможностей, чем большинство лучших коммерческих моделей.
Этот станок предназначен для использования с фрезером для быстрого, ровного и красивого соединения типа «ласточкин хвост», которое выглядит так, как будто вы сделали его вручную. Он имеет микрорегулировку, поэтому вы можете установить, насколько плотным должно быть соединение, и это позволяет вам легко изменять расстояние и размер хвостовиков и штифтов. Он также может выполнять скользящие соединения типа «ласточкин хвост» и фрезерные цапфы!
10,00 $ Добавить в корзину
Быстрый просмотр
Барабанная шлифовальная машина (двухступенчатая)
Самодельные машины, чертежи, цеховые проекты
Конструкция этой барабанной шлифовальной машины не похожа ни на что, что вы когда-либо видели! Это «двухступенчатая» машина, что означает, что можно использовать как верхнюю, так и нижнюю часть шлифовального барабана. Это позволяет вам отшлифовать любую плоскую заготовку до нужной толщины, пропустив ее через станок с помощью ручного приводного ремня, ИЛИ вы можете провести свои заготовки поверх станка для быстрого шлифования плоских поверхностей и ровных кромок! Нигде нет другой барабанной шлифовальной машины с такой возможностью! Он также предназначен для использования недорогих, легкодоступных 6-дюймовых шлифовальных лент, и вместо того, чтобы снимать бумагу для замены зернистости, вы заменяете весь барабан с помощью быстросъемной системы!
10,00 $ В корзину
Быстрый просмотр
Самодельный подъемник для фрезера
Самодельные станки, чертежи, приспособления для фрезера
Этот подъемник оснащен улучшенным механизмом слежения, регулировка выполняется сверху стола с помощью гнезда или ключа на 1 1/8″, он крепится к самодельной фрезерной пластине, и подойдет практически к любому фрезерному столу со съемной пластиной.
Или вы можете использовать его отдельно в качестве автономного мини-стола для фрезерования! двигатель роутера.
5,00 $ В корзину
Быстрый просмотр
Горизонтальный фрезерный станок
Самодельные станки, приспособления для столярных работ, чертежи, приспособления для фрезерования
Этот горизонтальный фрезерный станок имеет несколько уникальных особенностей, таких как наклонный стол, микрорегулируемый подъемник фрезерного станка, выдвижной стол и многое другое. Станок отлично подходит для изготовления дверей с фальшпанелями, резки под углом и скосов, изготовления шлицевых соединений под углом для коробок, замковых соединений под углом, соединений внахлестку, шпунтов, шипов… список можно продолжать и продолжать. К тому же он отлично собирает пыль, а поворотный стол позволяет резать уникальные, единственные в своем роде профили обычными фрезами!
10,00 $ Добавить в корзину
Быстрый просмотр
Лобзик
Самодельные станки, чертежи
Это отличный станок для вырезания кривых и больших отверстий без необходимости резать от края заготовки, как с помощью ленточной пилы.
Фактически, он может заменить ленточнопильный станок в магазине с ограниченным бюджетом. ПЛЮС, им можно резать пластик, металл и даже плитку! Rockwell называет их «бегущими по лезвию», но у этого есть функции, которых нет даже у них. Во-первых, он делает скошенные разрезы. Внизу есть ящик для хранения, и его можно сделать из обрезков и дешевой пилы.
8,00 $ В корзину
Быстрый просмотр
Магазинный циклон-пылесос
Самодельные машины, разное, чертежи, проекты в магазине
Мини-циклон, предназначенный для поддержания чистоты фильтра и эффективной работы пылесоса! На рынке есть коммерческие версии, но наша проста и недорога в изготовлении, и ее можно установить прямо на ваш пылесос, поэтому вам не нужно таскать с собой отдельное ведро. Вакуумная хирургия не является обязательной, и мы проведем вас через все это! Этот проект был показан в эпизодах 51 и 52 “The Stumpy Nubs Workshop”.
5,00 $ В корзину
Быстрый просмотр
X-Y скользящий стол для сверлильного станка
Самодельные станки, разное, чертежи, цеховые проекты
Этот стол для сверлильного станка не похож ни на что из того, что вы когда-либо видели.
Несмотря на свой компактный профиль, он имеет множество функций, включая два ящика для хранения сверл, быстросъемную Т-образную направляющую, встроенный пылесборник, сменные вставки и умный механизм, который позволяет поверхности стола скользить вперед и назад, как ну как слева направо! В сочетании со встроенными упорами или простыми линиями разметки на ленте этот механизм может заставить ваш сверлильный станок делать НАМНОГО больше! Используйте его, чтобы сделать ряды отверстий для полочных штифтов и т. д., и все это с легкой повторяемостью. Вы даже можете поместить фрезу в сверлильный станок и использовать стол для фрезерования неглубоких пазов и вкладок. Вы обязательно найдете еще больше применений этому уникальному столу!
10,00 $ В корзину
19 Быстрых, простых и маленьких идей
Хотите построить что-то новое? Посмотрите на эти привлекательные и полезные проекты, которые вы можете построить! Самое приятное то, что они не требуют полной мастерской и многолетнего опыта работы с деревом, а всего лишь несколько обычных инструментов и немного старомодного локтевого смазочного материала.

1 / 20
Изготовление деревянной разделочной доски и подноса для сервировки
Нарезайте, нарезайте кубиками и подавайте стильно на этой удобной красивой доске. Мы покажем вам простой способ сухой подгонки деталей, разметки дуги, а затем склеивания всего вместе. Мы использовали 4-футовый. стальная линейка, чтобы разметить дуги, но подойдет и линейка или любая тонкая доска.
Обязательно используйте водостойкий клей для дерева и не мойте доску в посудомоечной машине, иначе она может развалиться. И еще: держите доски как можно более ровными во время склеивания, чтобы свести к минимуму шлифовку в дальнейшем.
2 / 20
Семейный мастер на все руки
Поддерживайте порядок с помощью табурета-бустера для хранения обуви
Соберите этот удобный табурет за один час и поставьте его в шкаф. Вы также можете использовать его как ступеньку, чтобы добраться до высокой полки. Чтобы сделать полки для хранения, все, что вам нужно, это лист размером 4 фута на 4 фута из 3/4 дюйма.
фанера, столярный клей и несколько гвоздей 8d. Вырежьте детали из фанеры, как показано на рисунке. Нанесите столярный клей на стыки, затем прибейте их гвоздями 8d. Во-первых, гвозди через стороны в спину. Затем прибейте сверху к бокам и сзади. Наконец, отметьте расположение двух полок и прибейте к ним боковые стороны.
Нет свободного места на полу? Вместо этого соберите эти супер простые настенные органайзеры для обуви.
3 / 20
Бонус! Посмотрите это видео, чтобы узнать, как самостоятельно построить еще один сверхпростой объект по дереву:
4 / 20
Семейный мастер на все руки
Держите обувь подальше от пола с помощью этого органайзера для обуви
Храните обувь над полом на чистых полках из натурального дерева. Эта простая система хранения подходит для всего, от зимних ботинок до летних сандалий, без скопления грязи или потертостей на стене. Создайте один, чтобы поделиться или один для каждого члена семьи.
Для мокрых ботинок и ботинок мы рекомендуем этот красивый, простой в изготовлении лоток.
5 / 20
Семейный мастер на все руки
Собери деревянную скамью за меньшие деньги
Срочно нужно дополнительное место? Эту простую скамейку, основанную на классическом дизайне автора и эколога Альдо Леопольда, можно построить за пару часов, даже если вы новичок в работе по дереву. Все, что нужно, это две платы и 18 шурупов по очень номинальной цене.
6 / 20
Семейный мастер на все руки
Собери эту портативную маленькую скамейку
Дайте вашей спине и коленям отдохнуть с этим портативным, простым в сборке сиденьем/табуретом-стремянкой/ящиком для инструментов/рабочей поверхностью. Сборка занимает всего пару часов, и вы найдете для нее десятки применений. Если вы ищете небольшую скамейку/табурет-стремянку, которая немного привлекательнее этой, вот одна из них, которую вы можете рассмотреть.
7 / 20
Семейный мастер на все руки
Изготовление контейнеров для хранения журналов
Нужен хороший способ архивирования журналов и других важных документов? Соберите эти простые деревянные ящики для хранения, и все ваши любимые предметы всегда будут у вас под рукой, а не потеряны в огромной куче. Вы можете построить четыре контейнера из одного листа размером 2 фута на 4 фута толщиной 1/4 дюйма. фанера и два 6-футовых. длинные 1х4с. А распилить древесину легко лобзиком или ленточной пилой.
8 / 20
Семейный мастер на все руки
Создайте элегантную и простую вешалку для пальто и шляп
Уберите беспорядок в прихожей с помощью простой вешалки для пальто и шляп, которую можно соорудить примерно за час из 6-футовой вешалки 1×4 и крючков для одежды. Вырежьте доски, чтобы они соответствовали вашему пространству, покрасьте их, оснастите различными крючками в соответствии с вашими потребностями, а затем прикрутите их к стене.
В хозяйственных магазинах и интернет-магазинах вы найдете крючки самых разных стилей, цветов и цен. Для вдохновения взгляните на эти умные и необычные крючки для одежды.
9 / 20
Семейный мастер на все руки
Сборка полки для специй
Эта полка для специй будет держать ваши любимые 18 приправ наготове. Это быстро и весело сделать, и он помещается в стандартный кухонный шкаф. Вам потребуется:
- Деревянные диски диаметром 11-1/2 дюйма и 7-1/4 дюйма
- 9 дюймов. ленивое оборудование Сьюзен
- Четыре дюбеля 1-5/8 дюйма x 5/8 дюйма для ножек
- Одна ручка-дюбель 5-1/4 дюйма x 5/8 дюйма
- Сверло Форстнера 1-7/8 дюйма
- А 5/8 дюйма. лопаточное сверло или сверло
- Деревянный шар диаметром 1-1/2 дюйма или другая ручка.
С помощью карандаша и транспортира разделите больший диск на 30-градусные клинья, чтобы создать 12 центральных линий для выемок бутылок.
Отцентрируйте и обведите меньший диск поверх большего диска. Затем с помощью сверлильного станка просверлите 3/8 дюйма. глубокие отверстия на 12 осевых линиях с 1-7/8-дюймовым. Бит Форстнера, разместив их между внешним краем диска и начерченным кругом. Затем разделите меньший диск на 60-градусные клинья и просверлите еще шесть 3/8-дюймовых. глубокие отверстия сверлом Форстнера.
Четыре сверла 5/8 дюйма. диаметр, 1/2 дюйма. глубокие отверстия на большом диске внутри начерченного круга. Затем используйте 5/8 дюйма. центры дюбелей, чтобы перенести расположение отверстий на нижнюю сторону малого диска. Просверлите четыре 1/2 дюйма. глубокие отверстия на нижней стороне маленького диска и 1/2 дюйма. глубокое отверстие в центре верхней части для ручки дюбеля. Приклейте дюбели, чтобы соединить диски, затем приклейте ручку. Мы просверлили деревянный шарик для рукоятки, но керамическая рукоятка с винтовым креплением также обеспечивает удобный и привлекательный захват. Примените отделку, чтобы соответствовать вашим шкафам, затем отцентрируйте и завинтите ленивый подшипник Susan под большим диском и играйте, вращая бутылку.
10 / 20
Семейный мастер на все руки
Экономия места для хранения в кладовой
Если ваши специи застряли в ящике, где видна только верхняя часть, эта изящная полка, которая аккуратно вставляется в ящик, решит проблему хранения в кладовой. А на изготовление уходит всего час. Сделайте это из обрезков 1/4 дюйма. и 1/2 дюйма. фанера. Или соорудить двухъярусную полку для специй.
11 / 20
Семейный мастер на все руки
Сборка полки из веток в деревенском стиле
Привнесите в дом частичку природы с помощью этой простой полки на опоре из веток. Найдите две раздвоенные ветки диаметром около одного дюйма, с одной относительно прямой стороной, которая будет прилегать к стене, затем повесьте полку на стену.
12 / 20
Блок для ножей Make a Easy
Этот красивый блок для ножей собирается быстро, легко и весело. широкий ящик для хранения точилки для ножей.
Чтобы построить один, вам нужен только 3/4 дюйма. х 8 дюймов. х 4 фута. доска из твердой древесины и 6-дюймовый. х 6-1/2 дюйма. кусок 1/4 дюйма. фанера из твердых пород дерева в тон.
Начните с отрезания 10-дюймовой доски и отложите ее в сторону. Разорвите оставшиеся 38 дюймов. доски до 6 дюймов в ширину и вырежьте пять равномерно расположенных пропилов глубиной 5/8 дюйма вдоль одной стороны. Разрежьте доску с прорезями на четыре 9-дюймовых. кусочки и склейте их в блок, следя за тем, чтобы клей не попал в пропилы (вы можете очистить их ножом, пока клей не высох). Отпилите угол 15 градусов на одном конце и привинтите кусок фанеры под угловой конец блока.
Отрежьте 6-1/2 дюйма x 3 дюйма. крышку от оставшейся доски и нарежьте оставшуюся часть на 1/4 дюйма. толстые куски для сторон и торца коробки. Приклейте их вокруг фанерного пола. Вырежьте шпунт на трех сторонах крышки, чтобы он плотно прилегал к коробке, и просверлите 5/8 дюйма. отверстие для тяги пальца. Затем просто добавьте отделку, и у вас получится красивый и полезный подарок.
13 / 20
Семейный мастер на все руки
Сделай простую стремянку
Вот отличная идея для подарка, которая вызовет восторг. Соединения для этой простой табуретки аккуратно сделаны за считанные секунды с помощью фуганка, но не говорите об этом своим поклонникам. Вам также понадобится электропила, чтобы распилить доски, и электролобзик, чтобы вырезать полукруги в подступенках.
14 / 20
Семейный мастер на все руки
Build Behind-the-Door Полки
Пространство за дверью — это место для хранения, которое часто упускают из виду. Соберите набор неглубоких полок и прикрепите их к стене. Стоимость материалов для этого проекта невелика. Возможно, у вас даже есть достаточно обрезков.
Найдите шпильки. Просверлите отверстия с зазором и привинтите полки к шпилькам на 2-1/2 дюйма. шурупы по дереву. Поместите резиновый бампер на раму, чтобы защитить дверь. У вас нет под рукой электронного искателя шипов?
15 / 20
Создание гладильного центра
Чтобы ваши гладильные принадлежности всегда были под рукой, но не мешались под ногами, сделайте этот простой гладильный центр за пару часов для небольшой комнаты.
Все, что вам нужно, это 10 футов. 1×8, 2-фут. кусок 1×6 для полок и пара крючков, чтобы повесить гладильную доску.
Вырежьте спинку, бока, полки и верх. Выровняйте стороны и отмерьте снизу 2 дюйма, 14-3/4 дюйма и 27-1/2 дюйма, чтобы отметить нижнюю часть полок. Перед сборкой устройства с помощью электролобзика вырежьте уши размером 1 дюйм x 1 дюйм в нижней части боковых сторон для декоративного эффекта.
Работая с одной стороны за раз, приклейте и прибейте гвоздями одну сторону к задней. Нанесите клей и забейте три 1-5/8 дюйма. гвозди в каждую полку, прикрепите другую сторону и прибейте эти полки на место, чтобы закрепить их. Зажимы помогают удерживать устройство вместе, пока вы забиваете гвозди. Отцентрируйте верхнюю часть, оставив двухдюймовый выступ с обеих сторон, приклейте и прибейте ее на место. Покрасьте устройство, а затем просверлите направляющие отверстия в верхней части каждой стороны устройства и ввинтите крючки, чтобы удерживать гладильную доску. Закрепите полку на гипсокартоне с помощью винтовых дюбелей.
16 / 20
Семейный мастер на все руки
Сделайте больше места для хранения в небольших помещениях с помощью этих двухэтажных шкафов-полок
Над полкой в большинстве шкафов много места. Несмотря на то, что до него немного трудно добраться, это отличное место для хранения редко используемых предметов. Используйте это потерянное пространство, добавив вторую полку над существующей. Купите достаточно материала для стеллажей в шкафу, чтобы он соответствовал длине существующей полки, а также достаточно для двух концевых опор и средних опор над каждым кронштейном. Стеллажи шириной 12 дюймов доступны в различных длинах и отделках в домашних центрах и на лесопилках.
Мы обрезаем опоры длиной 16 дюймов, но вторую полку вы можете разместить на любой высоте. Прикрутите концевые опоры к стенам с каждого конца. Используйте анкеры для гипсокартона, если вы не можете попасть в стойку. Затем отметьте положение средних опор на верхней и нижней полках угольником и просверлите 5/32 дюйма.
сквозные отверстия в полках. Привод 1-5/8 дюйма. винты через полку в опоры. Вы можете применить ту же концепцию к гаражному хранилищу.
17 / 20
Сборка многоярусной башни для вторсырья
Пять пластиковых контейнеров, шесть винтов 2×2 и один час работы — все, что нужно, чтобы собрать эту компактную стойку для хранения вторсырья. Наша рама подходит для контейнеров с верхней частью размером 14-1/2 дюйма x 10 дюймов и высотой 15 дюймов. Наши контейнеры изготовлены компанией Rubbermaid. Этот проект действительно поможет удовлетворить ваши потребности в хранении в гараже.
Если вы используете контейнеры разного размера, отрегулируйте расстояние между стойками, чтобы 2×2 зацепились за край контейнера. Затем отрегулируйте расстояние между горизонтальными перекладинами для плотного прилегания, когда контейнер наклонен, как показано на рисунке.
Начните с обрезки 2х2 до длины, как показано на рисунке. Затем отметьте положение перекладин на стойках. Просверлите два 5/32-дюймовых.
отверстия в стойках в каждом положении поперечины. Просверлите отверстия снаружи внутрь и слегка наклоните отверстия внутрь, чтобы винты не выламывались из боковых сторон перекладин.
Вверните винты диаметром 2-1/2 дюйма через стойки в перекладины. Соберите переднюю и заднюю рамы. Затем соедините их с боковыми перемычками. Хотите еще больше места в гараже?
18 / 20
Семейный мастер на все руки
Изготовление шведского скребка для сапог
Вот традиционный шведский фермерский аксессуар для грязных подошв. Размеры не критичны, но убедитесь, что края планок достаточно острые — это то, что заставляет скребок для обуви работать. Отрежьте планки по длине, затем вырежьте треугольные отверстия по бокам пары 2х2. Радиально-консольная пила хорошо подходит для этого, но также подойдет настольная или ленточная пила. Обрежьте 2×2 по длине, предварительно просверлите отверстия и используйте оцинкованные винты, чтобы прикрепить планки снизу.
Улучшите свою игру по чистке ботинок, собрав очиститель для ботинок с помощью щеток.
19 / 20
Держите вещи в порядке с помощью выдвижных держателей для книг
Книги и скоросшиватели, как правило, занимают много места в офисе и не всегда находятся в легкодоступном месте. Решите это, создав скользящую подставку для книг. Чтобы загнать книги на полки или другие носители, которые любят бродить, отрежьте 3/4 дюйма. толстые куски твердой древесины в 6-в. х 6 дюймов. квадраты. С помощью ленточной пилы или электролобзика вырежьте паз вдоль одного края (с волокном), который немного шире, чем толщина полки. Остановите надрез на расстоянии 3/4 дюйма от другого края. Закончите подставку для книг и сдвиньте ее на полку. Хотите сделать полки тоже?
20 / 20
Изготовить миниатюрные полки
Поверните одну 3-футовую полку. длинную деревянную доску 1 × 12 на несколько небольших полок, чтобы организовать рабочий стол или прилавок. Отрежьте 21-дюймовый. длинную доску для полок, разорвите ее посередине, чтобы получились две полки, и сделайте скосы под 45 градусов на двух длинных передних кромках с помощью фрезерного станка или настольной пилы.
Срежьте фаски на концах другой доски, вырежьте пазы — канавки, прорезанные в древесине фрезером или настольной пилой с лезвием для пазов — крест-накрест (сначала вырежьте паз на ломе и проверьте полки!). Затем разрежьте его на четыре более узкие доски, две шириной 1-3/8 дюйма и две шириной 4 дюйма 9.0003
Закончить, затем собрать с помощью латунных винтов и чистовых шайб для одного из этих простых изделий из дерева.
Обязательно ознакомьтесь с нашими проектами для субботнего утра, чтобы получить больше вдохновения, например, подставки в видео ниже:
Первоначально опубликовано: 14 июля 2021 г.
7 основных навыков работы с деревом, которые должен знать каждый мужчина
Примечание редактора : Это гостевой пост от Джошуа Кляйна.
Классы «промышленного искусства» были впервые введены в средних школах в 1880-х годах, а в следующем столетии изучение деревообработки, механики, черчения и печати было обычным образовательным обрядом для молодых людей.
Затем, несколько десятилетий назад, уроки мастерской стали исключать из школьной программы средней школы. С уменьшением финансирования образования и усилением акцента на стандартизированное тестирование школы начали отбраковывать факультативы, вводить более строгие требования к окончанию школы и больше внимания уделять академической подготовке к колледжу и предметам, необходимым для сдачи государственных экзаменов. Не было ни денег, ни времени на содержание инструментов и заполненных опилками мастерских, и один за другим школьные округа отказывались от уроков мастерской, полагая, что учащиеся, желающие получить ремесленные навыки, могут сделать это позже в профессиональном колледже.
Этот упадок цеховых классов весьма прискорбен, так как они никогда не предназначались исключительно для подготовки студентов к работе в сфере торговли. Скорее, они обучали всех мужчин ручному труду, которым они могли пользоваться и наслаждаться на протяжении всей своей жизни, независимо от того, стали ли они плотниками или врачами.
Они считались частью становления всесторонне развитого человека, способного использовать и руки, и разум.
Пожалуй, самым скучным занятием в области промышленного искусства является мастерская по дереву. Научиться работать с деревом не только удобно, позволяя вам делать и ремонтировать вещи по дому, но и позволяет вам с удовольствием соединиться с долгой историей мастерства. Деревообработка была одним из первых навыков, которые развило человечество; доиндустриальный мир был в основном сделан из дерева, и на протяжении тысячелетий все люди хотя бы в зачаточном состоянии понимали, как формировать его и управлять им. Даже до второй половины прошлого века торговцы и профессионалы были уверены, что могут построить деревянные полки, шкафы или даже стулья для своей семьи.
Сегодня, в наш век пластика и заводов, обработка дерева превратилась из обычного необходимого навыка в нечто почти таинственное и внушающее благоговейный трепет. Поскольку большинство потребителей 21 -го -го века привыкли ездить в большие магазины, чтобы купить новую серийную замену, когда их стол разваливается или стул ломается, любой человек сегодня, который может подойти к груде пиломатериалов с пилой и рубанком создать красивую и прочную замену почитается как «настоящий мастер»..jpg)
Хотя это всеобщее восхищение ручным мастерством ценится, правда в том, что деревообработка не является тайной. И, к счастью, даже если вы пропустили тщательный мастер-класс в старшей школе и чувствуете себя неподготовленным для выполнения простого проекта по деревообработке, учиться еще не поздно. Вот список некоторых основных навыков, которые вам не помешало бы развить. Ни один из этих навыков не требует дорогостоящего, опасного оборудования или экзотических инструментов. Это основные навыки, которые должен знать каждый столяр.
1. Понимание того, как работает и ведет себя древесина
Прежде чем прикладывать какой-либо инструмент к пиломатериалу, вам необходимо понять его правильную ориентацию и направление строгания доски. По мере роста деревьев слои годичных колец продолжают наращиваться друг на друга, и это дает красивую текстуру, которая видна на наших досках. Эта зернистость может затруднить строгание, если мы игнорируем идеальное направление работы.
Работать с текстурой дерева — это как гладить кошку — если вы двигаетесь от хвоста к голове, вы обнаружите, что шерсть стоит прямо вверх, и вы можете получить шипящее неодобрение, но если вы гладите «по зерну» от головы до хвоста, вы Вы обнаружите, что волосы ложатся красиво и гладко, и последует мурлыканье.
Также важно понимать, как древесина расширяется и сжимается при колебаниях влажности в течение года. Все деревянные конструкции учитывают это природное свойство, и незнание этого может иметь катастрофические последствия.
2. Заточка пил, рубанков и стамесок
Слишком много людей увековечили миф о том, что обработка дерева вручную — это действительно тяжелая работа, просто потому, что они использовали тупой инструмент. Среди столяров существует аксиома: чтобы все шло гладко, нужно «позволить инструменту делать свою работу». Если ваша пила требует сильного толчка для резки или если вы обнаружите, что вам нужен разбег, чтобы сделать стружку ручным рубанком, вы не делаете себе никаких одолжений.
Заточка ваших инструментов — это базовый и основополагающий навык, потому что это то, что нужно делать регулярно. Работать тупыми инструментами не только неэффективно, но и опасно. Если вы чувствуете, что вам нужно подтолкнуть долото весом собственного тела, чтобы завершить разрез, когда оно выскочит, вы потеряете контроль, и ваш инструмент вонзится во все, что окажется на его пути. Научитесь затачивать свои инструменты, и вы убедитесь, что работа по дереву доставляет удовольствие, безопасна и эффективна.
3. Использование ручного рубанка
С большим количеством деревообрабатывающих инструментов основная техника довольно понятна. Но не все они так интуитивно понятны. Правильное использование ручных рубанков требует некоторого обучения и практики, чтобы выработать чувство регулировки реза от грубого до тонкого. Кроме того, край может быть перекошен или утюжок может стоять не в том месте. Хотя эти вещи требуют небольшого исследования, чтобы понять, правильное использование ручного рубанка — бесспорно достижимый навык.
Я призываю вас взять старый рубанок и зайти на YouTube в поиск «настроить старый ручной рубанок» или «как использовать ручной рубанок». Будет более чем достаточно часов видео, чтобы компенсировать то, что вы пропустили на уроке шоппинга.
4. Подготовка пиломатериалов с помощью ручных инструментов
Возможно, у вас уже есть настольная пила и 13-дюймовый рейсмусовый станок, но у большинства из нас их нет. Будьте осторожны, чтобы не попасть в ловушку ощущения, что вам нужно покупать дорогие машины, чтобы строить вещи. Когда я работаю с деревом, я использую только ручной инструмент и люблю каждую минуту. Если вы узнаете, как ремесленники обрабатывали пиломатериалы до того, как в мебельной промышленности доминировали машины, вы обнаружите, что ручная обработка дерева эффективна и жизнеспособна. Существует множество проверенных временем способов ускорить процесс, избавляющих нас от ощущения, будто мы должны выполнять работу, идеально подходящую для машины, вручную. Реальный ключ в том, чтобы использовать правильный инструмент для работы: грубые инструменты для грубой работы и тонкие инструменты для тонкой работы.
Все еще не убеждены? Прочтите историю моего хорошего друга Джима. Надеюсь, это вдохновит вас.
5. Соедините врезное и шиповое соединение
Это самое основное соединение во всех деревянных конструкциях. Всякий раз, когда нам нужно соединить горизонтальный элемент (например, поручни стула) с вертикальным элементом (например, ножкой), нам нужно соединить эти части под прямым углом. Вставив шип в соответствующий паз (отверстие), мы можем создать прочное соединение под углом 90°. Хотя это может показаться интуитивным в изготовлении, для достижения хорошей и плотной посадки требуется тщательная техника и практика. Есть много способов сделать паз, но я использую толстое долото, предназначенное для этой задачи, и просто определяю ширину шипа на основе размера этого долота. Резка шипа обычно состоит из четырех прямых пропилов. Когда вы научитесь правильно укладывать этот стык и обрезать его до плотного прилегания, перед вами откроется мир деревообработки. К этому моменту вы уже знаете все столярные изделия, необходимые для изготовления большинства столов и стульев.
6. Вырезать соединения типа «ласточкин хвост»
Но что, если вы хотите сделать коробку? Почитаемое (и чрезмерно загадочное) соединение «ласточкин хвост» — очень надежный способ соединения углов досок. Из всех особенностей, которыми сегодня восхищаются не плотники, соединение типа «ласточкин хвост» вызывает наибольший трепет. Он состоит из одной стороны, разрезанной на клиновидные «хвосты», которые соединяются с соответствующими «булавками». При сборке клиновидная форма предотвращает скольжение досок в одном направлении. Этот сустав был очень стандартной конструкцией с 1700-х годов. Никогда не стремился произвести впечатление, обычно его намеренно скрывали за шпоном, лепниной или краской, чтобы никому не пришлось смотреть на эту «уродливую» столярку. Только в движении декоративно-прикладного искусства видимые столярные изделия считались эстетическим достоянием. Сегодня изготовление соединений типа «ласточкин хвост» стало лакмусовой бумажкой для серьезных столяров, но не позволяйте этому отпугнуть вас.
Посмотрите несколько из четырех миллионов видеороликов «Как вырезать ласточкины хвосты» в Интернете, а затем зайдите в магазин. Это гораздо проще, чем думают люди: обрезать хвосты. Проследите хвосты на другой доске. Затем вырежьте отходы, которые вы проследили. Вот и все. Вся тонкая настройка — это просто практика.
7. Завершите свою мебель
Потратив несколько выходных на изготовление красивого стола или комода, как вы собираетесь его закончить? Отделка украшает и защищает изделие, над созданием которого вы так усердно трудились, так что не сдавайтесь и не натирайте его маслом. Есть так много красивых отделок, которые становятся второй натурой для работы. Я использую шеллак в 99% случаев. Как только вы почувствуете, что вы чувствуете, что это действительно быстро наносится, очень щадящий, легко ремонтируется, и вам никогда не придется чистить кисть (потому что она снова смягчается в спирте)! Существуют и другие лаки, обеспечивающие хорошую защиту при наружном использовании.
Я рекомендую взять хорошую книгу для начинающих, например, «9» Джеффа Джуитта.0005 Ручная отделка . Это просто и понятно, не слишком углубляясь в мелочи.
Один из моих наставников начинал как краснодеревщик, который любил обрабатывать дерево, но боялся приступить к отделке. Он начал копать, чтобы узнать больше об этом, и настолько увлекся этим процессом, что в настоящее время ненавидит необходимость что-либо строить, потому что все, что он хочет сделать, это закончить! Я обещаю, что если вы потратите немного энергии на то, чтобы научиться правильно заканчивать свою работу, ваше удовольствие от готовой работы значительно возрастет. Этих последних штрихов достаточно, чтобы вдохновить вас на новый проект.
Куда идти дальше
Заинтриговала ли вас эта статья? Хотели бы вы, чтобы вы научились этим вещам в деревообрабатывающей мастерской?
Если вы хотите изучить эти вещи, чтобы научиться самостоятельно обрабатывать дерево, вы можете выполнить поиск в Google по каждой из перечисленных тем, но, чтобы упростить ваше обучение, я рекомендую для начала подобрать несколько полезных книг.

Они позволят увеличить срок эксплуатация детали, сохранят ее первоначальный внешний вид.
Они позволят увеличить срок эксплуатация детали, сохранят ее первоначальный внешний вид.