Для чего предназначен штангенрейсмас: Зачем нужен штангенрейсмас: устройство и применение
alexxlab | 18.04.1994 | 0 | Разное
| Лидеры продаж ВИКФотоальбом дефектов основного металла Альбом радиографических снимков Документы
|
Штангенрейсмас: оптимизируем процесс измерений – Журнал «Твердый сплав»
Штангенрейсмас очень чувствителен к температуре. По этой причине касаться инструмента следует только в специально предназначенных для этого точках: ручка, плита для опоры руки, переключатель, активирующий пневматические подшипники.
Запрещается касаться других элементов измерительной цепи.Необходимость в измерении высот в широком диапазоне возникла с того момента, когда на первое место при механической обработке изделий вышла их разметка. Первый этап производственного процесса состоит из разметки обрабатываемого изделия по образцу. Традиционно инструменты для нанесения разметки включают поверочную плиту, рейсмус с чертилкой или циферблатным индикатором и штангенрейсмас широкого диапазона.
Поверочная плита представляет собой основную плоскость для начала отсчета как для детали, так и для штангенрейсмаса. Последние используются для установки и отметки определенной высоты на обрабатываемой детали или для измерения детали после ее обработки.
Штангенвысотомер (штангенрейсмас) представляет собой расширенную концептуальную версию ручного кронциркуля, за исключением того, что он опирается на массивное основание, которое обеспечивает перпендикулярное положение шкалы относительно поверхности. Первоначально, при использовании для разметки штангенрейсмасы имели указатель со скошенной кромкой на подвижных губках, которые иногда применялись для нанесения отметки или черты на детали.
Или при установке начальной высоты на основной поверхности разметочная точка использовалась для нахождения параметра высоты на детали и отображения его на индикаторе высотомера. Сегодняшние штангенрейсмасы предназначены именно для измерения высот, а также различных диаметров, расстояний и даже диаметров окружности расположения болтов. Таким образом, вместо указателя со скошенной кромкой имеется множество взаимозаменяемых точек касания с огромным диапазоном диаметров и форм, даже со смещением для виртуального проникновения внутрь характеристики детали.
Качество результата зависит от инструмента и тщательности, с которой оператор проводит процедуру.
Практические рекомендации
» Если штангенрейсмас используется с поверочной плитой, качество его работы определяется качеством плиты, которая обеспечивает привязку к ориентиру детали и самого устройства.
» На качество работы высотомера существенно влияет фактическое состояние поверхности гранитной поверочной плиты и наличие грязи на ней.
» Любой незначительный дефект поверхности между деталью и измерительным устройством многократно увеличивается пропорционально высоте измерений.
Типы штангенрейсмасов
Существует три основных типа штангенвысотомеров. Классический нониусный штангенрейсмас используется уже почти сто лет, его по-прежнему применяют те инженеры, которым необходимо посчитать грады, чтобы убедиться в правильности показаний. Высотомеры с круговой шкалой имеют циферблатный указатель для установки высоты измерения. И последней появившейся разновидностью в этой области являются цифровые штангенрейсмасы, которые позволяют напрямую считывать высоту или даже устанавливать нулевые точки независимо от поверочной плиты. Если добавить небольшой контроллер на базе компьютера и электропривод, то становится возможным проверять все типы параметров, анализировать данные и создавать программы.
Есть цифровые штангенрейсмасы размером до 40 дюймов, которые обычно снабжены маховичком или моторчиком для ускорения позиционирования при нанесении отметки или проведении измерений.
Некоторые модели также имеют быстрорегулируемый механизм разжима, что позволяет переместить подвижную измеряемую точку в место проверки до начала активации измерительной системы.
Измерительная установка
Ручной штангенрейсмас прост в использовании. После его установки необходимо провести две важные контрольные процедуры. Первая – это выбор нуля отсчета в измерительной системе. При использовании автоматического прибора нуль отсчета устанавливается автоматически каждый раз, когда прибор включается. При использовании ручного штангенрейсмаса нуль должен быть выставлен на гранитной плите до проведения измерений. Штангенрейсмас с приводом автоматически перемещается вниз до касания поверхности и установки точки отсчета. Имеет смысл провести процедуру определения нулевой точки повторно, чтобы убедиться, что никакие посторонние элементы или грязь не повлияли на выбор контрольной точки. Поскольку контрольная точка непосредственно влияет на все измерения, которые будут сделаны, стоит потратить время и усилия на дополнительную проверку.
Другой важной процедурой является корректировка на диаметр наконечника измерительной головки. Если штангенрейсмас будет использоваться только для измерений длины, при которых измерительная головка будет двигаться вниз, тогда диаметр не является критичной величиной. Точка контакта головки будет такой же, как при установке нуля. Но при измерении пазов, диаметров, расположения отверстий или при проведении других измерений, когда измерительная головка движется вверх, диаметр наконечника измерительной головки обязательно нужно знать и учитывать.
Конечно, диаметр наконечника определяется для измерительной головки, но всегда возможны вариации. Фактический диаметр наконечника следует прибавлять к любому размеру, замеряемому в направлении вверх.
Некоторые модели также имеют быстрорегулируемый механизм разжима, что позволяет переместить подвижную измеряемую точку в место проверки до начала активации измерительной системы. Источник: Mahr | Когда оператор готов выполнить измерение, например, высоты относительно нулевой точки, следует переместить измерительную каретку над деталью и нажать кнопку измерения высоты, находящуюся сверху. Механизированный привод переместит контакт к поверхности, измерение будет выполнено и отображено на экране.Источник: Mahr |
Штангенрейсмасы, снабженные даже самым простым электронным регулятором, измеряют этот показатель в составе стандартной процедуры настройки и автоматически учитывают во всех измерениях. В автоматическом процессе используется приспособление, поставляемое вместе со штангенрейсмасом, или можно смоделировать тест, используя пару плиточных калибров. Приспособление устанавливает плоскость, измеряемую в обоих направлениях. Затем рассчитывается разница между двумя измерениями, которая и считается диаметром наконечника.
Такая же проверка с плиточными калибрами может быть проведена вручную на ручных инструментах, или диаметр наконечника может быть измерен в режиме отключения с помощью микрометра. Так же, как и при установке нулевой точки, эту процедуру стоит повторить несколько раз. Большинство устройств автоматически повторяют проверку несколько раз и отбрасывают значение диаметра, если оно выходит за установленные пределы.
Очень важно пересчитать диаметр наконечника при его замене. Отказ от этой процедуры может стать серьезной ошибкой. Переход с 10-миллиметрового на 5-миллиметровый наконечник измерительной головки может привести к полной непригодности измерений, если не пересчитать диаметр.
Проведение измерений
Теперь можно проводить измерения. В случае ручного инструмента просто нужно поднять измерительный контакт до указанной высоты и осуществить единичное контактное измерение на поверхности. Если обрабатываемая деталь невелика, обычно проще поднести деталь к рейсмасу, но если последний легче, то его следует переместить к детали. Аналоговая шкала или цифровой счетчик покажут искомую высоту.
Новые цифровые модели штангенрейсмасов с моторизованным приводом позволяют осуществлять измерения простым нажатием клавиши, но сам процесс остается аналогичным. Нажатие кнопки на контроллере штангенрейсмаса опускает измерительный контакт к поверочной плите для установки нулевой точки (имеются и другие установочные параметры, которые определяют скорость контакта, время успокоения, давление, чтобы обеспечить повторяемость установки нулевой точки и измерений).
Когда оператор готов выполнить измерение, например, высоты относительно нулевой точки, следует переместить измерительную каретку над деталью и нажать кнопку измерения высоты, находящуюся сверху. Механизированный привод переместит контакт к поверхности, измерение будет выполнено и отображено на экране.
Однако, диапазон операций современных штангенрейсмасов не ограничивается этим действием. После того, как измерения выполнены, значения сохраняются, а дополнительным нажатием клавиши можно получить данные по высоте, средним точкам, диаметрам и соотношениям между этими показателями. Автоматизация штангенрейсмасов с цифровым устройством управления и кареткой с электроприводом также способствовала ускорению процесса измерений и обеспечила повторяемость измерений, поскольку влияние оператора на этапы измерительного цикла сведено к минимуму.
Источники ошибок
Независимо от типа, все штангенрейсмасы имеют одну схожую проблему: они измеряют высоту, а чем больше штангенрейсмас, тем больше потенциальная проблема.
Проблема заключается в том, что это не действительная высота. Это отношение высоты к основанию. Как в случае с рычагом – чем длиннее плечо, тем больше умноженная сила. При использовании штангенрейсмаса проблема состоит не только в ошибках, источником которых является сам прибор, но и в ошибках, связанных с установкой. Они умножаются и могут исказить результаты даже тщательно подготовленного сравнения.
Главная ошибка в конструкции базового штангенрейсмаса заключается в том, что для измерения 36 дюймов просто удлиняется стойка у штангенрейсмаса, предназначенного для измерения 12 дюймов, при этом никакие изменения в конструкцию основания или в месте поперечного сечения измерительной стойки не вносятся. В результате чего стойка начинает естественным образом качаться и сгибаться. Хотя отклонение в 0,001 дюйма не видно невооруженным глазом, оно может существенно повлиять на результаты измерения, увеличив разброс размеров детали.
С целью повышения качества работы штангенрейсмаса можно попытаться укрепить стойку, чтобы исключить изгибание.
Но это лишь частичное усовершенствование, и штангенрейсмас может начать перевешивать в верхней части. Что действительно требуется – сделать основание более длинным и широким и добавить ему массы. Снижение соотношения стойки к основанию существенно улучшат работу устройства.
Поскольку штангенрейсмас используется с поверочной плитой, качество его работы определяется качеством плиты, которая обеспечивает привязку к ориентиру детали и штангенрейсмаса. Большинство плит являются чистыми и получают надлежащий уход, но иногда плита на самом деле может оказаться не такой чистой, как выглядит. Мелкие металлические опилки или даже волосок, незаметный глазу, могут исказить измерение на 0,020 дюйма при высоте всего лишь 10 дюймов.
На качество работы штангенрейсмаса, помимо наличия грязи на плите, существенно влияет и фактическое состояние поверхности гранитной поверочной плиты. Любой незначительный дефект поверхности между деталью и устройством многократно увеличивается пропорционально высоте измерений.
Большинство поверочных плит имеет спецификацию по плоскостности 50 микродюймов. Если основание длиннее на шесть дюймов, ошибка, равная 50 микродюймов, возрастет до 0,0003 дюйма при высоте более 36 дюймов и даже больше, если плита не соответствует спецификации.
Улучшение результатов измерений
Как и в случае с любым измерением, качество результата зависит от измерительного инструмента и тщательности, с которой оператор выполняет процедуру измерений. Штангенрейсмасы, например, чаще всего используются в нижнем секторе своего диапазона – 300 мм/12 дюймов. При использовании любой системы измерения длины точность снижается по мере удаления от контрольной точки. Если измерение производится в верхней части шкалы, качество измерения может быть улучшено путем установки нуля на плиточном калибре 300 мм/12 дюймов или ближе к средней точке рабочего диапазона для конкретного исследуемого образца.
Штангенрейсмасы особенно чувствительны к температуре. Поэтому тепло, сообщаемое элементам измерительной сети (опорной плите, исследуемому образцу, измерительному инструменту, наконечнику), может вызвать локальное тепловое расширение и привести к ошибке в измерениях.
По этой причине:
- Касаться инструмента следует только в специально предназначенных для этого точках: ручка, плита для опоры руки, переключатель, активирующий пневматические подшипники. Запрещается касаться других элементов измерительной цепи.
- Следует избегать установки штангенрейсмаса в месте, где он будет подвергаться действию прямых солнечных лучений или сквозняка.
- Не следует устанавливать измерительный прибор рядом с радиаторами.
- Запрещается брать руками испытуемый образец непосредственно перед измерением, необходимо надеть перчатки.
- Не следует проводить проверку испытуемых образцов, если они недавно были принесены из помещений с очень высокой/низкой температурой.
- Для высокоточных измерений: следует поместить испытуемый образец на опорную плиту и дать ему адаптироваться к температуре окружающей среды (в течение примерно от 1/4 часа до 8 часов в зависимости от размера образца).
Ниже приводятся дополнительные принципы надлежащего проведения измерений с помощью штангенрейсмаса:
- Обычно пневматические подшипники рекомендуется использовать только для позиционирования штангенрейсмаса перед проведением измерений.
Если они требуются во время измерений (например, тяжелых образцов), контрольную точку тоже необходимо замерять с использованием пневматических подшипников. - Штангенрейсмасы с электроприводом показывают лучшие результаты, если прикладываемая сила постоянна в процессе измерения образца. При использовании устройства с ручным маховиком следует прикладывать одинаковую силу при касании поверхности детали.
- Когда два упругих тела соприкасаются, они в течение короткого времени колеблются. Это происходит и при касании наконечником измеряемого образца. В этот момент значения измерений колеблются соответствующим образом – «осциллируют». Поэтому необходимо подождать, пока показание стабилизируется – для этого следует установить время успокоения.
- Длинные контактные датчики, особенно имеющие маленькие контакты и узкие выступающие части, подвержены изгибанию в момент касания детали. Может потребоваться создание «перемычек» между датчиками, если появится отклонение.
С наработанной практикой использования и при условии соблюдения этих принципов, эти штангенинструменты могут стать лучшим другом инспектора.
Источник материала: перевод статьи
Making Better Height Gage Measurements,
Mahr.com
Автор статьи-оригинала:
ГЕОРГ ШЮТЦ (GEORGE SCHUETZ)
Скачать каталоги инструмента Mahr и получить информацию о данном производителе вы можете по этой ссылке: Инструмент Mahr, каталоги Mahr
Об авторе:
Георг Шютц (George Schuetz) – директор по высокоточным измерительным средствам Mahr Federal Inc. Дополнительную информацию можно получить по электронной почте [email protected] или на сайте www.mahr.com.
Все о высотомере – определение, размеры и использование
Электронный высотомером с щупом можно проверить вертикальное положение элемента на детали.Изображение предоставлено: Ковит Хаманек/Shutterstock.com
Высотомеры — это прецизионные измерительные приборы, которые можно использовать для определения высоты объекта или заготовки с чрезвычайно высокой точностью и аккуратностью или для обеспечения отмеченных мест на объекте относительно базовой плоскости для последующего использования.
Устройство, похожее на штангенрейсмастер, называется 9.Ростомер 0003 используется в медицинских учреждениях, таких как кабинеты врачей, для измерения роста пациента, хотя и с гораздо меньшей точностью. Высотомеры — это, прежде всего, метрологические инструменты, которые используются для определения точных размерных характеристик и расположения элементов в производственных или производственных операциях для контроля качества.
В этой статье содержится краткая информация о типах штангенрейсмасов, их технических характеристиках и способах их использования. Чтобы узнать больше о других разновидностях датчиков, см. наше соответствующее руководство, посвященное различным типам датчиков.
Общие компоненты и установка штангенрейсмаса
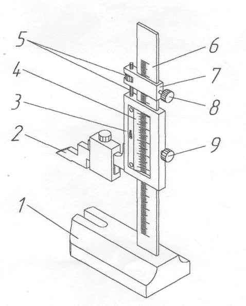
Высотомеры состоят из скользящей каретки с подвижным стержнем или чертилкой, которая крепится к балке или колонне с вертикальной осью, содержащей измерительную шкалу. Балка сконфигурирована так, что она перпендикулярна основанию штангенрейсмаса, который обычно изготавливается из жесткого материала, чтобы придать прибору устойчивость при измерениях.
Высота балки или колонны может варьироваться от 6 дюймов или меньше до более 6 футов, в зависимости от модели. Пользовательские датчики могут увеличить высоту столбца еще больше. Движение каретки является управляемым и может регулироваться набором регулировочных винтов для грубой или точной регулировки и может быть зафиксировано в нужном положении. Используется измерительная губка, верхняя и нижняя поверхности которой параллельны основанию штангенрейсмаса. В случае, когда требуется разметить заготовку, вместо измерительной губки можно использовать специальную разметочную насадку.
При использовании штангенрейсмаса гранитная пластина обычно используется для измерения и разметки элементов детали от базовой плоскости. Контактный щуп, разметчик или другой измерительный щуп используется для определения желаемого элемента или точки на проверяемой для измерения детали. Перед выполнением измерений необходимо убедиться, что манометр правильно установлен на поверхности и что нет никаких загрязнений, которые могут помешать точным измерениям.
После того, как основание штангенрейсмаса и поверочная пластина должным образом очищены, прибор следует обнулить с помощью испытательного щупа, поднесенного к поверхности, которая будет использоваться в качестве базовой плоскости или контрольной точки. Проверьте поверхность, нажимая на углы детали. Любое изменение показаний индикатора свидетельствует о том, что уровень поверхности не соответствует норме, и для исправления состояния необходимо повторить этапы забивания камнями и очистки. Также рекомендуется использовать мерные блоки для проверки всех показаний размеров, снятых штангенрейсмасом.
Типы штангенрейсмасов
Высотомер можно разделить на четыре основных типа:
- Нониусные штангенрейсмасы
- Высотомеры циферблатные
- Цифровой счетчик высоты
- Электронные штангенрейсмасы
Нониусные штангенрейсмасы
Высотомериспользует основную шкалу и шкалу нониуса, чтобы обеспечить большее разрешение измеренного значения. Как правило, они доступны в диапазоне размеров от 6 дюймов до 6 футов. Модели могут иметь британскую (дюймовую) или метрическую (мм) шкалу или обе шкалы.
Высотомеры циферблатные
Циферблатные штангенрейсмасы, как правило, доступны в меньших диапазонах размеров, обычно менее 12 дюймов или 300 мм. Эти устройства оснащены механическим циферблатом со стрелкой-указателем, что позволяет легко считывать показания. Из-за своего размера циферблатные штангенрейсмасы очень портативны и могут храниться в ящике для инструментов.
Цифровой счетчик высоты
Цифровые штангенрейсмасы модели сочетают в себе циферблат и стрелку, как в циферблатных штангенрейсерах, с двузначным счетчиком для повышения скорости и эффективности процесса измерения.
Счетчик позволяет считывать показания с точностью до десятых долей дюйма, в то время как на циферблате можно считывать тысячные доли дюйма. Наличие дополнительного счетчика также имеет то преимущество, что позволяет пользователям устанавливать и поддерживать абсолютный и плавающий нуль, если это необходимо.
Электронные штангенрейсмасы
Электронные штангенрейсмасы, которые иногда называют цифровыми штангенрейсмасами (не путать с цифровыми счетчиками высоты), заменяют цифровые дисплеи аналоговыми циферблатами и механическими счетчиками других типов штангенрейсмасов. Электронные штангенрейсмасы обычно позволяют пользователю выбирать из различных единиц измерения, таких как дюймы или миллиметры. Модели более высокого класса также имеют множество дополнительных функций и возможностей, которые улучшают возможности измерения и точность. Примеры некоторых из этих возможностей включают в себя:
- Система на воздушном подшипнике или воздушной подушке, обеспечивающая легкое и плавное перемещение манометра
- Моторизованная измерительная тележка, упрощающая процесс измерения и исключающая необходимость перемещения тележки оператором
- Встроенные возможности температурной компенсации для учета различий в коэффициентах теплового расширения для разных типов измеряемых материалов
- Возможности хранения и вывода данных, позволяющие использовать их с программными приложениями SPC путем вывода данных через шину RS323 или USB
Возможности помогают автоматизировать процесс измерения, делая измерения менее зависимыми от навыков оператора и обеспечивая большую производительность в производственных условиях.
Размеры и характеристики штангенрейсмасов
Высотомеробычно измеряется и определяется несколькими общими параметрами, которые показаны ниже. Обратите внимание, что технические характеристики этих устройств могут различаться от производителя к производителю, а также обратите внимание, что технические характеристики могут различаться в зависимости от типа штангенрейсмаса. Базовое понимание этих спецификаций облегчит процесс поиска или спецификации модели.
- Диапазон измерения/размер – представляет собой диапазон по вертикали, в котором прибор для измерения высоты может выполнять измерения.
- Градация — отражает количество линий, которые появляются на шкале измерения устройства. Большее количество строк обеспечивает большую точность измерения.
- Точность – мера степени отклонения измеренного значения высоты, сообщаемого прибором, от фактического значения. Точность иногда определяется как +/- процент от значения полной шкалы датчика или как абсолютное значение в единицах длины.
Как правило, точность датчика будет зависеть от диапазона измерения, и устройства с более высоким диапазоном измерения будут демонстрировать большие отклонения (погрешность +/-). Разрешение - – отражает младший разряд измеренного значения, которое можно получить с помощью прибора. Для цифровых штангенрейсмасов количество цифр на дисплее обычно отражает разрешающую способность прибора.
- Повторяемость, также называемая точностью, – это мера способности датчика генерировать одинаковые показания для измеренного размера данной детали, когда это измерение выполняется много раз. Если манометр имеет плохую воспроизводимость, то каждое выполненное измерение будет давать разные результаты.
- Измерительное усилие – значение усилия, прикладываемого к контролируемой заготовке измерительным щупом или кулачком.
- Максимальная скорость измерения — для моторизованных штангенрейсмасов указывает максимальную скорость перемещения каретки при ее движении вдоль балки, измеряемую в единицах длины/времени, например мм/с.

- Перпендикулярность – характеристика, определяющая отклонение от чистого 90 o позиционирования балки штанги высотомера относительно поверхности плиты или основания.
- Тип дисплея — для электронных штангенрейсмасов описывает тип доступного варианта дисплея, например ЖК-дисплей, светодиод или цветной дисплей с высоким разрешением. Варианты датчика/держателя
- — в зависимости от модели и типа датчика могут быть доступны различные измерительные датчики и держатели для выполнения специализированных измерений отверстий, пазов, углов и других элементов деталей. Это могут быть дисковые датчики, цилиндрические датчики, конические датчики, глубинные датчики и сферические датчики, преобразователи для проверки перпендикулярности и измерительные изгибы, и это лишь некоторые из них.
Применение штангенрейсмасов
Высотомеры используются в приложениях контроля качества и могут выполнять несколько типов измерений:
- Для измерения расстояния от базовой поверхности до определенного элемента детали, чтобы убедиться, что он соответствует спецификациям и допускам
- Разметка детали с точными вертикальными размерами или элементами от базовой плоскости, чтобы можно было выполнить дополнительную обработку
- Для выполнения 2D-измерений элементов детали
- Для проверки межцентровых размеров
- Для измерения плоскостности
- Для измерения углов
- Для измерения прямолинейности/прямоугольника или перпендикулярности деталей
Резюме
В этой статье представлен краткий обзор штангенрейсмасов, включая информацию о том, что они собой представляют, типы, основные характеристики и размеры, а также примеры использования.
Для получения информации по другим темам обратитесь к нашим дополнительным руководствам или посетите платформу поиска поставщиков Thomas, где вы можете найти потенциальные источники поставок для более чем 70 000 различных категорий продуктов и услуг, а также поставщиков различных калибров, включая резьбовые пробки и калибры-кольца, щупы. манометры, ультразвуковые толщиномеры, цифровые манометры, нутромеры, глубиномеры, профильные манометры, кольцевые манометры, вставные и кольцевые манометры, резьбовые манометры и проходные/непроходные манометры.
Источники:
- https://www.qualitymag.com/articles/94033-get-to-know-the-height-gage
- https://www.qualitymag.com/articles/94548-new-heights-in-height-gages
- https://www.msi-viking.com/
- http://www.niigataseiki.net
- https://what-when-how.com/metrology/vernier-height-gauge-metrology/
- https://vernierscaliper.com/digital-vernier-height-gauge-use-measurement-technique-537.
html - https://www.mitutoyo.co.jp
- https://www.gagesite.com/documents/Metrology%20Toolbox/Basics%20of%20Measurement.PDF
- https://www.cnccookbook.com/complete-guide-to-height-gauges-vernier-digital-electronic-how-to-use/
- https://www.mitutoyo.com/news/resource-center/ins-outs-height-gages/
Прочие манометры Артикул
- Конструкция манометра
- Характеристики манометра
- Механические манометры: подробный обзор различных типов манометров
- Магнитные уровнемеры жидкости
- Все о щупах – определение, размеры и применение
- Все о толщиномерах – определение, размеры и применение
- Все о цифровых манометрах — определение, размеры и применение
- Все о нутромерах – определение, размеры и применение
- Все о глубиномерах — определение, размеры и использование
- Все о профилемерах – определение, размеры и применение
- Все о калибрах-кольцах — определение, размеры и применение
- Все о калибрах-защелках – определение, размеры и применение
- Все о калибрах-пробках – определение, размеры и применение
- Все о манометрах – определение, размеры и использование
Еще из раздела Инструменты и элементы управления
ВСЕ, ЧТО ВАМ НЕОБХОДИМО ЗНАТЬ О ВЫСОТОМЕРАХ
Высотомеры, нониусные высотомеры, электронные и цифровые высотомеры… Номенклатура этих измерительных приборов разнообразна и сложна, как и их характеристики, которые могут отличаться от модели к модели.
По этой причине выбор высотомера для покупки может быть еще более сложным и запутанным.
Принимая во внимание растущую потребность в этом типе приборов в лаборатории и на производстве, какие основные компоненты, характеристики и необходимые функции следует учитывать для оптимального выбора?
Чтобы ответить на этот вопрос, Mister Worker™ решил исследовать этот вопрос с помощью TESA Technology , ведущей швейцарской компании в области профессиональных и лабораторных измерительных приборов. Обладая более чем 80-летним опытом, эта компания выделяется среди других высоким качеством своей продукции, уникальными ноу-хау в области микромеханики, а также общепризнанным опытом в области размерной метрологии.
Что такое ростомер?
Высотомер — это измерительный инструмент, используемый в основном для определения высоты, но не только. На самом деле он может измерять внутренние и внешние размеры, шаги, высоты, глубины и расстояния. Он состоит из опорного основания, вертикально установленной на нем колонны, внутренней механической системы, определяющей вертикальное перемещение вдоль каретки измерительного зонда, обычно со сферой в качестве терминала, определяющей получение положения этой точки.
относительно ссылки. Положение обнаруживаемого элемента определяется с помощью оптического считывателя, установленного на тележке, который считывает оптическую линию, закрепленную на приборной стойке. Обнаруженный сигнал затем отображается на панели управления прибора, где затем можно будет провести целый ряд расчетных операций среди полученных элементов.
На что обратить внимание при выборе ростомера?
При выборе инструмента необходимо провести множество оценок. Первые дискриминанты связаны с типом обнаруживаемых оценок, требуемым диапазоном измерений и уровнем точности. Другие факторы могут быть связаны со средой, в которой вы собираетесь использовать инструмент. Высотомеры могут быть изготовлены с использованием различных материалов, как для изготовления опорных оснований, так и для внутренних колонн. Эти характеристики, в зависимости от рабочей среды, в которой будет применяться прибор, определяют его стабильность, чтобы всегда обеспечивать правильные измерения при изменении условий окружающей среды.
Существует два основных типа высотомеров: ручные и моторизованные. Отличие состоит в перемещении вертикальной оси измерения и в системе сбора точек. В обеих версиях получение точек измерения не зависит от руки оператора благодаря запатентованной механической системе.
Этот тип инструмента является незаменимым помощником благодаря простоте использования, надежности и универсальности. Каждая компания должна иметь штангенрейсмасы для широкого спектра применений и функций, которые они могут выполнять. Этот инструмент, по сути, используется для 1D измерений высот, расстояний, диаметров, межцентровых расстояний, наклонов, ортогональности. В самых передовых системах можно создать вторую измерительную ось, основанную на вращении детали на известный угол, для оценки элементов в 2D.
Новейшие технологии
Последние инновации связаны с электронными системами управления данными, дисплеями с технологией сенсорного экрана и возможностью подключения Bluetooth®.
Как пользоваться высотомером
Прибор следует использовать, положив его на гранитную поверхность, что, в сочетании с квадратурой вертикального измерителя, гарантирует надежную систему измерения. Затем детали будут размещены на том же граните даже с помощью специальных механических опор. Точки снимаются благодаря «прощупыванию» поверхности детали щупом, который, в зависимости от геометрии обнаруживаемой детали, может иметь различную форму (шаровой контакт разного диаметра, дисковый контакт разного диаметра). размеры, стержень глубины…). Затем точечный захват осуществляется с помощью ручки, которая действует на запатентованную механическую систему трения для ручных инструментов, или на запатентованную импульсную ручку, которая действует на электродвигатель, для моторизованной версии.
Как и все измерительные приборы, Высотомеры также необходимо периодически проверять или калибровать. Что касается TESA, то все вертикальные расходомеры при выходе с завода снабжены сертификатом первичной калибровки СКС.
На самом деле стандарты не предусматривают обязательной продолжительности этого сертификата в один год, но каждая компания может определить продолжительность на основе ряда внутренних параметров оценки. Что обычно рекомендуется делать, так это периодически проверять прибор внутри организации, используя сертифицированные образцы, такие как параллельные манометры, которые обычно уже имеются в компании.
Откройте для себя лучшие штангенрейсмасы на рынке
TESA является признанным брендом на рынке измерительных приборов благодаря высокому качеству и надежности своей продукции, всегда на переднем крае качества материалов и технологических решений. применяемые решения. С момента появления ростомеров, в начале 80-х годов прошлого века, TESA зарекомендовала себя на рынке этих приборов как эталонный бренд и бесспорный лидер рынка. Исторически он предлагает широкий, полный и высокопроизводительный диапазон. В верхней части диапазона 9Серия 0181 MICRO-HITE (с самыми продаваемыми штангенрейсмасами MICRO-HITE и MICRO-HITE + M ) мы находим максимальное качество материалов, выбранных для реализации этого типа инструмента, и лучшие последние технологии генерации в сочетании с полным, интуитивно понятным пользовательским интерфейсом, который легко освоить и использовать любой оператор.
Не забудьте серию TESA-HITE с моделями TESA-HITE и TESA-HITE MAGNA .
Дисплей и связь Bluetooth
Система Bluetooth® гарантирует передачу данных с прибора на ПК простым, стабильным и универсальным способом. Одним из преимуществ является возможность исключить ручную транскрипцию данных, обнаруженных оператором, что устраняет возможную человеческую ошибку и ускоряет выполнение операций. Еще одним преимуществом является отсутствие подключения по кабелю, что может стать препятствием на этапах использования прибора.
Как это работает?
Система TESA Bluetooth® включает в себя использование кругового передатчика, который должен быть подключен к выходу данных, встроенному в прибор, и USB-приемник, который должен быть подключен к ПК (не требуется с некоторыми более поздними операционными системами), способный принимать сигнал 8 приборов. Программное обеспечение TESA DATA-VIEWER, которое можно бесплатно загрузить непосредственно из раздела загрузок веб-сайта TESA ( www.




Механизированный привод переместит контакт к поверхности, измерение будет выполнено и отображено на экране.Источник: Mahr
Если они требуются во время измерений (например, тяжелых образцов), контрольную точку тоже необходимо замерять с использованием пневматических подшипников.
Как правило, точность датчика будет зависеть от диапазона измерения, и устройства с более высоким диапазоном измерения будут демонстрировать большие отклонения (погрешность +/-).
html