Эд 118а характеристики: -118 1TX554143, 652331-001 – –
alexxlab | 25.06.1988 | 0 | Разное
Тяговый электродвигатель постоянного тока ЭД-118А
(стр1) Лабораторная работа №1.
Тяговый электродвигатель постоянного тока ЭД-118А.
Тяговый электродвигатель предназначен для преобразования электрической энергии в механическую и передачи её на ось колёсной пары тепловоза в широком диапазоне скоростей, начиная от момента троганья тепловоза до максимальной скорости.
В эксплуатации тяговые электродвигатели работают в тяжелых условиях: широкий диапазон изменения температуры, нагрузки, частоты вращения, направления вращения, запыленность, влажность, загрязнённость.
Основные параметры электродвигателя ЭД-118А.
Номинальная мощность, кВт 305
Ток длительный, А 720
Напряжение длительное, В 463
Частота вращения длительная, мин-1 590
Частота вращения максимальная, мин-1 2290
Вращающий момент длительный, Н/м 3500
Вращающий момент максимальный, Н/м 10900
Воздушный зазор под сердечником главного полюса, мм 7
Воздушный зазор под добавочным полюсом, мм 10
Число коллекторных пластин 216
Масса, кг 3100
Условное обозначение на электрической схеме:
Принцип действия основан на законе электромагнитной
индукции.
Взаимодействие магнитного потока якорной обмотки и обмотки
возбуждения приводит к возникновению электромагнитной силы F,
которая выталкивает проводник из магнитного поля.
Fэл =B x L x I
Электромагнитный момент:
Mэл =Dя x Fэл / 2 , н х М
Mэл =Cm x Ф x Iд , н х М
(стр6) Основные характеристики.
Электромеханические.
N=f(Iд) при Iд=const
M= f(Iд)
ŋ= f(Iд) при ПВ, ОВ≠0
Характеристика холостого хода. Е= f(I в) при n=const, Iд=const.
(стр7) Нагрузочная характеристика.
Uд=f(Iв) при n=const, Iд=const.
Механическая характеристика.
N=f(M),
M=f(n) при Uд=const, Pд=const
Вывод: в результате лабораторной работы №1 я ознакомился с
конструкцией электродвигателя постоянного тока ЭД-118А, изучил принцип действия
двигателя и его основные характеристики: электромеханические, холостого хода,
нагрузочную и механическую.
(стр8) Принцип действия генератора постоянного тока.
При пересечении проводниками обмотки якоря силовых линий магнитного поля, созданного главными полюсами в проводниках наводится ЭДС, направление которой определяется по правилу правой руки: если руку расположить так, чтобы силовые линии магнитного поля входили в ладонь, отогнутый на 90 градусов большой палец расположить по направлению вектора скорости, 4 пальца укажут направление ЭДС в обмотке.
При протекании тока по цепи обмотки якоря на проводники действует электромагнитная сила, направленная против движения проводников, что создает тормозной момент в генераторе.
(стр9) Лабораторная работа №2.
Конструкция, принцип действия и основные параметры тяговых электрических генераторов постоянного тока.
- Назначение: Тяговый генератор предназначен для преобразования механической энергии коленчатого вала дизеля в электрическую для питания ТЭД.
- Особенности работы: Тяговый генератор работает в очень тяжелых условиях:
– ограниченные габариты;
– вибрация;
– широкий диапазон изменения
температуры, нагрузки и частоты вращения.
3. Основные характеристики ГП-311Б.
Мощность 2000 кВт
Номинальная частота вращения 650 мин-1
Продолжительный ток 4320 А
Напряжение при длительном токе 465 В
Максимальный кратковременный ток 6600 А
Максимальное напряжение 700 В
Ток при максимальном напряжении 2870 А
КПД в номинальном режиме 94,3%
Масса 8700 кг
Число главных полюсов 10
Число добавочных полюсов 10
4. Условное обозначение на электрической схеме:
(стр14)
Нагрузочная характеристика.
Uг=f(Iв), n=const, Iг=const
Внешняя характеристика
Uг=f(Iг), n=const, Pг=const
(стр15)
Внешняя характеристика системы регулирования напряжения.
Uг=f(Iг), n=const, Pг=const
Регулировочная характеристика.
Iв=f(Iг), n=const, Pг=const
(стр17)
а- для лягушачьей; б- для петлевой двухходовой обмотки. 1 клин, 2 прокладки, 3 проводник; 4 миколента и стеклянная лента; 5 миканитовая прокладка; 6 лента стеклянная.
Вывод: в ходе лабораторной работы № 2 я изучил конструкцию, условия работы, основные характеристики и уравнения тягового генератора ГП-311Б.
(стр18)
Лабораторная работа №3.
Конструкция, принцип действия и основные параметры тягового синхронного генератора тепловоза.
1.Назначение ТГС.
Предназначен для преобразования механической энергии вращения коленчатого вала дизеля в электрическую энергию питания ТЭД.
2.Особенности работы ТСГ.
ТСГ работает в очень тяжелых условиях:
– ограниченные габариты;
– вибрация;
– широкий диапазон изменения температуры, нагрузки и частоты вращения.
3.Основные параметры ГС-501.
Мощность, кВт 2800
Напряжение продолжительного режима, В 580
Ток при высшем напряжении, А 1500
Ток при низшем напряжении, А 2400
Частота вращения, мин-1 1000
Частота, Гц 100
Число фаз 6
Коэффициент мощности при высшем/низшем напряжении 0,925/0,935
КПД при высшем/низшем напряжении 95,8/95
Масса, кг 6000
4.Принцип действия.
По обмотке ротора проходит постоянный ток. При вращении ротора его магнитный поток пересекает обмотку статора и наводит в ней ЭДС.
Где: – скорость
изменения магнитного поля.
w-число витков обмотки.
(стр21)
2.9 Тяговый электродвигатель ЭД-118А. Характеристики локомотивов
Характеристики локомотивов
курсовая работа
Предназначен для привода колесных пар тепловоза через одноступенчатый прямозубый редуктор. Тяговый электродвигатель ЭД-118А является электрической машиной постоянного тока с последовательным возбуждением. На тепловозе установлено 6 ТЭД, по одному на каждую ось. В электродвигателе имеются 4 главных и 4 дополнительных полюса. Главные полюсы создают магнитный поток. Дополнительные полюсы в сочетании с электрографитными щетками обеспечивают нормальную коммутацию без подгара коллектора и электрощеток.
Якорь представляет собой вращающуюся часть электродвигателя и состоит из сердечника напрессованного на вал коллектора, в петушки которого впаяны концы секции, уложенной в сердечник якорной обмотки. Сердечник нашихтован на вал из штампованных листов электротехнической стали. Обмотка якоря петлевая с уравнительными соединениями.
Коллектор арочного типа собран из штампованных пластин твердотянутой коллекторной меди, имеющей в поперечном сечение форму трапеции.
Для облегчения массы коллектора в медных пластинах выштампованы отверстия.
Рис.6. Тяговый электродвигатель ЭД-118А.
22-вкладыши моторно-осевого подшипника, 23-корпус моторно-осевого подшипника, 24-механизм смазывающего фитиля моторно-осевого подшипника.
Делись добром 😉
Грузовой тепловоз мощностью 3000 кВт. Дизель-генератор
2.2 Тяговый привод
Характеристики локомотива во многом зависят от типа тягового привода, определяющего тягово-энергетические показатели, надежность и взаимодействие локомотива с верхним строением пути. Следует отметить…
Доработка конструкции главного сцепления трактора класса 1.4 с целью улучшения разгонных показателей агрегатов
4.4 Тяговый расчет
Целью тягового расчета является определение тягово-сцепных, скоростных и экономических качеств трактора при прямолинейном поступательном движении.
Тяговый расчет выполняется в процессе подготовки технического задания. Конструктор…
Колесный сотриментовоз с комбинированной трансмиссией
3.1 Тяговый расчет
Целью проверочного тягового расчета является определение тягово-сцепных, скоростных и экономических качеств сортиментовоза при прямолинейном поступательном движении…
Колесный трактор для лесохозяйственных работ
3.1 Тяговый расчет
Целью тягового расчета является определение тягово-сцепных, скоростных и экономических качеств трактора при прямолинейном поступательном движении…
Механизация литейного цеха на грузовом АТП на 250 автомобилей
2.3 Тяговый расчет
…
Механизация литейного цеха на грузовом АТП на 250 автомобилей
3.3 Тяговый расчет
3.3…
Модернизация рабочего оборудования автогрейдера ДЗ-143
4.4 Тяговый расчет
Исходными данными для тягового расчета являются: тип машины – автогрейдер ДЗ – 143 тип движетеля – колесный вид опорной поверхности грунт свежеотсыпанный сила тяжести машины – Gv = 200 кН уклон местности – 2 град.
..
Определение основных параметров тепловоза ТЭ-116
2.7 Тяговый редуктор
Предназначен для повышения вращающего момента, передаваемого тяговым электродвигателем на колёсную пару, и обеспечения заданной длительной и конструкционной скоростей движения тепловоза…
Основные технические характеристики асинхронного тягового двигателя с короткозамкнутым ротором ДАТ – 350-6 УХЛ 1
2.2.1 Дизель и тяговый генератор
Дизель-генератор 18ДГМА имеет состав: дизель 8ЧН26/26 (типа 6Д49): мощность 1500л.с., частота вращения 350-1000об/мин, Удельный эффективный расход топлива дизелем (с Qнр=42,7 МДж/*кг) – 197+9,75 кг/кВт*Ч….
Основные технические характеристики асинхронного тягового двигателя с короткозамкнутым ротором ДАТ – 350-6 УХЛ 1
2.2.2 Тяговый электродвигатель
Тяговый электродвигатель (ТЭД) – электрический двигатель, предназначенный для приведения в движение транспортных средств (электровозов, электропоездов, тепловозов, трамваев, троллейбусов, электромобилей, электроходов.
..
Подвеска легкового автомобиля
1. Тяговый расчет
…
Разработка бульдозеров
1.4 Тяговый расчет
Задачей тягового расчета бульдозера является определение силы тяги, необходимой для преодоления суммарного сопротивления. Условие тягового расчета определяется неравенством: , (1) где: -, кН; -, кН; -, кН. -…
Расчет погрузочно-разгрузочных работ
2.2.3 Тяговый расчет
Напорное усилие по мощности двигателя (Н) – мощность двигателя, кВт(86 л.с=60.2 кВт) – К.П.Д. трансмиссии; =0,88 – скорость погрузчика; =0,83 – коэффициент сопротивления качению; =0,06ч0,1 – Размещено на http://www.allbest.ru/ Размещено на http://www.allbest…
Транспорт руды погрузочно-доставочной машиной до рудоспуска
1.1 Тяговый расчёт ПД-2
Скорость движения машины:
1) по квершлагу, дорога не указана, щк = 150 H/кH, ік= 0‰;
с грузом:
Fгр.к= (G + G0) щк= (20 + 50) 150 = 10500 З.
По динамической характеристике находим нГР.К= 15км/ч; движение на II передаче ;
порожняком;
FПОР.
Характеристики локомотивов
2.8 Тяговый редуктор
Передача вращающего момента от тягового электродвигателя на ось колесной пары осуществляется с помощью тягового редуктора (рис.13), который не имеет принципиальных конструктивных отличий от тягового редуктора тепловоза 2ТЭ10Л…
| Архитектура Астрономия Аудит Биология Ботаника Бухгалтерский учёт Войное дело Генетика География Геология Дизайн Искусство История Кино Кулинария Культура Литература Математика Медицина Металлургия Мифология Музыка Психология Религия Спорт Строительство Техника Транспорт Туризм Усадьба Физика Фотография Химия Экология Электричество Электроника Энергетика | ⇐ ПредыдущаяСтр 3 из 7Следующая ⇒
Таким образом, тяговым электродвигателем называется электрическая машина, предназначенная для преобразования электрической энергии в механическую работу, затрачиваемую на движение поезда.
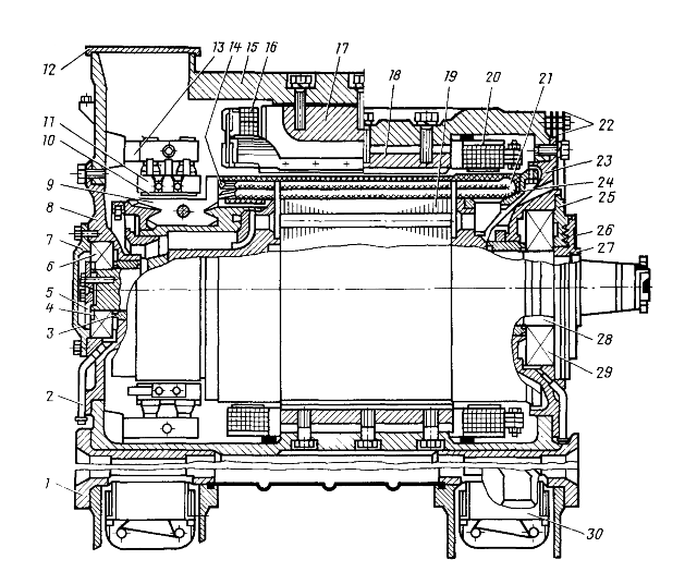
Конструктивные особенности и принцип действия тягового электродвигателя ЭД-118Б Электродвигатели типов ЭД-118А, ЭД-118Б, ЭД-120А, ЭД-133, ЭД151Т1, ЭД-121А, ЭД-126А, АД906 предназначены для привода колесных пар тепловозов и дизель-поездов. Таблица 2 Техническая характеристика тягового электродвигателя серии ЭД-118Б
Иллюстрация тягового электродвигателя ЭД-118Б в разрезе представлена на рис.
Рис. 1.1. Тяговый электродвигатель типа ЭД-118Б: а – продольный (ступенчатый) разрез; б – поперечный (частичный) разрез
Якорь электродвигателя собран на валу 1, изготовленном из качественной легированной стали с дополнительной термообработкой и имеющем свободный конусный конец для насадки ведущей шестерни тягового редуктора. Он опирается на два роликовых подшипника 2 и 21, вмонтированных в подшипниковые щиты 3 и 19.
Рис. 1.2. Схема укладки обмотки якоря электродвигателя ЭД-118Б: ⇐ Предыдущая1234567Следующая ⇒
Поиск по сайту: |
Электромагнитные клапаны – EKI
- Электромагнитные клапаны
- Дверные замки
- Защита от переполнения
- Переключатели
- Биметаллический термометр
- Электронный набор для душа
Мы производим широкий ассортимент высокоэффективных электромагнитных клапанов.
Наши клапаны предназначены для регулирования расхода воды в бытовых и промышленных приборах путем открытия или закрытия каналов.
Мы производим:
- Стандартные электромагнитные клапаны
- Бистабильные запорные клапаны
- Клапаны прямого действия
- Пропорциональные клапаны – подана заявка на патент
Наша преданность клапану на протяжении более 20 лет позволила нам предоставить индивидуальные высококачественные решения – мы принимаем вашу концепцию и поставляем высококачественный продукт.
СТАНДАРТНЫЙ ЭЛЕКТРОМАГНИТНЫЙ КЛАПАН
Стандартные электромагнитные клапаны используются в бытовых и профессиональных приборах, таких как стиральные машины, посудомоечные машины и другие электрические механизмы, работающие с водой.
Выберите клапан:
| Корпус: | Один выход: | 118/А | 118/Б | 118/С | 118/Д | 118/E | 118/Ф | 118/Г | 118/Ч | 118/Дж | 118/л | 118/М | 109/А |
| Двойной выход: | 218/А | 218/Б | 209/А | ||||||||||
| Тройной выход: | 318/А | ||||||||||||
| Катушка: | 220-240 В переменного тока, | 110 В переменного тока, | 24 В перем./пост. тока, | 12 В переменного/постоянного тока |
| Поток: | 1 – | 2,5 – | 3 – | 3,8 – | 4 – | 5 – | 7 – | 8 – | 10 – | 12 л/мин, | опционально |
Другие характеристики:
- Материал корпуса клапана:
Нейлон, армированный стекловолокном.

- Материал диафрагмы: EPDM, NBR, СИЛИКОН или FPM.
- Соленоид: Заключен в водонепроницаемый материал, самозатухающий.
- Класс изоляции: КЛАСС Н.
- Разъемы катушки: Выступ 6,3 мм, Раст 2,5, Раст 5; положение катушки опционально.
- Скобка: С резьбой М4 или кронштейном CANDY; положение кронштейна опционально.
- Расход воды: До 25 л/мин, если он не ограничен ограничителем потока.
- Рабочее давление: От 0,2 до 10 бар.
- Давление разрыва: Мин. 80 бар.
- Гидравлический удар при 6 бар: Менее 2 бар.
- Скорость работы: Tпл 25°C 100% ED, Tпл 90°C 3/5 мин, Tu 60°C.
- Утверждено: Все крупные агентства по всему миру.
БЛОКИРОВОЧНЫЙ (бистабильный) ЭЛЕКТРОМАГНИТНЫЙ КЛАПАН
Благодаря использованию магнита фиксирующие клапаны являются бистабильными, что позволяет им оставаться в любом состоянии неограниченное время без потребления энергии. Для перевода клапана из одного состояния в другое на катушку подается короткое 25-миллисекундное постоянное напряжение.
Для смещения клапана назад подается импульс обратной полярности. Результатом является чрезвычайно низкое энергопотребление и незначительное повышение температуры катушки клапана, что впоследствии обеспечивает очень длительный срок службы батареи.
Запорный клапан встроен в автоматические смесители, системы смыва писсуаров, автоматические и сенсорные краны, торговые автоматы, системы орошения и т.д. электронный модуль и корпус.
Выберите клапан:
| Корпус: | Один выход: | 118/А | 118/Б | 118/К | 118/Д | 118/E | 118/Ф | 118/Г | 118/Ч | 118/Дж | 118/л | 118/М | 109/А |
| Двойной выход: | 218/А | 218/Б | 209/А | ||||||||||
| Тройной выход: | 318/А | ||||||||||||
| Катушка: | 6 В пост. тока (напряжение батареи 6–12 В пост. тока) |
| Поток: | 1 – | 2,5 – | 3 – | 3,8 – | 4 – | 5 – | 7 – | 8 – | 10 – | 12 л/мин, | опционально |
Другие характеристики:
- Материал корпуса клапана: Нейлон, армированный стекловолокном.
- Материал диафрагмы: EPDM, NBR или СИЛИКОН.
- Соленоид: Заключен в водонепроницаемый материал, самозатухающий.
- Класс изоляции: КЛАСС Н.
- Разъемы катушки: Выступ 6,3 мм, Раст 2,5, Раст 5; положение катушки опционально.
- Скобка: С резьбой М4 или кронштейном CANDY; положение кронштейна опционально.
- Расход воды: До 20 л/мин, если он не ограничен ограничителем потока.
- Рабочее давление: От 0,2 до 10 бар.
- Давление разрыва: Мин. 80 бар.
- Гидравлический удар при 6 бар:
Менее 2 бар.

- Скорость работы: Tпл 60°C 100% ЭД, Tu 60°C.
- Утверждено: Все крупные агентства по всему миру.
ЭЛЕКТРОМАГНИТНЫЙ КЛАПАН ПРЯМОГО ДЕЙСТВИЯ
Электромагнитный клапан прямого действия в основном используется в качестве сливного клапана в диспенсерах для напитков с холодной водой, резервуарах для воды и подобных устройствах. Он работает в диапазоне давлений от 0 до 0,2 бар только прямого действия.
Выберите клапан:
| Корпус: | Один выход: | 118/А | 118/Б | 118/С | 118/Д | 118/E | 118/Ф | 118/Г | 118/Ч | 118/Дж | 118/л | 118/М | 109/А |
| Двойной выход: | 218/А | 218/Б | 209/А | ||||||||||
| Тройной выход: | 318/А | ||||||||||||
| Катушка: | 220-240 В переменного тока, | 110 В переменного тока, | 24 В перем. /пост. тока, | 12 В переменного/постоянного тока |
| Поток: | 1 – | 2,5 – | 3 – | 3,8 – | 4 – | 5 – | 7 – | 8 – | 10 – | 12 л/мин, | опционально |
Другие характеристики:
- Материал корпуса клапана: Нейлон, армированный стекловолокном.
- Уплотнительный материал: ЭПДМ.
- Соленоид: Заключен в водонепроницаемый материал, самозатухающий.
- Класс изоляции: КЛАСС Н.
- Разъемы катушки: Выступ 6,3 мм, Раст 2,5, Раст 5; положение катушки опционально.
- Скобка: С резьбой М4 или кронштейном CANDY; положение кронштейна опционально.
- Рабочее давление: от 0 – 0,2 бар.
- Давление разрыва: Мин. 80 бар.
- Скорость работы: Tпл 25°C 100% ED, Tпл 90°C 3/5 мин, Tu 60°C.
- Утверждено:
Все крупные агентства по всему миру.

ПРОПОРЦИОНАЛЬНЫЙ ЭЛЕКТРОМАГНИТНЫЙ КЛАПАН – Заявка на патент
Пропорциональный клапан был разработан в сотрудничестве с нашим партнером компанией Hydralectric из Англии (www.hydralectric.com) и в настоящее время заявка на получение патента. Он обеспечивает переменный контроль расхода воды с помощью электронного ШИМ-привода с обратной связью по расходу и другим важным параметрам. Он используется в душах и смесителях с электронасосом и/или подогревом.
Выберите клапан:
| Корпус: | Один выход: | 118/А | 118/Б | 118/С | 118/Д | 118/E | 118/Ф | 118/Г | 118/Ч | 118/Дж | 118/л | 118/М | 109/А |
| Двойной выход: | 218/А | 218/Б | 209/А | ||||||||||
| Тройной выход: | 318/А | ||||||||||||
| Катушка: | 24 В переменного тока |
| Поток: | Регулируемый до 17 л/мин |
Другие характеристики:
- Материал корпуса клапана:
Нейлон, армированный стекловолокном.

- Материал диафрагмы: EPDM, NBR или СИЛИКОН.
- Соленоид: Заключен в водонепроницаемый материал, самозатухающий.
- Класс изоляции: КЛАСС Н.
- Разъемы катушки: Выступ 6,3 мм, Раст 2,5, Раст 5; положение катушки опционально.
- Скобка: С резьбой М4 или кронштейном CANDY; положение кронштейна опционально.
- Расход воды: От 0,5 до 10 л/мин.
- Рабочее давление: динамическое давление 1 бар.
- Давление разрыва: Мин. 80 бар.
- Гидравлический удар при 6 бар: Менее 2 бар.
- Скорость работы: Tпл 25°C 100% ED, Tпл 90°C 3/5 мин, Tu 60°C.
- Утверждено: Все крупные агентства по всему миру.
Мы всегда можем настроить наши клапаны в соответствии с вашими требованиями.
Основной блок, неэкранированный, M18, NPN — ED-118U
ткм: 26-268067-64 Чтобы использовать все доступные функции на этом веб-сайте, в вашем браузере должен быть включен JavaScript.
Model | ED-118U | |||||||
Type | Non-shielded | |||||||
Shape | M18Threaded type | |||||||
Расстояние обнаружения | 11 мм 0,43 дюйма ±15% | |||||||
Обнаруживаемый объект | Все металлы *1 78 0046 | |||||||
Стандартная мишень (алюминий, t = 1 мм 0,04 “) | 50 x 50 мм 1,97″ | |||||||
Hysteresis | . | |||||||
Частота отклика | 200 Гц | |||||||
Режим работы | 906||||||||
Световой индикатор | Индикатор работы: красный светодиод, индикатор стабильной работы: зеленый светодиод | |||||||
Температурные характеристики | ±20% макс. расстояния обнаружения при 23°C 73,4°F, в пределах от 0 до 50°C от 32 до 122°F | |||||||
Управляющий выход | NPN с открытым коллектором 100 мА макс. (макс. 40 В), остаточное напряжение: макс. 1 В. | |||||||
Цепь защиты | Обратная полярность, поглотитель перенапряжения | |||||||
Номинал | Силовое напряжение | 12-24 В постоянного тока ± 10 %, RIPPLE (P-P) 10 % или менее | ||||||
Текущее потребление | 35 MAR MAT | Enclosure rating | IP67 | |||||
Ambient temperature | 0 to +50 °C 32 to 122 °F (No freezing) | |||||||
Относительная влажность | 35–95 % RH (NO Condensation) | |||||||
Устойчивость к вибрации | 10-55 HZ, двойной амплитуд 1,5 мл. | |||||||
Shock resistance | 1,000 m/s 2 , 3 times in each of the X, Y, and Z directions | |||||||
Case material | Никелированная латунь | |||||||
Аксессуары | ВИНТНАЯ Гайка x 2, | |||||||
Вес | ||||||||
Вес | 8. 140 г (включая 2-метровый кабель и гайки) | |||||||
*1 При обнаружении черных металлов расстояние обнаружения может уменьшиться. | ||||||||
Свиток
Другие модели
SA56004AD,118 Акция и цена NXP | Датчик температуры
SA56004AD,118 Наличие и цена NXP | Датчик температуры – AiPCBAГотовый прототип печатной платы для массового производства
Поставка электронных компонентов > Датчик температуры > NXP >
SA56004AD, 118 Покупка SA56004AD,118 Информация о наличии и цене обновлена на 2022-10-05 03:50:22
ОбновлениеНомер детали: SA56004AD,118
AiPCBA P/N: CM75306548
Производитель: NXP
Пакет: СОИК-8
Цена $ USD¥ CNY€ EUR£ GBPC$ CAD₣ CHF$ HKDRS INR¥ JPY₩ KRW₽ RUB$ TWD
Итого: 1200 шт.
Минимальный заказ: 10
Доставка из: Склад в Гонконге
Дата отгрузки: 08.10.2022 (ожидается)
Ориентировочная стоимость доставки
Купить- * Запросить коммерческое предложение?
- * Склад меняется очень быстро
- Немедленно свяжитесь с нами!
*В связи с тем, что уровень запасов постоянно колеблется, пожалуйста, свяжитесь с нами, чтобы узнать последние цены и запасы.
Проверка запасов деталей
Проверка запасов
108 116 деталей, хранящихся на складе AiPCBA
SA56004AD,118 Технические характеристики Показать похожие продукты (99+)
- ТИП
- ОПИСАНИЕ
- ВЫБЕРИТЕ
- Производитель
- NXP
- Категория
- Датчик температуры
- Тип крепления
- Поверхностный монтаж
- Количество контактов
- 8
- Коробка/упаковка
- СОИК-8
- Рассеиваемая мощность
- 11 мВт
- Термическое сопротивление
- 121 ℃/Вт
- Рабочая температура (макс.
) - 125 ℃
- Рабочая температура (мин.)
- -40 ℃
- Точность
- ±3℃ (макс.)
- Напряжение питания
- 3 В ~ 5,5 В
- Напряжение питания (макс.)
- 5,5 В постоянного тока
- Напряжение питания (мин.)
- 3 В постоянного тока
- Показать похожие продукты
SA56004AD, 118 Лист данных PDF
- SA56004AD,118 Техническое описание PDF
- 43 страницы, 517 КБ
- 14.02.2011
Посмотреть
- SA56004AD,118 Справочное руководство пользователя
- 64 страницы, 1364 КБ
- 09.03.2011
Посмотреть
- SA56004AD, 118 Другое Лист данных
- 63 страницы, 1566 КБ
Посмотреть
- SA56004AD, 118 Примечание по применению
- 51 страница, 4220 КБ
- 25 марта 2003 г.

Посмотреть
SA56004AD, 118 Размер и упаковка
- ТИП
- ОПИСАНИЕ
- Рабочая температура
- -40℃ ~ 125℃
- Состояние жизненного цикла продукта
- Активный
- Упаковка
- Лента и катушка (TR)
SA56004AD,118 Лист данных >
SA56004AD, 118 Защита окружающей среды
SA56004AD,118 Экспортные классификации
Сертификаты AiPCBA
AiPCBA гарантирует качество и безопасность продукции в соответствии с сертификатами IATF16949, ISO 9001, ISO 14001, UL, RoHS, CQC и REACH
Ознакомьтесь с нашими сертификатами >
Информация для заказа и соответствующая информация
Заказ Оплата Перевозки Упаковка Гарантия качества Лаборатория испытаний компонентов
- – Пожалуйста, подтвердите характеристики продуктов при заказе.
– MOQ означает минимальный объем заказа, необходимый для покупки каждой детали.
– Если у вас есть специальные инструкции по заказу, укажите это на странице заказа.
– Будет применяться предотгрузочная инспекция (PSI).
– Вы можете написать нам, чтобы проверить статус заказа в любое время.
– Вы можете написать нам, чтобы изменить детали заказа перед отправкой.
– Заказы не могут быть отменены после отправки посылок. - – ТТ заранее (банковский перевод), PayPal можно выбрать. – Только наличный расчет. (Переводы с чеками и векселями не принимаются.) – Клиент несет ответственность за уплату всех возможных сборов, включая налог с продаж, НДС, таможенные сборы и т. д. – Если вам нужен подробный счет-фактура или идентификационный номер налогоплательщика, напишите нам по электронной почте.
- – Можно выбрать FedEx, DHL и UPS.
– Вы можете выбрать, взимать ли плату за доставку с вашего счета доставки или с нашей стороны.
– Если вы находитесь в отдаленном районе, пожалуйста, свяжитесь с логистической компанией заранее.
(За доставку в эти районы может взиматься дополнительная плата (35-50 долларов США).


Техническая характеристика тягового электродвигателя ЭД-118Б приведена в таблице 2.
1.1. [1, С. 101].
Сердечник 14 якоря набран из листов электротехнической стали, зажатых между нажимными шайбами. Зубцы крайних пакетов листов поверху сварены неплавящимся электродом.
тока (напряжение батареи 6–12 В пост. тока)
/пост. тока,

расстояния обнаружения
0,06. , and Z directions
– Если у вас есть специальные инструкции по заказу, укажите это на странице заказа.
– Будет применяться предотгрузочная инспекция (PSI).
– Вы можете написать нам, чтобы проверить статус заказа в любое время.
– Вы можете написать нам, чтобы изменить детали заказа перед отправкой.
– Заказы не могут быть отменены после отправки посылок.