Как сделать газовую горелку для горна своими руками: Инжекционная газовая горелка для кузнечного горна своими руками: инструктаж по сборке
alexxlab | 31.08.1991 | 0 | Разное
Инжекционная газовая горелка для кузнечного горна своими руками: руководство по изготовлению
Принцип функционирования инжекционной горелки для небольших кузниц базируется на засасывании струи газа в корпус горелки. Купить ее можно в магазине. Однако, если сделана инжекционная газовая горелка для горна своими руками, она будет служить ничем не хуже.
Мы расскажем о том, как соорудить инструмент по всем правилам. Главное, учесть все требования в изготовлении. Ведь все-таки придется иметь дело с взрывоопасной смесью газа с воздухом.
Содержание:
- 1 Характеристики и виды инжекционных горелок
- 1.1 Принцип действия горелок
- 1.2 Классификация горелок по основным признакам
- 2 Самодельная инжекционная горелка
- 3 Плюсы и недостатки инжекционной горелки
- 4 Выводы и полезное видео по теме
Характеристики и виды инжекционных горелок
От исполнения горелки горна зависит степень угара металла при его нагреве под ковку, интенсивность образования окалины на поверхности, общее потребление газа.
В закрытых кузнечных горнах применяют горелки короткого пламени.
Их конструктивное исполнение гарантирует быстрое перемешивание горючей смеси, что обеспечивает высокий КПД. Продукты сгорания из рабочего пространства горна удаляются равномерно и максимально эффективно.
Принцип действия горелок
В горелках такого типа происходит сжигание пропана, поступающего из газопровода либо баллона. Здесь смесь газа с воздухом образовывается за счет эжекции, т.е. подсасывания последнего внутрь горелки под воздействием энергии струи газа, находящейся под давлением.
В зоне, где происходит забор воздуха, появляется разрежение, за счет чего воздух сам двигается в заданном направлении. Смешиваясь в корпусе горелки, рабочая смесь вырывается из него под давлением, создавая нужную температуру.
Качество работы газовой горелки зависит от постоянства соотношения объема газа и воздуха. Изменение плотности газа влияет на возможности засасывания воздуха горелкой.
Топливосжигающее устройство или горелка, является основной составляющей газового горна.
Его эксплуатация полностью зависит от правильного изготовления этого ключевого элемента
При несбалансированности показателей, необходима корректировка коэффициента инжекции для достижения его стабильности. Добиваются этого путем изменения давления газа либо регулировкой воздушной заслонки.
Классификация горелок по основным признакам
Классифицируют их по разным признакам. Исходя из объема подсасываемого первичного воздуха, различают горелки частичного смешения и полного. Основными характеристиками первых являются коэффициент инжекции и кратность.
Коэффициент инжекции определяется соотношением объемов воздуха инжектируемого и требующегося для 100-проентного сгорании газа. Под выражением «кратность инжекции» подразумевают соотношение между объемом первичного воздуха и потреблением газа горелкой.
Горение газа в смеси с воздухом в инжекционной горелке происходит в специальной насадке — туннеле, изготовленном из огнеупорного материала
Инжекционные горелки, применяемые в домашних кузницах, бывают низкого (до 5 кПа) давления газа и среднего — от 5 кПа до 0,3 МПа.
Когда газ в горелке находится под давлением 20-90 кПа, мощность подсоса воздуха остается практически неизменной, даже в том случае, когда в горне газовое давление и разрежение претерпевают изменения.
При падении давления ниже этой планки, коэффициент инжекции растет, давление падает, а разрежение в горне увеличивается. В зависимости от наличия распределительного коллектора, бывают горелки одно- и многофакельные.
Существует разделение по количеству сопел: с одним соплом — односопловые, с несколькими — многосопловые. Располагают эти элементы по центру либо вразброску. По этому признаку есть горелки с центральным соплом и периферийным.
Самодельная инжекционная горелка
К самодельной горелке стандартной конструкции газ подается из баллона по специальному шлангу, как правило, это пропан. В понижающем редукторе нет необходимости, поскольку поступление газа регулируется рабочим клапаном, находящимся на баллоне.
Открытие и перекрытие подачи газа осуществляют при помощи запорного крана, остальные регулировки горелки выполняют посредством рабочего крана.
Газовый шланг, по которому протекает газ, подключают к специальной насадке с ниппелем.
Это позволяет задавать величину и скорость пламени. Ниппель и трубка помещены в металлический стакан. Здесь и происходит насыщение пропана кислородом из поступающего воздуха.
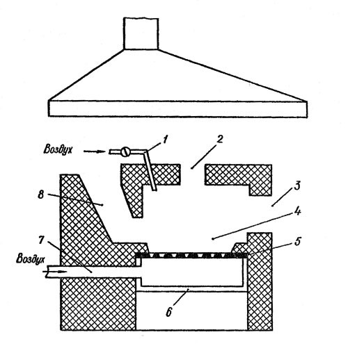
Стандартна схема газовой горелки. На ее основе можно разработать собственную конструкцию. Для удобства ремонта и эксплуатации, ее лучше сделать легко-разборной
Из металлического стакана, горючая смесь поступает в зону сгорания через сопло под давлением. Чтобы процесс был непрерывным, в сопле имеются специальные отверстия, выполняющие роль дополнительной вентиляции.
Для самостоятельного изготовления потребуется чертеж газовой горелки для горна, а также набор инструмента и материалов:

Вся работа по изготовлению топливосжигающего устройства состоит из пяти этапов.
При создании газовой горелки должны быть учтены обязательные требования к ним: безопасность поджога газа, устойчивое горение, безопасность в случае изменения тяги (обратном ударе) и вероятности вспышки горючей смеси, нечувствительность к влаге внутри горна
На первом этапе изготавливают диффузор. В качестве исходного материала для него можно взять отрезок трубы подходящего диаметра. К примеру, глушитель из нержавеющей стали либо водопроводная труба.
Вдоль трубы при помощи болгарки делают пропилы на нужную длину. На трубку набивают обойму от подшипника с подходящим диаметром. То же самое повторяют с другой стороны.
Пропилы заваривают, затем берут лепестковый круг и обрабатывают поверхность до полной гладкости. Заваривают и зачищают все имеющиеся поры и не проваренные участки. При помощи круглого или полукруглого напильника внутри детали убирают заусенцы.
Чтобы выполнять работу в экономичном режиме при сравнительно небольших температурах, труба 3 имеет тонкие стенки, что увеличивает скорость газов, содействует лучшему их смешиванию, препятствует воспламенению смеси в трубе
Следующий шаг — изготовление смесителя и конфузора. Первый имеет вид трубки. Подойдет водопроводная труба диаметром около 2 см, длиной 9 см. Трубку приваривают к диффузору, а к ней конфузор — конус для поступления воздуха.
Заготовку для него можно выкроить из листа толщиной 1,2 мм. Далее ее сгибают, заваривают шов и готовую деталь приваривают к смесителю. С торца делают плоскость для примыкания регулировочной шайбы. Путем уменьшения/увеличения зазора между конфузором и шайбой выполняют регулировку поступающего воздушного потока.
Далее приступают к изготовлению механизма подачи компонентов газо-воздушной смеси. На этом этапе потребуется болт с длинной резьбой М10. Шляпку срезают, затем с торца просверливают сквозное отверстие 5 мм диаметра, нарезают резьбу М6.
Для создания форсунки можно использовать наконечник для подведения сварочной проволоки от полуавтомата. Поскольку он имеет приличную длину, его нужно обрезать. При этом после резьбы должно остаться приблизительно 3-4 мм. Оставшейся части хватит для изготовления еще одного жиклера.
Для дальнейшей работы потребуется шайба с внешним диаметром 43 мм. Ее можно приобрести или изготовить самостоятельно из листа металла. По центру шайбы просверливают отверстие диаметром 1,2 см. К готовой шайбе приваривают гайку М10.
В сборке узла накручивают гайку на болт, устанавливают регулировочную шайбу, вкручивают газовую форсунку. Жиклер вставляют заподлицо с шайбой, путем вращения последней. Первую накрученную гайку помещают в центре резьбы
Прежде чем приступить к установке, нужно изготовить крепление узла к корпусу в виде скобы. Ее можно вырезать из листового металла. Не меняя положение сборки, прикладывают ее к конфузору, приставляют скобу и приваривают к гайке и корпусу.
Вкручивая и выкручивая болт, регулируют степень эжекции. Как показывает практика, оптимальный результат достигается при входе форсунки в конфузор на глубину около двух мм. Количество поступающего воздуха регулируют шайбой.
Заключительным этапом является испытание. Для этого на болт надевают шланг. На редукторе выставляют показатель давления 0,2 кг/см². С этим значением можно экспериментировать, но нужно помнить о том, что при большом расходе газа, баллон, особенно емкостью 5 л, может быстро обмерзнуть. В этом случае больше подойдет форсунка на 0,6 мм.
Шайбу перед розжигом нужно закрыть полностью или оставить небольшой зазор. После поджигания газа, подачу воздуха постепенно увеличивают. Пламя будет приобретать все более насыщенный синий цвет и постепенно отодвигаться от носика горелки. Особенностью работы горелки в открытом горне является то, что при дальнейшем усилении воздушной струи пламя отделяется от горелки, и происходит ее затухание.
Во избежание подобного явления по траектории пламени размещают преграду (рассекатель) либо используют горелку в закрытом пространстве. В этом случае огонь, вылетающий из форсунки, воспламенит газ, и горение будет поддерживаться.
Заводят в горн инжекционную горелку через оборудованное отверстие в стене теплоизолированной емкости. Важным условием безопасной работы является наличие принудительной вытяжки
Если горелка работает от магистрального газа, то в идеальных условиях ее пламя должно быть ярко-голубого цвета. Когда источник газа баллон, заправленный пропан-бутановой смесью, горючая смесь имеет вид желтых языков.
Такая горелка инжекционного типа отлично работает в закрытом пространстве. Если ее хорошо настроить, можно получить температуру до 1200⁰. Эти условия подходят для ковки заготовок из напильников, отжига клинков, плавки цветных металлов.
Подают газ на горелку от сети либо баллона, контролируют процесс регулятором.
Для проверки регулировки и давления проводят пробный пуск газа или газовой смеси, при этом следят за запахом.
Плюсы и недостатки инжекционной горелки
Применение качественной газовой горелки для кузнечного горна имеет ряд преимуществ:
Нарду с достоинствами присутствуют и некоторые минусы. Односопловые горелки, с учетом тепловой мощности, достаточно длинные. Необходимо обеспечивать строгое совпадение оси сопла и горелки. Во время работы издают много шума.
Мощность инжекционной горелки определяется объемом газа, который она расходует за единицу времени. Этот параметр существенно отличается у разных горелок
Весомые недостатки горелок низкого давления — большая длина факела, а также зависимость скорости подачи вторичного воздуха от топочного разжижения.
С разновидностями газовых горелок для банных печей и методами их установки ознакомит следующая статья, прочесть которую стоит всем владельцам загородных участков с собственными баньками.
Выводы и полезное видео по теме
Особой популярностью пользуется инжекционная горелка, разработанная Александром Кузнецовым. В этом видео-ролика он рассказывает из чего состоит конструкция и как ее собрать:
Пример работы инжекционной горелки:
Правильно спроектированная и изготовленная своими руками в точности с требованиями, инжекционная горелка станет надежным помощником на длительное время. Это устройство заменит дорогостоящие инструменты заводского изготовления. С его помощью можно решить многие бытовые проблемы, не прибегая к помощи профессионалов.
Хотите рассказать о том, как собирали инжекционную горелку для кузнечных работ собственными руками? Располагаете полезной информацией по теме статьи? оставляйте, пожалуйста, комментарии в находящейся ниже блок-форме, задавайте вопросы, размещайте фотоснимки.
Источник
Инжекционная газовая горелка для кузнечного горна своими руками: инструктаж по сборке
Содержание публикации
- Самодельная инжекторная горелка
- Плюсы и минусы инжекторной горелки
- Выводы и полезные видео по теме
Принцип работы инжекторной горелки для небольших кузнечных изделий основан на всасывании газового потока в корпус горелки. Купить можно в магазине. Однако, если вы сами сделали инжекторную газовую горелку для топки, она прослужит не хуже.
Мы расскажем, как построить инструмент по всем правилам. Главное – учесть все требования на производстве. В конце концов, вам все равно придется бороться со взрывоопасной смесью газа и воздуха.
Характеристики и типы инжекторных горелок
Степень отходов металла при нагреве для ковки, интенсивность образования накипи на поверхности и общий расход газа зависят от горелочного исполнения печи.
В кузнечных кузницах закрытого типа используются горелки с коротким пламенем.
Их конструкция обеспечивает быстрое перемешивание горючей смеси, что обеспечивает высокую эффективность. Продукты сгорания из рабочей зоны топки удаляются равномерно и максимально эффективно.
Принцип работы горелки
В горелках этого типа сжигают пропан из газопровода или баллона. Здесь смесь газа и воздуха образуется путем вытеснения, например, всасывания последнего в горелку под действием энергии струи сжатого газа.
В зоне втягивания воздуха возникает вакуум, за счет чего сам воздух движется в определенном направлении. При перемешивании в корпусе горелки рабочая смесь извлекается из него под давлением, создавая необходимую температуру.
Качество газовой горелки зависит от постоянства соотношения между объемом газа и воздуха. Изменения плотности газа влияют на способность горелки всасывать воздух.Устройство для сжигания топлива, или горелка, является основным элементом газовой духовки.
Его работа полностью зависит от правильного изготовления этого ключевого элемента
Все изменения температуры горения должны сопровождаться аналогичными изменениями подачи воздуха, необходимого для горения.
При разбалансе показателей необходимо откорректировать коэффициент впрыска для достижения его стабильности. Это достигается изменением давления газа или регулировкой воздушной заслонки.
Классификация горелки по основным характеристикам
Их классифицируют по разным критериям. В зависимости от объема всасываемого первичного воздуха различают горелки с частичным смешиванием и горелки с полным перемешиванием. Основными характеристиками первых являются коэффициент впрыска и кратность.
Степень впрыска определяется соотношением между объемами впрыскиваемого воздуха и газа, необходимого для 100% сгорания. Выражение «скорость впрыска» означает соотношение между объемом первичного воздуха и расходом газа горелкой.Сжигание газа в смеси с воздухом в инжекционной горелке происходит в специальном сопле – туннеле из огнеупорного материала
В отечественных кузнях используются инжекционные горелки низкого давления газа (до 5 кПа) и среднего давления – от 5 кПа до 0,3 МПа.
Когда газ в горелке находится под давлением 20-90 кПа, мощность всасывания воздуха остается практически неизменной, даже когда давление газа и вакуум в печи претерпевают изменения.
Когда давление падает ниже этого бара, коэффициент впрыска увеличивается, давление уменьшается, а разрежение в поде увеличивается. В зависимости от наличия распределительного коллектора бывают однопламенные и многопламенные.
Есть разделение по количеству сопел: с одним соплом – одно сопло, с несколькими – несколько сопел. Разместите эти элементы по центру или произвольно. На этой основе различают горелки с центральным и периферийным соплом.
Самодельная инжекторная горелка
У самодельной горелки стандартной конструкции газ подается из баллона по специальной трубе, как правило, это пропан. Редуктор не нужен, так как подача газа регулируется рабочим клапаном, установленным на баллоне.
Открытие и перекрытие подачи газа осуществляется с помощью запорной арматуры, остальные регулировки горелки осуществляются с помощью рабочего клапана.
Газовая труба, по которой течет газ, подсоединяется к специальной насадке с ниппелем.
Это позволяет вам установить интенсивность и скорость пламени. Соска и трубка помещаются в металлическую чашку. Здесь пропан насыщается кислородом из поступающего воздуха.Стандартная схема газовой горелки. На его основе можно разработать собственный дизайн. Для удобства ремонта и эксплуатации лучше сделать легко складывающимся
Из металлического стакана горючая смесь через форсунку под давлением попадает в зону горения. Чтобы процесс продолжался непрерывно, в насадке есть специальные отверстия, которые служат дополнительной вентиляцией.
Для самостоятельного изготовления понадобится чертеж газовой горелки для топки, а также набор инструментов и материалов:
- отрезки труб, метизов;
- болгарский;
- полукруглый или круглый напильник;
- сверлильный станок, если его нет, можно заменить дрелью;
- полуавтоматическая сварка;
- прикосновение, царапина, дрель, металлическая щетка, молоток, плоскогубцы;
- кружочки – раздеть, вырезать;
- лист железа толщиной 1,2, 3 мм;
- сварочные защитные устройства.

Все работы по изготовлению устройства сжигания топлива состоят из пяти этапов.При создании газовых горелок необходимо учитывать обязательные к ним требования: безопасность воспламенения газа, стабильное горение, безопасность при изменении тяги (обратный удар) и вероятности взрыва горючей смеси, нечувствительность к влажности внутри духовки
На первом этапе изготавливается диффузор. В качестве исходного материала можно взять отрезок трубы подходящего диаметра. Например, глушитель из нержавеющей стали или водопровод.
Вдоль трубы с помощью болгарки делаются пропилы нужной длины. На трубу помещается сепаратор подшипника подходящего диаметра. То же самое повторяется и с другой стороны.
Свариваются пропилы, затем берется лепестковое колесо и поверхность обрабатывается до полной гладкости. Подготовьте и очистите все существующие поры и необожженные участки. С помощью круглого или полукруглого напильника убираются заусенцы внутри детали.Для экономичного выполнения работы при относительно низких температурах трубка 3 имеет тонкие стенки, которые увеличивают скорость газов, способствуют лучшему перемешиванию и предотвращают воспламенение смеси в трубке
Следующим шагом будет изготовление миксера и конфузора.
Первый похож на трубку. Подойдет водопроводная труба диаметром около 2 см и длиной 9 см. К диффузору приваривается труба, а конфузор к нему представляет собой конус для всасывания воздуха.
Заготовку для этого можно вырезать из листа толщиной 1,2 мм. Затем его загибают, сваривают шов, а готовую деталь приваривают к смесителю. С торца получается поверхность для упора регулировочной шайбы. Путем уменьшения / увеличения пространства между термоэлементом и стиральной машиной регулируется приток воздуха на входе.
Впоследствии начинают изготавливать механизм подачи компонентов газовоздушной смеси. Для этого шага потребуется длинный болт с резьбой M10. Шляпка вырезается, затем с торца просверливается сквозное отверстие диаметром 5 мм, нарезается проволока М6.
Для создания сопла можно использовать наконечник для подачи припоя от полуавтоматического устройства. Поскольку он имеет приличную длину, его нужно обрезать. В этом случае после резьбы должно остаться около 3-4 мм. Остального хватит на повторный слепок.
Для дальнейшей работы вам понадобится шайба наружным диаметром 43 мм. Его можно купить или сделать самому из листа металла. В центре шайбы просверливается отверстие диаметром 1,2 см и к готовой шайбе приваривается гайка М10.При сборке агрегата навинтите гайку на болт, установите регулировочную шайбу, прикрутите газовую форсунку. Жиклер устанавливается заподлицо с шайбой за счет вращения последней. Первая накрученная гайка помещается в центр резьбы
Прежде чем приступить к установке, необходимо сделать кронштейн для крепления к кузову. Его можно вырезать из листового металла. Не меняя положения сборки, прикладывают ее к конфузору, прикрепляют скобу и приваривают к гайке и корпусу. Место сварки не очень важно, но конструкция должна быть жесткой.
Путем поворота и откручивания болта регулируется степень выброса. Как показывает практика, лучший результат достигается, когда сопло входит во фьюзер на глубину примерно два мм. Количество поступающего воздуха регулируется стиральной машиной.
Последний шаг – это тест. Для этого на болт надевается труба. Давление на редукторе установлено на 0,2 кг / см². С этим значением можно поэкспериментировать, но нужно помнить, что при большом расходе газа баллон, особенно объемом 5 литров, может быстро замерзнуть. В этом случае больше подойдет сопло 0,6 мм.
Перед включением стиральную машину необходимо полностью закрыть или оставить небольшой зазор. После включения газа подачу воздуха постепенно увеличивают. Пламя приобретает все более интенсивный синий цвет и постепенно удаляется от носовой части горелки. Особенностью работы горелки в открытой топке является то, что при дальнейшем усилении воздушной струи пламя отделяется от горелки и происходит его затухание.
Чтобы избежать этого явления, на пути пламени ставят препятствие (перегородку) или используют горелку в замкнутом пространстве. В этом случае огонь, выходящий из сопла, воспламенит газ и горение будет поддерживаться.Инжекционная горелка вводится в топку через оборудованное отверстие в стенке теплоизолированной емкости.
Важным условием безопасной работы является наличие принудительной тяги
Если горелка работает на основном газе, в идеальных условиях ее пламя должно быть ярко-синим. Когда источником газа является баллон, заполненный пропан-бутановой смесью, горючая смесь имеет вид желтых язычков.
Такая горелка инжекционного типа хорошо работает в закрытом помещении. Если вы установите его правильно, вы можете получить температуру до 1200. Эти условия подходят для ковки деталей из напильников, отжига лопаток, литья цветных металлов.
Газ в горелку подается от сети или из баллона, процесс контролируется регулятором. Чтобы проверить регулировку и давление, выполняется пробный запуск газа или газовой смеси с отслеживанием запаха.
Плюсы и минусы инжекторной горелки
Использование качественной газовой горелки для кузницы имеет ряд преимуществ:
- использование энергии газа для нагнетания воздуха;
- хорошее смешивание воздуха с газом;
- возможность регулирования объемного соотношения газ / воздух при изменении температурного режима горелки;
- простота использования;
- рентабельность;
- простота дизайна.

Помимо достоинств, есть и недостатки. Горелки с одной форсункой с учетом тепловой мощности довольно длинные. Необходимо обеспечить строгое совмещение оси форсунки и горелки. Во время работы они издают много шума.Мощность инжекторной горелки определяется объемом газа, который она потребляет в единицу времени. Этот параметр существенно отличается для разных горелок
Существенными недостатками горелок низкого давления являются большая длина пламени, а также зависимость расхода вторичного воздуха от разрежения горения.
Следующая статья познакомит вас с видами газовых конфорок для печей для ванных комнат и способами их установки, с которыми следует ознакомиться всем владельцам дачных участков с собственными санузлами.
Выводы и полезные видео по теме
Наибольшей популярностью пользуется инжекторная горелка разработки Александра Кузнецова. В этом видео он рассказывает, из чего состоит конструкция и как ее собрать:
Пример работы инжекторной горелки:
Грамотно спроектированная и изготовленная своими руками точно по требованиям, инжекторная горелка станет надежным помощником на долгое время.
Это приспособление заменит дорогие заводские инструменты. С его помощью можно решить множество повседневных задач, не прибегая к помощи профессионалов.
Хотите рассказать о том, как вы своими руками собрали инжекторную горелку для ковки? У вас есть полезная информация по теме статьи? Пожалуйста, оставляйте комментарии в форме блока ниже, задавайте вопросы, размещайте фото.
Источники
Казимов К.Г. Управление и ремонт оборудования газораспределительных систем. Практичная газовая локация для семьи слесаря Книжная полка / К.Г. Казимов. – М .: НЦ ЭНАС, 2008 – 288 с.
Финогенова, Т.Г. Эксплуатация, обслуживание и ремонт автомобиля: Контрольные материалы: Учебное пособие / Т.Г. Финогенова. – М .: Академия, 2017 – 257 с.
Сибикин, Ю.Д. Монтаж, эксплуатация и ремонт электрооборудования предприятий и промышленных предприятий / Ю.Д. Сибикин, М.Ю. Сибикин. – Вологда: Инфраингегнерия, 2013 – 464 с.
Примак, Л.В. Эксплуатация и ремонт малоэтажного жилого фонда / Примак Л.
В. – М .: Академический взгляд, 2010 – 276 с.
Полуянович, Н.К. Монтаж, наладка, эксплуатация и ремонт энергосистем промышленных предприятий: учебник / Н.К. Полуянович. – СПб .: Лань, 2012 – 400 с.
Цупиков С.Г. Справочник уличного мастера. Строительство, эксплуатация и ремонт автомобильных дорог / С.Г. Цупиков. – Вологда: Инфраингегнерия, 2007 – 928 с.
Финогенова Т.Г. Эксплуатация, обслуживание и ремонт автомобилей. Контрольные материалы: Учебник / Т.Г. Финогенова. – М .: Академия, 2013 – 96 с.
Белаш, Т.А. Эксплуатация и ремонт железнодорожных зданий в особых климатических и сейсмических строительных условиях: учебное пособие / Т.А. Белаш. – М .: ФГБОУ «УМЦ ЖДТ», 2011. – 293 с.
Гологорский, Е.Г. Эксплуатация и ремонт оборудования предприятий строительной отрасли: учебник / Е.Г. Гологорский. – М .: Архитектура-С, 2006 – 504 с.
Акимова, Н.А. Монтаж, обслуживание и ремонт электрического и электромеханического оборудования: учебное пособие / Н.А. Акимова. – М .
: Академия, 2018 – 204 с.
Финогенова, Т.Г. Эксплуатация, обслуживание и ремонт автомобиля: Контрольные материалы: Учебное пособие для начала профессионального образования / Т.Г. Финогенова, В.П. Митронина. – М .: ИЦ Академия, 2010 – 80 с.
Бадагуев Б.Т. Работа с большей опасностью. Эксплуатация и ремонт тепловых электростанций / Б.Т. Бадагуев. – М .: Альфа-Пресс, 2012 – 224 с.
Акимова, Н.А. Монтаж, обслуживание и ремонт электрического и электромеханического оборудования: учебное пособие / Н.А. Акимова. – М .: Академия, 2009 – 192 с.
Захаров и А.И. Уровни. Проектирование, сервис, ремонт, эксплуатация / А.И. Захаров. – М .: Академический проект, 2010 – 205 с.
Быков, И.Ю. Эксплуатация и ремонт машин и оборудования нефтегазовых месторождений / И.Ю. Быков, В.Н. Ивановский, Н.Д. Цхадая и др. – Вологда: Инфраинжиниринг, 2012. – 372 с.
Акимова, Н. А. Монтаж, обслуживание и ремонт электрического и электромеханического оборудования: учебник для студентов средних профессиональных учебных заведений / Н.
Ф. Котеленец, Н. А. Акимова, Н. И. Сентюричино. – М .: Академия ИЦ, 2013 – 304 с.
Ладухин Н.М. Монтаж, эксплуатация и ремонт технологического оборудования. Структура курса: Учебник / Н. М. Ладучин. – СПб .: Лан П, 2016 – 160 с.
Юнусов Г.С. Монтаж, эксплуатация и ремонт технологического оборудования. Структура курса: Учебник / Г.С. Юнусов, А.В. Михеев, М.М. Ахмадеева. – СПб .: Лань, 2011 – 160 с.
Основина, Л.Г. Автомобильные дороги: строительство, ремонт, эксплуатация / Л.Г. Основина, Л.В. Шуляков, В.Н. Основин, Н.В. Мальцевич. – Rn / D: Fenice, 2011 – 490 с.
Акимова, Н.А. Монтаж, техническая эксплуатация и ремонт электрического и электромеханического оборудования / Н.А. Акимова, Н.Ф. Котеленец, Н.И. Сентюричино. – Вологда: Инфра-инжиниринг, 2015 – 304 с.
Рудик, Ф.Я. Монтаж, эксплуатация и ремонт оборудования для перерабатывающих предприятий / Ф.Я. Рудик, В.Н. Буйлов, Н.В. Юдаев. – СПб .: Гиорд, 2008 – 352 с.
Гологорский, Е.Г. Эксплуатация и ремонт оборудования для строительных предприятий / Е.
Г. Гологорский, А.И. Доценко, А.С. Ильин. – М .: Архитектура-С, 2006 – 504 с.
Казимов, К.Г. Эксплуатация и ремонт оборудования газораспределительных систем: практическое пособие слесаря газовой отрасли / К.Г. Казимов, В.Е. Гусев. – М .: НЦ ЭНАС, 2012 – 288 с.
Кязимов К., Г. Управление и ремонт оборудования газораспределительных систем / К.Г. Кязимов, В.Е. Гусев. – М .: Энас, 2014 – 288 с.
Финогенова, Т.Г. Эксплуатация, обслуживание и ремонт автомобиля: Контрольные материалы: Учебное пособие / Т.Г. Финогенова. – М .: Академия, 2013 – 272 с.
Юркевич, А.А. Монтаж, наладка, эксплуатация и ремонт энергосистем промышленных предприятий: учебник КПТ / А.А. Юркевич, Г.К. Ивахнюк и др. – СПб .: Лан КПТ, 2016. – 400 с.
Инков, Ю.М. Эксплуатация и ремонт электроподвижного состава магистральных железных дорог / Ю.М. Инков. – М .: МЭИ, 2011 – 384 с.
Никитко И. Справочник по универсальной сантехнике. Монтаж, ремонт, эксплуатация / И. Никитко. – СПб .: Пьетро, 2017 – 352 с.
Серикова Г.А. Сантехника в доме. Монтаж, ремонт, эксплуатация / Г.А. Сериков. – М .: Классик РИПОЛ, 2012 – 256 с.
Акимова, Н.А. Монтаж, обслуживание и ремонт электрического и электромеханического оборудования: учебное пособие / Н.А. Акимова. – М .: Академия, 2018 – 208 с.
Инков, Ю.М. Эксплуатация и ремонт электроподвижного состава магистральных железных дорог / Ю.М. Инков, В.П. Феоктистов, Н.Г. Шабалин. – Вологда: Инфраингегнерия, 2011 – 384 с.
Сибикин, Ю.Д. Монтаж, эксплуатация и ремонт электрооборудования предприятий и промышленных предприятий / Ю.Д. Сибикин, М.Ю. Сибикин. – М .: Высшая школа, 2008 г. – 462 с.
Полуянович, Н.К. Монтаж, наладка, эксплуатация и ремонт энергосистем промышленных предприятий: учебник / Н.К. Полуянович. – СПб .: Лань, 2019 – 396 с.
Рудик, Ф.Я. Монтаж, эксплуатация и ремонт оборудования для перерабатывающих предприятий: учебник для вузов / Ф.Я. Рудик и др. – СПб .: ГИОРД, 2008 г. – 352 с.
Проектирование и расчет многоэтажных гражданских зданий и их элементов.
Пособие для вузов / П.Ф. Дроздов, МИДодонов, Л.Л. Паншин, Р.Л. Саруханян / под ред. П.Ф.Дроздова. – М., Стройиздат, 1986 – 351 с.
Серебров Б.Ф. Гаражи и многоэтажные автостоянки: учебное пособие. – Новосибирск: НГАХА, 2005.-131с.
Нагрузки и воздействия на здания и сооружения / В.Н. Гордеев, А.И. Лантух-Лященко, В.А. Пашинский, А.В. Перельмутер, С.Ф. Пичугин, под ред. А. В. Перельмутер. – М., Издательство Ассоциации строительных вузов, 2007. – 482 с.
Нанасова С.М. Строительство малоэтажных жилых домов. Руководство. – М., Издательство АСВ, 2005 – 128 с.
Системы поддержки / Хейно Энгель, предисловие. Ральф Рэпсон торговал с ним. Л.А. Андреева. – М., АСТ Астрель, 2007. – 244 с.
Обследование и испытания зданий и сооружений. Пособие для вузов / В.Г. Козачек, Н.В. Нечаев, С.Н. Нотенко и др. под ред. В.И. Римшина. – М., Высший шк., 2004 г. – 447 с.
Н.В. Прядко. Обследование и реконструкция жилых домов. Руководство. Макеевка. ДонНАСА, 2006. – 156 с.
Организация строительного производства.
Пособие для вузов / С.А. Болотин, А.Н. Вихров. – М., Издательский центр “Академия”, 2007. – 208 с.
Нойферт П., Нефф Л. Проектирование и строительство. Дом, квартира, сад. Перевод с него. – Ред. Третье, перераб. И доп. – М., Издательство «Архитектура-С», 2005 г. – 264 с.
Расчеты конструкций загородного дома. Способы экономии. Нагрузки. Влияние. Справочник / Сост. В.И. Рыженко. – М., Издательство «Оникс», 2007 – 32 с.
Нойферг Э. Строительное проектирование. / Ибо с ним. К. Ш. Фельдман, Ю. М. Кузьмина, под ред. З. И. Эстров и Е. С. Раева. – 2-е изд. – М., Стройиздат, 1991 – 392 с.
Саг Ф. Как избежать ошибок при строительстве индивидуального дома. Для с Хунг. Попов С.С. / Под ред. Ю.А. Муравьева. – М., Стройиздат, 1987 – 192 с.
Еремкин А.И., Королева Т.И. Тепловой режим учебных корпусов. – М., Издательство АСВ, 2000 г. – 368 с.
_https://sovet-ingenera.com/gaz/equip/inzhektsionnaya-gazovaya-gorelka-dlya-gorna-svoimi-rukami.html
Балабан-Ерменин Ю. В.
, Липовских В.М., Рубашов А.М. Защита от внутренней коррозии трубопроводов тепловых сетей. 2-е издание. Перераб., Доп. – М .: Издательство «Новости теплоснабжения», 2008. – 288 с.
Афанасьев А.А. Реконструкция жилых домов: учебное пособие для студенческих обществ по направлению 270100 «Строительство» / А.А. Афанасьев, Е.П. Матвеев. –М., 2008.
Иванов Ю.В. Реконструкция зданий и сооружений: консолидация, реставрация, ремонт: проверить учебник / Ю.В. Иванов. -M. : Изд-во Ассоциации строительных вузов, 2013. –312 с.
В. Н. Кутуков Реконструкция зданий: учебник для вузов по спец. «Строительная техника, оборудование и машинные системы» / В.Н. Кутуков. -M. : Высшая школа, 1981. –263 с.
Матвеев Е.П. Реконструкция жилых домов. За 2 часа Часть 1. Теория, методы и технологии реконструкции жилых домов. Матвеев. -M. : ГУП ЦПП, 1999. –367 с.
Матвеев Е.П. Реконструкция жилых домов. Алле 2. Часть 2. Промышленные технологии реконструкции жилых домов разного периода строительства.
Матвеев. -M. : ГУП ЦПП, 1999. –364 с.
Миловидов Н. Н. Реконструкция жилых домов: учебное пособие для вузов / Н. Н. Миловидов, В. А. Осин, М. С. Шумилов. -M. : Высшая школа., 1980. –240 с.
И. В. Носков Укрепление фундаментов и реконструкция фундаментов: Учебное пособие. / IV. Носков, Г.И. Швецов. -M. : Абрис, 2012. –134 с.
Реконструкция зданий и сооружений: пособие для строительного вуза / А.Л. Шагин и др .; а также. К. Шагин. -M. : Высший шк., 1991 –352 с.
руководство по изготовлению на Durat.ru
Durat.ru > Ремонт своими руками > Инжекционная газовая горелка для кузнечного горна своими руками: руководство по изготовлению
Принцип функционирования инжекционной горелки для небольших кузниц базируется на засасывании струи газа в корпус горелки. Купить ее можно в магазине. Однако, если сделана инжекционная газовая горелка для горна своими руками, она будет служить ничем не хуже.
Мы расскажем о том, как соорудить инструмент по всем правилам.
Главное, учесть все требования в изготовлении. Ведь все-таки придется иметь дело с взрывоопасной смесью газа с воздухом.
Характеристики и виды инжекционных горелок
От исполнения горелки горна зависит степень угара металла при его нагреве под ковку, интенсивность образования окалины на поверхности, общее потребление газа. В закрытых кузнечных горнах применяют горелки короткого пламени.
Их конструктивное исполнение гарантирует быстрое перемешивание горючей смеси, что обеспечивает высокий КПД. Продукты сгорания из рабочего пространства горна удаляются равномерно и максимально эффективно.
Принцип действия горелок
В горелках такого типа происходит сжигание пропана, поступающего из газопровода либо баллона. Здесь смесь газа с воздухом образовывается за счет эжекции, т.е. подсасывания последнего внутрь горелки под воздействием энергии струи газа, находящейся под давлением.
В зоне, где происходит забор воздуха, появляется разрежение, за счет чего воздух сам двигается в заданном направлении.
Смешиваясь в корпусе горелки, рабочая смесь вырывается из него под давлением, создавая нужную температуру.
Качество работы газовой горелки зависит от постоянства соотношения объема газа и воздуха. Изменение плотности газа влияет на возможности засасывания воздуха горелкой.
Топливосжигающее устройство или горелка, является основной составляющей газового горна. Его эксплуатация полностью зависит от правильного изготовления этого ключевого элемента
Все изменения температуры сгорания должны сопровождаться аналогичными изменениями подачи воздуха, требуемого для возгорания.
При несбалансированности показателей, необходима корректировка коэффициента инжекции для достижения его стабильности. Добиваются этого путем изменения давления газа либо регулировкой воздушной заслонки.
Классификация горелок по основным признакам
Классифицируют их по разным признакам. Исходя из объема подсасываемого первичного воздуха, различают горелки частичного смешения и полного.
Основными характеристиками первых являются коэффициент инжекции и кратность.
Коэффициент инжекции определяется соотношением объемов воздуха инжектируемого и требующегося для 100-проентного сгорании газа. Под выражением «кратность инжекции» подразумевают соотношение между объемом первичного воздуха и потреблением газа горелкой.
Горение газа в смеси с воздухом в инжекционной горелке происходит в специальной насадке — туннеле, изготовленном из огнеупорного материала
Инжекционные горелки, применяемые в домашних кузницах, бывают низкого (до 5 кПа) давления газа и среднего — от 5 кПа до 0,3 МПа. Когда газ в горелке находится под давлением 20-90 кПа, мощность подсоса воздуха остается практически неизменной, даже в том случае, когда в горне газовое давление и разрежение претерпевают изменения.
При падении давления ниже этой планки, коэффициент инжекции растет, давление падает, а разрежение в горне увеличивается. В зависимости от наличия распределительного коллектора, бывают горелки одно- и многофакельные.
Существует разделение по количеству сопел: с одним соплом — односопловые, с несколькими — многосопловые. Располагают эти элементы по центру либо вразброску. По этому признаку есть горелки с центральным соплом и периферийным.
Самодельная инжекционная горелка
К самодельной горелке стандартной конструкции газ подается из баллона по специальному шлангу, как правило, это пропан. В понижающем редукторе нет необходимости, поскольку поступление газа регулируется рабочим клапаном, находящимся на баллоне.
Открытие и перекрытие подачи газа осуществляют при помощи запорного крана, остальные регулировки горелки выполняют посредством рабочего крана. Газовый шланг, по которому протекает газ, подключают к специальной насадке с ниппелем.
Это позволяет задавать величину и скорость пламени. Ниппель и трубка помещены в металлический стакан. Здесь и происходит насыщение пропана кислородом из поступающего воздуха.
Стандартна схема газовой горелки. На ее основе можно разработать собственную конструкцию.
Для удобства ремонта и эксплуатации, ее лучше сделать легко-разборной
Из металлического стакана, горючая смесь поступает в зону сгорания через сопло под давлением. Чтобы процесс был непрерывным, в сопле имеются специальные отверстия, выполняющие роль дополнительной вентиляции.
Для самостоятельного изготовления потребуется чертеж газовой горелки для горна, а также набор инструмента и материалов:
- куски труб, метизы;
- болгарка;
- напильник полукруглый либо круглый;
- сверлильный станок, если нет, можно заменить дрелью;
- сварочный полуавтомат;
- метчик, лерка, сверло, щетка по металлу, молоток, пассатижи;
- круги — зачистной, отрезной;
- железо листовое толщиной 1,2, 3 мм;
- защитные средства для выполнения сварки.
Вся работа по изготовлению топливосжигающего устройства состоит из пяти этапов.
При создании газовой горелки должны быть учтены обязательные требования к ним: безопасность поджога газа, устойчивое горение, безопасность в случае изменения тяги (обратном ударе) и вероятности вспышки горючей смеси, нечувствительность к влаге внутри горна
На первом этапе изготавливают диффузор.
В качестве исходного материала для него можно взять отрезок трубы подходящего диаметра. К примеру, глушитель из нержавеющей стали либо водопроводная труба.
Вдоль трубы при помощи болгарки делают пропилы на нужную длину. На трубку набивают обойму от подшипника с подходящим диаметром. То же самое повторяют с другой стороны.
Пропилы заваривают, затем берут лепестковый круг и обрабатывают поверхность до полной гладкости. Заваривают и зачищают все имеющиеся поры и не проваренные участки. При помощи круглого или полукруглого напильника внутри детали убирают заусенцы.
Чтобы выполнять работу в экономичном режиме при сравнительно небольших температурах, труба 3 имеет тонкие стенки, что увеличивает скорость газов, содействует лучшему их смешиванию, препятствует воспламенению смеси в трубе
Следующий шаг — изготовление смесителя и конфузора. Первый имеет вид трубки. Подойдет водопроводная труба диаметром около 2 см, длиной 9 см. Трубку приваривают к диффузору, а к ней конфузор — конус для поступления воздуха.
Заготовку для него можно выкроить из листа толщиной 1,2 мм. Далее ее сгибают, заваривают шов и готовую деталь приваривают к смесителю. С торца делают плоскость для примыкания регулировочной шайбы. Путем уменьшения/увеличения зазора между конфузором и шайбой выполняют регулировку поступающего воздушного потока.
Далее приступают к изготовлению механизма подачи компонентов газо-воздушной смеси. На этом этапе потребуется болт с длинной резьбой М10. Шляпку срезают, затем с торца просверливают сквозное отверстие 5 мм диаметра, нарезают резьбу М6.
Для создания форсунки можно использовать наконечник для подведения сварочной проволоки от полуавтомата. Поскольку он имеет приличную длину, его нужно обрезать. При этом после резьбы должно остаться приблизительно 3-4 мм. Оставшейся части хватит для изготовления еще одного жиклера.
Для дальнейшей работы потребуется шайба с внешним диаметром 43 мм. Ее можно приобрести или изготовить самостоятельно из листа металла. По центру шайбы просверливают отверстие диаметром 1,2 см.
К готовой шайбе приваривают гайку М10.
В сборке узла накручивают гайку на болт, устанавливают регулировочную шайбу, вкручивают газовую форсунку. Жиклер вставляют заподлицо с шайбой, путем вращения последней. Первую накрученную гайку помещают в центре резьбы
Прежде чем приступить к установке, нужно изготовить крепление узла к корпусу в виде скобы. Ее можно вырезать из листового металла. Не меняя положение сборки, прикладывают ее к конфузору, приставляют скобу и приваривают к гайке и корпусу. Место приварки не имеет большого значения, но необходимо, чтобы конструкция была жесткой.
Вкручивая и выкручивая болт, регулируют степень эжекции. Как показывает практика, оптимальный результат достигается при входе форсунки в конфузор на глубину около двух мм. Количество поступающего воздуха регулируют шайбой.
Заключительным этапом является испытание. Для этого на болт надевают шланг. На редукторе выставляют показатель давления 0,2 кг/см². С этим значением можно экспериментировать, но нужно помнить о том, что при большом расходе газа, баллон, особенно емкостью 5 л, может быстро обмерзнуть.
В этом случае больше подойдет форсунка на 0,6 мм.
Шайбу перед розжигом нужно закрыть полностью или оставить небольшой зазор. После поджигания газа, подачу воздуха постепенно увеличивают. Пламя будет приобретать все более насыщенный синий цвет и постепенно отодвигаться от носика горелки. Особенностью работы горелки в открытом горне является то, что при дальнейшем усилении воздушной струи пламя отделяется от горелки, и происходит ее затухание.
Во избежание подобного явления по траектории пламени размещают преграду (рассекатель) либо используют горелку в закрытом пространстве. В этом случае огонь, вылетающий из форсунки, воспламенит газ, и горение будет поддерживаться.
Заводят в горн инжекционную горелку через оборудованное отверстие в стене теплоизолированной емкости. Важным условием безопасной работы является наличие принудительной вытяжки
Если горелка работает от магистрального газа, то в идеальных условиях ее пламя должно быть ярко-голубого цвета. Когда источник газа баллон, заправленный пропан-бутановой смесью, горючая смесь имеет вид желтых языков.
Такая горелка инжекционного типа отлично работает в закрытом пространстве. Если ее хорошо настроить, можно получить температуру до 1200⁰. Эти условия подходят для ковки заготовок из напильников, отжига клинков, плавки цветных металлов.
Подают газ на горелку от сети либо баллона, контролируют процесс регулятором. Для проверки регулировки и давления проводят пробный пуск газа или газовой смеси, при этом следят за запахом.
Плюсы и недостатки инжекционной горелки
Применение качественной газовой горелки для кузнечного горна имеет ряд преимуществ:
- применение газовой энергии для инжекции воздуха;
- хорошее смешивание воздуха с газом;
- возможность управления объемным соотношением газ/ воздух при изменении температурного режима горелки;
- удобство в использовании;
- экономичность;
- простота конструкции.
Нарду с достоинствами присутствуют и некоторые минусы. Односопловые горелки, с учетом тепловой мощности, достаточно длинные.
Необходимо обеспечивать строгое совпадение оси сопла и горелки. Во время работы издают много шума.
Мощность инжекционной горелки определяется объемом газа, который она расходует за единицу времени. Этот параметр существенно отличается у разных горелок
Весомые недостатки горелок низкого давления — большая длина факела, а также зависимость скорости подачи вторичного воздуха от топочного разжижения.
С разновидностями газовых горелок для банных печей и методами их установки ознакомит следующая статья, прочесть которую стоит всем владельцам загородных участков с собственными баньками.
Выводы и полезное видео по теме
Особой популярностью пользуется инжекционная горелка, разработанная Александром Кузнецовым. В этом видео-ролика он рассказывает из чего состоит конструкция и как ее собрать:
Пример работы инжекционной горелки:
Правильно спроектированная и изготовленная своими руками в точности с требованиями, инжекционная горелка станет надежным помощником на длительное время. Это устройство заменит дорогостоящие инструменты заводского изготовления. С его помощью можно решить многие бытовые проблемы, не прибегая к помощи профессионалов.
Хотите рассказать о том, как собирали инжекционную горелку для кузнечных работ собственными руками? Располагаете полезной информацией по теме статьи? оставляйте, пожалуйста, комментарии в находящейся ниже блок-форме, задавайте вопросы, размещайте фотоснимки.
Источник
VEVOR Газовая пропановая кузнечная печь Горелка Портативная три горелки Изготовление металлических инструментов
Изготовление ножей и инструментов Газовая кузница
Сделайте кузнечное дело снова увлекательным! У большинства из вас есть длинный список проектов, которые вы хотите завершить. Поэтому мы разработали эту кузнечную кузницу, включив в нее функции, которые нужны большинству самодельщиков.
Мощная огневая мощь вас не разочарует, а полный комплект вспомогательных деталей позволит вам совершить увлекательное путешествие в мир ковки своими руками.
Прочное оборудование и инструменты, меньше оплаты
VEVOR — ведущий бренд, специализирующийся на оборудовании и инструментах. Наряду с тысячами мотивированных сотрудников VEVOR стремится предоставлять нашим клиентам прочное оборудование и инструменты по невероятно низким ценам. Сегодня VEVOR оккупировал рынки более чем 200 стран с более чем 10 миллионами членов по всему миру.
Почему выбирают ВЕВОР?
- Высокое качество Tough Quality
- Невероятно низкие цены
- Быстрая и безопасная доставка
- 30-дневный бесплатный возврат
- Круглосуточный внимательный сервис
Прочное оборудование и инструменты, платите меньше
VEVOR — ведущий бренд, специализирующийся на оборудовании и инструментах. Наряду с тысячами мотивированных сотрудников VEVOR стремится предоставлять нашим клиентам прочное оборудование и инструменты по невероятно низким ценам.
Сегодня VEVOR оккупировал рынки более чем 200 стран с более чем 10 миллионами членов по всему миру.
Почему выбирают ВЕВОР?
- Прочное качество премиум-класса
- Невероятно низкие цены
- Быстрая и безопасная доставка
- 30-дневный бесплатный возврат
- Внимательное обслуживание 24/7
Макс. 2300°F Температура
Наша кузница для пропановых ножей создана для ковки. Эта кузница может обеспечить примерную максимальную температуру нагрева 2300°F / 1300 ℃, что достаточно для ковки металлов. А горелка мощностью 23 кВт·ч / 80 000 БТЕ может максимально увеличить эффективность нагрева благодаря конструкции системы вертикального сжигания.
Улучшенный эффект изоляции
Перед тем, как использовать пропановую горн, необходимо сделать изоляционное одеяло более жестким, чтобы уменьшить количество пыли при его использовании. Для лучшего эффекта изоляции толстый изоляционный слой ZR-AL и кованая крышка помогут поддерживать температуру в течение длительного времени.
Большие возможности
Этот пропановый горн имеет просторное рабочее пространство, которое обеспечивает идеальное воздействие на центральную точку пламени благодаря подходящему объему камеры. Между тем, стальной корпус относительно жесткий и прочный для длительного использования.
Контроль расхода газа
Этот кузнечный горн поддерживает регулировку давления газа для контроля расхода газа путем вращения ручки на регуляторе. Кроме того, выход газа можно контролировать независимо с помощью шарового клапана, который можно легко заменить.
Принадлежности в комплекте
Мы предоставляем полный набор принадлежностей для ковки на нашем пропановом горне, включая газовый шланг длиной 9,8 фута, кронштейн печи, огнеупорный кирпич, высокотемпературную перчатку и щипцы. Так вы сможете раскрыть свой творческий потенциал в кузнечном деле на полную катушку.
Инструкция по эксплуатации
Вот простая инструкция к нашей пропановой кузнице для изготовления ножей.
Шаг 1: Поместите огнеупорный кирпич в печь. Шаг 2: Откройте все газовые впускные клапаны, чтобы выпустить газ в небольшом объеме. Шаг 3: Зажгите газ. Шаг 4: Отрегулируйте давление газа, чтобы контролировать огневую мощь.
Технические характеристики
Модель: CMPROF-3+2D
Материал печи: сталь 16 калибра (1,5 мм)
Материал футеровки: изоляционное покрытие Zr-Al
Максимальная мощность: 23 кВт·ч / 80000 БТЕ
Внутреннее пространство: прибл. 12,6 л
Длина шланга: 3 м 9,8 фута
Вес изделия: прибл. 46,5 фунтов/21,1 кг
Содержимое упаковки
Прочное оборудование и инструменты, платите меньше
VEVOR — ведущий бренд, специализирующийся на оборудовании и инструментах. Наряду с тысячами мотивированных сотрудников VEVOR стремится предоставлять нашим клиентам прочное оборудование и инструменты по невероятно низким ценам. Сегодня VEVOR оккупировал рынки более чем 200 стран с более чем 10 миллионами членов по всему миру.
Почему выбирают ВЕВОР?
- Premium Tough Quality
- Невероятно низкие цены
- Быстрая и безопасная доставка
- 30-дневный бесплатный возврат
- Внимательное обслуживание 24 часа в сутки 7 дней в неделю в оборудовании и инструментах. Наряду с тысячами мотивированных сотрудников VEVOR стремится предоставлять нашим клиентам прочное оборудование и инструменты по невероятно низким ценам. Сегодня VEVOR оккупировал рынки более чем 200 стран с более чем 10 миллионами членов по всему миру.
Почему выбирают ВЕВОР?
- Высокое качество
- Невероятно низкие цены
- Быстрая и безопасная доставка
- 30-дневный бесплатный возврат
- Внимательное обслуживание 24 часа в сутки 7 дней в неделю
Knife & Tools Making Gas0 Forge 90 снова весело! У большинства из вас есть длинный список проектов, которые вы хотите завершить. Поэтому мы разработали эту кузнечную кузницу, включив в нее функции, которые нужны большинству самодельщиков.
Мощная огневая мощь вас не разочарует, а полный комплект вспомогательных деталей позволит вам совершить увлекательное путешествие в мир ковки своими руками.- Выходная мощность удара
- Большой размер камеры
- Регулятор газа и гибкий
- Комплект кузнечного горна
- Пошаговая инструкция
Макс. 2300°F Температура
Наша кузница для пропановых ножей создана для ковки. Эта кузница может обеспечить примерную максимальную температуру нагрева 2300°F / 1300 ℃, что достаточно для ковки металлов. А горелка мощностью 23 кВт·ч / 80 000 БТЕ может максимально увеличить эффективность нагрева благодаря конструкции системы вертикального сжигания.
Улучшенный эффект изоляции.
Перед тем, как использовать пропановую горн, необходимо сделать изоляционное одеяло более жестким, чтобы уменьшить количество пыли при его использовании. Для лучшего эффекта изоляции толстый изоляционный слой ZR-AL и кованая крышка помогут поддерживать температуру в течение длительного времени.

Большие возможности
Этот пропановый горн имеет просторное рабочее пространство, которое обеспечивает идеальное воздействие на центральную точку пламени благодаря подходящему объему камеры. Между тем, стальной корпус относительно жесткий и прочный для длительного использования.
Контроль расхода газа
Этот кузнечный горн поддерживает регулировку давления газа для контроля расхода газа путем вращения ручки на регуляторе. Кроме того, выход газа можно контролировать независимо с помощью шарового клапана, который можно легко заменить.
Принадлежности в комплекте
Мы предоставляем полный набор принадлежностей для ковки на нашем пропановом горне, включая газовый шланг длиной 9,8 фута, кронштейн печи, огнеупорный кирпич, высокотемпературную перчатку и щипцы. Так вы сможете раскрыть свой творческий потенциал в кузнечном деле на полную катушку.
Инструкция по эксплуатации
Вот простая инструкция к нашей пропановой кузнице для изготовления ножей.
Шаг 1: Поместите огнеупорный кирпич в печь. Шаг 2: Откройте все газовые впускные клапаны, чтобы выпустить газ в небольшом объеме. Шаг 3: Зажгите газ. Шаг 4: Отрегулируйте давление газа, чтобы контролировать огневую мощь.Содержимое упаковки
- 1 x газовая горн
- 1 x регулятор давления газа
- 1 x 9,8 футов (3 метра) газовый шланг
- 1 x кронштейн печи
- 1 x перчатки
- 1 огнеупорный кирпич
- 1 щипцы
- 1 х ручной
Технические характеристики
- Модель: CMPROF-3+2D
- Материал печи: Сталь 903rAl 16 толщиной (901 мм) Изоляционное покрытие
- Максимальная мощность: 23 кВт·ч / 80000 БТЕ
- Внутреннее пространство: прибл. 12,6 л
- Длина шланга: 3 м 9,8 фута
- Вес изделия: прибл. 46,5 фунтов/21,1 кг
Удовлетворенные отзывы клиентов о газовой горне
«Мы используем одну и ту же горн Tabasco Chile в нашей мастерской уже более 5 лет, и это единственный инструмент
, на который мы всегда можем положиться, он никогда не служил нам плохо для работы, которую мы делаем, и по сей день остается сильным!
Обладая уникальным дизайном и прочной конструкцией, он идеально подходит для всего: от тяжелых декоративных изделий из железа,
, до простых кузнечных работ и сложных сварных работ по изготовлению мечей, которые мы делаем в нашем магазине.
Мы работали над фильмом Marvel Comic ТОР, и нам поручили сделать несколько копий очень большого меча героя,
все они были с легкостью выкованы прямо из нашей одной надежной чили-кузницы.
(бывшая Мастерская Безумных Гномов)Я просмотрел много фотографий и видео так называемого «превосходного» пламени горелки. На видео вашего Superburner
показано единственное правильное пламя, которое я видел на выходе из выставленной на продажу атмосферной горелки.
Майкл Портер (Автор книги «Газовые горелки для кузниц, печей и печей»)Я люблю свою кузницу Чили и использую ее, когда моя жена находится вне поля зрения.
Tore Helliesen, НорвегияВ понедельник я получил кузницу Tabasco, и она заработала в течение 20 минут. Хорошо спроектированный, хорошо собранный и хорошо упакованный.
Ожидание того стоило! – Дон Кадуэлл, КалифорнияВчера я получил свою кузницу. Я хотел бы поблагодарить вас за то, как хорошо он был упакован. Действительно превосходная упаковка.
Я заказываю довольно много товаров онлайн в течение года, и я должен сказать, что у вас, ребята, лучшая упаковка. Ваше здоровье. Никаких повреждений или чего-то не так. Отличная работа. – Грант Хаверсток, Новая Шотландия, Канада…Очень впечатлен. Жар, который испускает Табаско, потрясающий! Кузница стоит каждой копейки. Спасибо
Дональд Гриффин, Нью-ЙоркПостроив в прошлом четыре газовых горна, я могу сказать, что Cayenne превосходит их всех. Он весит меньше, использует меньше газа, имеет большее отверстие, большое улучшение и нагревается намного быстрее, чем все, что я использовал в прошлом. Я мог работать до десяти штук одновременно, кто сказал, что слишком много железа в огне, и самое приятное то, что я ничего не сжег, как в своих угольных или коксовых горнах. Замечательный продукт! Jerry Achterberg, Texas
Я получил свою кузницу Tabasco и подставку вчера днем, установил ее и зажег сегодня утром… отлично работает!
Какой превосходный продукт по сравнению с другими кузницами, которые я собирался приобрести.
Кузница хорошо сложена, а подставка
крепкая — рад, что не сделал свою собственную подставку — я выковал пару щипцов всего за несколько минут после зажигания кузницы.
Я очень доволен своей покупкой и очень рекомендую продукцию Chile forge. Джоэл Чандлер – Южная КаролинаНа прошлой неделе я использовал свою кузницу Habanero, чтобы собрать тестовый нож для моего теста Американского общества кузнецов-подмастерьев.
Кузница отлично поработала. Это кузница, которую я должен был купить в первый раз. – Джо Травьесо, ТехасЗа последние несколько дней я прогнал 140 сварных пикетов через Кайенну.
Я более чем доволен, я в восторге! – Роджер ЛаБраш, АризонаЯ ненавижу свою Chile Forge! Я так чертовски устал и мне так больно, что я едва могу держать банку пива у губ.
До того, как у меня был Чили, и я использовал свою угольную кузню, я мог немного посидеть, может быть, выпить немного пива днем.
У меня всегда было время между битьем по металлу и ожиданием, пока все нагреется.
Теперь, когда у меня есть эта адская пропановая штуковина
, стоит мне отбить кусок металла и положить его обратно в кузницу, по которому готов бить другой. – Дэвид Смит, Южная КаролинаМне это нравится. Я сделал за 45 минут то, на что раньше у меня уходило 3 часа в угольной кузнице. – Уэйн Берд, Техас
Если кузницу можно назвать красивой, то и ваша кузница прекрасна!
Это больше, чем я ожидал. – Боб Эрхарт, МиссуриЯ хотел, чтобы вы знали, насколько я доволен вашей кузницей. Это действительно потрясающе!
Он нагревался даже быстрее, чем те, что я использовал в школе ABS. Я ковал в течение 5-7 минут.
Эффективность его поразительна. Мне кажется, что мой танк почти не использовался. Я более чем доволен.
Это лучшая кузница, которую я когда-либо использовал, и я очень горжусь тем, что она моя. -Уоррен Тандок, КанзасСпасибо за вашу помощь; вы действительно делаете все возможное для своих клиентов. – Дэвид Смит, Южная Каролина
Эта кузница просто чудовище! – Джо Скупа, Айова
Сегодня вечером я зажег новую кузницу.
Ух ты! Эта вещь становится ГОРЯЧЕЙ в спешке.
Абсолютная разница дня и ночи по сравнению с (другим) кузница, которую я использовал.
Я буквально запустил его менее чем за 5 минут. Менее чем через 10 минут после запуска
достиг температуры ковки. Спасибо, что построил мне отличную кузницу! -Джон Хагеманн, ВисконсинНесколько месяцев назад я получил от вас Табаско.
Это здорово – обожаю! Спасибо за отличный продукт. – Джерри Бонд, МиссисипиМоей самодельной кирпичной кузнице потребовалось больше часа, чтобы нагреться до такой степени, чтобы в ней можно было работать. Райан Кабрера, Калифорния
У меня есть мой Habanero почти два месяца, и я должен сказать, что это фантастическое произведение.
Конструкция впечатляет, и Очевидно, вы не использовали ярлыки с этой кузницей.
Никак не мог сделали что-то такое хорошее за деньги, наверное, за любые деньги. – Брайан Харрингтон, ТехасПонятно. Зажег его. Проработал все выходные. Любить это.
Это именно то, что рекламируется и обсуждается. Покрытие на полке работает так, как я и надеялся.
Спасибо за дополнительное время, которое вы провели со мной по телефону – Верн Уиммер, ОрегонПриятно получить продукт, который так же хорош, как рекламируется.- Тони Мертенс, Висконсин
Сегодня утром опробовал свою новую кузницу Tabasco, и она отлично сработала. Загорелся с первого клика и я ковал какие-то крючки
минут пять. Он работает так хорошо, что у меня не было перерывов в ожидании, пока все нагреется. Спасибо за помощь и терпение
с моими вопросами. – Хар Фишер, ФлоридаРаньше у меня было 6 других кузниц. Это первое, что сработало правильно! – Невилл Трокмортон, Калифорния
Только что закончил 15-дюймовый Боуи для клиента в Вермонте. Это работа с кузницей, которую я получил от тебя, была мечтой.
— Стивен Ф. Дуглас-старший, Нью-Йорк10 лучших дешевых газовых горелок для кузницы за деньги — BNB
Покупка товара – это всегда хлопоты.
Во-первых, вы запутались, какой из них выбрать, потому что существует множество похожих продуктов. И, во-вторых, вы не хотите вкладывать средства в продукт, который с самого начала даже не отвечает вашим потребностям.На рынке есть множество товаров для дешевой газовой горелки для кузницы, и большинство из них, вероятно, хорошие. Но вопрос в том, удовлетворяет ли продукт ваши потребности или нет. У каждого продукта есть свои плюсы и минусы. Хороший продукт для кого-то другого может не подойти вам идеально, потому что у вас могут быть другие требования.
Помимо плюсов и минусов, есть несколько основных факторов, которые вы должны проверить перед покупкой. Эти факторы остаются одинаково важными для всех. Вот почему мы подготовили для вас руководство по покупке дешевой газовой горелки Forge, чтобы вы могли с уверенностью совершить покупку.
Будучи партнером Amazon, мы зарабатываем на соответствующих покупках. Подробнее читайте здесь.
1 Портативная пропановая кузница с двойной горелкой с двумя по Портативный 9,3
2 Пропановая газовая кузнечная горелка Кузнечное лезвие по Пропан 9,8
3 DEVIL-FORGE Газопропановая кузница Горелки DFPROF D по ДЭВИЛ-КУЗНИЦА 9,3
4 Двойная газовая горелка Пропановая кузнечная печь Кузнечная печь по Двойной 9,2
5 Ножки GasSaf в оплетке из нержавеющей стали, регулируемые PSI по ГазСаф 8,9
6 DEVIL-FORGE Газовая пропановая кузница DFPROF D Горелка по ДЭВИЛ-КУЗНИЦА 9,5
7 DEVIL-FORGE Farrier Gas Propane Forge DFHS D по ДЭВИЛ-КУЗНИЦА 9.
18 DEVIL-FORGE Газовая пропановая кузница DFS Горелка DFP по ДЭВИЛ-КУЗНИЦА 9,6
9 Sunluway-Open Structure Портативная пропановая кузница с двойной горелкой по Sunluway-Open 9,3
10 Металлическая плавильная печь Горелка Изготовление ножей Кузнец по Металл 9,6
Наши 10 лучших недорогих газовых горелок для кузницы – рекомендуется редактором
Скидка 9%Нет. 1
Переносная пропановая кузница с двойной горелкой с двухсторонней кирпичной дверью, газовая кузница для ковки Оборудование для кузнечных инструментов Изготовление кузнечного ножа – стальная кузница прямоугольной формы
- Кузница входит в комплект горелки, регулятор высокого давления (0-21 фунтов на квадратный дюйм) с 78-дюймовым длинным газом шланговая труба, 6 огнеупорных огнеупорных кирпичей толщиной 1,25 дюйма, инструкция по сборке, руководство пользователя
- Корпус горна из конструкционной стальной трубы.
Стальной корпус горна со стенкой 1/8 дюйма с ручкой для переноски. Ноги горна сварные и прочные. - Сварные кронштейны для передвижного огнеупорного кирпича для закрытия обоих концов горна
- Прямоугольный горн с двойной горелкой с внутренним изоляционным материалом, выдерживающим температуру до 2600°F
- Наше соединение регулятора давления газа подходит для следующих стран: США, КАНАДА , АВСТРАЛИЯ, НОРВЕГИЯ, ШВЕЦИЯ, НОВАЯ ЗЕЛАНДИЯ, ФИНЛЯНДИЯ и ИЗРАИЛЬ.
№ 2
Пропановая газовая кузнечная горелка Кузнечное лезвие Изготовление газовой печи
- В верхней части нашей горелки есть воздушный дроссель, который регулирует количество воздуха, смешиваемого с пропаном, поэтому вы можете получить различное пламя при различном давлении.
- Работа с пропаном высокого давления, сжиженным нефтяным газом, бутаном.
- Наружный диаметр конца камеры: 49 мм, длинная подающая трубка 8 дюймов.

- Латунный игольчатый клапан позволяет точно регулировать пламя.
- Газовая горелка для газовых горнов и плавильных печей, 100 000 БТЕ для каждой отдельной горелки.
№ 3
DEVIL-FORGE Газопропановая кузница DFPROF3+1D/2”, 3 горелки DFP (240.000 BTU) использовать 1, 2 или 3, газовый шаровой кран, 1 дверь, изготовление ножей, кузница, кузнец, 2500°F / 1370°C, двойной Изоляция 2”
- ВНУТРЕННИЕ РАЗМЕРЫ (ШхВхГ): 6 дюймов x 4,4 дюйма x 24 дюйма (150 мм x 110 мм x 600 мм). ВЕС: 46 фунтов / 21 кг. ТЕМПЕРАТУРА: 2500°F / 1370°C
- ФИТИНГ: POL CGA-510. Наша установка готова к использованию в США. Работает со стандартным баллоном с пропаном
- КОРПУС КУЗНИЦЫ ИЗГОТОВЛЕН ИЗ: стали 16 калибра (1,5 мм). РЕГУЛЯТОР ДАВЛЕНИЯ ГАЗА, манометр с монометром МПа. Диапазон давления 0-0,6 МПа (0,1 МПа – 1 бар – 14,5 фунтов на квадратный дюйм)
- ИЗОЛЯЦИЯ: внутренняя часть кузницы полностью облицована 2-дюймовым керамическим покрытием.
Дно горна изготовлено из огнеупорного кирпича, что обеспечивает превосходную прочность и долговечность - КОМПЛЕКТ ВКЛЮЧАЕТ: Газопропановая кузница модели DFPROF3+1D/2” с одной дверью, 3 соединенных горелки DFP, щипцы, огнеупорный кирпич, 1 дверная ручка, регулятор давления газа с манометром, газовый шланг 6,5 футов / 2 м, 2 зажима, огнеупорный отвердитель порошок, кисть, руководство пользователя, термостойкие перчатки (внешний вид перчаток может отличаться)
Сэкономьте 5%Нет. 4
Двойная газовая горелка Пропановая кузнечная печь Кузнечное производство ножей Кузнецы
- Изготовлено из стали толщиной 1,5 мм Металлические листы
- Две горелки с индивидуальным управлением шаровыми кранами
- Наше соединение регулятора давления газа подходит для следующих стран: США, КАНАДА, АВСТРАЛИЯ, НОРВЕГИЯ, ШВЕЦИЯ, НОВАЯ ЗЕЛАНДИЯ, ФИНЛЯНДИЯ и ИЗРАИЛЬ.
- Сокращение расхода топлива
- Пропановая кузня с двойной горелкой, мощностью 2600 градусов и большой зоной нагрева, покрытой одеялом из керамического волокна высокой плотности толщиной 1 дюйм
Скидка 20%Нет.
5GasSaf 5 футов в оплетке из нержавеющей стали 20 фунтов на квадратный дюйм Регулируемый шланг регулятора пропана с QCC-1 / тип, регулятор низкого давления газового гриля для горелки, фритюрницы для индейки, кузницы, коптильни и т. д.
- Инструмент не требуется, простое и быстрое крепление для облегчения установки
- Красная ручка может быть регулируемым диапазоном давления 0-20PSI, максимум 95000 BTU в час
- Подходит для большинства обогревателей, каминов, костровых ям и различных устройств высокого давления Например, горелки, плиты и фритюрницы для индейки
- 5-футовый шланг высокого давления используется для различных применений с высоким давлением
- Отлично подходит для поворотного фитинга с раструбом 3/8 дюйма и соединителя QCC-1/Type-1 для баллона с пропаном. Барбекю, кемпинг, вечеринка у задней двери, потребности в отоплении или приготовление пищи в патио/кемпинге на открытом воздухе
№ 6
DEVIL-FORGE Газопропановая кузня DFPROF1+2D, 1 горелка DFP (80.
000 BTU), газовый шаровой кран, 2 двери, изготовление ножей, кузнечное дело, кузнечное дело, 2500°F / 1370°C- ИЗОЛЯЦИЯ: внутренняя часть кузницы полностью облицован керамическим покрытием толщиной 1 дюйм. Дно кузницы изготовлено из огнеупорного кирпича, что обеспечивает превосходную прочность и долговечность.
- КОМПЛЕКТ ВКЛЮЧАЕТ: Газопропановая кузня Модель: DFPROF1+2D, 1 горелка DFP, 2 дверные ручки, щипцы, огнеупорный кирпич, регулятор давления газа с манометром, газ 6,5 футов / 2 м. шланг, 2 хомута, порошок огнеупорного отвердителя, кисть, руководство пользователя, термостойкие перчатки (внешний вид перчаток может отличаться)
- ВНУТРЕННИЕ РАЗМЕРЫ (ШxВxГ): 4,8 x 4,8 x 10 дюймов (120 мм x 120 мм x 250 мм). ВЕС: 16 фунтов / 7 кг. ТЕМПЕРАТУРА: 2500°F / 1370°C
- ФИТИНГ: POL CGA-510. Наша установка готова к использованию в США. Работает со стандартным баллоном с пропаном
- КОРПУС КУЗНИЦЫ ИЗГОТОВЛЕН ИЗ: стали 16 калибра (1,5 мм). РЕГУЛЯТОР ДАВЛЕНИЯ ГАЗА, манометр с монометром МПа.
Диапазон давления 0-0,6 МПа (0,1 МПа – 1 бар – 14,5 фунтов на квадратный дюйм)
№ 7
DEVIL-FORGE Farrier Gas Propan Forge DFHS1+1D/2.8”, 1 горелка DFP (80.000 BTU), газовый шаровой кран, 1 дверь, изготовление подков, изготовление ножей, кузнечное дело, 2500°F / 1370°C
- КОМПЛЕКТ ВКЛЮЧАЕТ: Газопропановая кузница Модель: DFHS1+1D/2.8″ с одной дверью, 1 горелка DFP, щипцы, огнеупорный кирпич, 1 дверная ручка, регулятор давления газа с манометром, газовый шланг 6,5 футов / 2 м, 2 зажима, огнеупор порошок отвердителя, кисть, руководство пользователя, термостойкие перчатки (внешний вид перчаток может отличаться)
- КОРПУС КУЗНИЦЫ ИЗГОТОВЛЕН ИЗ: стали 16 калибра (1,5 мм) РЕГУЛЯТОР ДАВЛЕНИЯ ГАЗА, манометр с монометром МПа Диапазон давления 0- 0,6 МПа (0,1 МПа – 1 бар – 14,5 фунтов на квадратный дюйм)
- ИЗОЛЯЦИЯ: внутренняя часть горна полностью покрыта керамическим покрытием толщиной 1 дюйм.
Дно горна изготовлено из огнеупорного кирпича, что обеспечивает превосходную прочность и долговечность - ВНУТРЕННИЕ РАЗМЕРЫ (ШхВхГ): 7,2″ x 2,8″ x 10″ (180 мм x 70 мм x 250 мм). ВЕС: 19 фунтов / 8,8 кг. ТЕМПЕРАТУРА: 2500°F / 1370°C
- ФИТИНГ: POL CGA-510. устройство готово к использованию в США. Работает со стандартным баллоном с пропаном
№ 8
DEVIL-FORGE Газовая пропановая кузница DFS, 1 горелка DFP (80 000 BTU), газовый шаровой кран, изготовление ножей, кузнечное дело, кузнечное дело, 2500°F / 1370°C
- ФИТИНГ: POL CGA-510. Наша установка готова к использованию в США. Работает со стандартным баллоном с пропаном
- ИЗОЛЯЦИЯ: внутренняя часть кузницы полностью облицована керамическим покрытием толщиной 1 дюйм. Дно горна изготовлено из огнеупорного кирпича, что обеспечивает превосходную прочность и долговечность.
- ВНУТРЕННИЕ РАЗМЕРЫ (ШxВxГ): 5,6 x 5,6 x 10 дюймов (140 мм x 140 мм x 250 мм).
Высота с керамическим огнеупорным кирпичом: 4 дюйма (100 мм). ВЕС: 10 фунтов (5 кг). ТЕМПЕРАТУРА: 2500°F / 1370°C - КОМПЛЕКТ ВКЛЮЧАЕТ: Газопропановая кузница Модель: DFS, 1 горелка DFP, щипцы, огнеупорный кирпич, регулятор давления газа с манометром, газовый шланг 6,5 футов / 2 м, 2 зажима, порошок огнеупорного отвердителя, щетка , Руководство пользователя, Термостойкие перчатки (внешний вид перчаток может отличаться)
- КОРПУС КУЗНИЦЫ ИЗГОТОВЛЕН ИЗ: стали 21 калибра (0,8 мм). РЕГУЛЯТОР ДАВЛЕНИЯ ГАЗА, манометр с монометром МПа. Диапазон давления 0-0,6 МПа (0,1 МПа – 1 бар – 14,5 фунтов на квадратный дюйм)
№ 9
Портативная пропановая кузница Sunluway-Open Structure с двойной горелкой, портативная пропановая кузница большой емкости для оборудования для изготовления ножей и инструментов
- Размер: фактический размер кузницы Высота 20,48 дюйма, внутренний фактический размер 9,05 дюйма/230 мм, длина 18,9 дюйма
- Содержимое упаковки : Идеальный комплект для ковки поставляется с пропановой печью / двойной горелкой / регулируемым регулятором пропана 20 фунтов на квадратный дюйм / соединением QCC1-Type 1 и фитингом с внутренней резьбой 3/8 дюйма / огнеупорным кирпичом.
Обеспечьте безопасность и удобство использования. - 100% гарантия качества: если вы не на 100% удовлетворены нашим товаром, пожалуйста, свяжитесь с нами, просто верните его для полного возмещения в течение 30 дней. Премиум-поддержка и 12-месячная гарантия
- Мощные тепловые характеристики: Пропановая ковочная печь может быть нагрета до Максимальная температура может достигать 1425 ℃ / 2600 °F, Обеспечивает превосходное отражение тепла, позволяя работать при более высоких температурах и противостоять высокоскоростному обжигу, Позвольте вам стать лучше получайте удовольствие от ковки!
- Широкое применение: высококачественная кузнечная печь. Подходит для изготовления ножей, лезвий, щипцов, инструментов или подков, модификации металлических деталей и т. д., для нагрева и гибки металлов: золота, стерлингового серебра, чистой меди, алюминия и т. д., независимо от того, являетесь ли вы новичком. или опытный мастер, этот костюм для кузнечной печи может удовлетворить ваши потребности.

№ 10
Металлическая плавильная печь Горелка Нож Изготовление кузнечного газа Пропановая кузница
- 2-дюймовый воздушный дроссель горелки (трехходовой тройник с 2 отверстиями) обеспечивает максимальный поток воздуха в трубу. устойчив к коррозии Одинарная газовая горелка (см. размер на фото), внешний размер кузницы: 6” (В) x 6” (Ш) x 10” (Д) (16 см x 16 см x 24 см).Внутренний размер кузницы: 4 “(В) x 4″ (Ш) x 10″ (Д). Высота с кирпичом: 3” (7 см), внутренняя часть полностью облицована керамической ватой толщиной 1 дюйм. Вес: 10 фунтов (5,2 кг).
- Регулируемый манометр регулятора газа высокого давления от 0 до 30 фунтов на кв. дюйм, шланг длиной 5 футов (1,5 м). Охватываемый конец соединяется с пропановым баллоном стандартного размера USA QCC-1/Type-1, а охватывающий конец присоединяется к раструбному фитингу 5/8”. Подходит для баллонов с пропаном в США, Канаде, Мексике, Австралии.
Вы можете контролировать расход газа, регулируя давление газа, БТЕ одной горелки составляет около 100 000 БТЕ. - Пропановая кузница — эффективный инструмент для кузнецов, мастеров-любителей, ювелиров, кузнецов и кузнецов с термостойкостью до 2600°F. Он идеально подходит для нагрева и гибки металлов, а также для отпуска и термической обработки небольших ножей и мелких инструментов.
На что обратить внимание перед покупкой дешевой газовой горелки для кузницы
Теперь, когда вы знаете, какие товары в настоящее время занимают лидирующие позиции на рынке, пришло время для руководства по покупке. Здесь мы поговорим о вещах, на которые следует обратить внимание, прежде чем нажимать кнопку «Купить сейчас». Поскольку у всех разные потребности в одном и том же продукте, важно знать, какой из них соответствует требованиям.
Используемый материал
Прежде чем вы даже подумаете о том, чтобы получить в свои руки дешевую газовую горелку для кузницы, важно учитывать материал, используемый в ней.
Мы все хотим потратить наши деньги на что-то, что, как мы точно знаем, прослужит долго. При этом используемый материал является одним из наиболее важных факторов, обеспечивающих его долговечность.Кроме того, используемый материал напрямую связан с повреждениями, которые он может выдержать. Ожидается оговорка, и если вы пойдете на компромисс с материалом, то вы поставите под угрозу его способность выживать.
Гарантия
Это общее правило применимо ко всему, и его, безусловно, стоит здесь упомянуть. Наличие гарантии на продукт, который вы будете покупать, является большим облегчением, поскольку, если что-то пойдет не так, производители позаботятся об этом.
Гарантии не предоставляются компаниями, которые сами не уверены в своей продукции. Наоборот, компании, которые предоставляют услуги, — это те, которые уверены в своем продукте и готовы сделать на него ставку. В результате у вас нет шансов получить неисправный продукт и уйти с ним.
Стоимость бренда
Какую обувь вы бы выбрали, если бы прямо сейчас у вас был выбор между обувью бренда Retalie и парой из линии Nike? Без сомнения, любой предпочел бы Nike бренду, о котором он не слышал.
Это потому, что им удалось создать ценность бренда, продавая подлинные продукты и обеспечивая удовлетворенность клиентов.Аналогично, этот пример подходит для всего. Покупка продукта от известного бренда намного лучше, чем покупка у того, о котором вы не слышали. Есть причина, по которой вы слышали о них.
В основном потому, что они удовлетворили своих клиентов товарами и заработали заведение. В результате они с меньшей вероятностью вручат вам что-то плохое.
Цена против стоимости
Цена продукта может быть любой, но ценность может быть только одна. Продавец может попросить что угодно за дешевую газовую горелку для кузницы, но главный вопрос заключается в том, является ли это реальной стоимостью продукта или нет. Суть здесь в том, чтобы решить, стоит ли цена, которую вы платите, того или нет.
Если выбранное вами устройство имеет специальную функцию, которую не может предоставить ни один из других производителей, и просит более высокую цену, то это вполне допустимо.
Здесь вы будете судьей и решите, стоят ли эти дополнительные пять баксов за эту особенность или нет.Отзывы
Единственный способ, которым вы можете судить о желаемом товаре, это отзывы покупателей. Отзывы являются решающим фактором, который может мгновенно изменить ваше решение и сообщить вам о недостатках, которые компании пытаются скрыть. Таким образом, просмотр обзоров отдельных продуктов может помочь вам определить, какой из них является подлинным и имеет скрытые недостатки.
Часто задаваемые вопросы
Наконец, статья о дешевой газовой горелке для кузницы без раздела вопросов-ответов совершенно неполная. Что ж, не беспокойтесь об этом, так как мы собрали самые важные часто задаваемые вопросы, которые остались без ответа. Вопросы в основном охватывают фундаментальные вопросы, но их определенно стоит прочитать, так как большинство из нас упускают из виду основы и остаются в неведении.
Как определить долговечность дешевой газовой горелки для кузницы?
Прочность зависит от используемого материала.
Таким образом, вы можете выполнить простой поиск в Google по названию продукта и найти материал, который они использовали.Стоит ли покупать дешевую газовую горелку для кузницы?
Вам решать, нужен он вам или нет. Если вы думаете, что это облегчит вашу жизнь, то нет причин не попробовать их. Тем не менее, убедитесь, что у него есть функции, которые вам нужны, иначе это пустая трата времени.
Где я могу найти гарантию дешевой газовой горелки для кузницы?
Гарантия — это то, чем гордятся все поставщики и производители. Таким образом, если они действительно предоставляют гарантию, вы сможете легко найти ее на любом веб-сайте продукта.
Заключительное слово
В заключение, вы готовы купить свою дешевую газовую горелку для кузницы, не задумываясь. Мы надеемся, что смогли разобраться в запутанных частях этих продуктов. Кроме того, руководство по покупке поможет вам с факторами, которые необходимо учитывать при покупке.

