Н 125 – H125 – Airbus Helicopters
alexxlab | 09.06.2020 | 0 | Разное
Вертикально сверлильный станок 2Н125: описание, технические возможности
Простота конструкции, надежность, точность обработки, универсальность – эти свойства более 60 лет делают вертикально-сверлильный станок модели 2Н125 популярным среди профессионалов. Он дает возможность выполнять подрезки торцов деталей, развертывания, зенкерования и еще многих процедур, доступных не каждому современному оборудованию.

Оглавление:
- Общая информация
- Конструкционные элементы
- Модификации
- Преимущество оборудования
Назначение, обзор функций
Для станка характерно формирование отверстий с максимальным размером сечения 25 мм. Это обуславливает основную сферу его использования в мелкосерийном производстве.
1. 2Н125 относится к 4 категории, классу точности «Н» и соответствует ГОСТ 15150.69:
- обеспечивает нужную схему при обработке деталей;
- имеет необходимые параметры оборотов и подач;
- доступность работы с любым видом материала, включая высокопрочные сплавы.
2. Размеры вертикально-сверлильного станка допускают использование заготовок нестандартных форм с большими габаритами.
3. Электродвигатель имеет механизм реверсирования, благодаря которому можно нарезать резьбу.
4. Рабочий стол можно переместить вверх и вниз на 27 см, а шпиндель >12 cм.
Кинематическая схема у станка 2Н125 несложная, но эффективная. Ремонтные работы выполняются стандартным набором инструментов. Устройство может работать в сложных условиях, позволяя использовать свои эксплуатационные функции по максимуму:
- шпиндель может вращаться с частотой 45-2000 об/мин;
- регулировка скорости вращения 12 ступенчатая;
- на станке предусмотрено 9 рабочих передач.
Управление и настройка 2Н125 происходит в ручном режиме. Допускается подключение к одно- и трехфазной сети.
| Параметры оборудования | Значение | ||
| Ø(max) сверления, мм | 25 | ||
| Питание | Напряжение, В | 220-380 | |
| Мощность кВт | 2,2 | ||
| Расстояние, мм | От стойки до сверла | 250 | |
| Шпиндель (min – max) | Стол | 60-700 | |
| Плита | 690-1060 | ||
| Параметры стола, мм | Поверхность для работы | 400х450 | |
| Вертикальное перемещение 2Н125 | 270 | ||
| Число пазов Т-образной формы | 3 | ||
| Шпиндель | Наибольшее перемещение, мм | Установочное | 170 |
| Ходовое | 200 | ||
| Частота оборотов, об/мин |
| 45-2000 | |
| Количество скоростей | 12 | ||
| Количество передач | 9 | ||
- Оборудование стоит купить при необходимости изготовления мелких деталей для приборов.
- У вертикально-сверлильного станка 2Н125 фактически все блоки идентичны аналогичным агрегатам и взаимозаменяемы.
Габариты 2350х785х915 и вес равный 880 кг позволяют установить его практически в любом производственном помещении, но сильно ограничивают территорию при индивидуальном применении.

Характеристики, разновидности и нюансы
Реверсное устройство, конструктивно предусмотренное в вертикально-сверлильном станке, позволяет использовать метчики для нарезания резьбы.
1. 2Н125 имеет стандартную комплектацию, но может оснащаться дополнительными узлами.
2. Электрооборудование имеет несколько степеней защиты от перегрузки:
- катушки;
- тепловые реле;
- магнитные пускатели.
Обязательным у 2Н125 является подключение электросхемы к центральному заземлению в целях предохранения от замыкания. Для этого оборудование имеет кронштейн.
| Наименование | Использование | ||
| Станина (фундаментная плита) с колонной | Являются снованием; внутри колонны расположена система охлаждения с резервуаром отстаивания жидкости. Большая часть деталей плиты выполняется из чугуна. | Обеспечивает устойчивость вертикально-сверлильных станков, имеет большой вес. Колонна жестко закрепляется; дает невосприимчивость к вибрационным нагрузкам. На данный узел устанавливается электродвигатель. | |
| Стол | Имеет пазы в форме Т. | Может менять расположение в вертикальной плоскости. | |
| Головка сверления | Коробчатая отливка на стойке, в которой у 2Н125 расположены: противовес шпинделя, а также устройства подач и переключения скоростей с ременным приводом. Допускается замена шкивов клиноременной передачи для достижения параметров скорости вращения шпинделя, подходящих для решения поставленной технологической цели. | ||
| Коробка подач | 4 вала с расположенными на них блоками подвижных шестерней, соединенных в комплекс2х3. | Выполняет до 9 подач разного значения. Имеется кулачковая муфта, защищающая все части блока от поломок при возникновении критической нагрузки, а также при проведении операции с упором. | |
| Коробка скоростей с приводом | Подает вращательное движение на шпиндель. | Закрепляется на станине. | |
| Система смазки | Осуществляется плунжерным насосом. | Для контроля расхода имеется маслоуказатель. | |
| Блок переключения | Подач | 6 положений: 3 на ост, 3 на окружности. | Процесс у 2Н125 производится ручкой. Рабочий требуется контроль количества запущенных операций. |
| Скоростей | 7 точек: 3 вдоль оси, остальные по окружности. | ||
| Шпиндельная головка | Место крепления патрона под сверла. Нижнему подшипнику передается усилие подачи по оси, а верхний принимает усилия выбивки. | Технические характеристики предусматривают в 2Н125 только 1 узел этого типа. Расположена на вертикальной колонне. | |

Модельный ряд
С момента первого изготовления со станком 2Н125 неоднократно проводили работы по технологическому улучшению, в результате которых было разработано и выпущено множество разных модификаций.
- Модели имеют мало отличающуюся кинематическую основу , по принципу действия схожи с базовым устройством.
- Среди усовершенствованных агрегатов есть станки не с одной сверлильной головкой. Это дает возможность устанавливать множественной установки инструментов, в разы увеличивая производительность.
| Модель | Тип изменения | Нюансы |
| 2Н125А | Процесс сверления автоматизирован. | Параметры выставляются перед началом операции, впоследствии осуществляется их контроль. |
| 2Н125С | Вертикально-сверлильный станок, имеющий многофункциональный шпиндельный блок, несколько гнезд для крепления инструментария. | Головки установлены на пиноли фланцевого типа. Повышение эффективности и скорости обработки. |
| 2Н125Н | Добавлены многошпиндельные головки для сверления, а также столы с функцией поворота. | Расширенный функционал, выполнение действий более удобно, чем в 2Н125. |
| 2Н125К | Операционный стол крестообразной конструкции. | Координатный плоскостной механизм. |
| 2Н125Ф2 | Задействована система ЧПУ, имеются крестового вида стол и головка револьверного типа. | |
Имеющийся тип изменения можно определить по последней литере в цифробуквенном обозначении станка.
- Для удобства обслуживания и ремонта у 2Н125 и всех его модификаций доступ к электрооборудованию и основным узлам управления происходит через специальный шкаф.
- Шпиндель устанавливается стандартного исполнения с конусом по форме М3. Его головка может смещаться не более чем на 170 мм, при ходе в 200 мм.
- На всех агрегатах, согласно техническим характеристикам, стоит электродвигатель Х14-22М, мощность которого равна 2,2 кВт.
- Рабочие подачи, холостой ход и большинство остальных параметров идентичны.
- Работа двигателя, реверсный ход запускаются кнопочным выключателем.
Главным отличием более современных моделей является наличие автоматики и ЧПУ. Однако большинство вертикально-сверлильных станков оснащено ручной механикой.
Преимущества модели
Главным плюсом станка 2Н125 можно назвать отсутствие специальных требований к условиям организации его работы. Основное, что необходимо осуществить после установки и наладки агрегата:
- проверить отсутствие дефектов внутри и снаружи узлов;
- дать станку немного поработать на холостых оборотах.
Любые ремонтные работы выполняются при полном отключении электропитания.
- Конструкция 2Н125 имеет систему охлаждения детали в случае ее нагрева при обработке. Для этого над операционной поверхностью выводится трубка, которая может менять свое положение.
- Технические характеристики дают возможность перенастраивать режим подачи, при этом не требуется полностью останавливать шпиндель.
- Допускается использование сверл любых типов и установка разных мечиков.
- Максимальная высота заготовки, в которой допустимо сверление отверстия, равна 27 см.
Универсальность вертикально-сверлильных станков позволяет в равной степени использовать их на дерево и металлообрабатывающих предприятиях.

1. Данное оборудование стоит приобрести для:
- зенкерования и зенкования;
- развертывания отверстий;
- растачивания отверстий;
- нарезания резьбы;
- выглаживания.
Кроме того его можно купить для выполнения мелких фрезерных и прочих операций.
2. У 2Н125 необходимость в ремонтах из-за нестабильной работы узлов минимальна. Но для поддержания равновесия нужно соблюдать основные положения по эксплуатации указанные в паспорте:
- использовать только исправные приспособления и инструменты;
- обязательно охлаждать станок во время работы;
- при сверлении периодически освобождать инструмент от стружки.
- после достижения требуемой глубины сверления;
- при критических нагрузках, для защиты от поломки.
Вертикально-сверлильный агрегат 2Н125 и его модификации имеют минимальное количество недостатков. Наибольшее нарекание у операторов вызывает отсутствие механизма быстрой остановки двигателя. Данное действие можно произвести только путем перевода в нейтральное положение рычага коробки скоростей.
orgstanki.ru
Французский вертолет Airbus h225. Характеристики, видео и обзор H 125
Вертолет h225 представляет собой переименованный давно зарекомендовавший себя легкий многоцелевой одномоторный вертолет AS350 B3e от европейского производителя Airbus Helicopters.
В 2015 году компания решила изменить названия всех моделей своих вертолетов.
AS350 B3e – легкий однодвигательный вертолёт, отличающийся низкими эксплуатационными расходами. Машина оснащена новым двигателем Turbomeca Arriel 2D с двойной цифровой системой управления. Этот двигатель мощностью 847 л.с. обеспечивает хорошую скорость (максимальная 287 км/ч), повышенную надежность и снижение затрат на обслуживание. Два многофункуиональных ЖК-дисплея позволяют контролировать основные параметры работы вертолета, что снижает нагрузку на пилотов и увеличивает безопасность их работы.
Салон вертолета может иметь разное расположение сидений:
1 пилот 5 пассажиров в стандартном оформлении
1 пилот 4 или 5 пассажира в комфортном оформлении
1 пилот 6 пассажиров в оформлении с высокой плотностью компоновки
1 пилот 2 врача 1 носилки
Транспортировка груза 1 пилот 3 м3 груза в кабине.

Размеры
диаметр несущего винта, (м) 10,8
число лопастей, (шт) 3
Характеристики двигателя
1 х газотурбинный двигатель TURBOMECA ARRIEL 2D
Максимальная взлетная мощность AS350 B3e847 л. с. / 632 кВт
Масса
взлетная масса, (т) 2,25
максимальная взлетная масса, (т) 2,8
вес пустого вертолета, (т) 1,228
грузоподъемность, (т) 1,4
Летно-технические характеристики
максимальная скорость, (км/ч) 290
крейсерская скорость, (км/ч) 200
дальность полета с максимальной нагрузкой, (км) 600
потолок в условиях МСА при нормальном взлетном весе, статический (БВЗ) (не менее), (м) 4200
потолок в условиях МСА при нормальном взлетном весе, динамический (не менее), (м) 7000
Число мест (стандарт)
летный экипаж 1
Количество пассажиров 5
Размер грузовой кабины
длина, (м) 5,34
ширина, (м) 2,34
высота, (м) 1.8
Как сообщал “Российский Диалог”, Украина достигла договоренность с французскими компаниями – мировыми лидерами вооружений.
Сделал это президент Украины Петр Порошенко в рамках рабочего визита во Францию. Представители ГХВИФ “Укринмаш” подписали контракт с французской компанией Thales Communication & Security S.A.S на поставки для нужд Вооруженных сил Украины средств тактической радиосвязи.
С компанией Thales Systems Aeroportes S.A. был заключен Меморандум о взаимопонимании относительно совместного проекта по созданию современного патрульного самолета. Также это предприятие заключило протокол с компанией Airbus Helicopters S.A.S. относительно поставок одномоторных вертолетов h225.
www.rusdialog.ru
Вертикально-сверлильный станок 2н125
Наибольший диаметр обрабатываемого отверстия в заготовке из стали — 25 мм. Мощность двигателя = 2,8 кВт; КПД станка n = 0,8. Частота вращения шпинделя, мин-1= 45; 63; 90; 125; 180; 250; 355; 500; 710; 1000; 1400; 2000. Подача, мм/об: 0,1; 0,14; 0,2; 0,28; 0,4; 0,56; 0,8; 1,12; 1,6. Максимальная осевая сила резания, допускаемая механизмом подачи станка, Р = 900 кгс 9000 Н.
Зубофрезерный станок 53а50
Наибольший наружный диаметр нарезаемого колеса 500 мм. Наибольший модуль нарезаемого колеса 8 мм. Мощность двигателя Nд = 8 кВт; КПД станка n = 0,65. Частота вращения шпинделя, мин-1; 40; 50; 63; 80; 100; 125; 160; 200; 240; 315; 405. Вертикальная подача суппорта (фрезы) за один оборот заготовки, мм/об: 0,75; 0,92; 1,1; 1,4; 1,7; 2,0; 2,2; 2,5; 2,8; 3,1; 3,4; 3,7; 4,0; 5,1; 6,2; 7,5. Радиальная подача, мм/об: 0,22; 0,27; 0,33; 0,4; 0,48; 0,55; 0,66; 0,75; 0,84; 1,0; 1,2; 1,53; 1,8; 2,25.
Круглошлифовальный станок 3м131
Наибольшие диаметр и длина шлифуемой поверхности: 280X700 мм. Мощность двигателя шлифовальной бабки Nд = 7,5 кВт; КПД станка n = 0,8. Частота вращения круга, мин-1: 1112 и 1285. Частота вращения обрабатываемой заготовки, мин-1: 40—400 (регулируется бесступенчато). Скорость продольного хода стола 50— 5000 мм/мин (регулируется бесступенчато). Периодическая поперечная подача шлифовального круга 0,002—0,1 мм/ход стола (регулируется бесступенчато). Непрерывная подача для врезного шлифования 0.1-4.5 мм/мин. Размеры шлифовального круга (нового): Dm= 600 мм; В = 63 мм.
Остальные марки оборудования (включая загрузочные и бункерные устройства, накопители, контрольно-измерительные устройства, манипуляторы и т.п.) приведены в приложение 1.
3.7 Применяемый измерительный инструмент
Штангенциркуль ШЦ-I – штангенциркуль с двусторонним расположением губок для измерения наружных и внутренних размеров и с линейкой для измерения глубин.
Диапазон измерений, мм: 0 – 125. Цена деления, мм: 0.1. Класс точности: 1. Степень точности данного штангенциркуля позволяет измерять 3, 4, 5 и 10 поверхности вала.
Рисунок 25. Штангенциркуль ШЦ-I
Штангенциркуль ШЦ-3-4000 0,1мм губки 150мм предназначены для измерения наружных и внутренних размеров. Этот штангенциркуль III типа – с односторонним расположением губок. Диапазон измерений, мм: 0 – 4000. Цена деления, мм: 0.1. Класс точности: 1. Степень точности данного штангенциркуля позволяет измерять 3, 4, 5 и 10 поверхности вала, а так же общую длину вала.
Рисунок 26. Штангенциркуль ШЦ-III-4000
Микрометр МК 25-50 предназначен для измерения наружных размеров изделий. Измерительные поверхности микрометра оснащены твердым сплавом. Диапазон измерений 25 – 50 мм, цена деления 0.01 мм. Данным микрометром производим контроль размеров 2, 7 и 11 поверхностей.

Рисунок 27. Микрометр МК 25-50
МИКРОМЕТР МЗ 25-50 предназначены для измерения длины общей нормали зубчатых колес с модулем от 1 мм. Микрометры с верхним пределом диапазона измерения 50 мм и более укомплектованы установочной мерой-концевой плоскопараллельной мерой длины. Номинальный диаметр измерительных поверхностей пятки и измерительной губки не менее 24 мм. Допускается изготовление пятки со срезанной измерительной поверхностью. Данным микрометром проверяем размер общей нормали.

Рисунок 28. Микрометр МЗ 25-50
Схема измерения 4 поверхности штангенциркулем представлена на рисунке 26.

Рисунок 29. Схема измерения штангенциркулем
Схема измерения 7 поверхности микрометром представлена на рисунке 26.

Рисунок 30. Схема измерения микрометром
Так как вал выпускается серийно, необходимо использовать контрольно измерительный инструмент, это калибр-скоба и резьбовой калибр. Калибром-скобой контролируем размер 2 и 7 поверхностей, резьбовым калибром – производим контроль резьбы. На рисунке 31 представлена калибр-скоба, на рисунке 32 резьбовой калибр.
Рисунок 31. Калибр скоба.
Рисунок 32. Резьбовой калибр-пробка.
studfiles.net
Французский вертолет Airbus h225. Характеристики, видео и обзор H 125
Вертолет h225 представляет собой переименованный давно зарекомендовавший себя легкий многоцелевой одномоторный вертолет AS350 B3e от европейского производителя Airbus Helicopters.
В 2015 году компания решила изменить названия всех моделей своих вертолетов, передает “Российский Диалог”.
AS350 B3e – легкий однодвигательный вертолёт, отличающийся эксплуатационными расходами. Машина оснащена новым двигателем Turbomeca Arriel 2D с двойной цифровой системой управления. Этот двигатель мощностью 847 л.с. обеспечивает хорошую скорость (максимальная 287 км/ч), повышенную надежность и снижение затрат на обслуживание. Два многофункуиональных ЖК-дисплея позволяют контролировать основные параметры работы вертолета, что снижает нагрузку на пилотов и увеличивает безопасность их работы.
Салон вертолета может иметь разное расположение сидений:
1 пилот 5 пассажиров в стандартном оформлении
1 пилот 4 или 5 пассажира в комфортном оформлении
1 пилот 6 пассажиров в оформлении с высокой плотностью компоновки
1 пилот 2 врача 1 носилки
Транспортировка груза 1 пилот 3 м3 груза в кабине.
Размеры
диаметр несущего винта, (м) 10,8
число лопастей, (шт) 3
Характеристики двигателя
1 х газотурбинный двигатель TURBOMECA ARRIEL 2D
Максимальная взлетная мощность AS350 B3e847 л. с. / 632 кВт
Масса
взлетная масса, (т) 2,25
максимальная взлетная масса, (т) 2,8
вес пустого вертолета, (т) 1,228
грузоподъемность, (т) 1,4
Летно-технические характеристики
максимальная скорость, (км/ч) 290
крейсерская скорость, (км/ч) 200
дальность полета с максимальной нагрузкой, (км) 600
потолок в условиях МСА при нормальном взлетном весе, статический (БВЗ) (не менее), (м) 4200
потолок в условиях МСА при нормальном взлетном весе, динамический (не менее), (м) 7000
Число мест (стандарт)
летный экипаж 1
Количество пассажиров 5
Размер грузовой кабины
длина, (м) 5,34
ширина, (м) 2,34
высота, (м) 1.8
Как сообщал Dialog.ua, Украина достигла договоренность с французскими компаниями – мировыми лидерами вооружений.
Сделал это президент Украины Петр Порошенко в рамках рабочего визита во Францию. Представители ГХВИФ “Укринмаш” подписали контракт с французской компанией Thales Communication & Security S.A.S на поставки для нужд Вооруженных сил Украины средств тактической радиосвязи.
С компанией Thales Systems Aeroportes S.A. был заключен Меморандум о взаимопонимании относительно совместного проекта по созданию современного патрульного самолета. Также это предприятие заключило протокол с компанией Airbus Helicopters S.A.S. относительно поставок одномоторных вертолетов h225.
www.dialog.ua
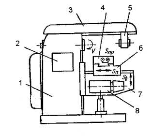
2.2Характеристика сверлильного станка 2н125л
1.Назначение. Универсальный облегченно-упрощенный вертикально-сверлильный станок 2Н125Л предназначен для сверления, рассверливания, зенкерования, развертывания.

Фундаментная плита; 2. Колонна; 3. Стол; 4. Кронштейн; 5. Коробка подач; 6. Коробка скоростей.
Рисунок 2. Общий вид сверлильного станка 2Н125Л
Станок состоит из: На фундаментной плите 1 смонтирована колонна 2. В верхней части колонны расположена коробка скоростей 6, через которую шпинделю с режущим инструментом сообщают главное вращательное движение. Движение подачи (поступательное вертикально) инструмент получает через коробку подач 5, расположенную в кронштейне 4. Совмещение оси вращения инструмента с заданной осью отверстия достигается перемещением заготовки
Расшифровка 2Н125Л
Буквенно-цифирный индекс сверлильного станка 2Н125Лобозначает следующее: цифра 2- группа “сверлильные и расточные”; Буква Н1- Класс точности станка – Н1- нормальный. Цифра 25 – условный диаметр сверления.
2.3 Характеристика фрезерного станка 6н81г
1. Назначение: Фрезерный станок 6Н81Г предназначен для фрезерования плоскостей небольших деталей различной конфигурации из стали, чугуна и цветных металлов цилиндрическими, дисковыми, торцовыми, фасонными и другими фрезами. Широкая техническая характеристика станка позволяет использовать быстрорежущий инструмент. Применяется в единичном, серийном и крупносерийном производстве.

1-станина;2-коробка скоростей;3-хобот;4-стол;5-подвеска;6-салазки;7- консоль; 8-коробка передач.
Рисунок 3. Общий вид станка фрезерного 6Н81Г
2. Станок состоит из: В станине 1 станка размещена коробка скоростей 2. По вертикальным направляющим станины перемещается консоль 7. Заготовка, устанавливаемая на столе 4 в тисках или приспособлении, получает подачу в трех направлениях: продольном (перемещение салазок по направлению салазок 6), поперечном (перемещение консоли по направляющим станины). Главным движением является вращение шпинделя. Коробка подач 8 размещена в консоли. Хобот 3 служит для закрепления подвески 5, поддерживающей конец фрезерной оправки.
3.Расшифровка 6н81г
Буквенно-цифирный индекс сверлильного станка 6Н81Гобозначает следующее: цифра 6– группа фрезерных станков, Н – серия (поколение) станка; 8 – номер подгруппы , 1 – исполнение станка – типоразмер (1 – размер рабочего стола – 250 х 1000
2.5 Характеристика отрезного станка
1. Назначение: Отрезной станок предназначен для разрезания деталей без прожогов поверхностей резания и может быть использован при изготовлении образцов, для металлографического анализа, в исследовательских целях машиностроительной отрасли.

Тумба 2. Станок 3. Кожух 4. Пульт управления5. Насосная станция 6. Вертикальная стойка. 7. Верхняя ось. 8. Поворотное коромысло 9. Режущий диск 10. Электродвигатель 11. Рукоятка 12. Нижняя ось 13. Корпус 14. Упругий торсион. 15. Станина 16. Пружина 17. Эксцентриальные тиски. 18. СОЖ 19. Прозрачный экран 20. Окна 21. Резиновые щитки 22. Радиальный паз 23.Резиновые щитки 24. Пускатель 25. Кнопка Стоп.
Рисунок 4. Общий вид отрезного станка
Станок, состоит из: Тумбы 1, на которой размещен станок 2, закрытый кожухом 3, с пультом управления 4. Внутри тумбы 1 расположена насосная станция 5. Станок, выполнен в виде маятниковой пилы с двумя осями вращения в вертикальной стойке 6. На верхней оси 7 крепится поворотное коромысло 8 с приводным абразивным диском 9 и электродвигателем 10, связанные между собой клиноременной передачей (передача на чертеже не показана), в верхней части коромысла 8 расположена консольная рукоятка 11 для ручного управления режущим диском 9. Нижняя ось 12 установлена в корпусе 13 и жестко связана одним концом с вертикальной стойкой 6, а другим – с упругим торсионом 14, закрепленным на станине 15. Для частичной компенсации массы электродвигателя 10 служит пружина 16. На станине 15 установлен механизм зажима заготовок в виде эксцентриковых тисков 17, днище станины 15 выполнено вогнутым для лучшего стока смазочно-охлаждающей жидкости (СОЖ) в слив 18. Кожух 3 коробчатой формы из металлолиста спереди и сверху, имеет прозрачный экран 19, выполненный из оргстекла. С боковых сторон кожуха 3 расположены окна 20 с резиновыми щитками 21 от разбрызгивания СОЖ и для размещения длинномерного профиля, предназначенного для распиловки. Для перемещения выведенной за кожух 3 рукоятки 11 служит радиальный паз 22 с резиновыми щитками 23. Пульт управления 4 служит для включения станка пускателем 24 и остановки его кнопкой “Стоп” 25. Насосная станция 5 представляет собой емкость с фильтрующими решетками 26 и с электронасосом 27, обеспечивающим подачу СОЖ в станок 2 по шлангу 28, слив отработанной СОЖ из станка осуществляется по сливному шлангу 18.
studfiles.net
Вертикально-сверлильный станок 2Н125,2Н135: устройство,схемы
Вертикально-сверлильный станок 2н125 предназначен для сверления, рассверливания, зенкерования, развертывания отверстий деталей в условиях единичного и мелкосерийного производства. Класс точности станка – Н (нормальный).
Конструкция сверлильного станка достаточно жесткая и прочная, что исключает возможность вибрации во время обработки. Возможна обработка деталей из различных материалов (сталь, чугун, цветные материалы), быстрорежущим (Р6М5, Р18) инструментом или твердым сплавом (ТК, ВК).
Устройство вертикально-сверлильного станка 2Н125,2Н135
Устройство сверлильного станка:
- Главный привод;
- Коробка скоростей станка;
- Насос плунжерный;
- Насос плунжерный;
- Коробка подач станка;
- Колонна, стол, плита;
- Механизм управления скоростями вращения и подачами;
- Шкаф;
- Электрическое оборудование станка;
- Шпиндель;
- Система охлаждения станка;
- Сверлильная головка станка.
Органы управления вертикально-сверлильного станка 2Н125,2Н135
3.Кран включения охлаждения;
4,19.регулировочные болты клина стола и сверлильной головки;
5.Рукоятка перемещения стола и головки;
6,18.Винты зажима стола и головки;
8.Вводной выключатель;
10.Сигнальная кнопка СТАНОК ВКЛЮЧЕН;
11.Кнопка включения правого вращения шпинделя;
12.Кнопка включения левого вращения шпинделя;
13.Кнопка включения качательного движения шпинделя при переключении скоростей вращения и подач S;
14.Рукоятка переключения скоростей;
15.Кнопка СТОП;
21.Рукоятка переключения подач;
22.Кнопка включения ручной подачи;
23.Штурвал механизма подач;
24.Лимб для отсчета глубины обработки;
25.Выключатель освещения;
27.Выключатель насоса охлаждения;
28.Кулачок для настройки глубины обработки;
29.Кулачок для настройки величины глубины нарезаемой резьбы;
30.Рычаг автоматического реверса главного привода при достижении заданной величины глубины нарезаемой резьбы;
31.Рычаг отключения подачи при достижении заданной величины глубины обработки отверстия;
32.Квадрат для ручного перемещения головки.
www.metalstanki.com.ua
Станок 2н125 технические характеристики
2Н125Л характеристики станка
Купить этот станок без посредников:

Технические характеристики:
Станки модели 2н125л предназначены для сверления, рассверливания, зенкования, развертывания, нарезания резьбы; применяется в условиях единичного и серийного производства
Наибольший диаметр сверления в стали, мм 25 Конус Морзе шпинделя № 3 Расстояние оси шпинделя до направляющих колонны, мм 250 Наибольший ход шпинделя, мм 200 Расстояние от торца шпинделя: До стола, мм 60 – 700 До плиты, мм 690 – 1060 Наибольшее (установочное) перемещение сверлильной головки, мм 170 Перемещение шпинделя за один оборот штурвала, мм 122, 46 Рабочая поверхность стола, мм 400 х 450 Наибольший ход стола, мм 270 Установочный размер Т-образных пазов в столе: Центрального 14Н9 Крайних 14Н11 Расстояние между двумя Т-образными пазами, мм 80 Количество скоростей шпинделя 12 Пределы чисел оборотов шпинделя, об/мин 45 – 2000 Количество подач 9 Пределы подач, мм/об 0,1 – 1,6 Наибольшее количество нарезаемых отверстий, в час 60 Электродвигатель главного движения: Тип 4А90L4 Мощность, кВт 2,2 Габариты станка, мм (высота х ширина х длина) 2350х785х915 Вес станка, кг 880 Завод изготовитель Г. МолодечноКупить этот станок без посредников:
mashinform.ru
Вертикально-сверлильный станок 2Н125
Универсальный вертикально-сверлильный станок 2Н125 служит для обработки деталей из различных материалов в условиях единичного и мелкосерийного производства. С его помощью оператор эффективно выполняет сверление, зенкерование, нарезание резьбы метчиками, фрезерование. Вертикально-сверлильный станок 2Н125 допускает обработку деталей в широком диапазоне размеров из самых различных материалов с использованием инструмента из высокоуглеродистых и быстрорежущих сталей и твердых сплавов.
|
www.expertcen.ru
Паспорт станка | Техническая документация станков и оборудования
На сайте Pasportanastanki.ru вы сможете найти техническую документацию на станки и оборудование различного назначения.
Паспорт станка – документ, представляющий информацию о технических возможностях, характеристиках, руководствах по ремонту и эксплуатации станков. Так же вы сможете найти кинематические, электрические и гидравлические схемы оборудования. В документах содержатся чертежи различных узлов и исполнительных органов.
Техническая документация должна поставляться совместно с оборудованием, но, как нередко это бывает, она теряется, или приходит в негодность.

На сайте Pasportanastanki.ru мы предлагаем посетителям скачать имеющуюся в архиве документацию абсолютно бесплатно. Вся техническая документация на станки разделена по соответствующим группам: на станки токарной, сверлильной и расточной, шлифовальной, зубообрабатывающей, фрезерной, строгальной, и прочим группам.
Если у вас имеются какая-либо документация к станкам и промышленному оборудованию, а так же желание и возможность помочь проекту, то воспользуйтесь приведенной формой.
Связаться с администрацией сайта вы так же можете через форму обратной связи.
pasportanastanki.ru
Вертикально-сверлильный станок 2Н125
Цена на 28.01.2018 г. – запросить ценуКупить | Добавить к сравнению |
Вертикально-сверлильный станок 2Н125 с ручным управлением с откидным подъёмным столом и обработанной фундаментной плитой, предназначен для выполнения следующих операций:
- сверления
- зенкерования
- зенкования
- развёртывания
- резьбонарезания в различных материалах.
Позволяет использовать различные приспособления и инструменты, расширяющие его технологические возможности.
Станок может использоваться в мелкосерийном производстве, на малых предприятиях, в ремонтных мастерских.
Станок снят с производства.Предлагаем на замену вертикально-сверлильный станок 2С125 .
| Наибольший диаметр сверления в стали 45 ГОСТ 1050- 74, мм | 25 | 35 | 50 |
| Размеры конуса шпинделя по СТ СЭВ 147-75 | Морзе 3 | Морзе 4 | Морзе 5 |
| Расстояние оси шпинделя до направляющих колонны, мм | 250 | 300 | 350 |
| Наибольший ход шпинделя, мм | 200 | 250 | 300 |
| Расстояние от торца шпинделя, мм: до стола до плиты | 60-700 690-1060 | 30-750 700-1120 | 0-800 700-1250 |
| Наибольшие (установочное) перемещение сверлильной головки, мм | 170 | 170 | 250 |
| Перемещение шпинделя за один оборот штурвала, мм | 122, 46 | 122, 46 | 131, 68 |
| Рабочая поверхность стола, мм | 400х450 | 450х500 | 500х560 |
| Наибольший ход стола, мм | 270 | 300 | 360 |
| Количество скоростей шпинделя | 12 | 12 | 12 |
| Количество подач |
i-perf.ru
