Назначение насоса – Принцип работы центробежных насосов – Все о канализации
alexxlab | 22.05.2020 | 0 | Разное
Насосы – назначение, принцип действия и области применения насосов различных видов
Насосы – одно из основных средств, используемых при напорном транспортировании воды. В настоящее время существует множество насосов, различающихся принципом действия, конструкцией и т.д. Работа каждого насоса характеризуется следующими техническими параметрами: подачей, напором, частотой вращения рабочего колеса, потребляемой мощностью, КПД и высотой всасывания.
Подача насосаQ–объем(или масса)жидкой среды,подаваемой насосом в единицу времени (л/с, м3/ч).
НапорН–приращение удельной энергии потока среды припрохождении ее через рабочие органы насоса (м, атм).
Мощность насосаN,расходуемая для создания определенныхQ и Н, подсчитывается по формуле
N= ρgQH/η,
где ρ – плотность среды; g – ускорение свободного падения; где; η – КПД насоса.
Коэффициент полезного действия насосаηпредставляетсобой отношение полезной мощности N0 = ρgQH к мощности насоса
N: η = N0/N.
Полезная мощность всегда меньше мощности насоса из-за потерь, возникающих в нем.
В централизованных системах водоснабжения наиболее широко применяются центробежные насосы (рис. 4.1). Передача энергии перекачиваемой жидкости в этих насосах происходит в результате взаимодействия лопаток рабочего колеса с потоком. Под действием центробежной силы жидкость отбрасывается от центра рабочего колеса (всасывающая полость) к его периферии (напорная полость). Рабочее колесо, расположенное в корпусе насоса, приводится во вращение электродвигателем. С торцевой стороны к центру корпуса присоединен всасывающий патрубок, через который с помощью всасывающей трубы подводится перекачиваемая жидкость. От насоса жидкость отводится через напорный патрубок, к которому присоединен напорный трубопровод. Перед запуском насоса его корпус и всасывающий трубопровод заполняют водой.

а) б)
Рис 4.1.Центробежный насос
а –продольный разрез; б –поперечный; 1 – рабочее колесо; 2 – лопасти рабочего колеса, 3 – вал, 4 – корпус; 5 –всасывающий патрубок, 6 –всасывающий трубопровод; 7 – напорный патрубок, 8 – напорный трубопровод.
Центробежные насосы классифицируются по напору, числу рабочих колес (одноступенчатые и многоступенчатые), расположению вала (вертикальные и горизонтальные), виду перекачиваемой жидкости (водопроводные, канализационные, теплофикационные, кислотные, грунтовые), по подводу воды (одно- и двухстороннего входа).
На регулирующих узлах, водопроводных каналах и на крупных водозаборах могут применяться осевые насосы.Рабочее колесо осевого насоса(рис. 4.2) состоит из втулки, на которой укреплено несколько лопастей. Рабочее колесо насоса вращается в трубчатой камере, заполненной перекачиваемой жидкостью. При динамическом воздействии лопасти на жидкость за счет изменения скорости течения давления над лопастью повышается, а под ней понижается. Благодаря образующейся при этом подъемной силе основная масса жидкости в пределах колеса движется в осевом направлении, что и определило название насоса.

Рис 4.2. Осевой насос:
1 –рабочее колесо, 2 –камера рабочего колеса, 3 – выправляющий аппарат; 4 – отвод
Для нормальной работы центробежных насосов необходимо, чтобы вакуум во всасывающем патрубке не превышал определенной величины, называемой допустимой вакуумметрической высотой всасывания Нвакдоп , которая зависит от ряда параметров. Обычно она не превышает 6 – 7 м.
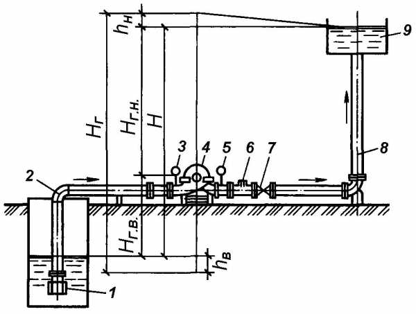
Высотное расположение насоса по отношению к уровню воды в источнике характеризуется геометрической Нг и вакуумметрической Нваквысотой всасывания.Геометрическая высота всасыванияравна разности отметок уровня воды в источнике и центра колеса. Чтобы насос мог перекачивать жидкую среду, находящуюся ниже отметки установки насоса, последний на входе в рабочее колесо должен создавать вакуумметрическое давление.

Рис. 4.3. Схема насосной установки:
1 – приемный клапан; 2 – всасывающий трубопровод; 3 – вакуумметр; 4 – насос; 5 – манометр; 6 – обратный клапан; 7 – задвижка; 8 – напорный трубопровод; 9 – бак
Вакуумметрическая высота всасыванияопределяется поформуле:
Нвак = (ра – рвак)/ρg,
где ра и рвак – атмосферное и вакуумметрическое давление. Геометрическая и вакуумметрическая высоты связаны соотношением
Нвак = Нг.в. + hв +v2/2g,
где hв – потери во всасывающем трубопроводе, v – скорость. Для нормальной работы насоса необходимо, чтобы Нвак ≤ Нвакдоп .
Полный напор, развиваемый центробежным насосом (рис. 4.3), определяется по формуле:
Н = Нг.в. + Нг.н. + hв + hн = Hг +Σh,
где Нг.н. – геометрическая высота нагнетания; hн – потери напора в напорном водоводе;
Нг = Н г.в. + Нг.н.;
Σh = hв + hн
Похожие статьи:
poznayka.org
Назначение, устройство и сборка насосов
Назначение, устройство и сборка насосов
Категория:
Слесарно-механосборочные работы
Назначение, устройство и сборка насосов
Назначение насосов. Насосами называют машины, всасывающие и нагнетающие жидкость и сообщающие ей энергию для перемещения по трубопроводам на заданное расстояние и высоту, а также служащие для повышения давления жидкости, заполняющей замкнутую полость. Насос является главным рабочим органом гидросистемы, от его работы зависит работа всей гидросистемы.
По принципу действия, т. е. по способу передачи механической энергии жидкости, насосы подразделяются на объемные (поршневые, пластинчатые, шестеренчатые, винтовые) и центробежные. Основными величинами, характеризующими работу насоса, являются производительность, напор, потребляемая мощность, коэффициент полезного действия и высота всасывания.
Производительностью насоса называется объемное количество жидкости, подаваемое насосом в единицу времени.
Напором насоса называется работа жидкости, проходящей через насос, т. е. разность полных напоров на выходе из насоса и на входе в него.
Принцип действия насосов основан на разности давлении на поверхности жидкости в нижнем резервуаре и у входа в насос, “ результате чего происходит всасывание. Для насосов металлорежущих станков высота всасывания жидкости обычно равна 5-6 м.
В технике за единицу давления принимается давление, получающееся при действии силы в 1 кгс на площадь 1 см2. Эта единица^ давления называется технической атмосферой и обозначается ата. В СИ килограмм-сила на квадратный сантиметр будет равна 100 кПа. Соотношения между основными единицами давления приведены в Приложении.
В гидроприводах промышленного оборудования применяют различные поршневые насосы, которые отличаются друг от друга по производительности и развиваемому давлению, количеству и расположению поршней.
При изготовлении и сборке поршневых насосов обращают серьезное внимание на пригонку сопряженных деталей. Особенно хорошо должны быть притерты поршни в своих цилиндрах, причем цилиндры делают по допускам Н6 (/!,), а поршни (плунжеры) — по допускам Н5 (Ct). Поршни должны входить в цилиндры плотно, без качки, но так, чтобы могли медленно перемещаться от собственной массы. Овальность и конусность поршней не должна превышать 0,005 мм, а цилиндров — 0,01 мм. При сборке каждый поршень вставляют в свой цилиндр, для этого их клеймят. Тарелки или пояски всасывающих и нагнетательных клапанов должны быть хорошо притерты к своим посадочным местам.
На рис. 1, а показан горизонтальный трехплунжерный насос. Насос состоит из четырех основных частей: части низкого давления, переключающего золотника, части высокого давления и выключения высокого давления.
Часть низкого давления образуют два зубчатых колёса, входящих взаимно в зацепление. Одно из зубчатых колес посажено на ось, имеющую на одном торце паз, с помощью которого она соединяется с зубом коленчатого вала поршневой группы. Часть низкого давления поставляет большое количество масла для быстрого хода поршня вхолостую.
Часть высокого давления — трехпоршневая — создает высокое давление. Поршни с закаленной и шлифованной поверхностью уплотнены в корпусе насоса чугунными пробками.

Рис. 1. Горизонтальный трехплунжерный насос: а – общий вид, б – клапанная коробка, в – переключающий золотник
Примыкающая к корпусу насоса клапанная коробка показа-а на рис. 100,6 отдельно.
Переключающий золотник (рис. 1, в) находится в нижней части клапанной коробки (показан также отдельно). Работает золотник так, что при достижении нижнего предела давления он автоматически выключит зубчатую часть и приведет в действие поршневую часть насоса. Зубчатая часть прогоняет масло через фильтр и нагнетает его через канал вокруг переключающего золотника к камере под всасывающие клапаны.
Большое (постоянное) количество масла придерживает всасывающий клапан 14 и расположенный над ним нагнетательный клапан в приподнятом положении (поршневая часть не работает, так как всасывающий клапан не прилегает к седлу) и поэтому протекает в распределительное устройство и далее, в рабочий цилиндр.
Если давление в нагнетательном пространстве начнет подниматься, то поднимется также и давление под переключающим золотником, куда масло попадает по другому каналу. Давление поднимается до тех пор, пока усилие, образующееся вследствие давления на поверхность золотника, не преодолеет усилие пружины и золотник не переключится.
Некоторое количество масла подается зубчатой частью и идет через соответствующий канал на слив, а часть масла протекает дальше в камеру под всасывающим клапаном. Дросселирование выбрано так, что под всасывающим клапаном остается небольшое избыточное давление 0,2-0,3 МПа (2-3 кгс/см-). Всасывающий клапан начнет прилегать, и вследствие этого начнет работать поршень.
Резкое снижение производительности (замедление подач ра. бочих органов машины, стук, шум) указывает на то, что еэ время сборки поршневого насоса были плохо притерты конуса нагнетательных и всасывающих клапанов к своим седлам. Очень часто причиной плохой работы вновь собранного насоса является слабое затягивание пробки. Поэтому в течение первых дней эксплуатации насоса пробку подтягивают, так как кольца 19 под действием давления спрессовываются, герметичность нарушается, что приводит к неисправностям в работе насоса.
Шестеренчатые насосы. Эти насосы бывают низкого, среднего и высокого давления. Шестеренчатые насосы низкого давления применяют в системах смазки и охлаждения станков. Насосы среднего давления применяют в гидравлических системах шлифовальных, фрезерных и других станков. Насосы высокого давления применяют в гидравлических системах сверлильно-расточных, протяжных, токарных и фрезерных станков.
Шестеренчатый насос (рис. 2) состоит из чугунного корпуса, крышек, скрепленных винтами. Их точное расположение фиксируется контрольными штифтами. В корпусе расположены зубчатые колеса, закрепленные на валах шпонками. Шпонка ведомого вала укреплена штифтом. Валы вращаются в игольчатых подшипниках, которые расположены во втулках, помещенных в чугунные вкладыши. Между корпусом и крышками проложены уплотнения из бумажной кальки, пропитанной нитролаком.
Утечка жидкости по ведущему валу устраняется подтягиванием винтами чугунной втулки, сжимающей пробковую прокладку или сальниковую набивку. Выступающий конец вала имеет шпонку для соединения с приводом. Чем больше количество зубьев, тем равномернее подается жидкость. Насосы, у которых зубчатые колеса имеют 5 — 10 зубьев, применяют для охлаждения систем. В гидроприводах используют зубчатые колеса с 10 — 20 зубьями.

Рис. 2. Устройство шестеренчатого насоса
Основные требования при сборке шестеренчатых насосов Следуюшие: достижение плотности в посадочных местах корпуса соблюдение межосевого расстояния для осей зубчатых колес, получение хорошего зацепления.
При сборке шестеренчатых насосов обращают особое внимание на зазор между зубчатыми колесами и вкладышами, который должен составлять 0,04 — 0,08 мм. Соблюдение равномерности и величины этого зазора — основное условие правильной сборки насоса.
Недостаток обычных шестеренчатых насосов состоит в том, что зубчатые колеса в них испытывают одностороннее давление жидкости, направленное со стороны полости* нагнетания в сторону всасывания, вследствие чего расточка корпуса получает односторонний износ (чем больше давление жидкости, тем быстрее износ).
Если при обработке зубчатых колес или корпуса насоса не выдержан допуск, в пределах которого они должны быть обработаны, следует прошлифовать торцы зубчатых колес (когда зазор меньше требуемого) или торец корпуса (когда зазор больше допускаемого).
Сборка насоса заканчивается установкой винтов и контрольных штифтов, после чего проверяют вручную вращение ведущего вала, которое должно быть легким и плавным. Защемление вращающихся деталей объясняется небрежной сборкой или перекосом осей под подшипники. В этом случае ослабляют винты, крепящие крышки насоса, и если зубчатые колеса будут вращаться легко, вновь затягивают их без перекоса. Если при Этом не будет получено хороших результатов, выполняют перештифтовку крышек.

Рис. 3. Устройство лопастного насоса Г12-1
На рис. 3 показан насос Г12-1 с постоянной производительностью, применяемый для подачи масла в гидравлические системы станков, экскаваторов, гидропрессов и других машин. Между чугунным корпусом и крышкой смонтировано стальное закаленное кольцо (статор), имеющее внутри профилированную поверхность, по которой скользят двенадцать лопаток. Ротор посажен на шлицы вала, свободно вращающегося в шариковых подшипниках. К торцам статора и ротора прижаты распределительные диски. В дисках имеются два окна для всасывания и два окна для нагнетания масла.
При вращении ротора лопатки под воздействием центробежной силы и давления масла, подведенного под лопатки через отверстия, прижаты к внутренней поверхности статора. За один оборот ротора осуществляется два цикла всасывания и нагнетания, поэтому насос называется насосом двойного действия.
Уплотнение между корпусом и крышкой достигается с помощью пробкового кольца. Чтобы предотвратить утечку по валу насоса, во фланце установлены уплотнения — манжета из маслостойкой резины и фетровые прокладки. Между статором и дисками неизбежно просачивается масло. Для его отвода в крышке насоса имеется отверстие, через которое масло направляется в резервуар по трубке, соединяемой со штуцером.
Пластинчатые насосы работают более надежно на маслах вязкостью 2,5 —5 СЕ. Масло более высокой вязкости может нарушить работу насоса, так как центробежная сила может не преодолеть вязкость масла и не вытолкнет лопасть к периферии ротора.
Винтовые насосы. Во многих отраслях промышленности винтовые насосы начали вытеснять шестеренчатые благодаря ряду преимуществ: небольшие размеры и масса, бесшумность, отсутствие взбалтывания перекачиваемой жидкости, способность к перекачиванию жидкостей с самой различной вязкостью, большая допустимая скорость вращения, а значит, и возможность прямого соединения с быстроходными двигателями.
Рабочими органами винтовых насосов служат роторы с витками, идущими по винтовой линии. Роторов может быть два, три, а иногда и более, причем один из них является ведущим, а остальные — ведомыми. Камеры всасывания и нагнетания располагаются по торцам винтовых роторов, а по цилиндрическим поверхностям роторы плотно охватываются корпусом насоса. Конструкция винтового насоса проста и для сборки не требует высокой квалификации слесаря-сборщика.
Рабочая жидкость, находящаяся во всасывающей полости, поступает в раскрывающуюся винтовую впадину каждого ротора. При дальнейшем вращении ротора эта впадина замыкается выступающими витками других роторов, которые проталкивают жидкость, находящуюся во впадине, к нагнетательной полости.
На рис. 4,б показаны поперечные сечения винтовых роторов наиболее распространенного трехвинтового насоса, у которого средний ротор является ведущим, а два боковых — ведомыми. У такого трехвинтового насоса профиль винтов циклоидальный, нарезка двухзаходная, передаточное отношение между ведущим и ведомыми роторами равно единице.
Характерной особенностью винтовых насосов является постоянство соотношений между размерами основных его элементов независимо от размеров насоса.
Силовые гидроцилиндры. Гидроцилиндры предназначены для преобразования энергии потока жидкости в механическую энергию возвратно-поступательного или возвратно-поворот-ного (качательного) движения выходного звена (поршня со штоком или лопасти с валом) и связанных с ним устройств. Гидроцилиндры делятся на поршневые и плунжерные, с двумя или одним штоком.
Поршневые гидроцилиндры могут выполняться или с неподвижным цилиндром и перемещающимся поршнем, или с неподвижным поршнем и подвижным цилиндром. Простые поршневые гидроцилиндры (рис. 5, а) имеют поршень с двумя штоками одинакового диаметра, обеспечивающими равные скорости прямого и обратного хода.

Рис. 4. Устройстцо насоса
Собранные гидроцилиндры испытывают следующим образом. В одну из полостей цилиндра нагнетают под определенным давлением подогретое до 323 К (50 °С) масло. При этом утечка его через неплотности в сопряжении поршня с цилиндром во вторую полость не должна быть более установленных норм. Аналогично проверяют сальниковое уплотнение.
Уплотняющие устройства плунжерных сборочных единиц служат для устранения утечки жидкостей или газов, которые вследствие избыточного внутреннего давления просачиваются через зазоры между неподвижными и движущимися деталями. Уплотнение плунжерных сборочных единиц можно разделить на две группы. К первой относят уплотнения, в которых необходимое гидравлическое сопротивление в зазоре достигается притиркой плунжера и цилиндра без применения специальных уплотняющих деталей.

Рис. 5. Устройство гидроцилиндра:
Плунжеры должны быть притерты к цилиндрам до полного прилегания. Зазоры между плунжером и цилиндром устанавливаются согласно ТУ. Овальность цилиндров и разность диаметров должны соответствовать ТУ.
Ко второй группе относят уплотнения, в которых гидравлическое сопротивление достигается с помощью дополнительных деталей (манжет, колец, набивок), непрерывно прижатых к уплотняемым поверхностям соединений.
К простейшим уплотнениям штоков относят сальники с мягкой набивкой (рис. 6, а). Мягкие набивки делаются из эластичных материалов, асбестовых, льняных или хлопчатобумажных плетеных и крученых нигей, из пробки, маслостойкой резины или асбест-графита. Сальник с мягкой набивкой представляет собой коробку, в которую набивка укладывается отдельными кольцами. Стыки имеют скосы, которые смещены один по отношению к другому. Требуемую плотность набивки достигают подтягиванием сальника. Однако при сильном затягивании сальника могут возникнуть значительное трение и повышенный износ в сборочной единице.
Поршневые кольца, вставленные в цилиндр, должны плотно, без просвета, прилегать своей поверхностью к зеркалу цилиндра и иметь зазор S в стыке не более величин, рекомендуемых заводскими инструкциями и чертежами, для данного диаметра D.

Рис. 6. Уплотнение соединений в насосах, гидроцилиндрах и гидродвигателях: а — сальники с мягкой набивкой, б — поршневым кольцом, в — воротниковой манжетой, г — манжетой U-образного сечения, д — манжетой шевронной; 1 — шпилька, 2 — нажимный стакан, 3 — набивка, 4 — сальниковая коробка, 5 — поршневой шток, б — грунд-букса

Рис. 7. Устройство уплотнительных сборочных единиц:
Реклама:
Читать далее:
Контрольно-регулирующие устройства
Статьи по теме:
pereosnastka.ru
Назначение и классификация судовых насосов

Назначение судовых насосов
Судовые насосы предназначены для перемещения жидкостей или газовых сред по трубопроводам внутри судна, с берега или из-за борта на судно и из судна на берег или за борт. Перемещаются пресная и морская вода, жидкое топливо, смазочная и охлаждающая жидкость, воздух, паровоздушная смесь и т. д.
Количество устанавливаемых на судне насосов и их параметры зависят от размеров и назначения судна, от типа, состава и мощности силовой установки. Кроме того, в соответствии с «Правилами классификации и постройки морских судов» (1964 г.) существуют определенные требования, предъявляемые к судовым насосам различного назначения Регистром.
Регистр допускает взаимосвязь и взаимозаменяемость большинства общесудовых насосов и использование одного насоса для выполнения нескольких функций, вследствие чего повышается надежность и живучесть общесудовых устройств и судна и сокращается общее количество судовых насосов. Так, например, в качестве балластного насоса может быть использован любой общесудовой насос достаточной производительности; в качестве стационарных пожарных насосов могут использоваться санитарные, балластные, осушительные и другие насосы, если они имеют соответствующие производительность и напор; пожарные насосы разрешается использовать для других судовых надобностей.
Классификация судовых насосов по принципу действия
Классификацию насосов по принципу действия и конструктивным признакам можно представить наиболее наглядно следующим образом:

По принципу действия и конструктивному исполнению судовые насосы подразделяются на объемные, лопастные и струйные.
Объемными называются насосы, перекачивающие жидкости или газы определенными объемами или порциями. В свою очередь объемные насосы делятся на поршневые и ротационные. Поршневым называется насос, поршень которого имеет прямолинейное возвратно-поступательное движение. Ротационным называется насос с равномерно вращающимся в корпусе ротором. Элементы ротора передают энергию перекачиваемой жидкости или газу.
Лопастными называются насосы, у которых необходимая энергия сообщается перекачиваемой жидкости вращающимися рабочими лопастями. В зависимости от характера движения потока в лопастных насосах последние подразделяются на центробежные, вихревые и осевые (или пропеллерные).
Струйными называются насосы, использующие в работе кинетическую энергию струи воды или газа, вытекающих с большой скоростью из рабочего сопла. В зависимости от рабочего тела струйные насосы подразделяются на водоструйные (жидкоструйные) и пароструйные (газоструйные).
Если насос предназначен для перемещения жидкости или газа только в одном направлении и не может работать при обратном вращении или движении рабочих органов, то его называют нереверсивным.
Реверсивным называется насос, способный работать и перемещать жидкость или газ в прямом и обратном направлениях. Реверсивными могут быть все объемные, вихревые и осевые насосы. Реверс (перемена направления вращения или движения) производится изменением направления вращения или движения привода или манипуляцией соединительных реверсивных муфт. У некоторых типов ротационных насосов перемена направления движения жидкости производится при помощи специальных регулировочных устройств без изменения направления вращения вала насоса.
Классификация судовых насосов по назначению
По назначению судовые насосы подразделяются на общесудовые, специальные и обслуживающие главные и вспомогательные механизмы силовой установки.
Общесудовые насосы
Балластные— предназначены для перемещения жидкого балласта, осушения и заполнения балластных емкостей на судах.
По Правилам Регистра на судне должен быть, по крайней мере, один самостоятельный балластный насос. На нефтеналивных судах устанавливается дополнительный балластный насос для обслуживания носовых балластных цистерн.
Балластные насосы современных судов в основном центробежные самовсасывающие электроприводные с напором 15— 50 м вод. ст.
Осушительные — предназначены для удаления воды из форпиков и ахтерпиков, из трюмов машинно-котельных отделений и т. п., т. е. из тех отсеков, куда попадание воды носит систематический характер. Иногда осушительные насосы называют трюмными и наоборот, ибо строгого разграничения между функциями этих насосов нет.
Согласно Правилам Регистра, каждое судно должно иметь не менее двух самостоятельных осушительных насосов с механическим приводом. Наибольшее распространение на современных судах получили поршневые автономные насосы с паровым и электрическим приводом, реже самовсасывающие центробежные. Напор насосов 15—35 м вод. ст. при производительности 20—200 м3/ч.
Пожарные— предназначены для обеспечения забортной водой противопожарных водяных систем. Все пожарные насосы автономные самовсасывающие центробежные многоступенчатые с электроприводом. Аварийные пожарные стационарные насосы часто имеют дизельный привод. Напор пожарных насосов зависит от размерений судна и составляет 35—180 м вод. ст.
Водоотливные — предназначены в качестве аварийных средств для откачки больших масс воды из затопленных помещений.
Выполняются водоотливные насосы переносными и стационарными. Применяются электро- и пневмоприводные центробежные насосы, водоструйные эжекторы и мотопомпы.
Санитарные насосы питьевой, мытьевой и забортной воды предназначены для обеспечения водой санитарно-гигиенических нужд и создания нормальных бытовых условий на судне.
Применяются автономные электроцентробежные, реже вихревые насосы производительностью 3—12 м3/ч при напоре 20— 40 м вод. ст. Производительность насосов забортной воды до 40—50 м3/ч.
Санитарные фекальные насосы предназначены для удаления сточных вод из фекальных цистерн за борт. Насосы автономные электроцентробежные консольные. Напор 8—15 м вод. ст.; производительность зависит от числа членов экипажа и пассажиров.
Специальные насосы
Креновые и дифферентыые предназначены для подачи забортной воды в креновые и дифферентные танки и удаления этой воды затем за борт. Применяются автономные электроприводные центробежные и осевые насосы с производительностью 120—4000 м3/ч.
Грузовые — предназначены для перемещения жидкого груза внутри наливного судна, на берег или на другие суда. Насосы автономные центробежные с электрическим или паротурбинным приводом. В последнее время на крупных танкерах появляются насосы с дизельным приводом. Производительность насосов 300—2200 м3/ч при напоре 70—100 м вод. ст.
Зачистные — предназначены для удаления остатков жидкого груза и отходов моечных веществ из грузовых танков.
Применяются обычно поршневые насосы с производительностью до 150 м3/ч при напоре до 100 м вод. ст.
Моечные насосы предназначены для подачи горячей воды к моечным устройствам грузовых танков. Применяются автономные с электрическим или паротурбинным приводом центробежные насосы. Производительность их определяется из расчета подачи 3—3,5 м3/ч воды на каждую тысячу тонн дедвейта при напоре 100—150 м вод. ст.
Насосы главных и вспомогательных механизмов
Форсуночные — предназначены для подачи топлива из расходных цистерн к форсункам. Котельные форсуночные насосы — автономные электроприводные ротационные или центробежные. На некоторых паротурбинных судах применяются дополнительные растопочные насосы.
Топливоперекачивающие—предназначены для подачи топлива из основных цистерн в расходные. Насосы автономные ротационные или центробежные электроприводные. Напор насосов достигает 20—30 м вод. ст., а производительность определяется из условия подачи за 0,5—1 ч работы насоса такого количества топлива, которого достаточно для работы котлов или ДВС при номинальной нагрузке в течение 24—36 ч.
Питательные котельные — предназначены для подачи питательной воды в паровые котлы.
Питательные насосы главных паровых котлов центробежные электро- или паротурбоприводные. Питательные насосы вспомогательных и утилизационных котлов на теплоходах — поршневые или центробежные с электроприводом.
Максимальная производительность питательного насоса составляет 150% от нагрузки котла или группы котлов, обслуживаемых насосом, при напоре на 30% выше рабочего котельного давления.
Циркуляционные котельные — предназначены для создания принудительной циркуляции в прямоточных котлах. Насосы автономные электроцентробежные с напором 30—60 м вод. ст.
Бустерные — предназначены для подачи перемещаемой жидкости в приемные патрубки основных насосов с целью создания дополнительного подпора.
Мокровоздушные (конденсатно-воздушные) — предназначены для совместного удаления воздуха и конденсата из конденсаторов. Главные насосы навешиваются на главную машину, вспомогательные — автономные.
Конденсатные — предназначены для удаления конденсата из конденсаторов, а также из устройств, работающих с конденсацией пара. Насосы автономные центробежные электро- или паротурбоприводные. Иногда применяются поршневые насосы. Напор конденсатных насосов 30—90 м вод. ст.
Вакуумные (конденсационных установок)—предназначены для удаления воздуха из конденсаторов и поддержания вакуума в них. Применяются пароструйные эжекторы одно-, двух- и трехступенчатые. В водоопреснительных установках применяются и водоструйные эжекторы.
Дренажные — предназначены для удаления конденсата из дренажных или сточных цистерн и подачи его в питательную магистраль. Насосы автономные электроцентробежные.
Циркуляционные (забортной воды)—предназначены для прокачки забортной водой судовых конденсаторов и тепло-обменных аппаратов. Применяются в основном центробежные насосы с электроприводом.
Циркуляционные (пресной воды) — предназначены для прокачки пресной воды через охлаждаемые узлы и детали судовых механизмов. Насосы автономные электроцентробежные с напором 18—50 м вод. ст.
Охлаждающие топливные и масляные — предназначены для прокачки масла или топлива через охлаждаемые форсунки и поршни мощных дизелей. Насосы автономные, ротационные, электроприводные.
Насосы смазочного масла предназначены для подачи масла на смазку поверхностей трущихся деталей судовых механизмов.
Маслоперекачивающие — предназначены для перемещения смазочного масла внутри судна. Насосы грязного масла предназначены для перекачки отработанного и загрязненного масла внутри судна.
Насосы ВРШ предназначены для подачи рабочей жидкости к гидроприводу лопастей винта регулируемого шага. Применяются автономные или навешенные ротационные насосы с производительностью 80—500 л/мин.
Рассольные — предназначены для создания циркуляции или удаления за борт рассола в судовых холодильных и водоопреснительных установках. Применяются электроприводные насосы центробежного типа, а в водоопреснительных установках — иногда водоструйные эжекторы.
Дистиллятные насосы предназначены для отвода дистиллята из конденсаторов водоопреснительных установок. Применяются автономные электроприводные центробежные насосы и водоструйные эжекторы.
Похожие статьи
mirmarine.net
Какие виды насосов существуют? :: SYL.ru
Насос представляет собой агрегат, который посредством всасывания и нагнетания жидкости перемещает ее при помощи кинетической или потенциальной энергии. Такие приборы применяются сегодня в различных сферах деятельности человека. Агрегаты представленного типа можно встретить как в промышленности, так и в быту.
Существующие виды насосов разнообразны. Они отличаются принципом действия и областью применения. В продаже представлены конструкции, способные работать не только с жидкостью, но и газами, в вакууме, для передачи теплоты, магнитного потока и т. д. Чтобы разобраться в этом многообразии, необходимо рассмотреть основные виды представленных устройств. Это позволит выбрать из огромного количества существующих конструкций оптимальный вариант оборудования.
Классификация
Современные насосы, виды и принцип работы которых отличаются по различным критериям, отличаются особенностями конструкции, применением и по ряду прочих характеристик. Для перемещения жидкостей под определенным напором сегодня используется 2 типа агрегатов. К первой категории относятся насосы-машины, а ко второй – насосы-аппараты. Они включают в себя множество подвидов оборудования.

Насосы-машины приводятся в действие двигателем. К ним относятся лопастные, поршневые, роторные и прочие разновидности.
Насосы-аппараты функционируют от других источников энергии. В не предусмотрено наличие рабочих механизмов. В эту группу входят струйные, гидравлические, магнитогидродинамические насосы, а также газлифты, вытеснители и т. д.
По назначению виды насосов для воды делят на несколько основных групп. К ним относятся водоподъемные, циркуляционные, дренажные агрегаты.
Тип рабочей камеры
Чтобы понять, каким разнообразием отличается представленное оборудование, необходимо рассмотреть фото видов насосов (представлено далее). По принципу особенностей внутренней камеры агрегата различают две большие группы приборов. Это объемные и динамические разновидности. Они включают в себя множество различных агрегатов.

Жидкость в объемном насосе перемещается под воздействием периодического изменения внутреннего пространства в камере. К этой категории устройств относятся крыльчатые, возвратно-поступательные и роторные приборы. Входящие в эту группу приборы классифицируются по ряду признаков. Их выбирают в соответствии с условиями эксплуатации прибора.
В динамических насосах жидкость транспортируется под воздействием сил внутри камеры. К этой категории относятся лопастные, электромагнитные насосы и приборы трения. Такие устройства отличаются видом сил, которые действуют на жидкость, направлением ее движения, типом отвода, а также конструкцией колеса.
При выборе той или иной разновидности оборудования потребитель руководствуется классификацией по целевому признаку, соответствию условиям отрасли и эксплуатации.
Назначение
Существующие разновидности насосов классифицируют по признаку применения в различных сферах деятельности человека. Существуют агрегаты для перекачки чистой воды, сточных вод, способствующие повышению напора в системе, а также обеспечения постоянной циркуляции в отопительных коммуникациях.
Отдельно также выделяют виды пожарных насосов. Они используют оборудование высокой мощности. При этом создается большой напор воды.

Дренажные насосы предназначены для перемещения загрязненной дождевой, грунтовой воды. В подобных устройствах предусмотрено наличие измельчающей системы, а также фильтрующих компонентов. Это малогабаритные, неприхотливые приборы, отличающиеся доступностью для покупателей. Поэтому их используют повсеместно.
Фекальное оборудование отличается повышенным диаметром отверстий и наличием режущего механизма. Они способны отводить субстанции различной консистенции. Их устанавливают в яму или резервуар, где они находятся на протяжении всего времени их эксплуатации.
Повышающие давление агрегаты устанавливаются перед прибором, который требует при работе излишнего давления жидкости.
Центробежные агрегаты
Описывая виды насосов по принципу действия, следует рассмотреть основные из них. Одним из самых часто используемых человечеством приборов является центробежный агрегат. Он используется в системах подачи воды, агрессивных, вязких жидкостей, сточных, грунтовых вод.

Прибор передает кинетическую энергию от рабочего колеса (вращается в процессе работы) той субстанции, которая находится между его лопастями. Центробежная сила, образующаяся при этом, передает жидкость внутрь корпуса прибора. Затем она перемещается далее по системе. На место переместившейся субстанции поступает новая жидкость. Так обеспечивается непрерывная работа насоса.
Подвод жидкости к колесу может осуществляться не только с одной стороны. Встречаются более сложные центробежные конструкции. В них подвод осуществляется с двух сторон. Такой подход предоставляет возможность уравнивать давление субстанции, которое она осуществляет на лопасти колеса.
Одной из основных технических характеристик подобных насосов является коэффициент быстроходности. При выборе той или иной модели необходимо учитывать существующие особенности работы оборудования. В этом случае оно проработает долго и эффективно.
Многоступенчатые и осевые конструкции
Изучая виды насосов, характеристики которых отличаются по принципу устройства, следует также уделить внимание осевым и многоступенчатым конструкциям. Они также достаточно распространены в промышленном производстве и быту.
Многоступенчатые разновидности позволяют создавать большой напор жидкости. Она проходит последовательно через несколько рабочих колес. Каждый из этих конструкционных элементов передает определенную энергию субстанции.
При выборе подобного оборудования важно обращать внимание на зависимость показателей напора и мощности, высоты всасывания на стадии подачи, КПД. Последняя характеристика достигает максимума в определенном режиме работы оборудования. При увеличении подачи КПД снижается. Подобные конструкции способны обеспечить напор воды в размере 65-138 тыс. м³/ч. При этом высота водяного столба может составлять 18,5-95 м. Именно такое оборудование применяется при пожаротушении высотных зданий.
Рассматривая виды и типы насосов, следует сказать также про устройство осевых насосов. Они способны за короткое время переместить большой объем жидкости. Рабочее колесо передает поверхностью своих лопастей определенную энергию субстанции. Именно с такой силой движется жидкость в системе. Ее частицы движутся по кривой. Попадая в выпрямляющий аппарат, их траектория выравнивается. До выхода из агрегата жидкость движется вдоль оси насоса. Такой принцип циркуляции и послужил для определения названия подобной техники.
Осевые насосы могут иметь в своей конструкции жесткие лопасти или поворотные конструкционные элементы. В первом варианте элементы пропеллера закреплены неподвижно. Во втором варианте в систему встроен механизм, поворачивающий лопасти, меняющий угол их наклона.
Вихревые и роторные конструкции
Разбираясь в вопросах классификации современного напорного оборудования, необходимо сказать несколько слов о том, какие виды насосов еще востребованы в хозяйственной деятельности человека. По принципу устройства внутреннего механизма выделяют вихревый тип конструкции.
Такие агрегаты характеризуются хорошими показателями самовсасывания. Они способны стартовать без предварительного заполнения трубы жидкостью, которая присутствует в корпусе прибора. Основной сферой применения подобного оборудования является перемещение испаряющихся быстро субстанций, капельных жидкостей, насыщенных газами. Также их применяют в комбинации с насосами центробежного типа.
Вихревые приборы могут быть открытого или закрытого класса. В последнем варианте жидкость из ячеек периферии рабочего колеса при возникновении центробежной силы перемещается в канал корпуса. Далее она передает часть своей энергии находящейся внутри среде. После этого жидкость перемещается в следующую ячейку. При такой организации насос вихревого типа развивает напор в несколько раз больше, чем у центробежных разновидностей. Однако их КПД будет ниже.
В основные виды насосов вошли также роторные разновидности. Они подают небольшое количество жидкости. Они бывают зубчатыми, шиберными, винтовыми, коловратными, лабиринтовыми и т. д. Все они отличаются идентичным принципом действия. Такие конструкции не имеют в своем составе нагнетательного и всасывающего клапана. Это упрощает конструкцию, делая ее долговечнее и практичнее.
Поршневые конструкции
В продаже представлены также поршневые виды насосов. Они отличаются разнообразными конструкционными решениями. Благодаря такой особенности они применяются в широком спектре отраслей.
Действие агрегата происходит посредством периодического всасывания и нагнетания внутри цилиндра во время движения рабочего элемента. Им является плунжер или поршень. Объем перемещаемой жидкости не меняется. Периодически ускоряется или замедляется время перемещения рабочего механизма.

Поршневые насосы могут быть приводными, прямодействующими. Конструкция имеет в своем составе нагнетательный и всасывающий клапан. Субстанция, перемещающаяся по системе, получает кинетическую энергию. Ее величина пропорциональна давлению при ее нагнетании.
Поршневые насосы могут быть вертикальными, горизонтальными, многократного или одинарного действия. В их состав могут входить один или несколько цилиндров. Конструкция отличается значительной сложностью организации. При значительных габаритах это относительно тихое устройство. Их КПД высок, а работа отличается высокой независимостью при подаче от напора.
Струйные конструкции
Существующие виды водяных насосов насчитывают большое количество вариантов конструкций. Одним из востребованных типов оборудования является струйный агрегат. Он относится к группе насосов-аппаратов. Такая конструкция отличается большим разнообразием. Сфера применения струйных насосов широка.
Представленное оборудование имеет простую и практичную конструкцию, отличается долговечностью при эксплуатации. Их КПД невысок, составляет всего около 30 %. Ярким примером струйной конструкции является водоструйный насос. Он преобразует потенциальную энергию жидкости в кинетическую в конической сужающейся насадке. Далее подаваемая смешивается с рабочей субстанцией в камере. После этого кинетическая энергия снова переходит в потенциальную.
Водяные насосы
Изучая виды насосов для воды, следует выделить несколько групп подобного оборудования. Приборы представленного типа могут быть поверхностными или погружными.
К первой категории относятся приборы, которые монтируются вне водяной поверхности. Они способны поднимать воду на поверхность с глубины до 8 м. Это производительное оборудование, практичностью и ремонтопригодностью. При работе агрегат не издает шума. Его стоимость приемлема практически для любого покупателя. К таким приборам относятся центробежные и вихревые типы конструкции.
Погружные разновидности подвешивают при помощи троса непосредственно над водой. Они касаются жидкости, передавая ее на поверхность. Такие устройства позволяют транспортировать воду даже с большой глубины. Эти приборы обеспечивают в жилых домах. Их применяют в системах орошения, подачи технической и питьевой воды в резервуар. При затоплении помещения погружные насосы также эффективно эксплуатируются.
Конструкция в этом случае сложна и требовательна. Могут возникать затруднения в процессе технического обслуживания техники. Вода, в которую погружается агрегат, должна быть чистой, без большого количества примесей.
Циркуляционные конструкции
Циркуляционные виды насосов применяются в системах отопления. Теплоноситель перемещается с заданной скоростью по системе. Его температура постепенно понижается. Помещение обогревается при определенном уровне движения теплоносителя. Такие приборы применяют даже в многоэтажных домах, в которых система отопительных труб и радиаторов характеризуется разветвлениями.
Чем толще подводящие коммуникации, тем большая мощность насоса требуется. В месте врезки насоса в систему происходит перепад давления. Чтобы оборудование работало эффективно, требуется обеспечить необходимый уровень производительности.
Рассмотрев основные виды насосов, можно понять особенности подобного оборудования, их отличия и характерные особенности эксплуатации. Разнообразие конструкций позволяет применять представленную технику в различных сферах хозяйственной деятельности человека.
www.syl.ru
Назначение насосных станций

Назначение насосных станций заключается в обеспечении подачи воды согласно потребительским нуждам, используя комплекс гидротехнических сооружений и оборудования.
Структура и особенности сооружений, а также тип и количество необходимого основного и дополнительного оборудования устанавливаются, основываясь на принципах комплексного пользования водными ресурсами и природоохраны, учитывая задачи станции и технологические требования, которым она должна соответствовать.

По типам выполняемых задач и размещению в общей водоснабженческой схеме станции можно разделить на несколько типов:
1. Режимы работы и назначение насосных станций первого подъема.
С помощью насосов осуществляется забор воды из источника с последующей транспортировкой на очистные сооружения или напрямую в сеть, если в очистке нет необходимости. Такие станции работают в одном из двух режимов: постоянной и переменной водоподачи.
В штатном режиме работы от станции требуется обеспечение подачи максимальных суточных затрат на производственные и хозяйственно-питьевые нужды, а дополнительно на использование ресурсов в водопроводных сооружениях.
В случае пожара станция должна быть в состоянии восстановить неприкосновенный запас воды в резервуарах чистой воды.
Восстановить неприкосновенный пожарный запас (НПЗ) можно:
- увеличив время работы станции, если работа насосной станции обычно не была круглосуточной;
- задействовав резервные насосы;
- сократив использование воды;
- установив специализированные пожарные насосы, подключаемые именно для восстановления НПЗ.
НС 1-го подъема в большинстве случаев делают заглублёнными. Находящуюся под землей часть здания НС выстраивают из железобетона, стали или стеклопластика, старательно изолируя её от подземных вод.

2. Режимы работы и назначение насосных станций второго подъема.
Этот тип НС подает воду, прошедшую очистку, из резервуаров в водопроводы и распределительную сеть.
НС 2-го подъема работают в одном из двух режимов водоподачи: постоянном и переменном. Ступенчатая водоподача осуществляется работой различного количества насосов в разное время в течение дня. При наличии в системе водоснабжения водонапорной башни в часы с потреблением воды меньшим, чем ее подача насосами, излишки перенаправляются в башню, где накапливается запас. Расходование запаса происходит в периоды максимального потребления воды, когда водоподача насосами меньше, чем ее расход в системе.
В незаглубленных насосных станциях второго подъема машинный зал устраивается таким образом, чтобы его пол располагался на одном уровне с поверхностью земли, а в полузаглубленных – на 2-3 м ниже.
Незаглубленные НС просты и экономны в сравнении с полузаглубленными, однако иногда не могут гарантировать положенную высоту всасывания насосов, подходящую эксплуатацию трубопроводов и удобство в их прокладывании.
Полузаглубленные НС 2-го подъема позволяют облегчить коммуникацию между трубопроводами, обеспечив работу насосов под заливом, т.е. уровень воды в приемной камере выше уровня размещения насоса, или с малой высотой всасывания, но чаще всего строительство здания НС при таком способе немного дороже строительства незаглубленных насосных станций.

3. Циркуляционные насосные станции.
Используются в оборотных системах водоснабжения теплоэлектростанций и производственных предприятий. Обычно подобные НС оборудуются насосами двух групп. Первая обеспечивает подачу воды на устройства охлаждения, а вторая ее забор из резервуаров с охлажденной водой и поступление в потребительскую сеть.
Станции в большинстве случаев размещаются недалеко от сооружений водоохлаждения, из которых осуществляется водоподача по самотечным трубам к приемным камерам НС.
Для более надежной работы циркуляционные насосные станции лучше размещать ниже под заливом, что объясняет заглубленную установку циркуляционных НС.

4. Повысительные насосные станции (станции подкачки).
Станции подкачки обеспечивают местное усиление напора на водопроводной сети. Устанавливаются для усиления напора в отдельных городских микрорайонах или отдельных цехах предприятий промышленности. Режим работы станции подкачки напрямую зависит от режима водопотребления. На повысительных НС зачастую устанавливаются обводные линии, позволяющие подавать воду (с меньшим напором) в случаях, если насосная станция отключена.
www.admiral-omsk.ru
Виды насосов и их назначение
В технике насосами называются устройства, которые предназначены для того, чтобы перемещать жидкости под напором. Они осуществляют преобразование той механической энергии, которую вырабатывает приводной двигатель, для того, чтобы осуществить поднятие жидкости на определенную высоту или же обеспечить ее циркуляцию в горизонтальной плоскости по замкнутой системе.
Что касается основной характеристики насоса, то ею является, конечно же, подача жидкости в определенном объеме в течение единицы времени на некоторую высоту, а также то давление или же соответствующий ему напор, коэффициент полезного действия или потребляемая мощность.

Гидравлические машины насосы
Исторически насосы использовались для того, чтобы обеспечивать подъем воды на некоторую высоту и использовать ее для снабжения населения или полива сельскохозяйственных культур. Сейчас же область применения этих устройств существенно шире и не столь односторонняя, как это было еще совсем недавно.
Среди насосов, которые широко используются на практике, следует отметить применяемые в пищевой, бумажной, химической, нефтяной, а также в некоторых других отраслях промышленности. Кроме того, насосы находят широкое применение при проведении строительных и ремонтных работ (для подачи строительных растворов, бетона, откачивания воды из котлованов, водопонижения, намыва земляных сооружений т т.п.), гидроудалении отходов производственных предприятий, добыче различных полезных ископаемых и их транспортировке гидравлическим способом. Следует также заметить, что насосы используются для охлаждения машин, обеспечения их смазки, и при этом являются вспомогательными устройствами.
Можно с уверенностью сказать, что насосы – это одни из самых популярных в технике разновидностей машин, причем используются они действительно очень широко. Что касается классификации, то ее произвести довольно трудно, хотя по некоторым критериям все же возможно. Например, они подразделяются на объемные и динамические.
Объемные насосы функционируют по такому принципу, как вытеснение жидкости из камеры за счет того, что уменьшается ее объем. Он изменяется потому, что рабочий орган насоса, который представляет собой ни что иное, как поршень, который совершает возвратно-поступательные движения. Сама камера, изменяющая объем, попеременно заполняется перекачиваемой жидкостью, а опорожняется через выходные патрубки. Для обеспечения нужного направления движения перекачиваемой среды в них, а также входных патрубках установлены специальные клапаны. К объёмным машинам относятся так же пластинчатые насосы, которые меняют объём за счёт движения вращения ротора и подвижных пластин.
Динамические насосы устроены несколько по-иному. В них нет таких камер, которые изменяют свой объем. Однако они представляют собой сообщающиеся сосуды, которые соединены с отводящими и подводящими устройствами. Именно они оказывают на перекачиваемую жидкость силовое воздействие, и поэтому являются, по сути дела, динамическими устройствами. Конструктивно они подразделяются на насосы трения и лопастные машины.
Разнообразные типы, виды и модели насосов широко применяются в самых различных технических устройствах. Они выпускаются многими известными отечественными и зарубежными компаниями в большом ассортименте и имеют немало конструктивных особенностей и нюансов.
gk-drawing.ru
Назначение – насос – Большая Энциклопедия Нефти и Газа, статья, страница 1
Назначение – насос
Cтраница 1
Назначение насосов в установках трансформации тепла практически не отличается от их назначения в других отраслях техники: химической, пищевой промышленности, в энергетических установках и системах. [1]
Назначение насоса – создать давление, необходимое для циркуляции воды по системе, и потому часто насос в системах отопления называется циркуляционным. [2]
Назначение насоса состоит в своевременной подаче под давлением точно дозированных порций топлива к форсункам. [4]
Назначением насоса является создание статического напора. [5]
Часто назначение насоса косвенно характеризует и его конструктивные особенности. [6]
В зависимости от назначения насоса рабочие колеса изготовляют из различных материалов. [7]
В зависимости от назначения поршнеггых насосов четко определилась их дифференциация на многоцилиндровые поршневые насосы для транспортировки жидкостей под высоким давлением, дозировочные насосы и дозировочные агрегаты для точной дозировки химических компонентов. [8]
В зависимости от назначения насосов пластмассы, стеклопластики и производные каучука употребляются для изготовления и покрытия рабочих колес и внутреннего покрытия корпуса насоса. [9]
Таким образом, назначение насоса НШ-10 состоит в усилении входного сигнала, иначе говоря, усилие на рулевом колесе будет определяться только величиной перепада давления, которое необходимо для смещения плунжера золотника управления. [11]
Прочность поршня должна отвечать назначению насоса данного типа. [12]
Прочность поршня должна отвечать назначению насоса данного типа. [13]
Конструкция клапанов в зависимости от назначения насосов, их подачи и условий применения бывает различной. [15]
Страницы: 1 2 3
www.ngpedia.ru
