Печи своими руками металлические: варианты из трубы и чугунной ванны в том числе, схема, пошаговая инструкция с фото и видео
alexxlab | 17.08.1986 | 0 | Разное
Металлическая печь своими руками. Особенности изготовления металлических печей. Характеристики металлических печей. Как построить металлическую печь своими руками.
Ноябрь 9 • Полезные советы • Просмотров 2377 • Комментариев к записи Металлическая печь своими руками нет
Металлические печи по сравнению с кирпичными или каменными являются наиболее популярными из-за своей невысокой стоимости, внушительного КПД, прочности и малого веса. Однако несмотря на длинный список достоинств, у них есть практически столько же недостатков. В этой статье мы рассмотрим все, что нужно знать о металлических печах, а также расскажем, как построить одну из моделей своими руками.
Содержание
- Достоинства и недостатки металлических печей
- Выбор металла
- Суррогаты для печей
- Обычная сталь
- Жаропрочная сталь
- Чугуни для печей
- Виды печей
- Особенности печей из металла
- Делаем печь для бани
- Печи металлические: фото
Достоинства и недостатки металлических печей
Металл – очень прочный материал, но вместе с тем обладает пластичностью и податливостью, позволяющими придавать ему практически любую форму.
Поскольку основным конкурентом металлических печей являются кирпичные, мы будем сравнивать именно эти два вида изделий. Так, сезонный КПД кирпичных конструкций составляет в среднем 70%, в то время как металлические выдаются все 83%. Это объясняется тем, что удельная прочность кирпича утрачивается с уменьшением толщины, а металл в таких же условиях становится лишь крепче. Вот и получается, что вес железных печек в десятки раз меньше, чем у кирпичных, а потому и себестоимость ниже.
Еще одним неоспоримым преимуществом металлических печей является цельность конструкции. Ее можно запросто перевезти и быстро установить, а с крупными кирпичными сооружениями такого не выйдет.
Металл обладает высокой теплопроводностью, поэтому легкая компактная печка быстро прогревается, но так же быстро и остывает. Быстрый разогрев обеспечивает повышение КПД. В кирпичной печке необходимо сначала дождаться начала внутреннего теплообмена, а до этого во время протопки почти все тепло будет вылетать в трубу.
Практически все достоинства металлических печей обусловлены особенностями материала. Металл очень плотный и не пористый, он не может отсыревать из-за конденсата, как кирпич, не страшится длительных перерывов в топке и не нуждается в разгонной протопке после таких простоев. Еще один важный и удобный момент – металлическую печь легко сертифицировать и получить разрешение у пожарной службы, что сэкономит кучу времени и денег.
Но ничто не лишено недостатков, и металлические печки не являются исключением. Первое, что стоить отметить, такие конструкции «не дышат», поскольку металл, в отличие от кирпича, не отличается пористостью. Когда остывает кирпичная печь, она поглощает влажные испарения из воздуха, а при нагревании отдает их обратно. Таким образом, в помещении поддерживается комфортный влажностный баланс. Некоторые умельцы облицовывают металлические печи кирпичом, чтобы добиться подобного эффекта, однако он в любом случае будет слабее. При этом конструкция утратит мобильность, легкость и прочность.
Выше мы уже упоминали, что металл быстро нагревается, но так же быстро и остывает, поэтому чтобы поддерживать в доме тепло, такую печку придется постоянно топить, иначе в течение 2-3 часов она совсем остынет. Решением этой проблемы может стать изготовление отопительной металлической печи длительного горения.
Но во всех случаях конструкция будет являться постоянным очагом огня, создавая риск угара и пожара, поэтому оставлять ее надолго без присмотра нежелательно.
Главный недостаток печей из металла в их пожароопасности. Нагреваясь, металлические стенки конструкции раскаляются докрасна, и могут спровоцировать возгорание близкорасположенных предметов, обшивки стен, пола и т.д. По этой причине в МЧС очень трудно получить разрешение на установку печи в жилом доме – скорее всего, для нее придется строить котельную.
Что касается срока службы таких печей, то он не такой уж долгий – до 20 лет. При регулярном использовании даже самый толстый металл выгорает, и стенки утоньшаются. Но даже если ваша самодельная металлическая печь проработает всего 10 лет, она полностью окупится сокращением затрат на топливо и возможностью полной замены конструкции без перепланировки и ремонта дома.
Выбор металла
Эксплуатационные характеристики будущей печки в основном будут зависеть от выбранного металла.
Он же влияет на себестоимость работы и сложность ее исполнения. Рассмотрим основные варианты, используемые для создания металлических печей.
Суррогаты для печей
Начнем, пожалуй, с довольно необычного сырья для производства печей – алюминиевых молочных бидонов. Несмотря на то, что инструкции по изготовлению таких агрегатов встречаются довольно часто, это не самый лучший вариант. Дело в том, что для относительно высокого КПД требуется дожигать отработанные топочные газы. В процессе дожигания температура обычно составляет минимум 400С, а если вы собираетесь делать экологичную печку, то температура должна быть все 600С. Алюминий плавится при 660С, конструкционный алюминий имеет предел прочности в 140, а сплавы – в 160-200. Вот и получается, что хорошей долговечной печи из бидонов не выйдет.
Обычная сталь
Обычная конструкционная сталь обладает пределом прочности до 400С (более 2 ч) и 600С (до 2 ч). Для изготовления печей подходит только очень толстая сталь – от 4 мм.
Однако даже в этом случае регулярное использование невозможно, поскольку такая печь полностью прогорит за одну лишь зиму.
Исключение составляют печи длительного горения и то лишь в отдельных случаях. Обычно это самодельные конструкции, в которых можно заменять вышедшие из строя элементы без демонтажа всей печи.
Жаропрочная сталь
Из жаропрочной стали делают все заводские печи, используя для этого спецсталь 1,5-3 мм в толщину. Такие конструкции служат около 20-30 лет, отличаются компактностью, малым весом и высоким КПД. Заводские печки, как правило, уже сертифицированы всеми службами и могут устанавливаться даже в жилых помещениях. Они могут иметь сверху варочные поверхности или маломощные водогрейные регистры.
На первый взгляда кажется, что смастерить такую печку самостоятельно не составит труда, однако на деле оказывается, что даже имея нужный материал, понадобятся профессиональные навыки сварщика и специальное оборудование. Совершенно бесполезно пытаться варить жаропрочную нержавеющую сталь обычными способами, поскольку после переплавки под дугой материал полностью утрачивает свои качества.
Такая печь очень быстро разойдется по швам, и все усилия пропадут даром.
Однако сделать металлическую печь для дома из жаропрочной стали вполне реально. Сборка некоторых моделей не требует капитальной сварки, а соединения можно делать в фальц, на усах или стальных заклепках. Одной из таких печей является «Слобожанка».
Чугуни для печей
Чугун сложно назвать полноценным металлом, поскольку от него там осталась лишь невысокая цена и мобильность. По факту, чугун совмещает в себе свойства металл и кирпича. От последнего ему досталась хрупкость и большой вес. Этот материал отличается малой теплопроводностью (хорошо удерживает тепло внутри) и хорошей теплоемкостью. Это значит, что чугунная печь прогревается довольно быстро, а после протопки отдает тепло в помещение еще 3-4 ч.
Для изготовления печей подходит чугун толщиной от 6 до 25 мм. Более тонкий материал будет очень хрупким, более толстый может треснуть при первой же топке. Из-за большого веса чугунных печек их нельзя ставить прямо на пол – потребуется делать специальную бетонную стяжку.
Важно: Чугунные печи эффективны лишь для обогрева небольших помещений площадью до 60 м². В противном случае их КПД будет очень маленьким. Они в основном годятся для обогрева мастерских, теплиц или хозяйственных помещений, где зимует мелкая живность (птицы, кролики).
Виды печей
Поскольку в большинстве случаев самодельные печи изготавливают с варочными поверхностями, предлагаем рассмотреть именно отопительно-варочные варианты. На изображении ниже показаны основные схемы металлических печей.
Классификация по устройству:
- Камерные – в камерных печах топочные газы проникают в специальную камеру, где полностью перегорают благодаря естественной циркуляции. Конструкция такова, что фактически создает естественный костер в замкнутом пространстве.
В бытовых изделиях топочная камера объединена с дожигательной и представляет единый модуль – горнило. Чтобы дожиг происходит полностью, форма горнила должна быть сводчатой. Самым наглядным примером такой конструкции является классическая русская печь. - Канальные – канальная печь изображена посередине на рисунке выше. В ней топочные газы сначала догорают, затем постепенно остывают и направляются по специальным каналам, расположенным между перегородками. В процессе движения они отдают тепло корпусу печи. Дожигания внутри не происходит, пока температура в топке не достигнет 400С. Такие печи обладают невысоким КПД до 60%.
- Колпаковые – схема копаковой печи изображена на рисунке справа. Топочные продукты горения поднимаются и задерживаются под сводом специального колпака, где без остатка догорают. После этого газы опускаются вниз, отдавая тепло корпусу. Растапливая такую печь, необходимо прогреть лишь небольшой участок колпака. По этой причине ее КПД довольно высокий и может достигать 75%.

Особенности печей из металла
Поскольку основным материалом для сборки является металл, то именно он диктует основные эксплуатационные характеристики печей. Рассмотрим, как металл демонстрирует свои свойства в различных конструкциях. Так, его теплопроводность относительно теплоемкости гораздо выше, чем у красного обожженного кирпича, поэтому металл является плохим накопителем тепла. Он быстро его поглощает, нагревается и так же быстро остывает. Однако если учитывать свойства, можно сконструировать печь так, чтобы добиться высоких показателей при минимальном прогреве. Из-за высокой связности металлических изделий можно реализовывать принципы сжигания топлива, неприменимые для кирпичных печей. На изображении ниже показаны схемы устройства печей из металла.
Рассмотрим же, как функционируют конструкции металлических печей в зависимости от схем:
- Камерные – эта печь показана на рисунке выше под буквой «А». По факту, это обыкновенная буржуйка, чьи «предки» появились еще в позапрошлом веке, но требовали слишком много топлива.
После революции в России конструкция была усовершенствована – в нее вставили колосник с поддувалом, укоротили дымоход до 2,5-3 м и утеплили его. Сводом горнила на минимальной топке был утепленный вертикальный участок дымоходной трубы, в котором догорали топочные газы. Особенность конструкции в том, что она саморегулирующаяся: когда идет полная протопка, пропускной способности дымохода не хватает, чтобы вывести все топочные газы, в результате в горниле появляются завихрения, полностью дожигающие продукты горения. Только после полного догорания газы могут пройти по трубе. Поскольку температура газов на выходе из трубы составляет близко 100С, ни о каком конденсате не может быть и речи. Чистить дымоход от сажи можно всего лишь раз в год. КПД такой металлической дровяной печи (можно топить и углем) составляет около 60%. - Канальные – на рисунке под буквой «Б» показана буржуйка, переделанная под канальную конструкцию, но сходство лишь внешне. Поскольку металл обладает высокой теплопроводностью, от сложного лабиринта газовых труб не будет никакого проку, а посему от него можно оставить лишь одно колено.
Оно будет разделять топку и дожигательную камеру. Вторичный воздух для дожигания проникает через отверстия в конфорке (если есть варочная поверхность) или через специальный регулируемый воздушный дроссель.
Поскольку дожигание топочных газов происходит в одном месте, КПД составляет 70-80%. При этом удельная тепловая мощность печи довольно высокая, эффективность работы не зависит от параметров дымохода или силы тяги, как в обычной буржуйке, что очень удобно. Так как основное тепло возникает в дожигательной камере, печь можно использовать в двух режимах: пламенное и длительное горение. Топить ее можно практически любым твердым топливом, а регулировать мощность не увеличением порции угля или дров, а подкручиванием воздушного дросселя. Если вы используете хороший древесный материал или качественный уголь, о чистке дымохода можно вспоминать раз в 4 года.
Дожигатель для такой печи лучше делать из жаропрочной стали, придав ему форму корыта. Для изготовления корпуса используйте обыкновенную сталь толщиной минимум 4 мм, а для варочной плиты лучше взять чугун либо толстую 8-10 мм сталь.
Плиту рекомендуется делать съемной, особенно если вы решили изготовить ее из стали, поскольку рано или поздно она прогорит и потребует замены. - Печи длительного горения – колпаковая схема оказалась настолько эффективной для металлических печей, что позволила отказаться от пламени: ни один колпак из металла не способен, не перегреваясь, поглотить только тепла, сколько выделяется огнем. Печи перевели в режим тления, что одновременно дало возможность продлить период теплоотдачи до нескольких суток для дров и 10-30 дней для угля. Упрощенная схема такой печи без системы подачи кислорода показана на изображении выше под буквой «В». В ней топливо (1) тлеет у самой поверхности (2), куда поступает кислород. Пиролиз расщепляет топливо на летучие составляющие, которые поднимаются вверх и сгорают в колпаке (3), выделяя около 60% тепла. Чтобы увеличить КПД, на печь надо установить газовую рубашку (4), где смогут догорать топочные газы. Довести КПД таких печек можно аж до 80% и даже больше, поэтому это самый распространенный тип.
Если и вы решили остановить свой выбор на этом варианте, следует учитывать некоторые моменты. Так, несмотря на то, что для таких печей можно использовать любое твердое топливо, наиболее эффективными они будут только в при растопке тем топливом, для которого были разработаны. Причем топливо должно быть максимально сухим, а догружать его до полного сгорания предыдущей партии крайне нежелательно. В дымоходе таких печей всегда будет образовываться много токсичного конденсата, поэтому следует обеспечить его безопасный слив.
Для изготовления корпуса можно взять старую железную бочку или большой газовый баллон. - Масляно-пиролизные – также известны как печи на отработке. Очень экономичный вариант, пользующийся популярностью у печников-самоучек. Принцип работы прост: отработку заливают в бак, поджигают, подают через воздушный дроссель кислород. Горение при этом не слишком сильное, но достаточное для испарения отработанного масла. Масляные пары направляются вверх в специальный отсек в виде трубы с перфорированными стенками, через которые проникает воздух.
Пары горят и следуют в дожигатель с перегородкой, которая задерживает оксиды азота в подходящей температурной зоне, пока те не распадутся и не выделят энергию.Важно: Согласно правилам пожарной безопасности, использование в быту печей на отработке запрещено, поэтому их не встретишь в широкой продаже.
Делаем печь для бани
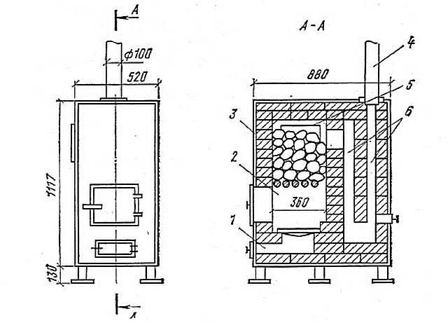
В этой главе мы расскажем, как сделать металлическую печь из листовой стали, обложенную кирпичом. Такая конструкция не будет мобильной, но ее пожаробезопасность позволяет использовать печь внутри дома или даже деревянной бани. Для работы требуется сварочное оборудование и хотя бы начальные навыки обращения с ним. Также понадобится болгарка и диоды 3-4 мм. Основным материалом будет листовое железо 2-3 мм толщиной. Для каркаса лучше взять арматуру 8-10 мм.
На изображении ниже представлен чертеж металлической печи. В конце статьи вы найдете еще несколько чертежей других конструкций.
Важный момент: Выбирая такую печь, следует правильно подобрать диаметр дымохода, поскольку от него зависит сила тяги.
Также на нее влияют погодные условия – чем теплее и влажнее воздух, тем слабее тяга. В слишком узком дымоходе газы и воздух будут смешиваться и не успевать выйти наружу, что создаст дымовую пробку. Слишком широкая труба тоже не годится – в ней газы буду идти очень медленно, а внутренние стенки быстро засорятся.
Металлическая печь своими руками:
- Первым делом надо соорудить фундамент для печки-каменки. Для этого устройте деревянную опалубку высотой 20 см, чтобы получился квадрат 1х1 м.
- Арматуру укладывайте в один слой, сделав сетку из прутьев с ячейками 20х20 см. Важно, чтобы арматура не прикасалась к земле, поэтому обоприте ее на предварительно вбитые колышки (отрезки той же арматуры) и вяжите на весу.
- Приготовьте классический цементно-песчаный раствор в соотношении 1:3 (1 часть цемента не ниже М400 и 3 части речного песка). Для прочности можно добавить еще часть щебенки. Залейте опалубку, накройте поверхность полиэтиленовой пленкой и оставьте сохнуть на 2-3 недели.
Раз в сутки обрызгивайте застывающий бетон холодной водой и снова накрывайте, иначе он растрескается. - Возьмите задний обод от колеса и заварите все отверстия на нем, кроме центрального.
- Со второго обода срежьте выпуклую верхушку, вставьте в него первый и заварите. Важно, чтобы соединение было герметично, поскольку внутри будет находиться горячая вода.
- На внутренней стороне второго обода (Б) с 3-х сторон на равном удалении друг от друга наварите арматуру и уприте ее в трубу, чтобы придать конструкции жесткости.
- В нижней части первого обода (А) сделайте круглое отверстие 25 мм и приварите к нему трубу соответствующего диаметра. В трубу должен быть вкручен кран для слива воды.
- Сделайте точные копии ободов А и Б (А1 и Б1). Насадите обод Б1 на трубу, переверните обод А1 и приварите его к концу трубы. Сверху приделайте обод Б1 и усильте его арматурой для жесткости, как в предыдущем случае.
- Когда фундамент полностью высохнет, удалите опалубку и уложите кирпич, используя вместо обычного кладочного раствора глину.
- Место, где будет расположена печь, необходимо полностью обложить кирпичом для пожарной безопасности.
- Основание сделайте полностью кирпичным, а вторым рядом начните выкладывать зольник с поддувалом. Через него вы будете вычищать золу, чтобы внутрь поступал свежий воздух для создания хорошей тяги. Длина зольника должна быть меньше, чем у топочной камеры.
- Установите дверку поддувала, обложите ее кирпичом, сделайте еще один ряд и установите колосниковую решетку на шахту зольника.
- После колосника уложите два ряда, оставив место для дверцы топочной камеры. Поверх дверцы выложите еще пару рядов.
- Оставьте кладку сохнуть на 2 недели, открыв все выходы для циркуляции воздуха. По истечении указанного срока протопите печку щепками 1,5-2 ч.
- На изображении ниже показана готовая труба, которую надо установить на получившуюся кирпичную конструкцию. На ней находится каменка и бак для горячей воды.
- Стоит отметить, что вес и размеры металлической печи будут довольно внушительными, поэтому проще разделить ее на составляющие и собирать уже внутри на месте.

- Верхнюю часть дымохода укрепите арматурными прутьями, один конец приварив к трубе, а другой уперев в стену. Чтобы прикрепить к стене, используйте стальной уголок или металлическую пластину.
Печи металлические: фото
« Металлическая калитка для дачи: особенности установки Как закрыть трубы на кухне »
варианты из трубы и чугунной ванны в том числе, схема, пошаговая инструкция с фото и видео
Чтобы создать в своём доме отопительный агрегат совсем необязательно возводить громоздкие конструкции из кирпича или покупать дорогостоящие приборы. Для этого можно использовать подручные материалы и ёмкости. При сооружении печи из металла своими руками пригодятся навыки работы со сварочным аппаратом и угловой шлифовальной машиной.
Содержание
1 Плюсы и минусы металлических печей
1.1 Таблица: достоинства и недостатки печей из металла
2 Виды, принцип действия и выбор конструкции для самостоятельного изготовления
2.1 Из алюминия
2.2 Из стали
2.3 Из чугуна
3 Возможные конструкции и их особенности
3.1 Закрытая конструкция
3.2 Конструкция открытого типа
3.3 Комбинированный тип печей
4 Расчёт основных параметров
5 Необходимые материалы и инструменты
6 Подготовительные работы: выбор места установки и закладка фундамента
7 Пошаговая инструкция по изготовлению печи из металла своими руками
8 Устройство дымохода, его изготовление и установка
9 Декор
10 Особенности эксплуатации: чистка и ремонт печки
Плюсы и минусы металлических печей
Печь из металла представляет собой компактный отопительный агрегат цельной конструкции.
Такую печь можно легко перемещать, в отличие от вариантов из кирпича. Её форма может быть различной. Обычно эти конструкции изготавливают в виде куба, параллелепипеда или цилиндра.
Можно использовать в быту и в хозяйственных целях
Коэффициент полезного действия металлической печи невелик — она способна эффективно отапливать только небольшие помещения площадью от 10 до 30 м². В связи с этим такие источники тепла стали популярными среди дачников и владельцев домашних животных. Такие печи используют для обогрева дачных домиков, подсобок, мастерских, сараев, гаражей, курятников и других помещений с небольшой площадью.
Следует учесть, что металлические печи являются пожароопасными конструкциями. Поэтому оставлять их без присмотра на длительное время нельзя.
Несмотря на то, что печи из металла являются удобным вариантом и альтернативой капитальным отопительным сооружениям, они тоже имеют положительные и отрицательные качества.
Таблица: достоинства и недостатки печей из металла
| Достоинства | Недостатки |
|
|
Виды, принцип действия и выбор конструкции для самостоятельного изготовления
Следует отметить, что самодельные печи из металла чаще всего конструируют с варочными поверхностями. Поэтому при перечислении видов металлических печей необходимо учитывать такие конструкции. Существуют следующие виды:
- Отопительные. Конструкция этих агрегатов предназначена только для обогрева помещения.
Какие-либо другие функции такие печи не выполняют. - Отопительные печи с варочной поверхностью. В этих конструкциях предусмотрена поверхность для приготовления еды. Некоторые сооружения этого вида оборудуются кухонной плитой и духовкой.
- Хозяйственно-бытовые. Конструкции, используемые не только в жилище, но и в хозяйственных постройках, подсобных помещениях, гаражах. Такие печи часто устанавливают для обогрева помещений, в которых содержаться домашние животные и птицы.
По своему устройству металлические печи классифицируются на камерные, канальные и колпаковые:
- Камерные конструкции. В таких агрегатах топочные газы поступают в специальный отсек, в котором полностью сгорают под воздействием естественной циркуляции газовых потоков. В бытовых сооружениях топочная область соединена с дожигательной камерой, образуя общий модуль, называемый горнилом. Для эффективности этого процесса необходима сводчатая форма горнила.
Ярким примером этому является классическое сооружение русской печи. - Канальные конструкции. В этой печи топочные газы сгорают почти полностью, после чего продвигаются между перегородками по специальным каналам, в которых постепенно остывают. Во время передвижения горячие потоки отдают тепло стенкам конструкции. Догорание газов в печи этого вида не происходит, пока температура в топочном канале не повысится до 400°С. Коэффициент полезного действия печи этого вида не превышает 60 %.
- Колпаковые конструкции. Каркас этого агрегата напоминает колпак. Горячие потоки направляются под верхнюю часть печи (колпак) и задерживается там, полностью сгорая и нагревая весь корпус. Затем газы опускаются. Для разогрева этой печи достаточно повысить температуру на небольшом участке колпака. Эта особенность повышает коэффициент полезного действия печи до 75 %.
Стрелками указаны горячие потоки
Для изготовления печей чаще всего используют сталь, чугун и алюминий.
Из алюминия
Этот вариант часто используется из-за доступности материала, а именно алюминиевых бидонов. По своей конструкции эта ёмкость подходит под создания отопительного агрегата. Необходимо только проделать отверстие у её основания для установки дымохода. Однако температура плавления алюминия составляет 660°С.
Такой параметр делает материал неустойчивым к сильному нагреву. Это объясняется тем, что высокий КПД достигается в результате дожигания отработанных топочных газов. Во время этого процесса температура составляет около 400°С.
Если планируется изготавливать экологическую печь, то нагрев будет доходить до отметки в 600°С.
Учитывая указанные пределы температур, алюминий — это не лучший материал для изготовления печи. Стенки агрегата быстро прогорят, а конструкция бидона в скором времени деформируется.
Материал быстро прогорает
Из стали
Температура плавления стали составляет в пределах от 1450 до 1520°С, поэтому этот материал, в сравнении с предыдущим, больше подходит для изготовления таких конструкций.
Следует учесть, что для создания отопительного агрегата необходимо использовать листы не менее 4 мм в толщину.
Это обусловлено тем, что каждый металл, независимо от его вида, прогорает под воздействием высоких температур. Поэтому использование материала меньшей толщины нецелесообразно. Тонкие стенки печи, при условии постоянного использования, прогорят через 3–4 месяца.
Надёжный материал
Чтобы повысить устойчивость материала к воздействию высоких температур и продлить срок службы отопительного сооружения, можно его закалить. Для этого стальные листы раскаляют докрасна.
Эффективный способ
Нужно следить, чтобы на металле не появлялись чёрные или синие пятна. Это будет свидетельствовать о не правильной закалке. Следует также учитывать температуру очага, в котором угли не должны быть разогреты до белого цвета.
Если поместить металл в такие условия — он быстро перегорит.
Для установления температуры горения необходимо использовать шкалу нагрева.
Поможет не испортить металлическую заготовку
В процессе закалки металла потребуется помещение его в моторное масло и в тёплую воду. Остывшие стальные листы под воздействием высоких температур могут деформироваться, приобретая волнообразную поверхность. Чтобы исправить этот дефект, лист стали выравнивают с помощью молотка. Процесс закалки металла может проводиться несколько раз.
Чтобы проверить качество закалки стали, необходимо воспользоваться напильником, рабочей частью которого проводят по краю стального листа. Если напильник липнет к металлу, то это свидетельствует о его недостаточной закалке.
Если заниматься закалкой металла нет возможности, можно использовать тугоплавкую сталь. В зависимости от содержащихся в ней сплавов, необходимая температура плавления достигает 2500°С.
Это даёт возможность использовать материал толщиной в пределах от 1,5 до 3 мм. Печь из тугоплавкой стали с указанной толщиной стенок может прослужить до 30 лет. Весь всей конструкции будет меньше, чем печь аналогичных размеров из обычной стали, а КПД намного больше.
Ярким примером является печь Слобожанка.
Вариант из закалённой стали
Из чугуна
Температура плавления чугуна составляет 1450 градусов. Этот материал часто используется для изготовления батарей отопления в квартирах и домах. Он совмещает в себе свойства металла и кирпича. Из-за этого чугун является очень тяжёлым и хрупким материалом.
Чугун обладает небольшой теплопроводностью — он хорошо удерживает тепло внутри печи. Помимо этого, металл быстро нагревается, а после завершения топки продолжает отдавать тепло в течение 3–4 часов.
Чтобы изготовить печь, необходимо использовать чугун толщиной от 6 до 25 мм. Если стенки печи будут менее 6 мм, то конструкция будет очень хрупкой. Если они будут более 25 мм, то при первой же топке корпус печи может треснуть. Так как вся конструкция будет иметь большой вес, она требует установки капитального основания. Для этого изготавливают плитный фундамент.
Печи из этого материала эффективны для обогрева небольших помещений, площадь которых не превышает 60 м².
Для самостоятельного изготовления такой печи чугун не подходит, так как в условиях домашних мастерских он трудно поддаётся обработке.
Материал сложно обрабатывать в условии домашней мастерской
Возможные конструкции и их особенности
Металлические печи изготавливают закрытой, открытой и комбинированной конструкции.
Закрытая конструкция
Такая печь, как правило, включает в себя три отсека:
- нижний, в котором находится топочная камера с поддувалом;
- средний, который включает в себя каменку и отверстие для вывода пара;
- верхний, представляющий собой бак для нагрева воды.
Печи такого типа внутри и снаружи обкладывают огнеупорным кирпичом. Это способствует увеличению теплоёмкости агрегата. Чтобы ускорить процесс разогрева, бак и отверстие для вывода пара закрывают специальной заслонкой. Для прогревания помещения объёмом 10–12 м³, необходимо от 60 до 100 минут.
Конструкция открытого типа
В отличие от предыдущего типа, камни укладываются на металлическую решётку, расположенную над топочной камерой.
Какое-либо перекрытие между топкой и камнями отсутствует. Как и в первом случае, эти печи предназначены для использования в небольших банях и парилках. Для увеличения теплоёмкости используется крышка из оцинкованной жести, которой накрывают камни.
Комбинированный тип печей
Отличительная черта конструкции такого типа печей заключается в наличие увеличенной топочной камеры, оборудованной двойными задвижками и колосниками. Наличие двух пар таких элементов в конструкции способствует эффективной работе поддувала и каменки. В верхней части агрегата, в его горловине располагают камни. Эти элементы обкладывают вокруг дымоходной трубы.
Расчёт основных параметров
Для изготовления выбрана металлическая печь-каменка закрытого типа.
Оптимальные размеры
Её основание будет квадратной формы, размером 600х600 мм. Высота конструкции составит 1350 мм. Высота топочной части — 653 мм, дымоходной трубы — 600 мм. Для дымоходного канала потребуется труба сечением 150 мм.
Чтобы рассчитать объём топочной камеры, необходимо использовать формулу нахождения объёма куба: V=h³, где h — высота, длина и ширина исследуемой фигуры. Подставим значения 0,6∙0,6∙0,35=0,126 м³.
Чтобы рассчитать приблизительную теплоотдачу этой печи, необходимо кубатуру отапливаемого помещения умножить на значение — 21. Допустим, что комната имеет размеры: длину — 3 м, ширину -2,5 м, высоту-2,3 м. На примере это будет выглядеть так: 2∙2,5∙2,3=11,5 м³ — это объём комнаты. Теперь рассчитываем требуемую теплоотдачу печи для комнаты указанного размера: 11,5∙21=241,5 ккал/ч.
Необходимые материалы и инструменты
При изготовлении и установке металлической печи потребуются следующие инструменты:
- Совковая и штыковая лопата.
- Молоток.
- Кирка.
- Ёмкости для воды, бетонного раствора и кладочной смеси.
- Бетоносмеситель.
- Строительный уровень.
- Измерительная рулетка.
- Большой угольник.
- Отвес.
- Сварочный аппарат.

- Угловая шлифовальная машина.
- Напильник.
- Шнур.
Также понадобятся следующие материалы:
- Бетонная смесь марки М 300 или М 400.
- Арматурные прутья для изготовления укрепляющей решётки для фундамента.
- Гидроизоляционный материал — рубероид или толстый полиэтилен.
- Кладочная смесь или глина.
- Асбестовый шнур.
- Камни (дунит, жадеит, кварцит, нефрит, талькохлорит, хромит)
- Для изготовления конструкции печи из стальных листов потребуется:
- 1 лист толщиной 3 мм, размером 60х60 см;
- 4 листа, по 3 мм — 100х60 см;
- 1 лист для колосниковой решётки — 60х60 см, толщиной 12 мм;
- 1 лист для перегородки топочной камеры — 60х60 см, толщиной 3 мм;
- труба сечением 150 мм, с толщиной стенок — 8 мм;
- 4 уголка длиной по 10 см, с шириной полей по 5 см.
Подготовительные работы: выбор места установки и закладка фундамента
Вырезанные детали из листов стали необходимо проверить на отсутствие заусенцев и острых выступов металла, так как во время сварки они будут мешать.
Также следует обратить внимание на размеры вырезанных элементов.
При выборе места для установки печи следует учесть, что эти агрегаты лучше устанавливать в углу помещения вдали от проходных дверей и окон. Если такая печь предназначена для бани или парной, то её можно установить за небольшой перегородкой. Это дополнительно обезопасит от случайного контакта с горячими поверхностями печи.
Вариант для бани
Лучше всего возводить фундамент для печи вместе со строящимся зданием. Однако если отопительное сооружение планируется установить внутри помещения, необходимо разбирать пол до самого основания. При этом лаги пилить можно только после возведения основания до их уровня.
Следует учесть, что фундаменты дома и печи не должны быть соединены.
Со временем здание даёт усадку, и в противном случае основание печи треснет, а агрегат перекосится.
Чтобы заложить фундамент для печи, обложенной кирпичом, необходимо выполнить следующие действия:
- Сделать разметку будущих габаритов печи.
Удобней делать заметки на стене. - Разобрать напольное покрытие. Необходимо добраться до самой земли. На этом этапе деревянные лаги не пилить.
- В соответствии с разметкой на стене выкопать котлован глубиной 50 см, шириной 75 см. Если в грунте большое количество песка, то стенки ямы могут осыпаться. Чтобы этого избежать, необходимо накрыть их рубероидом или полиэтиленом.
- Дно котлована тщательно утрамбовать и выровнять.
- Засыпать внутрь гравий средней фракции, чтобы получился слой толщиной 250 мм.
- Сверху него проложить гидроизоляцию — рубероид.
- Потом засыпать слой песка равный 150 мм. Его необходимо утрамбовать. Следует учесть, что влажный песок лучше спрессовывается.
Толщину бетона можно заменить кирпичной кладкой
- Из досок или OSB плит изготовить опалубку для жидкого бетона. Если она будет изготовлена из досок, то через щели наружу может выливаться бетон или внутрь засыпаться земля. Чтобы этого не допустить, внутреннюю поверхность опалубки можно покрыть полиэтиленом.
- Теперь необходимо изготовить металлический каркас, который укрепит бетонное основание. Для этого нужны арматурные прутья толщиной от 8 до 10 мм. Из них требуется изготовить объёмную конструкцию, состоящую из двух решёток, соединённых на расстоянии 200 мм параллельно друг другу. Ширина ячеек должна быть не более 150х150 мм. Места пересечений арматурных стержней можно укрепить сваркой, проволокой или пластиковыми хомутами.
Металлическая конструкция должна быть нижу верхнего уровня будущего основания
- Готовый металлический каркас установить внутрь опалубки. Следует учесть, что эту конструкцию нужно разместить на возвышенности в 50 мм над гидроизоляцией. Для этого можно, перпендикулярно основанию, вбить деревянные колья или отрезки арматуры. К ним прикрепить металлический каркас. Можно использовать для этого половинки кирпичей, которые создадут нужную высоту для размещения.
- Залить бетонную смесь. Для этого подойдёт марка М 300 или М 400. Следует обратить внимание, чтобы все элементы арматурного каркаса скрылись под слоем бетона.
В процессе заливки фундамента образуются пузырьки воздуха, которые необходимо удалить способом штыкования или используя глубинный вибратор. - Залитую смесь накрыть полиэтиленом. Это необходимо для равномерного застывания фундамента. Если этого не сделать, влага испарится из верхнего слоя бетона. Это может привести к тому, что застывшее основание потрескается и потеряет свою прочность. Через 8–10 суток фундамент затвердеет.
- Застывшее основание очистить от пыли и мусора.
- Покрыть гидроизоляционным материалом. Для этого подойдёт рубероид или толстый полиэтилен.
- Сверху, сплошным слоем, сделать кладку из огнеупорного красного кирпича. Когда уровень кладки дойдёт до лаг, их необходимо подпилить так, чтобы деревянные торцы лежали на бетонном основании.
Рубероид будет уложен сверху сплошной кирпичной кладки
Пошаговая инструкция по изготовлению печи из металла своими руками
Металлическую печь можно изготовить не только из листов стали, но и используя подручные материалы.
Если со стальными конструкциями всё понятно, то в качестве чугунного каркаса можно использовать старую ванну. Ниже будет приведён вариант изготовления печи-каменки из стальных листов.
Изготовление печи-каменки
- В стальном листе толщиной 12 мм прорезать параллельные полосы, шириной по 8 мм. Этот элемент конструкции будет играть роль колосников.
- С помощью сварки соединить стальные листы согласно схеме.
Указаны оптимальные параметры
- Приварить трубу диаметром 150 мм.
- К готовому корпусу печи приварить стальную дверцу размером 350х200 мм, которая будет закрывать топочную камеру.
- Приварить дверцу размером 150х100 мм, к отверстию для поддувала.
- С помощью угловой шлифовальной машины удалить с поверхности корпуса печи заусенцы и острые фрагменты.
Поверхность станет матовой
- К каждому углу днища печи приварить стальные уголки, с шириной полей по 50 мм. На этих элементах будет стоять вся конструкция.
- Установить конструкцию на подготовленное основание.

- Теперь печь необходимо обложить кирпичом. Для этого строительный материал нужно замочить в воде на 30 минут. После этого сделать разметку под кладку. Во время кладки корпус печи может испачкаться раствором. Поэтому металлическую конструкцию целесообразно накрыть полиэтиленовой плёнкой. Следует учесть, что кирпичная конструкция должна возводиться на расстоянии не менее 10 см от стены, а поверхности примыкающих стен необходимо покрыть листовым металлом или огнеупорной плиткой. Это нужно в целях пожарной безопасности.
Способствует лучшей адгезии
- Кладку начинают от угла разметки. Кирпичи следует уложить плашмя. Швы между ними должны быть одинаковыми, не более 5 мм.
- Между первым и вторым рядом необходимо проложить армирующую сетку. Для этого её нарезают полосами и укладывают. Этот элемент укрепит кирпичную конструкцию.
Сетка укрепит конструкцию
- В третьем ряду кладки необходимо оставлять по два промежутка для отверстий. Это поможет нормальной циркуляции воздуха.

В результате увеличится теплоотдача печи
- Следующие ряды выложить с перевязкой.
- Футеровку топочной камеры необходимо выложить шамотным кирпичом. Этот материал выдерживает высокие температуры, не изменяя своей структуры.
Используется шамотный кирпич
- Во время кладки в нижних и верхних рядах устанавливают дверцы поддувала, задвижки. Эти элементы предназначены для регулирования тяги, перекрытия и направления горячих потоков.
Эти элементы помогут регулировать поток воздуха
- В конструкции кирпичной обкладки печи можно предусмотреть отопительный щиток. На схеме показаны этапы возведения рядов.
Конструкция поможет регулировать тепло в зависимости от сезона
Устройство дымохода, его изготовление и установка
Порядовка дымохода имеет свои особенности. На месте соединения дымоходной трубы с кровлей имеется расширение кладки. С внешней стороны этот выступ защищает конструкцию от атмосферных осадков, с внутренней — снижает температуру выходящего потока.
На схеме показана порядовка дымоходной трубы для печи-каменки из металла.
Распушка даёт возможность не использовать утеплитель
Декор
Задекорировать печь можно различными способами:
- Оштукатуриванием.
- Отделкой облицовочным кирпичом.
- Изразцами.
- Различными видами плитки (терракотовой, майоликой, клинкерной).
- Натуральным и искусственным камнем.
- Мрамором.
- Металлом.
Отделка печи металлом является наиболее простым и эффективным способом. Для этого используют листовую сталь или алюминиевый прокат. Торцовые поверхности печи, покрытые этими материалами, создают дополнительный изолирующий слой.
Для окрашивания металла используют кремнийорганические краски различных оттенков.
Особенности эксплуатации: чистка и ремонт печки
Эксплуатация печи-каменки обложенной кирпичом должна соответствовать следующим правилам:
- Перед каждым использованием отопительного агрегата нужно проверять наличие тяги.
Для этого отодвигают металлическую задвижку. Отсутствие тяги или её движение в обратном направлении будет свидетельствовать о засорении колосников или всего дымоходного канала. - Чтобы свести к минимуму объём нагарных масс, образуемых при сжигании дров, необходимо использовать древесину определённых пород. Для этого подойдут осиновые, дубовые, берёзовые и буковые дрова.
- Для растопки лучше всего использовать стружку из древесины хвойных пород, так как этот материал содержит смолы, которые быстро разгораются. Для этой цели удобно использовать сосновые и еловые шишки.
- При постоянном использовании печи-каменки из металла необходимо позаботиться о чистке дымохода от сажи каждый отопительный сезон. Если печью пользуются несколько раз в месяц — эту процедуру выполняют один раз в 2–3 года.
- Эффективное сжигание дров происходит только при загрузке топочной камеры на 1/3.
- В случае появления трещин в кирпичной кладке, их заделывают специальной глиняной синих пород или специальными смесями для кладки печей.
Разогревать печь можно только после высыхания глины.
Изучив нюансы изготовления металлической печи, вы не только сможете сами сделать качественный отопительный агрегат, но и успешно используете его для отопления бытовых и хозяйственных помещений.
- Автор: Андрей Соколов
- Распечатать
Оцените статью:
(0 голосов, среднее: 0 из 5)
Поделитесь с друзьями!
Печь своими руками из металла – разновидности конструкций
Долговечная железная печь ручной работы подходит для обогрева оранжереи, цеха, гаража, комнаты. Для изготовления такой отопительной конструкции понадобится металлический лист, бочка, трубы, использованные огнетушители оптимального размера.
В порядке изготовления агрегата различия присутствуют только на начальном этапе сооружения корпуса.
Разновидности печей из металла
Специалисты различают несколько видов отопительных приборов, в которых основную роль исполняет прочная сталь. Каждая модель обладает определенными плюсами и минусами.
Классическое железное изделие
Мастера предпочитают изготавливать металлическую печь для дачи своими руками. Из стали можно соорудить надежный прибор, обладающий оптимальной теплопроводимостью. Печь можно устанавливать на специально подготовленной площадке, чтобы исключить соприкосновения с деревянными элементами.
Если мастер учтет все преимущества, то сможет собственноручно соорудить обогревательное изделие с высокими показателями при минимальном нагреве, а металлическая печка позволит использовать уникальные принципы сжигания топлива. За теплопроводность отвечает высокая степень связности металлических элементов оборудования.
Универсальная печь-камин из металла
Конструкция снабжена интересными функциями. Топка представлена небольшой камерой, расположенной на опоре, подставке. Фундамент конструкции необходим при большом весе. К топочной камере подсоединена труба, предназначенная для отвода дыма.
Внимание! Печь для эксплуатации в доме и на даче нужно облицевать огнеупорным материалом, чтобы защитить помещение от возгорания.
Основные преимущества
Самодельные долговечные печи на дровах обладают ценными характеристиками. На изготовление простой модели уходит минимум времени. Обустройство металлической отопительной установки требует меньше вложений, чем сооружение из жаропрочного кирпича.
Конструкция из стали не требует много места и быстро нагревается после розжига. Изготовленные своими руками печи из металла имеют небольшой вес. Для повышения эффективности отопления необходимо задействовать экран из жаропрочного кирпича.
В видеоролике специалисты рассказывают о том, как без специалистов изготовить печь для отопления гаража:
Недостатки
Прочные конструкции из металла устанавливают на даче. Своими руками изготовить такие печи несложно, но после перегорания дров устройство сможет отдавать тепло максимум 4 часа. Если обогреватель расположен в комнате, то существует вероятность угара жильцов. Во время работы печь может сильно раскаляться, а это чревато получением ожога.
Внимание! Срок службы металлической конструкции при ежедневной топке составляет максимум 19—21 год. Но все недостатки окупаются, так как сокращается сумма расходов на покупку топлива. Демонтаж можно выполнить без ремонта недвижимости.
Разновидности металлов
Химические свойства материалов определяют качество готового агрегата, поэтому к выбору металла подходят ответственно.
Специфические суррогаты
Мастера используют алюминиевый молочный бидон. Но для повышения КПД следует дожигать дымовые газы. При сгорании дров температура возрастает до отметки +400 C. Алюминий плавится при температуре +650 C.
Обычная сталь
Изготовленные из такого материала печки нельзя использовать на регулярной основе, так как в условиях сурового климата конструкция прогорит до окончания зимы. В категорию исключений вошли агрегаты длительного принципа горения. Изготовленные из подручных материалов печи можно доукомплектовать дополнительными функциями.
Долговечная и жаропрочная сталь
Этот материал используют в заводских условиях для серийного производства печей. Сталь толщиной 1,4—3 мм позволяет повысить срок службы агрегата до 25—30 лет. Заводские модели имеют минимальный вес. Высокий показатель КПД достигнут благодаря теплоемкости и теплопроводности печных сталей.
Конструкция снабжается варочной поверхностью и маломощным водогрейным регистром ГВС.
Незаменимый чугун
Для печки нужен материал толщиной минимум 6 мм, иначе конструкция получится хрупкой. Толще 25 мм чугун лучше не использовать, — существует вероятность того, что под воздействием температур стенки покроются трещинами. Ставить агрегат на пол запрещено, нужно аккуратно разобрать настил до стяжки и обустроить прочный фундамент.
Универсальная чугунная твердотопливная модель для отопления просторного гаражаСхемы экономных печей на дровах
Специалисты выделяют долговечные канальные, высокопрочные камерные, функциональные пиролизные модели, экономные установки длительного горения. Обогреватели отличаются уровнем отдачи тепла, режимами горения, циркуляцией газов, видом топлива.
Характерные особенности оборудования камерного типа
В качестве основы — корпус из стали, чугуна, в котором расположен отсек для сгорания топлива. Для комфортной загрузки топлива предусмотрен люк с дверцей.
В нижней части монтируется система колосников по типу решетки, под которым спрятан зольник. В верхнем отсеке кожуха вырезают отверстие круглой или квадратной формы для внедрения дымохода.
Высококачественный канальный тип оборудования
Корпус выполнен из универсального чугуна или прочной стали. Устройство состоит из колосников, топки, поддувала с защитной дверцей. Во внутреннем отсеке топки спрятаны прочные горизонтальные каналы, которые формируют камеру дожигания. Воздух в систему проникает через крошечные отверстия в конфорках или дроссель. Камера создает препятствие для прямого выхода скопившихся газов в трубу, поэтому дым и воздух равномерно циркулируют, отдавая тепло.
Качественная облицовка печи в интерьереДополнительная информация! Вырабатываемые в системе газы выводятся в дымоход по горизонтальной трубе. Отопительная печка функционирует в длительном, пламенном режимах горения.
Экономные устройства
Обогревательные системы длительного горения после закладки топлива отдают энергию в течение 12 часов.
Дрова разгораются, камеру заполняют топливом и прикрывают поток воздуха. Для сгорания дерева подают кислород через регулятор, который располагают в средней или верхней части корпуса.
Самостоятельное изготовление обогревателя
Выбор материала — первое, что нужно сделать при изготовлении обогревателя. Для работы следует задействовать схему, чтобы избежать ошибок.
Выбор качественных материалов
Лучше всего использовать плиты из доступного чугуна, — они свариваются дуговой сваркой. Этот материал надежен, быстро нагревается до оптимальной температуры, выдерживает перегрев системы. Если печь не будет нагреваться докрасна, для изготовления прочного корпуса используют сталь толщиной 12 мм. Этот материал отличается длительным сроком службы, если не накалять до +600 C.
Базовый набор приспособлений
Для изготовления печки нужны следующие инструменты:
- Сварочный аппарат и электроды.
- Молоток.
- Плазморез.
- Карандаш с металлической основой.

- Диски и болгарка.
- Кусок мела.
- Линейка и строительная рулетка.
Работы выполняются на поверхности из материала, который справляется с высокими температурами.
Оптимальное место для расположения отопительной конструкции
Лучше всего устанавливать отопительный прибор в углу или посередине комнаты. На пол кладут прочный лист плоского шифера, устойчивый к негативным факторам асбестовый картон, керамическую плитку, ряд кирпича. Если печь весит 250—450 кг, без усиленного фундамента просто не обойтись.
Оптимальный вариант – залить основание бетоном, вложить металлическую решетку, которая обеспечит армирование. Фундамент закрывают кирпичом, который фиксируют глиняным раствором.
Долговечная обогревательная установкаДополнительная информация! Устанавливать печь нужно на ровную поверхность. Правильность укладки всех материалов проверяют строительным уровнем.
Сборка печи
Сооружение твердотопливного обогревателя состоит из нескольких важных этапов.
На предварительно очищенный стол кладут металлический лист и последовательно наносят на него точки. В этот момент мастеру пригодится стальной карандаш. Для нанесения на заготовки точных параметров понадобится мел. Нужно вырезать все фрагменты плазморезом.
Аккуратно формируют отверстия для трубы и компактной конфорки. На той пластине, которая в дальнейшем будет приварена к лицевой части, вырезают отверстие для установки топочной дверцы и поддувала. Нужно предусмотреть наличие колосниковых отверстий. В соответствии с проектом конструкции сваривают все заготовки.
Во внутреннем отсеке крепят пластины, которые сформируют небольшие каналы. К отверстию для подсоединения дымохода приваривают небольшой фрагмент трубы. К самому дну прикрепляют прочные стойки, которые выполнены из профиля уголкового типа. Все подготовленные дверцы не спеша надевают на шарниры.
Поверхность тщательно очищают от загрязнений и окалины. Корпус нужно отшлифовать. На финальном этапе выполняют окончательную отделку конструкции.
Покраска печи
Для обработки горячих поверхностей можно использовать эмали органосиликатного и кремнийорганического типа. По химическим свойствам эти материалы равноценные. При выборе лакокрасочного средства нужно опираться на цену и показатели материала.
Правила нанесения краски
Обрабатывать поверхности термостойкими эмалями нужно после предварительной очистки и обезжиривания корпуса. Для работы понадобится пульверизатор. Применять кисть и валик запрещено. Наносят эмаль в два слоя. Окрашивать поверхности нужно в сухом и теплом помещении. Перед эксплуатацией печи нужно дать покрытию хорошо схватиться, — изделие выдерживают минимум 8 дней. Ускорять сушку строительным феном или любым другим приспособлением запрещено, так как покрытие отслаивается.
Распространенные ошибки начинающих мастеров
Людям без опыта сложно выполнить качественную сварку заготовок, так как корпус должен быть герметичным и соответствовать весовой категории.
Если конструкция получается громоздкой и тяжелой, придется дополнительно позаботиться о прочном фундаменте. Владельцы твердотопливной печи сталкиваются с непредвиденной проблемой, которая связана с нагревом потолка. Для избежания случайного возгорания недвижимости необходимо закрепить на потолке материал с низким показателем теплопроводности.
В бытовой отрасли металлические печи используются как аварийные и основные источники тепла. Такие приборы можно применять для периодического обогрева подсобных и крупных хозяйственных помещений. В качестве основного топлива используют дрова и брикеты, так как можно добиться положительного эффекта от обустроенного отопления.
Больше познавательной информации по теме представлено в видеоролике:
Средняя оценка
оценок более 0
Поделиться ссылкой
Как сделать металлическую печь своими руками?
Если вы решили построить собственную сауну или баню, вам совсем необязательно идти в магазин и покупать там готовую дорогую печку.
Необязательно даже выкладывать ее из кирпича. Если у вас нет соответствующих навыков, то эта работа затянется очень надолго. вы можете пойти другим путем и сделать отличную печь своими руками из железных листов и металлической трубы. Такой агрегат будет выполнять свои функции не менее эффективно, чем готовое дорогостоящее оборудование.
Содержание
- Подготовка к работе
- Инструкция по сооружению металлической печи
- Порядок возведения фундамента
- Пошаговая инструкция по сборке металлической печи
- Еще один вариант металлической печи
Подготовка к работе
Прежде всего внимательно изучите схему, в соответствии с которой вы будете делать печку своими руками из металла.
Затем подготовьте все необходимое для работы, а именно:
- сварочный аппарат и электроды;
- болгарку;
- металл листовой толщиной 2-3 мм;
- металлическую трубу диаметром порядка 15 см;
- арматуру диаметром 8-10 мм;
- 4 колесных диска;
- щебень;
- песок;
- цемент;
- огнеупорный красный кирпич.

Рис.2. Металлическая печь со сводомПри строительстве печи из металла помните, что уровень тяги в ней напрямую зависит от диаметра используемой трубы.
Для небольшого помещения будет достаточно трубы диаметром 10 см, для помещений побольше — 15 см. В случае если труба будет слишком тонкой, то дым и воздух попросту не будут успевать проходить через дымоход. Это приведет к крайне неприятным последствиям. В результате образуется дымовая пробка, из-за которой продукты горения будут возвращаться назад в помещение. В процессе проектирования конструкции нужно обязательно подобрать наиболее оптимальное сочетание габаритов дымохода и топки печи. Слишком широкую трубу тоже лучше не устанавливать, т.к. это приведет к снижению тяги и образованию засоренности, требующей частой чистки.
На рис. 2 вы можете посмотреть, как выглядит металлическая печь со сводом.
Вернуться к оглавлению
Инструкция по сооружению металлической печи
Печь-каминка постоянного действия из листовой стали.
Сделать надежную, качественную и эффективную печь из металла совсем несложно, однако и на очень простую работу не рассчитывайте. Нужно в точности выполнять все рекомендации, поэтапно продвигаясь к завершению работы, проверяя каждый пройденный шаг. Именно от внимательности, качества и правильности исполнения зависит безопасность готовой конструкции и ее пользователей.
Для новичка без соответствующих навыков металл может показаться слишком сложным в обработке материалом. Для создания печи из металла нужно иметь навыки работы со сваркой и знать соответствующие правила техники безопасности. Самое элементарное — нельзя работать без специальной защитной маски и перчаток для сварки.
Работа по самостоятельной сборке печи из металла начинается с подготовки основания. Готовая конструкция весит достаточно много и требует обязательного сооружения отдельного фундамента. Строительство основания предусматривается еще на этапе возведения самого здания.
Вернуться к оглавлению
Порядок возведения фундамента
Фундамент для печки.
Сначала из деревянных досок создается опалубка. Она должна иметь по 1 м в длину и ширину и 20 см в высоту. После создания и установки опалубки выкладывается армирующий слой. Арматуру диаметром 8-10 мм нужно укладывать квадратами со стороной в 20 см. На стыках арматуру следует соединять с помощью специальной проволоки. Такую решетку нельзя укладывать прямо на землю, поэтому предварительно необходимо вбить в грунт 4 куска металлического прутка и уже к ним привязать армирующую решетку на весу.
Следующий шаг — заливка опалубки. Для этого можно использовать обычную бетонную смесь, состоящую из 1 части цемента, 3 частей мелкого заполнителя (песка) и 5 частей крупного заполнителя (гравия, щебенки). После заливки бетону нужно дать 2 недели для просыхания. Чтобы ускорить данный процесс, нужно улучшить вентиляцию в помещении. Для этого достаточно открыть окна и двери. На пол следует уложить влажные тряпки и периодически их смачивать. Это позволяет предотвратить образование трещин в бетоне в процессе его высыхания.
Вернуться к оглавлению
Пошаговая инструкция по сборке металлической печи
Рис. 3. Устройство металлической печи.Прежде чем приступать к сборке печи, внимательно изучите схему на рис. 3.
Работа начинается с того, что берется обод от колеса, затем завариваются все отверстия, кроме одного центрального. У второго колесного обода нужно срезать верхушку, затем вставить в него первый обод и заварить всю эту конструкцию. Следите за тем, чтобы не оставалось никаких зазоров. Обязательно отбейте весь шлак от сварки, внимательно проверьте, чтобы шов был сплошным. В результате таких нехитрых манипуляций вы получите корпус для будущей металлической печи.
После этого нужно приварить к полученной конструкции металлические стержни. Они привариваются с трех сторон и придают изделию дополнительной устойчивости.
Следующий шаг — создание отверстий. Прежде всего отверстие сверлится в первом ободе. Диаметр данного отверстия — 25 мм. В дальнейшем к нему будет подключена труба с краном для спуска воды.
Через 2 недели после заливки фундамента можно снимать опалубку и приступать к кирпичной кладке. В данном случае обычный цементный раствор для кладки следует заменить на глиняный. Кирпич используется для возведения основания. На втором ряду кладки нужно устраивать зольник для тяги. Затем можно прикрепить дверцу из листового металла. Продолжайте выкладывать топку, установите колосник, а затем выложите сверху него еще 2 ряда кирпича.
В результате вы получите замечательную печь для бани, представляющую собой удачное сочетание кирпича и металла. После того как печь будет установлена, рекомендуется оставить ее примерно на 2 недели и дождаться, пока просохнет кладочный раствор.
После того как он высохнет, можно приступать к установке металлической дымоходной трубы. После трубы устанавливается бак для горячей воды. Его необходимо смонтировать сверху. Лучше всего начинать сборку непосредственно внутри банного помещения, т.к. вес конструкции будет достаточно большим.
Металлическую печь с дымоходом обязательно укрепляют.
Для этого используется пара арматурных стержней. Их следует привязать к предварительно зафиксированным на поверхности стены металлическим пластинам.
Вернуться к оглавлению
Еще один вариант металлической печи
Самодельная металлическая печь из трубы.Печи из металла могут быть самой разной формы. Хороший агрегат можно сделать даже из обыкновенной трубы. Главное — соблюдать технологию сборки.
Подготовьте трубу длиной 65 см и диаметром 52,5 см. Внизу трубы прорежьте отверстие 33,5х18 см. Это отверстие для колосника. Возьмите сварочный аппарат и наварите прутья или полосу металла. Прутки навариваются с шагом в 10 мм.
Следующий этап — изготовление короба. Для его сборки используется лист металла толщиной порядка 2-3 мм. Лист нужно разрезать на заготовки следующих размеров:
- 2 заготовки 60х14 см;
- 1 заготовка 27х60 см;
- 1 заготовка 27х14 см.
После того как вы закончите со сваркой короба, обязательно зачистите все места соединения и переходите к работе с трубой.
Возьмите трубу и прорежьте с 2 ее сторон заглушки. Для большего удобства условно поделите трубу пополам и вырежьте 2 круга.
Прорежьте в корпусе печи 2 отверстия. Одно отверстие будет использоваться для устройства дымохода. Оно должно быть расположено на расстоянии в 10 см от края корпуса и иметь диаметр, равный 11 см. Второе отверстие должно иметь прямоугольную форму. Оно делается для укладки камней. Отступите 21,5 см от края корпуса агрегата и сделайте отверстие 30х25 см. Обязательно проверьте горизонтальность и вертикальность с помощью уровня.
Возьмите лист металла и делайте конструкцию для ниши под камни. Для этого используется металл толщиной порядка 5 мм. Для изготовления короба используйте 2 листа 27х30 см, 2 листа 27х25 см и 1 лист 25х30 см. Сварите короб, зачистите все швы и промажьте керосином.
На следующем этапе вам нужно будет взять лист железа толщиной порядка 4-5 мм и вырезать из него перегородку для шахты.
Данная перегородка будет разделять топку и дымоход, благодаря чему тепло будет уходить медленнее.
Соберите банную печь из подготовленных элементов. Вставьте перегородку, затем нишу для камней и переверните корпус. Установите боковину с дверкой, которую нужно приварить одной стороной к корпусу агрегата. Внизу нужно поставить зольник и закрыть колосник. В последнюю очередь устанавливается дверца для топочной камеры печи, для чистки дымохода, а затем — ножки печки.
https://1popechi.ru/youtu.be/Zn8BGXGO9Sg
После сборки готовую печь можно устанавливать на отведенное для нее место. При этом очень важно помнить, что поверхность, расположенную под поддувалом агрегата, нужно выложить негорючими материалами, к примеру, керамической плиткой. Можно положить толстый лист металла. На этом печь готова. Удачной эксплуатации!
Металлическая печь своими руками
Появившиеся в ХІХ веке первые металлические печи, сразу же стали неотъемлемой частью городской жизни. На Западе подобные агрегаты до сих пор именуются комнатными печами.
А в наших краях за ними прочно закрепилось всенародное название «буржуйка». Это связано с тем, что подобные печи у народа ассоциировались с разрушенным и неустроенным бытом послереволюционных лет.
Причем совершенно зря. Потому как старинные представители буржуек вполне могут считаться шедеврами, выполненными печных дел мастерами. Да и сегодня металлические печи, изготовленные умелыми руками мастеров, годятся не только для того, чтобы давать тепло, но и служить украшением для практически любого интерьера современных домов.
Преимущества металлической печи
Сколько времени прошло, а популярность металлических печей нисколько не убавилась. И совершенно заслуженно. Для этого есть ряд весомых причин.
1)Высокий уровень КПД, составляющий около 65%.
2) На верхней крышке вполне можно приготовить простой обед или завтрак. Потому что она может разогреваться до 150°, в то время как боковые стенки могут нагреваться до 100°.
3) Современные модели могут поддерживать горение на протяжении 19 часов.
Что весьма удобно, т.к. не нужно постоянно следить за наличием топлива в топке. Достаточно пару раз загрузить горючий материал и наслаждаться теплом.
Кроме вышеперечисленных достоинств есть и еще одно. Металлическую печь народные умельцы могут сделать из любого подходящего подручного материала. В ход идут и бывшие в употреблении молочные баки, и листы кровельного железа. Даже обода от колес грузовиков. Подобные самодельные агрегаты можно использовать в качестве временного варианта. Более надежную конструкцию желательно изготавливать собственноручно из металла хорошего качества, с толщиной листа не менее 6-10 мм. Итак, когда есть достаточно энтузиазма и терпения, можно приступать к делу.
Металлическая печь своими руками. Этапы работ
1. Подготовка и сборка
Прежде всего, нужно сварить два отрезка трубы диаметром 50 см. Длина одного должна быть 60 см, а второго – 90 см. Можно взять уже готовые трубы. Важно, чтобы они были достаточно толстыми, чтобы не прогорели.
Делаем вырез 200х50 мм в нижней части 90-сантиметровой трубы. Это будет наше поддувало. Над ним приваривается металлическая пластина, в которой нужно прорезать отверстие для колосников, располагаемых в поддувале.
Вырезаем отверстие для топки. К нему привариваются крепления для петель дверцы. Устанавливаем дверцу и изготавливаем для нее защелку.
Для того чтобы металлическая печь не только давала, но и сберегала тепло, над топкой сооружается каменка. Ее высота должна быть не меньше 10 см. В этом отделении также делается отверстие для дверки, которую мы и устанавливаем. В каменку закладываются камни. Можно заложить керамзит или щебень. Однако если есть возможность, можно использовать и отслужившие свой срок керамические электроизоляторы.
Обычно хозяева не планируют переносить печь. Однако не лишним будет предусмотреть возможность переноса. Чтобы при передвижении камни не выпали, можно приварить прут из стали.
Далее необходимо закрепить муфту. Изготавливаем ее из 5-милиметрового листа стали, шириной около 50 мм.
Привариваем все детали к готовому корпусу нашей печи. Вторая часть муфты пойдет для сооружения бака.
2. Монтаж бака
Оборудовав металлическую печь водогрейным баком, ее можно использовать в качестве бойлера, а также как составную часть водной отопительной системы дома.
Сверху печи приваривается металлический круг в торец будущего бака. Эта деталь должна иметь отверстие для дымохода около 120 – 150 мм.
Чтобы вода не попадала в топку, нижнюю часть трубы нужно жестко закрепить к задней стенке и днищу бака. Пользовательское отверстие, предназначенное для наполнения бака водой, закрываем крышкой. А чтобы удобно было ее открывать, привариваем к ней ручку.
Кран приваривается к нижней части бака. А на дымоход привариваем своеобразную площадку, которая служит основой для монтажа будущей кирпичной трубы, проводящую сквозь себя дым.
3. Отделочные работы.
Для комнатных металлических печей можно использовать огнеупорную краску. А вот стильная печь в бане будет лучше смотреться в кирпичной «одежке».
4. Правила безопасности
Устанавливая буржуйку, стоит помнить о правилах безопасного пользования металлическими печами. Прежде всего, под ее основание нужно уложить огнеупорную подложку, в виде кафельной плитки или цементного, возможно, каменного пьедестала. Можно воспользоваться и другими материалами. Главное – чтобы они надежно защищали пол от воздействия высоких температур. Для изоляции стен и мебели применяются асбестоцементные плиты. А когда планируется использовать печь для приготовления пищи, стоит соорудить низкие перильца, чтобы предотвратить возможные ожоги.
Хорошая тяга в дымоходе должна предотвращать риск отравления угарным газом. Сама конструкция печи предусматривает вывод продуктов горения наружу здания даже при приоткрытых дверцах.
Когда все требования безопасного пользования выполнены, можно уверенно приступать к эксплуатации печи.
Металлическая печь в баню своими руками
Печи для хорошей русской бани изготавливаются, как правило, из кирпича или металла.
Металлические печи свободно продаются сегодня в большинстве специализированных магазинов, предлагающих клиентам большой выбор моделей. Вниманию людей, предпочитающих всё делать самостоятельно, мы предлагаем эту статью о том, как сделать металлическую печь в баню своими руками.
Изготовление топки и каменки
Схема металлической печи в разрезе
Самодельная металлическая печь
Особенностью классической русской бани является то, что она оборудуется не газовой и не электрической, а именно дровяной печью. При этом только грамотный подход к её конструированию позволит вам получить характерный для таких печей режим (влажность воздуха в парилке 60% при температуре 70-80 градусов). При самостоятельном изготовлении русской печи возможен выбор из следующих двух вариантов:
- вертикальная печь из трубы выбранного вами диаметра;
- горизонтальная конструкция на основе металлической бочки.

В данной статье нами будет рассмотрен вариант изготовления печи вертикального типа.
Основная задача, которую необходимо решить в этом случае, состоит в том, чтобы найти трубу подходящего диаметра (0,5-0,6 метра) с толщиной стенки от 5 до 10 мм и высотой 1,6 метра. Эта труба делится на три части, причём секция длиной 0,6 метра предназначается для водяного бака, а две секции по 0,8 метра пойдут на топку и каменку. Из оставшихся заготовок можно будет сделать дверцы для топки и поддувала. Все эти элементы печи и их размеры указаны на приводимом здесь чертеже.
Колосниковая решетка для металлической печи
В части трубы, предназначенной для топки, вам нужно будет проделать вырезы определённых размеров. Для поддувала делается отверстие размером 200х60 мм. Прямо над ним следует приварить перегородку с четырьмя проушинами, служащую для установки колосника. Сам колосник, подобранный по размеру печи, можно приобрести в магазине печного литья.
Толщина пластины для навески решётки не должна быть менее 12 мм.
Чуть выше колосника делается отверстие под дверцу топки (вырез размером 250 х180 мм), а сверху к трубе приваривается вторая перегородка с вырезанным центром, на которой можно будет смонтировать поддон каменки. В качестве поддона можно использовать ещё одну колосниковую решетку, при этом по высоте каменка должна занимать не менее 0,8 метра. В этом отделении металлической печи также вырезается отверстие для дверцы размером 250х300 мм. Затем каменка заполняется на треть высоты небольшими по размеру камнями округлой формы, имеющими мелкокристаллическую структуру тёмного цвета (серого или чёрного).
Бачок для воды
Схема металлической печи для бани
В печах вертикального типа секция для горячей воды обустраивается прямо над каменкой. С этой целью устанавливается еще одна перегородка толщиной 8 мм с отверстием под трубу дымохода (120 мм в диаметре), являющаяся дном данной секции.
Обратите внимание! Отверстие под дымоходную трубу должно быть несколько смещено к задней стенке. Сверху приваривается пластина с отверстием под дымоход, закрывающая лишь половину верхней окружности бака. Оставшаяся незакрытой часть используется для заливки воды и закрывается во время её нагрева специальной крышкой с ручкой.
В том случае, если вы решили вывести трубу из кирпича на крышу бани – вам необходимо будет к дымовой трубе приварить небольшую площадку (300х300 мм) на расстоянии примерно 300 мм от крышки. К стенке бачка со стороны крышки и как можно ближе ко дну приваривается кусок трубы соответствующего диаметра, в который позднее устанавливается вентиль.
Установка печи
Печь, обложенная кирпичом
Обустройство металлической печи в баню своими руками начинается с подготовки фундамента под неё. Но ещё до начала его устройства вам нужно определиться с тем, будете ли вы обкладывать свою печь кирпичом или нет.
В парилках небольшого размера, рассчитанных на один заход, обкладку печи кирпичом можно и не производить. Если же вы рассчитываете париться в несколько «заходов» и хотите, чтобы тепло как можно дольше держалось в парилке – без такой обкладки никак не обойтись.
Для обустройства фундамента вам потребуется огнеупорный кирпич, который выкладывается в два ряда и заливается сверху готовым бетонным раствором. Размеры такого фундамента составляют обычно величину около 700х700 мм; при этом он должен располагаться на следующих удалениях от стен парилки:
- не менее 20 см для печей с обкладкой кирпичом;
- не менее одного метра для «голых» металлических печей.
Обратите внимание! В целях безопасности стены парилки в районе размещения металлической печи закрываются специальной фольгой с утеплителем (из материала типа «Изовер»). Для печей, обкладываемых кирпичом, такая защита стен не требуется.
Кирпичная дымоходная труба выводится, как правило, через крышу бани на высоту чуть более полуметра.
Она обязательно оштукатуривается, а расположенные в местах её прокладки деревянные конструкции изолируются листами асбеста.
Видео
В следующем видеоматериале вы увидите печь, изготовленную по описанной в статье технологии:
Еще один вариант металлической печи:
Фото
Установленная металлическая печь
Печь металлическая
Печь для бани из металла
Обкладка печи кирпичом
Построить печь для пиццы дома
В последние годы популярность печей для пиццы резко возросла. Мы протестировали несколько из них и поняли, почему. Хорошая печь для пиццы может приготовить фантастическую домашнюю пиццу менее чем за две минуты, и вы можете сделать ее так, как вам нравится.
Это особенно удобно, если члены вашей семьи никогда не соглашаются на начинку. За 10 минут вы можете испечь три пирога размером от 12 до 14 дюймов. Каждый получает то, что хочет.
Во время одного раунда тестирования мы задумались: насколько сложно будет сделать собственную портативную печь для пиццы? Есть много планов для кирпичных печей для пиццы, но не слишком много для небольших, портативных печей, работающих на пропане, которые вы можете использовать где угодно: во внутреннем дворике, на барбекю у друга или даже в кемпинге. Итак, мы запустили этот проект печи для пиццы своими руками. Корпус сделан из матовой нержавеющей стали, которую мы нашли на нашей местной свалке, а камень для пиццы поставляется с Amazon. Изготовление горелки было самой сложной частью и требовало повторных попыток, чтобы заставить ее работать достаточно хорошо, чтобы камень для пиццы прогрелся до температуры.
Брэдли Форд
Если вы хотите выполнить этот проект, мы перечислили материалы и инструменты для него ниже.
Полезно иметь пару специализированных инструментов, таких как металлогибочный пресс и ленточная пила, но они не обязательны. Я использовал тиски и металлический пруток для зажима и гибки листового металла в течение многих лет — наличие тормоза для этой работы было роскошью. И хотя ленточная пила или ножницы для листового металла облегчают резку, существует множество других вариантов резки листового металла. Отрезные круги на угловых шлифовальных машинах и диски для циркулярных пил, предназначенные для металла, — это всего лишь две возможности. Одно предостережение: если вы используете нержавеющую сталь, некоторые режущие инструменты могут нагреться и обесцветить покрытие.
Персонал
Необходимые материалы
- Камень для пиццы 14” x 16”
- Газовый шаровой кран 3⁄8” FIP
- 3⁄8” латунный запорный ниппель
- 7 90nip 90 x 6” латунь Латунный трубный ниппель 3⁄8” x 4”
- Латунная трубная заглушка 3⁄8”
- Раструб 3⁄8” x 3⁄8” FPT муфта
- Желтая PTFE уплотнительная лента для газопровода
- Форсунки пропана, комплект 4
- Регулируемый пропановый регулятор 4 фута 0–20 PSI
- Заклепки из нержавеющей стали, 1/8” x 3/8” (x150)
- Универсальный запальник для гриля
- Удлиненный запальный электрод
- 1-дюймовая керамическая изоляция
- 2 фута x 4 фута калибр 22, матовый листовой металл из нержавеющей стали (x2)
- 2 фута x 3 фута 20-го калибра, матовый лист из нержавеющей стали
Необходимые инструменты
- 36-дюймовый гибочный пресс для металла
- Ленточная пила с режущим диском по металлу или циркулярная пила с режущим металлом лезвие
- Metal cutting shears
- Pop rivet gun
- Belt grinder
- Metal files
- Sheet metal finishing hammer
- Bench vise
- Pipe wrench
- Assorted wrenches
- C clamps
- Step drill bits
- Drill bit index
- Дрель
- Паяльник
- Универсальный нож
Сборка пола и внутренних стен печи для пиццы
Сборка кронштейна горелки
Сборка горелки
Перед сборкой горелки необходимо выполнить несколько действий.
Во-первых, вам нужно просверлить и нарезать 6-дюймовый латунный патрубок, чтобы вы могли установить пропановые форсунки. Просверлите четыре отверстия диаметром 17⁄64 дюйма на расстоянии 1 1⁄4 дюйма друг от друга, затем нарежьте в них резьбу с помощью метчика 5⁄16–24. Следующее, что вам нужно сделать, это просверлить крошечное отверстие в пропановой форсунке с помощью сверла диаметром 5/64 дюйма.
Сборка пола и внутренних стен печи
Добавление изоляции и установка наружных панелей печи
Установка ножек
Установка горелки
Установка кожуха горелки
После того, как мы закончили строительство печи для пиццы, мы обнаружили, что горелка чувствительна к ветру , время от времени толкая пламя в спину. Итак, мы добавили этот впускной колпак, который защищает горелку и создает лучшую тягу, чтобы пламя направлялось туда, куда оно должно идти.
При использовании духовки лучше ориентировать заднюю часть духовки по направлению ветра.
Использование печи для пиццы
Bradley Ford
Чтобы запустить печь для пиццы в первый раз, подсоедините регулируемый регулятор к баллону с пропаном и к штуцеру на горелке. Выключите регулируемый регулятор, откройте клапан на баллоне с пропаном и откройте газовый клапан на духовке. Медленно поворачивайте регулятор, пока не услышите выходящий газ, затем нажмите на запальник. После того, как вы услышите, как загорается горелка, вы можете заглянуть внутрь и отрегулировать пламя, пока оно не будет касаться верхней части дверцы печи для пиццы спереди. Дайте ему прогореть около 25 минут или около того, прежде чем использовать его в первый раз. Обычно на разогрев уходит около 15 минут, в зависимости от температуры и ветра.
А теперь готовь пиццу!
Брэдли Форд Редактор тестов
Брэд Форд провел большую часть своей жизни, используя инструменты для ремонта, сборки или создания вещей.
В детстве он работал на ферме, где научился сваривать, ремонтировать и красить оборудование. С фермы он перешел на работу к торговцу классическими автомобилями, ремонтируя и обслуживая «Роллс-Ройсы», «Бентли» и «Ягуары». Сегодня, когда он не тестирует инструменты и не пишет для Popular Mechanics, он занят выполнением проектов на своей старой ферме в восточной Пенсильвании.
Набор для духовки своими руками — Fiero Casa
3500 долларов США
Опции
- Информация
Информация
,Ширина: ,Высота: ,Глубина:
Информация
- Описание:
- Набор «Сделай сам» Duo — это набор «сделай сам», в который входят уникальные компоненты, необходимые каменщику для сборки кирпичной печи в стиле итальянского очага, предназначенной для использования в жилых помещениях.
Постройте печь поверх подготовленного фундамента и отдекорируйте фасад любым не-с - Использование внутри/снаружи:
- Встройте каменную печь во внешнюю стену, чтобы поместить устье печи на кухне, или поместите ее снаружи и отполируйте, чтобы она соответствовала вашему заднему двору!
- Размер модели:
- Duo (под для выпечки ø 35,4 дюйма) и Quattro (под для выпечки ø 43,3 дюйма)
Описание
ХАРАКТЕРИСТИКИ
ТЕХНИЧЕСКАЯ
ГАЛЕРЕЯ
Адаптировано из нашей коммерческой линейки, чтобы быть более компактным, сохраняя при этом ту же мощность и возможности, что и профессионалы.
В помещении или на открытом воздухе, это дополнение станет центром вашего дома.
Это уникальная возможность построить свою собственную высокоэффективную итальянскую печь с уникальным дизайном, который соответствует вашей личной эстетике!
Адаптировано из нашей коммерческой линейки, чтобы быть более компактной, сохраняя при этом ту же мощность и возможности, что и наши профессиональные печи. В помещении или на открытом воздухе, это дополнение станет центром вашего дома.
Эта печь дает вам все преимущества профессионального пиццайоло, работающего с печью премиум-класса.
Не нужно быть пиццайоло, чтобы управлять этой печью – просто вставьте пиццу, и пусть печь сделает все остальное!
Не нужно быть пиццайоло, чтобы управлять этой печью – просто вставьте пиццу, и пусть печь сделает все остальное!
Вентиляционный материал не включен. Печь должна быть напрямую подключена к дымоходу, указанному в списке UL 103 HT, или эквивалентному стандарту в соответствии с NFPA 211 и местными нормами.
Дымоход должен заканчиваться крышкой дымохода с искрогасителем, внесенным в список UL. Требования к установке могут варьироваться в зависимости от желаемого дымохода.
Рабочий воздушный поток : 200 CFM
Статическое давление на воротнике дымохода : 0,05 дюйма водяного столба
Вентиляционный материал не включен. Печь должна быть напрямую подключена к дымоходу, указанному в списке UL 103 HT, или эквивалентному стандарту в соответствии с NFPA 211 и местными нормами. Дымоход должен заканчиваться крышкой дымохода с искрогасителем, внесенным в список UL. Требования к установке могут варьироваться в зависимости от желаемого дымохода.
Рабочий расход воздуха : 200 CFM
Статическое давление на муфте дымохода : 0,05 дюйма водяного столба
ДУО
КВАТРО
Минимальное расстояние от печи (встроенной или отдельной) до горючих материалов:
Верх : 14 дюймов (356 мм)
Задняя и боковые стороны : 1 дюйм (25 мм)
9
9 СПЕЦИФИКАЦИЯ
НАБОР ДЛЯ СДЕЛКИ DUO
ТЕХНИЧЕСКИЕ ХАРАКТЕРИСТИКИ | СКАЧАТЬ
НАБОР ДЛЯ СДЕЛКИ DUO
СПИСОК ДЕТАЛЕЙ | СКАЧАТЬ
Минимальное расстояние от печи (встроенной или отдельной) до горючих материалов:
Верх : 14 дюймов (356 мм)
Задняя и боковые стороны : 1 дюйм (25 мм)
9 СПЕЦИФИКАЦИЯНАБОР ДЛЯ СДЕЛКИ QUATTRO
СПЕЦИФИКАЦИЯ | СКАЧАТЬ
НАБОР ДЛЯ СДЕЛКИ QUATTRO
СПИСОК ДЕТАЛЕЙ | СКАЧАТЬ
ДУО
КВАТРО
Минимальное расстояние от печи (встроенной или отдельной) до горючих материалов:
Верх : 14 дюймов (356 мм)
Задняя и боковые стороны : 1 дюйм (25 мм)
Нет – сгораемый пол должен выступать не менее чем на 36 дюймов (914 мм) от отверстия печи и не менее чем на 30 дюймов (762 мм) в каждую сторону от отверстия.
Не заполняйте необходимое воздушное пространство изоляцией или другими материалами.
СПЕЦИФИКАЦИЯ
НАБОР ДЛЯ СДЕЛКИ DUO
ТЕХНИЧЕСКИЕ ХАРАКТЕРИСТИКИ | СКАЧАТЬ
НАБОР ДЛЯ СДЕЛКИ DUO
СПИСОК ДЕТАЛЕЙ | СКАЧАТЬ
СПЕЦИФИКАЦИЯ
НАБОР ДЛЯ СДЕЛКИ DUO
ТЕХНИЧЕСКИЕ ХАРАКТЕРИСТИКИ | СКАЧАТЬ
НАБОР ДЛЯ СДЕЛКИ DUO
СПИСОК ДЕТАЛЕЙ | СКАЧАТЬ
Минимальные расстояния печи (встроенной или отдельно стоящей) до горючих материалов следующие:
Верх : 14 дюймов (356 мм)
Задняя и боковые стороны : 1 дюйм (25 мм)
(762 мм) в каждую сторону проема. Не заполняйте необходимое воздушное пространство изоляцией или другими материалами.
СПЕЦИФИКАЦИЯ
НАБОР ДЛЯ СДЕЛКИ QUATTRO
СПЕЦИФИКАЦИЯ | СКАЧАТЬ
НАБОР ДЛЯ СДЕЛКИ QUATTRO
СПИСОК ЧАСТЕЙ | СКАЧАТЬ
СПЕЦИФИКАЦИЯ
НАБОР ДЛЯ СДЕЛКИ QUATTRO
СПЕЦИФИКАЦИЯ | СКАЧАТЬ
НАБОР ДЛЯ СДЕЛКИ QUATTRO
СПИСОК ДЕТАЛЕЙ | СКАЧАТЬ
АУТЕНТИЧНЫЙ.
ИТАЛЬЯНСКИЙ. ПЕЧИ.ПОСМОТРЕТЬ БОЛЬШЕ FIERO ЖИЛЫЕ ПЕЧИ
АКУНТО
Сделано в Неаполе
СОЛЬФАТАРА
ВДОХНОВЛЕНО ВУЛКАНОМ
КАМЕННАЯ КЛАДКА
ФАСАД НА ЗАКАЗ
Как построить солнечную печь
Перейти к основному содержанию
Хотите знать, как лучше использовать или перерабатывать все эти картонные коробки? Используйте энергию солнца, чтобы разогреть вкусное лакомство в этой простой солнечной печи! Вы когда-нибудь слышали выражение, что на улице так жарко, что можно пожарить яичницу на тротуаре? Вы когда-нибудь задумывались, правда ли это? Узнайте это с помощью этого простого, веселого и восхитительного научного проекта на солнечной печи, в котором используются только предметы домашнего обихода и коробка для пиццы — ваша собственная солнечная плита, сделанная своими руками.
Кроме того, узнайте о поглощении, изоляции и солнечной энергии.
Хотите узнать больше о солнечной энергии? Ознакомьтесь с этими научными проектами по солнечной энергии. А для еще одного съедобного научного проекта, который учит изоляции, приготовьте запеченную Аляску.
Что нужно для сборки Солнечная печь :- Картонная коробка для пиццы (в которой пицца поставляется)
- Канцелярский нож или ножницы
- Алюминиевая фольга
- Прозрачная лента
- Пластиковая упаковка (подойдет также прочный пакет или пакет с замком для заморозки)
- Черная плотная бумага
- Газеты
- Линейка или деревянная ложка
- Термометр
- Взрослый поможет с нарезкой
- Рецепты солнечной печи
- С помощью канцелярского ножа или острых ножниц вырежьте клапан на крышке коробки для пиццы.
Разрежьте по трем сторонам, оставив около дюйма между сторонами клапана и краями крышки. Откиньте этот клапан так, чтобы он стоял, когда крышка коробки закрыта. - Накройте внутреннюю сторону клапана алюминиевой фольгой, чтобы она отражала солнечные лучи. Для этого плотно оберните фольгу вокруг клапана, затем приклейте ее к задней или внешней стороне клапана.
- Используйте прозрачную полиэтиленовую пленку, чтобы создать воздухонепроницаемое окно для проникновения солнечного света в коробку. Для этого откройте коробку и заклейте двойным слоем полиэтиленовой пленки отверстие, которое вы сделали, когда разрезали клапан в крышке. Оставьте около дюйма пластикового нахлеста по бокам и надежно закрепите каждую сторону, герметизируя воздух. Если вы используете полиэтиленовый пакет, вырежьте квадрат достаточного размера, чтобы закрыть отверстие, и заклейте его одним слоем.
- Выстелите дно коробки черной плотной бумагой — черная поглощает тепло. На черной поверхности будет готовиться ваша еда.
Сколько вам понадобится, будет зависеть от размера коробки для пиццы, которую вы используете для изготовления солнечной печи. - Чтобы изолировать духовку, чтобы она удерживала больше тепла, сверните листы газеты и положите их на дно коробки. Приклейте их скотчем, чтобы они образовывали границу вокруг зоны приготовления пищи. Также может быть полезно сначала заклеить рулоны скотчем. Газетные рулоны должны быть такими, чтобы крышка все еще могла закрываться, но внутри коробки было уплотнение, чтобы воздух не мог выйти.
- Лучшее время для установки солнечной печи — это время, когда солнце находится высоко над головой — с 11 до 15 часов. Вынесите его на улицу в солнечное место и отрегулируйте заслонку так, чтобы максимально возможное количество солнечного света отражалось от алюминиевой фольги и попадало на окно с пластиковым покрытием. Используйте линейку, чтобы подпереть клапан под прямым углом. Вы можете наклонить всю коробку, используя свернутое полотенце.
- Вы можете приготовить тост, намазав маслом ломтик хлеба, а остальное сделает солнце.
Приготовление хот-дога или приготовление начос с чипсами и сыром — это также забавные угощения, которые можно приготовить в вашей солнечной печи! Также было бы неплохо разогреть остатки. Чтобы бумага внизу не испачкалась, кладите то, что хотите приготовить, на прозрачную пластиковую или стеклянную тарелку. Подойдет тарелка для пирога. Поместите термометр в духовку, прежде чем закрывать ее, чтобы вы могли проверить температуру. - Чтобы достать продукты из духовки, откройте крышку коробки для пиццы и с помощью кухонных рукавиц или прихваток выньте стеклянную посуду из духовки.
Солнечное тепло задерживается внутри вашей солнечной печи для пиццы, и она начинает сильно нагреваться. Такие печи называются коллекторными, потому что они собирают внутрь солнечный свет. Находясь на солнце, ваша духовка в конечном итоге нагревается достаточно, чтобы расплавить сыр или приготовить еду!
Как это происходит? Лучи света падают на землю под углом.
Фольга отражает луч и направляет его прямо в отверстие коробки. Пройдя через полиэтиленовую пленку, он нагревает воздух, который находится внутри. Черная бумага поглощает тепло на дне духовки, а газета следит за тем, чтобы тепло оставалось там, где оно есть, а не выходило за пределы стенок духовки.
Ваша солнечная печь может нагреваться до 200° F в солнечный день, и вам потребуется больше времени, чтобы разогреть вещи, чем в обычной печи. Хотя этот метод займет больше времени, он очень прост в использовании, и его безопасно оставить в покое, пока энергия солнца готовит вашу еду.
Мы сделали сырный рулет, расплавив сыр на кукурузной лепешке. Потребовалось около 45 минут, чтобы наш сыр расплавился, а лепешка стала мягкой. Внутренняя температура нашей солнечной печи для пиццы составляла 125 ° F.
Если вы не хотите долго ждать блюда, приготовленного на солнечной энергии, попробуйте разогреть что-то уже приготовленное, например, остатки или банку с супом. . Положите твердую пищу в стеклянную посуду, а жидкости в тяжелый пластиковый пакет с застежкой-молнией.
Вы также можете предварительно разогреть духовку, поставив ее под прямые солнечные лучи на час.
Другие рецепты, которые вы можете попробовать: запеченный картофель, рис с овощами, шоколадное фондю, смор и жареные яблоки с корицей и сахаром.
Даже в пасмурные дни может быть достаточно тепла и солнечного света для медленного приготовления особого блюда. Вот несколько советов, как успешно использовать солнечную печь:
- Перемешивайте жидкости (если вы готовите что-то вроде фондю, риса или супа) каждые 10 минут. Вы также можете переворачивать твердые продукты каждые 10-15 минут, чтобы они готовились равномерно.
- При необходимости переместите вашу солнечную печь так, чтобы она была обращена к прямому солнечному свету. Вы должны периодически проверять свою духовку, чтобы убедиться, что она находится на солнце.
- Убедитесь, что клапан, покрытый фольгой, отражает свет в коробку для пиццы через пластиковое окно.

Чтобы продолжить эксперименты с приготовлением пищи на солнечной энергии, сделайте свой собственный очиститель солнечной энергии с помощью этого научного проекта!
Другие готовые научные проекты см. в разделе «Наборы солнечной и альтернативной энергии».
Дровяная печь для пиццы своими руками {Простая земляная печь за 2 дня!}
Вы когда-нибудь мечтали построить простую дровяную печь для пиццы на открытом воздухе и приготовить вкусную пиццу или хлеб прямо на заднем дворе? Это вполне выполнимо: вот очень подробное руководство «Сделай сам» по изготовлению дровяной печи для пиццы , которое поможет вам начать!
Люди веками строили печи во всех уголках мира. Вам не нужны высокотехнологичные вставки, комплект для печи для пиццы или какие-либо дорогие материалы, чтобы построить эффективную печь для пиццы на открытом воздухе.
В этой простой дровяной печи для пиццы, сделанной своими руками на заднем дворе, используются легкодоступные натуральные материалы, и она работает удивительно хорошо (см.
Этот тип печи называется земляной печью или глыбовой печью. Сделано из легкодоступных и часто бесплатных материалов, и проверенная технология, которая использовалась в течение сотен или даже тысяч лет,] даже проще, чем кирпичная печь для пиццы. Никаких специальных инструментов не требуется, это также отлично подходит для группового проекта с друзьями!
В этом учебном пособии по изготовлению печи для пиццы на дровах (и бесплатной электронной книге с инструкциями в конце) я поделюсь:
* Некоторые ресурсы в статье являются партнерскими ссылками. Полное раскрытие здесь.
- Пошаговый процесс сборки простой и эффективной печи для пиццы своими руками.
- Полезные советы и ресурсы, в том числе бесплатная электронная книга с большим количеством подробностей о каждом шаге, варианты конструкции дровяной печи для пиццы своими руками и т. д.
Кстати, если вы достаточно предприимчивы, чтобы читать это, вы ДОЛЖНЫ попробовать наш простой и очень вкусный рецепт хлеба без замеса, приготовленный из 50% цельного зерна , НЯМ!
Легкий рецепт хлеба без замеса Недавно я посещал урок по строительству Земляной печи (также известной как Печь початка) , которую преподает один из лучших учителей в этой области, Кико Дензер .
Много лет назад меня очень вдохновила его книга: одна из лучших книг по печному строительству.
Во время 6-часового занятия мы построили 2 переносные земляные печи, которые на следующий день были проданы с аукциона. Я так много узнал о строительстве из земли и других доступных материалов. В этом процессе есть такая простота и красота, что я нахожу это глубоко вдохновляющим.
Теперь вы, вероятно, задаетесь вопросом –
Что можно сделать в простой печи для пиццы, сделанной своими руками? Это действительно работает?
Эти 3 фотографии принадлежат нашему другу Биллу, который в прошлом году купил печь для пиццы, сделанную классом своими руками. Ему это очень нравится, и он решил присоединиться к нашему классу в этом году, чтобы построить еще один для своего патио!
Билл использует свою дровяную печь для пиццы, сделанную своими руками, почти раз в неделю в течение года. Я попросил его рассказать, что ему больше всего нравится делать, вот что сказал Билл:
” вы получите большое время приготовления от каждого обжига, если вы думаете о приготовлении вдоль температурной кривой сначала пиццы, хлеба, а затем тушения всех видов.
(рваная свинина, бобы, рис всех этнических стилей приготовления) пироги и печенье, а затем мясо на ночь, такое как карнитас. конечная темп. в початковой печи составляет 250 f и отлично подходит для сушки фруктов, поджаривания орехов и отличного сыра на гриле. это мои любимые… на самом деле это работает для всего, что вы можете себе представить, если вы понимаете требования к температуре блюда. ”
“Вот несколько снимков веселой воскресной выпечки. 3,5 часа огня, угли сгорели, и после того, как угли погасли, температура 900 F упала до 600. Выпекала пиццу, хлеб при 500 F, затем охлаждала до 400 F и делала запеканку с фасолью, а на следующий день (24 часа) печь все еще при 250 F для любой сушки фруктов!!”
Хорошо, достаточно ли этого искушения для вас, чтобы выбежать и начать строить?
Материалы, конструкция и фундамент
Печи, которые мы изготовили, имеют диаметр около 24 дюймов, внутреннюю зону приготовления пищи диаметром 12 дюймов и купол высотой 14 дюймов.
Каждый из них весит около 250 фунтов, и для постройки каждого из них потребовалось около двух 5-галлонных ведер смеси глины и песка. Если вам нужна печь большего размера, отрегулируйте материалы соответствующим образом.
Также нам нужна дверца духовки для открытия арки перед началом строительства. Для этой печи с внутренним куполом высотой 14 дюймов наша дверца имеет высоту 8,75 дюйма и ширину 8 дюймов. Ширина не так важна, как высота. Исследователи обнаружили, изучив сотни традиционных печей, что во всех лучших конструкциях соотношение между высотой дверцы и внутренней высотой купола составляет 63%! Разве не здорово, что это так близко к золотому сечению?!
Нужен ли дымоход для кабачковой печи?
Есть много традиционных земляных печей без дымохода, которые горят медленно, используют меньше дров для нагрева печной массы и работают очень хорошо.
Самодельные печи с дымоходом горят быстрее и требуют больше дров. Некоторые предпочитают иметь дымоход рядом с дверцей духовки, чтобы лучше контролировать дым.
Вот хорошее обсуждение, если вы хотите исследовать дальше.
Ниже приводится краткое описание каждого шага. Загрузите электронную книгу в конце для более подробной информации о каждом шаге!
Шаг 1: Приготовление песчано-глиняной смеси для земляной печиНа каждую часть глинистой почвы подмешиваем 2-3 части песка. Больше песка при использовании чистой глины. Убедитесь, что в смеси нет острых камней или мусора. Если вы не уверены, наденьте резиновые сапоги!
Положите все на большой брезент, добавьте немного воды и начните петь и танцевать, то есть смешивать!
Складывание брезента — хороший способ более тщательно перемешать все.
Вы будете знать, что ваша смесь имеет хорошую консистенцию и готова к работе, если сформируете ее в шар диаметром около 3 дюймов, бросите его на землю, и шар сохранит свою форму с небольшим растрескиванием. Как весело, что наша работа состоит в том, чтобы танцевать в грязи?
Основание из листового металла (вы также можете использовать фанеру) было прикручено болтами к деревянной раме (рисунки ниже), чтобы сделать ее переносной , а затем поставить на прочный фундамент в их новом доме.
Если вы строите уличную печь для пиццы на дровах прямо на заднем дворе , рассмотрите следующие ключевые факторы для фундамента: устойчивость, высота и изоляция.
1. устойчивость: фундамент можно построить из любых прочных материалов, таких как битый бетон, кирпичи, огнеупорные кирпичи, каменные блоки, камень, камни, старые столы или даже деревянные поддоны, при условии, что он может вместить печь (которая может весят от 300 до 600 фунтов в зависимости от размера) без погружения и смещения.
2. высота: фундамент должен поддерживать вашу духовку на высоте, позволяющей вам комфортно работать!
3. Изоляция: между полом печи из огнеупорного кирпича и каменным или деревянным фундаментом должно быть не менее 4″-6″ изоляции. Изоляция предотвратит поглощение кирпичной кладкой всего ценного тепла, необходимого для приготовления пищи, и защитит деревянный фундамент от возгорания. Стеклянные банки и вермикулит обеспечивают изоляцию. Поверх него устанавливается очаг из огнеупорного кирпича.
Статья по теме: Пребывание на земном корабле: уникальный дом, который производит еду, очищает воду и превращает мусор в сокровища!
Шаг 3: Постройте форму из песка размером с внутреннюю часть печиТочно так же, как строить замок из песка! В качестве основания печи можно использовать бетонную плиту или слой огнеупорных кирпичей. Песок вычерпывается после того, как будут построены следующие 2 слоя.
Этот песчаный купол имеет диаметр 12 дюймов и высоту 14 дюймов, что соответствует высоте купола.
Этап 4: Создание теплового слоя для эффективной уличной печи для пиццы, работающей на дровах Целью теплового слоя является удержание тепла в его плотной массе. Используйте глиняно-песчаную смесь, которую мы приготовили ранее, берите по горсти за раз и придавливайте ее, чтобы сформировать 2-3-дюймовую оболочку вне песчаной формы. Будьте осторожны, чтобы не надавить на песчаную форму, иначе она сдвинется.
Мы также сделали «формовку» вокруг дверного проема земляной печи, используя пряди соломы, смоченные в глине, и сформировали ее вокруг дверного проема, чтобы придать ему более законченный вид и в качестве отправной точки для следующего слоя.
Последними этапами являются утепление и отделка.
Этап 5: Изоляционный слой для земляной / глыбовой печи.Отличие этого слоя от термослоя в том, что здесь в смеси больше воздуха, что отлично предотвращает теплопотери термослоя!
Когда грубые опилки или древесная стружка смешиваются с достаточным количеством глины, чтобы держать форму, и когда они подвергаются воздействию высокой температуры от теплового слоя, создается новый материал – глиняная пена. Это своего рода легкий уголь-глина, который воздухопроницаем, поэтому медленно проводит тепло.
И, конечно же, не забудьте сделать хороший перерыв и показать свои грязные руки!
Последний шаг: финишный слой для вашей уличной печи для пиццы на дровах!На завершающий слой наносится глиняная штукатурка для придания печи гладкости и декоративных скульптурных деталей!
H Вот красивая книга Использование натуральных отделочных материалов: штукатурки, штукатурки и краски на основе извести и земли с идеями и рецептами из разных культур
Полезные ресурсы по сборке дровяной печи для пиццы!- Вот одна из лучших книг по строительству печей, написанная нашим учителем Кико Дензер, Строим собственную земляную печь .
Он предлагает много ценной информации от планирования, рассмотрения места до вариантов фундамента и крыши, а также множество планов печи для пиццы. И сайт Кико, где можно найти отличные статьи о строительстве из земли, а также его будущие мастер-классы. Вы оцените не только его знания, но и его мудрость в том, как жить проще и полнее. - Еще одна из моих любимых книг о строительстве из земли: Дом, созданный вручную великими пионерами Янто Эвансом (учителем Кико) и Майклом Смитом. Я взял недельный курс у Майкла и построил комнату из початка / соломы в Вальдорфской школе — одна из лучших недель! Сайт Майкла, множество отличных методов естественного строительства, и мастер-классы!
- Если вы любите натуральную отделку, вот прекрасная книга Использование натуральных отделок: штукатурки, штукатурки и краски на основе извести и земли с идеями и рецептами из многих культур
- Хлебные печи Квебека — это изысканная книга.
Она больше не издается, но доступна в виде бесплатной электронной книги в Канадском историческом музее. Не исключено, что скоро он снова появится в печати.
Во-первых, вы можете загрузить бесплатную электронную книгу с большим количеством подробностей здесь :
Как только вы получите в руки DIRT-Y, вы влюбитесь в земляное строительство. Это волшебный способ строительства, который соединяет нас с нашей сущностью, со стихиями земли, огня, воды и воздуха, с творцами разных веков и континентов и друг с другом.
После того, как вы построили собственную дровяную печь, пришло время подумать о том, как хранить дрова. Здесь у нас есть 15 привлекательных стеллажей и идей для хранения дров своими руками!
Удачного строительства!
10 Схемы изготовления печи для порошковой окраски своими руками: легко сделай сам
Опубликовано: · Изменено: Автор: Allison · Этот пост может содержать партнерские ссылки · Этот блог приносит доход за счет рекламы самый простой и крутой из способов, как сделать печь для порошковой покраски.
Эти печи просто нагревают детали с порошковым покрытием в успешной попытке обжечь порошок на них.
Некоторые печи с порошковым покрытием в моем списке имеют электрический или газовый нагрев, в зависимости от того, что вам больше нравится. Итак, давайте погрузимся и увидим удивительные способы, которыми несколько создателей изготавливали свои печи для порошковой окраски.
1. Как собрать печь для порошковой окраски
В этом руководстве вы узнаете, как собрать печь для порошковой окраски от начала до конца. Вот некоторые удивительные особенности этой печи для порошковой окраски: она имеет 4 встроенных нагревательных элемента мощностью 2000 Вт, встроенный вентилятор и воздуховод, листовой металл 20 калибра с листовым металлом 16 калибра на полу, ПИД-регулятор, заклепочная конструкция, нет сварка, выполненная в этом проекте, и несколько других важных функций. Со всем этим вы можете иметь представление о том, что вы будете делать, проверьте ссылку для быстрого изложения простых и несложных шагов, которым нужно следовать.
Нажмите, чтобы узнать подробнее
2. Самодельная печь для порошковой окраски
Это очень дешевая печь для порошковой окраски, созданная автором этого видеоурока. Совершенно новая печь для порошковой окраски может стоить 3000 долларов, а в некоторых случаях до 25000 долларов. Печь для порошковой окраски, описанная в этом руководстве, стоила всего от 250 до 500 долларов, а по размеру она сопоставима с печью для порошковой окраски за 6000 долларов. Вам понадобятся металлические оцинкованные листы, квадратные трубы и несколько простых инструментов, чтобы сделать внутреннюю часть духовки. Создатель уже получил бывшую в употреблении домашнюю духовку на торговой площадке Facebook за 75 долларов. Если вам повезет, это поможет вам сэкономить немного денег. Процесс изготовления невероятно прост и быстр.
3. Самодельная печь для порошковой окраски на пропане
youtube.com/embed/MafCFXQWHlk” frameborder=”0″ allowfullscreen=”allowfullscreen”/>Вот гладкая печь для порошковой окраски на пропане, которую очень легко изготовить из нескольких материалов, таких как металлические трубы, металлические оцинкованные листы, которые будут использоваться для изготовления стойки. в духовке и вне ее. Вы собираетесь строить расширения этой печи, если решите попробовать это руководство и посмотреть, что вы можете сделать с небольшим количеством пропана. Эта печь довольно большая, и с пошаговыми инструкциями даже новичок может попробовать этот проект.
4. Как построить печь для порошковой окраски
В этом видеоруководстве показаны детали печи для порошковой окраски и то, как ее можно сделать с нуля. Создатель больше строил, собирал, сваривал и меньше говорил. Детали показаны в процессе изготовления, все видно, как оно было собрано.
Более подробная информация о цене, материалах и других важных особенностях печи порошковой окраски, сделанной в этом видео, находится по ссылке описания видео.
5. Сборка печи для порошковой окраски своими руками
Эту печь легко построить, она идеального размера, не слишком большая и не слишком маленькая. Используйте для этого руководства Вот несколько материалов, которые вам понадобятся для начала работы: ПИД-регулятор, различные винты и провода, один металлический лист 4×8 футов, один вертикальный морозильник, это может быть легко найти, если у вас есть старый вертикальный морозильник. просто валяется, коробка выключателя, вилка на 220 В, высокотемпературная краска, элементы духовки и несколько других необходимых частей.
Во-первых, вам нужно удалить все пластиковые корпуса, компрессоры и часть проводки внутри морозильной камеры. Затем используйте металлический тормоз времен Второй мировой войны, чтобы сделать углы для коробки, затем установите несколько роликов, коробку выключателя и другие элементы.
Ознакомьтесь с полным руководством для получения полной информации.
Нажмите, чтобы получить более подробную информацию
6. Самодельная печь для порошковой окраски из коптильни
Вот милое видео, которое покажет вам, как построить печь для порошковой окраски из подержанной или новой электрической коптильни. Модификации, сделанные создателем, поддерживают в этой духовке хорошую температуру и менее чем за 12 минут могут разогреть ее до 400 градусов по Фаренгейту. В печи для порошковой окраски используется небольшая розовая изоляция и другие детали, которые могут поставляться с коптильней, если вы собираетесь ее приобрести, и если вы решите использовать это видео-руководство для сборки печи для порошковой окраски. Вы можете приобрести новый курильщик всего за 158 долларов на Amazon или попробовать его на торговой площадке Facebook.
7. Как сделать печь для порошковой окраски
youtube.com/embed/C0UNi6TDoig” frameborder=”0″ allowfullscreen=”allowfullscreen”/>Изготовление печи для порошковой окраски связано с подготовкой нужных деталей, эти детали будут во многом определять общий результат работы печи. Для этого видеогида создатель использовал металлические трубы, внутренняя глубина печи составляет 48 дюймов, ширина — 52 дюйма, и, наконец, внутренняя высота — 77 дюймов.
Первое, что было сделано в этом видео, это измерение и резка металлических труб, когда они были нужных размеров, создатель собрал их и сформировал каркас пола, используя металлический лист, чтобы покрыть его. Рамка пола 10ga MSPL. После всего этого следующие детали, которые нужно собрать, это задние стенки, затем две стороны и, наконец, прикрепить к ней крышу. Это простой проект, простой в сборке и удобный для личного использования.
8. Печь для порошковой окраски своими руками
Оцинкованный металлический лист является одной из наиболее важных частей изготовления печи для порошковой окраски, но тип оцинкованного металлического листа, который вы используете, многое говорит о качестве вашей печи.
Создатель использовал оцинкованный металлический лист 22G / 0,8 мм, металлический U-образный профиль 72C50 (толщина узла 72 мм), заклепки 4 мм и несколько других инструментов и материалов. В этом покадровом видео-руководстве показано, как печь была сделана с нуля, и ее довольно легко и просто построить.
9. Дешевая печь для порошковой окраски из кухонной духовки
Печь для порошковой окраски, созданная создателем этого видео, очень проста в сборке, очень крута и имеет средний размер, не слишком большой и не маленький. Нагревательные элементы, которые использовал создатель, были взяты из старой газовой плиты, так что это должно дать вам представление о том, где взять нагревательные элементы, если вы решите использовать это руководство, чтобы построить супердешевую печь для порошковой окраски из кухонной духовки.
Кроме того, это печь для порошковой окраски с проводкой.
В дополнение к нагревательным элементам, которые вы бы взяли из кухонной газовой духовки, вы также вынете систему электропроводки и подключите ее к своей новой печи с порошковым покрытием. Строительство этой печи стоило около 100 долларов.
Вот отличная печь для порошковой окраски картотеки, которую вы можете построить всего за 255 долларов или меньше. Я собираюсь перечислить некоторые из основных частей, которые вам понадобятся для этого проекта, с их ценами. Вам понадобится алюминиевый лист, который стоит 48 долларов, картотечный шкаф за 30 долларов, 3 куска высокотемпературной белой краски за 38 долларов, необлицованная изоляция R-30 за 25 долларов, высокотемпературный герметик для дверей за 19 долларов, вилка 220 В за 19 долларов, провод. ткацкий станок за 12 долларов, петли, защелку, шайбы за 18 долларов, термостойкую ручку за 5 долларов и еще несколько важных деталей.
Самое главное, вам нужна духовка, в отличие от других деталей, которые можно приобрести на месте или на Amazon, духовка, которую создатель получил на торговой площадке Facebook всего за 30 долларов. После того, как все эти детали будут готовы, следующим шагом будет сборка и сборка деталей для изготовления духовки. Его легко и просто построить. Проверьте ссылку описания под видео, чтобы получить прямую ссылку на то, где вы можете купить эти детали по этой цене на Amazon.
Заключение
Вот и все! Вы можете построить как можно больше печей для порошковой окраски. Детали легко найти и легко использовать. Шаги лаконичны и достаточно просты. Вам не нужно иметь высокий уровень квалификации, чтобы построить печь для порошковой окраски, все, что вам нужно сделать, это получить нужные детали, следовать инструкциям и начать сборку.
Печи для порошковой окраски могут быть разных размеров в зависимости от того, хотите ли вы построить печь для личного или коммерческого использования.
Как только у вас появится идея, размер зависит от вас. Руководство в моем списке выше имеет несколько размеров, что позволяет вам легко выбрать тот, который вы предпочитаете. Спасибо, что уделили время этой статье «Сделай сам». Надеюсь, вы найдете подходящую печь для порошковой окраски своими руками, соответствующую вашим потребностям.
11 идей для создания печи для пиццы своими руками
Если вы поклонник изысканной пиццы и хотите приготовить ее сами, нет лучшего способа, чем печь для пиццы на заднем дворе. Кирпичные печи для пиццы легко купить или собрать, и вы можете создать ресторанный вкус пиццы из кирпичной печи.
Однако вам не нужно тратить сотни долларов на готовую кирпичную печь. Вместо этого вы можете создать свою собственную, используя одну из этих 11 идей для приготовления пиццы своими руками. Ознакомьтесь с некоторыми из этих идей ниже для любителей делать все своими руками, которые хотят больше сырного совершенства.
О чем пойдет речь в этом руководстве
- История печи для пиццы
- Зачем делать собственную печь для пиццы?
- 11 простых идей для создания печи для пиццы своими руками
- Заключительные мысли
История печи для пиццы
Печь для пиццы существует уже тысячи лет.
Несмотря на то, что современная технология выпечки претерпела некоторые изменения, печь из голого кирпича или камня — это оригинальный способ выпекать что угодно. Кирпичные печи веками использовались от Италии до Северной Европы.
Хотя не каждая кирпичная печь в истории использовалась для приготовления пиццы, она быстро стала использоваться в северной Италии. В большинстве домов были кирпичные печи, из которых выпекали лепешки, которые в конечном итоге превратились в пиццу, какой мы ее знаем сегодня.
С момента изобретения газовой плиты в большинстве домов больше нет кирпичных печей. Пицца в кирпичной печи стала более деликатесом, чем когда-либо прежде, но это не значит, что она недоступна для всех, у кого есть немного дополнительного времени и денег. Если вы так склонны, вы можете сделать свою собственную печь для пиццы, как старые итальянцы.
Зачем делать собственную печь для пиццы?
Хотя вы всегда можете купить готовую печь для пиццы, сделать ее самостоятельно — более оригинальный способ.
Вы можете почувствовать себя изготовителями пиццы в старой Италии с домашней печью для пиццы, которые готовят пироги для пиццы в печи собственного изобретения.
Тем не менее, сделать печь для пиццы на открытом воздухе самостоятельно проще и дешевле, чем купить готовую. Вам не нужно перевозить тяжелую кирпичную печь на свой задний двор. Вместо этого купите кирпичи самостоятельно и соберите их вместе.
Для простой печи вам понадобятся только кирпичи, раствор и план. Тем не менее, он может стать более причудливым или богато украшенным, и вы можете персонализировать его по своему усмотрению. Если у вас есть печь для пиццы на заднем дворе, вас ничто не остановит, когда дело доходит до вечеринок с пиццей и всевозможных вкусных ужинов.
Читайте также:
- 13 лучших пицц Domino’s
- Могут ли собаки есть пиццу? (Что безопасно?)
- Пепперони Старого Света: Что это?
- Пицца Пепперони Калории, Пищевая ценность и Факты
Топ 11 простых идей для создания печей для пиццы своими руками
Все эти печи для пиццы можно сделать своими руками – никаких магазинных или готовых печей.
Если вы найдете его более доступным, я добавил в список несколько комплектов и планов. Однако с помощью инструкций, одного-двух видеороликов на YouTube и ресурсов в Интернете вы без проблем сможете построить любую из этих печей.
Вот 11 лучших и самых простых печей для пиццы своими руками для вашего двора без лишних слов!
Классическая печь для пиццы на заднем дворе
Самая известная печь для пиццы на заднем дворе — куполообразная печь из кирпича и раствора. Возможно, вы когда-то видели его в пиццерии или на заднем дворе друга, но, возможно, никогда не думали, что он у вас есть.
Удивительно, но печь для пиццы из кирпича и раствора на самом деле довольно легко построить. Все, что вам нужно, это правильный раствор, правильные кирпичи и план. В Интернете есть десятки руководств по идеальной печи для пиццы на заднем дворе, включая это пошаговое видеоруководство. Тем не менее, лучше всего использовать ту форму, которая вам больше нравится.
Большинство дровяных печей для пиццы имеют куполообразную форму, но при желании вы можете сделать печь квадратной или круглой формы.
В конце концов, это твой дом и твоя пицца. Пока диапазон хорошо изолирован и достаточно нагревается, он будет работать нормально. Форма полностью зависит от вас.
Когда вы определитесь с дизайном, используйте этот шаблон, чтобы определить, сколько материала вам нужно. Для стандартной печи для пиццы потребуется несколько кирпичей и достаточно раствора, чтобы скрепить их вместе. Некоторые печи имеют второй слой замазки сверху, чтобы сгладить общий вид.
Печь для пиццы без раствора
Конечно, технически вам не нужен раствор, чтобы нагреть кирпичи для пиццы. Пока у вас есть достаточное количество кирпичей (достаточное, чтобы вместить пиццу), вы можете складывать их на заднем дворе, не беспокоясь о растворе.
Печь для пиццы без строительного раствора в основном состоит из кирпичной палатки над очагом для костра. Для этого вам понадобится несколько маленьких кирпичей, которых хватит, чтобы сделать стенки и заднюю часть импровизированной печи. Вам также понадобятся более длинные кирпичи (это могут быть цементные, если их легче найти) для настоящих противней для пиццы и верхней части духовки.
Чтобы сделать печь, нужно сложить меньшие кирпичи в четыре стены. После первого слоя вы можете разместить больший кирпич или цементный блок, на котором будет стоять пицца. Затем сделайте еще один слой кирпичей и накройте им крышу печи. Обычно для этого требуется около 25 маленьких кирпичей и два больших.
Преимуществом печи для пиццы без ступки является ее портативность и возможность повторного использования. Если вам нужно переехать, вы можете разложить кирпичи и взять их с собой. Вы даже можете взять свои кирпичи на охоту или в поход, чтобы сделать свой кемпинг самым популярным в кемпинге.
Печь для пиццы с масляным барабаном
Если вам нужна еще более простая версия печи для пиццы, ознакомьтесь с этим руководством по дровяной печи для пиццы, сделанной из нефтяной бочки. Для тех, у кого есть свободное время и 55-галлонная емкость под рукой, эта печь для пиццы — идеальный способ использовать ведро и создать что-то новое.
Печь для пиццы с масляным барабаном включает некоторые металлические работы.
Вам придется вырезать отверстие на одном конце чана и сделать соответствующую облицовку, чтобы плита могла достаточно нагреться. Однако, как только вы это сделаете, эта барабанная печь на масле может легко приготовить пиццу маленького или среднего размера.
Сам барабан имеет идеальную форму для печи, и когда его переворачивают на бок и подпирают, огонь под ним нагревает металл. Добавьте внутрь слой металла и несколько кирпичей, и вы получите идеальный рецепт печи для пиццы из материалов, которые можно найти на обычной свалке.
Эта печь для пиццы немного громоздка, но не слишком тяжела. Это хорошо работает для тех, кто живет в кемперах или с небольшими задними дворами. Вы можете снять его и очень легко хранить, не беспокоясь о постоянстве во дворе или на балконе.
Мяч для упражнений и кирпичная печь для пиццы
Из всех материалов, используемых для изготовления печи для пиццы, мяч для упражнений может быть самым необычным выбором. Тем не менее, многие люди использовали верхнюю половину мяча для упражнений в качестве купола для своей печи для пиццы.
Это идеальный размер и форма, что исключает необходимость чрезмерного формования.
Конечно, печь для упражнений с мячами — это не просто мяч. Мяч для упражнений — отличная форма для глины или кирпичей. Если вам нравится внешний вид мяча для упражнений, вы можете оставить его снаружи духовки в качестве начала разговора. Гости будут удивляться, как можно приготовить пиццу на дровах в мяче для упражнений.
Половина шара используется в качестве формы, поэтому вам понадобится облицовка из глины, кирпича или другого огнеупорного и нагреваемого материала. Другая часть печи для пиццы этого типа — основание. Поскольку у вас есть купол, поддержка его достаточным количеством кирпича или бетона имеет решающее значение для предотвращения низового пожара. Если у вас есть прочный фундамент, вы можете легко установить купол сверху.
Дешевая печь для пиццы с шариками требует немного больше работы, но ее все же можно сделать из кусочков, найденных в вашем доме или на заднем дворе.
С небольшим дополнительным цементом и некоторой работой вы можете использовать свое старое спортивное оборудование, чтобы приготовить лучшую пиццу, которую когда-либо видел ваш задний двор!
Цементная печь для пиццы
Несмотря на то, что кирпичные печи для пиццы — это оригинальный итальянский способ, все, что вам нужно, чтобы сделать печь для пиццы, — это материал, который может безопасно нагреваться до 700 или 800 градусов по Фаренгейту. Максимальная температура большинства комнатных печей достигает 500℉, поэтому они не могут приготовить пиццу при той же температуре, что и ресторан с кирпичной печью.
Цемент — один из самых простых материалов, который удерживает тепло не хуже кирпича. Выглядит не так деревенски, зато можно получить быструю выпечку при высокой температуре. Все, что вам нужно, это основа, форма и цемент, необходимый для заполнения формы.
С помощью цемента вы можете придать своей печи любую форму. Пока вы формируете правильную форму, ваш диапазон может быть настолько большим или настолько маленьким, насколько это необходимо.
Он не обязательно должен быть куполообразным или прямоугольным; с цементной формой вы можете быть более креативными.
Тем не менее, цементные печи для пиццы — довольно постоянная вещь. Как только вы установите фундамент и зальете его в форму, цемент затвердеет, и его будет практически невозможно сдвинуть (конечно, не разбивая его на части). Если вы планируете в конце концов переехать в новый дом, вам придется сделать новую печь для пиццы, когда вы туда доберетесь.
Глиняная печь для пиццы
Подобно цементу, глина представляет собой постоянный формовочный раствор для дровяной печи для пиццы. Пока вы не будете лить глину в форму, вам все равно нужно будет ее вылепить и дать затвердеть. Как только глина затвердеет под воздействием тепла или времени, она останется твердой, пока не сломается. Тем не менее, глиняные печи отлично справляются с выпечкой пиццы.
Глина использовалась для изготовления печей тысячи лет, даже дольше, чем кирпич. До того, как его использовали в печах, из него делали глиняную посуду и даже стекло.
Тем не менее, глина также является отличным материалом для выпечки пиццы и может стать привлекательным элементом вашего двора.
Глиняная печь устроена так же, как цементная или кирпичная. Вам понадобится основание из цементных блоков или кирпичей и купол или печь сверху. Эта форма довольно универсальна — можно использовать учебник по цементу и менять материалы, если вы знаете правильную температуру и время смешивания глины.
Если вы выберете глину, вам нужно найти тип, на который не влияет дождевая вода (или держите печь для пиццы во внутреннем дворике или в гараже). Тем не менее, многие скобяные и строительные магазины продают глину, которая смешивается как цемент и так же легко формуется. Вы можете получить все преимущества цемента вместе с красотой глины.
Стальная печь для пиццы
Хотя вы, возможно, не думаете, что стальные печи для пиццы работают так же хорошо, как кирпичные или глиняные, но есть способы сделать печь для пиццы из нержавеющей стали, в которой можно приготовить пиццу менее чем за две минуты.
Используя подходящие материалы, вы можете создавать печи из нержавеющей стали, которые могут нагреваться до 1000 ℉ для приготовления пиццы.
Стальные печи, как правило, легче и их легче перемещать, чем кирпичные или глиняные печи. Если вы сделаете это, вам не придется беспокоиться о том, чтобы оставить его у себя дома, когда вы уезжаете из штата. Тем не менее, он не имеет такого обугливания, как пицца в кирпичных печах.
Однако это, безусловно, самый сложный процесс из всех в этом списке. Стальная печь требует машинного оборудования, сварки и других сложных задач. Если у вас нет доступа к оборудованию или опыта работы с металлом, возможно, стоит купить металлическую печь для пиццы или выбрать другой метод для пиццы.
Набор для печи для пиццы
Если вы новичок в этом деле или не уверены во всей этой заливке цемента и работе с металлом, есть способы сделать свою печь для пиццы, не прибегая к таким практическим методам. Вместо того, чтобы покупать готовую печь для пиццы или заказывать ее у профессионала, вы можете приобрести набор для изготовления печи для пиццы и сделать ее самостоятельно.
Конечно, это будет немного сложнее, чем обычный набор мебели. Вам, вероятно, понадобится дополнительное оборудование для покупки кирпичей, глины или цемента. Тем не менее, инструкции будут ясными и простыми для выполнения с комплектом. Все необходимые планы и детали являются его частью.
К сожалению, готовые наборы для приготовления пиццы не оставляют места для творчества. Она будет красиво смотреться и собираться, но вы не сможете изменить размер или форму самой печи. Если вы не возражаете и хотите заранее определенный, простой в сборке диапазон, попробуйте комплект.
Комнатная печь для пиццы
Одна из причин популярности печей для пиццы заключается в том, что обычные печи не работают для разогрева пиццы таким же образом. Они не могут разогреться или приготовиться так же быстро. Тем не менее, есть способы заставить вашу обычную духовку готовить пиццу так же, как в кирпичной печи.
С настройкой для гриля, несколькими кирпичами и хорошим противнем вы можете приготовить такую же пышную, пышную пиццу, которая получится за несколько минут в кирпичной печи.
Духовка не доходит до 800 или 900℉, но это убедит пиццу готовиться замечательно, как в кирпичной печи.
Все, что вам нужно сделать, это поставить противень на верхнюю полку духовки. Положите на него несколько кирпичей для выпечки (или камень для пиццы), чтобы поглотить тепло и передать его тесту. Вы также можете использовать сталь для выпечки, но это немного дороже. Если вы пытаетесь сэкономить деньги, купите несколько огнеупорных кирпичей и поместите их в духовку.
Чтобы использовать печь в качестве печи для пиццы, нужно дать кирпичам для пиццы (или камню для пиццы, или стали для выпечки) хорошо нагреться. Включайте жаровню до тех пор, пока не пойдет тесто, чтобы камни сохраняли как можно больше тепла. Пицца быстро приготовится благодаря теплу духовки и излишкам, хранящимся в камнях.
Печь для пиццы «Помпеи»
Названная в честь знаменитого извержения вулкана в древней Италии, печь для пиццы «Помпеи» представляет собой печь особого типа. Такой дизайн можно увидеть в большинстве итальянских пиццерий, частных домов и кафе.
Он имеет классический закругленный купол с круглой дверью, чтобы сервер пиццы мог правильно вставлять и извлекать пироги.
Конечно, печь для пиццы Pompeii можно сделать из любого материала. Традиционная печь для пиццы в Помпеях сделана из кирпича и строительного раствора с глиняным верхом. Он стоит на кирпичном камине и максимально удерживает тепло. Дымоход поднимается прямо над дверью, позволяя всему дыму выходить, не портя вкуса пиццы.
Благодаря длинному тонкому входу такая печь работает так хорошо. Тем не менее, это также затрудняет создание с нуля. Формование цемента или кирпичей может быть трудным, но это один из лучших способов сделать самую прочную и аутентичную печь для пиццы из кирпича.
Делаете ли вы это из кирпичей, глины или цемента, вы должны следовать инструкциям по сборке печи для пиццы Pompeii. Вот первая часть видео-инструкции, состоящей из четырех частей. Это подробно, но стоит посмотреть, если вы рассматриваете самую сложную печь для пиццы своими руками.
Мини-печь для пиццы
Хотя строительство печи для пиццы, в конце концов, того стоит, это может занять много времени и денег. Вот почему я сохранил один из самых простых и дешевых способов до конца. Если вы хотите качественную пиццу, но не имеете бесконечного времени и денег, попробуйте создать миниатюрную версию одной из больших.
Вы можете сделать мини-печь для пиццы из кирпича из огнеупорного кирпича и цементных блоков – раствор не требуется. Если вы хотите что-то более постоянное, купите мяч для упражнений меньшего размера и используйте его, чтобы создать купол на вашей крошечной печи для пиццы. Начните с мини-печи для пиццы, и если это удастся, позже вы сможете сделать печь побольше.
Мини-печи для пиццы своими руками делают то же самое — они готовят великолепную пиццу. Разница лишь в том, что все меньше, от размера плиты до размера пирога, и вам не понадобится столько топлива или ингредиентов. Это отличный способ сэкономить деньги, продолжая делать уникальные пиццы.

Также на нее влияют погодные условия – чем теплее и влажнее воздух, тем слабее тяга. В слишком узком дымоходе газы и воздух будут смешиваться и не успевать выйти наружу, что создаст дымовую пробку. Слишком широкая труба тоже не годится – в ней газы буду идти очень медленно, а внутренние стенки быстро засорятся.