Печка на капельница солярке: Как сделать печь капельницу на солярке своими руками
alexxlab | 08.01.2023 | 0 | Разное
Дизельная печка для отопления. Печь на солярке
Небольшая дизельная печка может стать отличным решением, когда необходимо обогреть хозяйственные помещения по типу дачного домика или гаража. В этом случае можно прибегнуть к одному из вариантов. Первый предполагает приобретение заводской модели, тогда как второй – самостоятельное изготовление.
Для того чтобы выполнить печь самостоятельно, вовсе нет необходимости подготавливать огромное количество материалов. Будет достаточно одного газового баллона или трубы большого диаметра.
Чудо-печь на дизельном топливе
Маленькая дизельная печка характеризуется низким расходом топлива. Например, если тепловая мощность равна 2,5 кВт, то в час будет израсходовано всего лишь 0,2 л дизеля. Сама конструкция имеет компактные размеры, вес некоторых моделей составляет 10 кг или меньше. Конструкция довольно проста, она состоит из:
- металлического корпуса;
- открытого резервуара;
- топливного бака.
Для того чтобы топливо не поступало из бака постоянно, выходной патрубок имеет специальный клапан. Довольно простая горелка работает за счет топлива и имеет вид фитиля, нижняя часть которого погружена в резервуар с горючим. Когда вентиль открывается, топливо подается в рабочую емкость, фитиль начинает впитывать топливо. Через некоторое время дизельная печка разжигается, прогревается и начинает работать в обычном режиме.
Наиболее часто производители помещают над горелкой решетку, чтобы при необходимости у пользователя была возможность подогреть воду в ведре или кастрюле. В качестве примера такого оборудования можно рассмотреть «Солярогаз ПО-1.8». Эта модель печи имеет мощность в 1,8 кВт и изготавливается в России. Такая дизельная печка должна эксплуатироваться по определенным правилам. Например, для того чтобы исключить едкий запах, розжиг следует осуществлять на улице.
На постоянной основе такое оборудование лучше не использовать, ведь в этом случае вы тоже столкнетесь с едким запахом. Но интенсивная эксплуатация всё же возможна, для этого нужно будет менять фитиль и чистить горелку.
Самодельные дизельные печи
Автономная печка дизельная может быть изготовлена вами самостоятельно. Сегодня такие агрегаты являются одними из самых распространенных, ведь они способны работать на солярке и отработке. Печь имеет в составе две бочки, которые могут иметь прямоугольную или цилиндрическую форму. Для нормального функционирования их следует соединить перфорированным цилиндром.
В нижней емкости будет происходить испарение и горение жидкого топлива, тогда как в верхней – дожигание. В соединительной трубе следует проделать отверстия, которые будут служить для поступления вторичного воздуха. Такая автономная печка дизельная работает за счет естественной подачи кислорода, что вызывается тягой дымохода.
Распространенность оборудования объясняется простотой изготовления. Для сборки будет необходимо подготовить любой металл, который в хозяйстве найдет каждый мастер. Греет такая печка очень хорошо, особенно положительно проявляет себя при работе на солярке. Но есть и недостатки, которые выражены в выделении едкого запаха в процессе эксплуатации. Из-за этого в жилых зданиях такие устройства не используются.
Меры пожарной безопасности
Если дизельная печка для гаража вами будет использоваться, вы должны помнить о том, что она может представлять пожарную опасность. Когда в горючее попадает некоторая часть воды, в перфорированной трубе могут начать возникать хлопки, которые достигают внушительной силы. Именно поэтому последствием могут стать брызги горящего масла, которые попадают через отверстия в трубе. В этом случае масло может вызвать пожар.
Разновидности печей на дизельном топливе
Дизельная печка для гаража представлена сегодня двумя разновидностями:
- агрегаты прямого нагрева;
- оборудование косвенного нагрева.
Иногда такие устройства называются буржуйками, а также снабжаются вентиляторами. Если речь идет о прямом нагреве, то приборы лишены дымохода, что делает их не очень удобными для обогрева небольшого помещения.
Косвенный нагрев – это довольно удобно, поэтому такие приборы обрели популярность у владельцев гаражей. Топливный бак и камера сгорания работают по простому принципу, который заключается в том, что через форсунку бака жидкость поступает в камеру, где сгорает при помощи воздуха, подаваемого вентилятором. Воздушные потоки проходят через теплообменник и направляются через сопла в помещение. Такая печь на солярке может иметь в составе:
- регулировочный винт;
- корпус;
- горелку;
- съемный бак;
- сменный блок;
- решетку;
- отражатель.
Съемный бак обычно дополняется клапаном, тогда как сменный блок – фитилем.
Дополнительные особенности печи на дизельном топливе
Печь на солярке современного типа имеет систему контроля пламени, которая отключает перегретый прибор. Подобные устройства подходят для обогрева бытовок, дачных домиков, торговых объектов, гаражей, строительных площадок и пунктов охраны. Мобильные печи незаменимы, когда есть необходимость обогреть помещение в аварийном состоянии.
Такая печка на дизельном топливе может быть взята вами в поход. Ведь не всегда есть возможность и желание разводить костер. Однако важно помнить о том, что подобная конструкция обязательно должна устанавливаться в помещениях с хорошей вентиляцией, ведь в атмосферу будет попадать огромное количество дыма.
Самостоятельное изготовление печи на дизельном топливе
Для того чтобы выполнить печь, которая будет работать за счёт дизельного топлива, необходимо подготовить не только листовой металл, но и:
- стальные уголки;
- трубу;
- электрический инструмент;
- сварочный аппарат.
Толщина стальных уголков может изменяться в пределах от 4 до 5 мм, тогда как металлическая трубка будет обладать толщиной от 25 до 30 мм. Дизельная печка для дачи может быть выполнена в форме прямоугольника. В этом случае листы раскраиваются и свариваются между собой. Понадобится верхняя часть, дно, боковые и задняя стенки.
На лицевой панели следует расположить дверку для топочной камеры и поддувало. На первом этапе привариваются боковые части. Они должны располагаться вертикально, это следует проверить с помощью угольника или уровня. Прихватив элементы в нескольких местах, нужно убедиться в их правильном расположении. Как только будет приварена задняя стенка, все внутреннее пространство необходимо поделить на 3 части:
- зольник;
- топку;
- дымооборот.
Изнутри, по бокам привариваются уголки, а для решетки необходимо подготовить полоски. Расстояние между пластинами составит 5 см. Сверху привариваются металлические пруты, на которых следует расположить отражатель. Он будет иметь вид металлического листа. Отражатель должен быть съемным.
Рекомендации мастера по проведению работ
Когда приваривается крышка, важно предусмотреть отверстие для дымоходной трубы. На следующем этапе вырезается и приваривается верхняя перемычка, она должна быть расположена на уровне колосниковой решетки. По поводу размеров дверок задумываться слишком долго не стоит.
Конструкция устанавливается на ножки. Их выполняют из металлической трубки, диаметр которой составит 10 см. Дымоход изготавливается из 15-см трубы. Его следует вывести наружу, проделав отверстие в стене. Переходы могут составить угол в 45 °, горизонтальных участков быть не должно.
Особенности изготовления печи-капельницы на дизельном топливе
Автономное отопление в гараже может быть обеспечено еще и за счёт печи-капельницы, которая является самой безопасной. Изготовить ее можно из старого газового баллона или металлической трубы большого диаметра. На дно устанавливается чаша, в которой будет происходить сжигание горючего.
Через вертикальную перфорированную трубу будет поступать кислород, благодаря этому обеспечивается первичное горение паров и дожигание пиролизных газов. Топливо будет капать в чашу, проходя по металлической трубке. Для этого бак с горючим устанавливается выше и немного в стороне. Это позволит исключить пожар.
Заключение
Печи на солярке сегодня достаточно распространены, ведь они могут быть не только приобретены в магазине, но и изготовлены самостоятельно. Если вы решили выполнить такое оборудование своими руками, то его следует дополнить смотровым люком, который располагается в нижней части корпуса. В верхней зоне должна быть крышка. Она требуется для того, чтобы пользователь смог наблюдать за процессом горения.
Как изготавливается печка на солярке своими руками?
Печь на солярке устанавливается в зданиях, где нет электричества или дров. К таким зданиям можно отнести дачные участки, которые располагаются далеко от городских центров. Иногда бывает затруднительно найти обыкновенные сухие дрова, не говоря о том, что в таких населенных пунктах не подключены подстанции. В данном случае лучше всего изготавливать печь на солярке своими руками. Ее использование предполагает наличие помещения, которое хорошо проветривается.
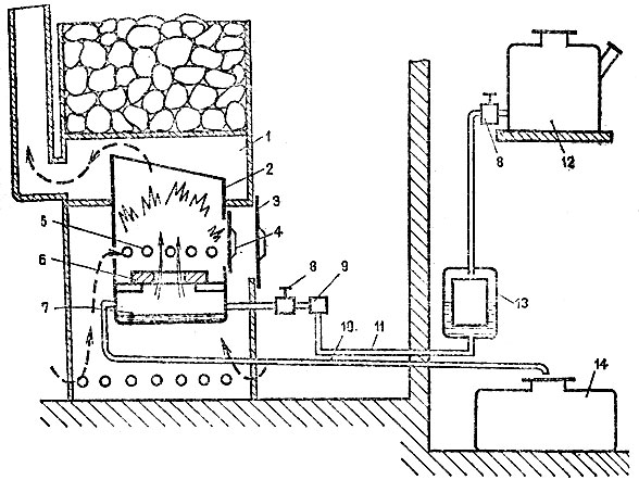
Рисунок 1. Схема конструкции печи на солярке.Содержание
- Как изготавливается печь на солярке?
- Принцип работы печи на солярке
- Технология сооружения печи на солярке: существующие варианты
- Рекомендации по использованию печки на солярке
Как изготавливается печь на солярке?
Печь такого типа идеально подходит для того, чтобы отапливать следующие помещения:
- теплицы;
- подвалы;
- дачные участки;
- гаражи;
- жилые помещения.
Прежде чем монтировать печь, следует ознакомиться с правилами пожарной безопасности:
- Аппарат не может монтироваться в местах, где есть сквозняки.
- Не допускается устанавливать конструкцию на участках, где внутрь устройства могут попадать предметы, которые легко воспламеняются.
- Вокруг печки понадобится предусмотреть наличие минимум 0,5 м свободного пространства.
- Устройство не может работать, если поблизости находятся горючие вещества.
Элементы, которые понадобятся для сооружения конструкции:
Рисунок 2. Схема сборки печи на отработке.- Листовой металл.
- Сварочный аппарат.
- Газовый баллон.
- Медицинская горелка.
- Медная труба.
- Резиновый шланг.
- Струбцина.
- Винты.
- Дрель.
- Патрубок.
Вернуться к оглавлению
Принцип работы печи на солярке
Для того чтобы изготовить печь на солярке, прежде всего необходимо разобраться с ее устройством. Схема конструкции изображается на Рис. 1.
Объем бака печи рассчитывается на 2 л солярки. В процессе работы конструкция не будет выделять дым и сажу. Дым и вредные выхлопы будут выделяться только в процессе розжига, потому его лучше всего осуществлять на улице. Помещения, в которых находятся эти печи, должны хорошо проветриваться.
Из топливного бака в фитильную чашу керосин будет поступать самотеком. Для того чтобы дозировать количество топлива, следует выполнять его регулировку. В фитильной чаше топливо будет греться, в результате чего получится газообразная смесь, которая будет поступать в камеру сгорания, после чего сгорать. В камере сгорания предусматривается компактное размещение всех элементов. Это обеспечивает равномерное горение топлива. В верхней части камеры сгорания размещается спираль, которая нагревается до 800°С.
Результаты работы будут удаляться через дымоход, который понадобится оборудовать.
Рисунок 3. Чертеж печи из газового баллона.Самый большой аппарат подобного типа, который можно изготовить своими руками, имеет массу 6 кг.
Современные печки на солярке являются безопасными и экономичными конструкциями. В их камере сгорания полностью сгорают горючие соединения.
Такая печь имеет большое количество преимуществ. В процессе постоянного горения печка не будет выделять вредных паров и газов. Использование печки на керосине является безопасным, конструкцию можно оставлять без присмотра. Солярка — это топливо с высокой плотностью, потому ее расход в процессе работы аппарата будет незначительным. В солярку можно добавлять биотопливо (к примеру, растительное масло). Высокая эффективность и мобильность — основные преимущества конструкции подобного типа.
Преимуществом является и то, что верхний модуль конструкции может использоваться для приготовления пищи.
Недостатки у печи тоже есть, но они незначительные: присутствует прямая зависимость стоимости топлива от стоимости сырой нефти.
Если было принято решение сделать своими руками печь на солярке, то она может работать по такому же принципу.
Вернуться к оглавлению
Технология сооружения печи на солярке: существующие варианты
Схема работы печи на отработанном масле.Конструкция, которая собиралась вручную, способна больше экономить топливо, чем аппарат, который можно купить в магазинах. Есть возможность создать конструкцию, которая будет подходить для имеющихся условий эксплуатации.
На сегодняшний день существует достаточно большое количество инструкций по изготовлению устройств подобного типа. В этих руководствах подробно описывается процесс сборки печки на солярке. Выбрать из них достойный вариант достаточно сложно, потому как каждая из конструкций имеет свои преимущества и недостатки, а также ориентируется на использование в определенных условиях эксплуатации.
Пользуется популярностью печка, которая изготавливается из газового баллона. Чертеж печки можно увидеть на Рис. 3. Если соблюдать все существующие нормы и правила, то конструкция полностью удовлетворит всем требованиям пожарной безопасности.
Хорошим вариантом для маленьких помещений является капельная печка. Ее можно изготовить достаточно быстро и просто. Аппарат чаще всего используется для отопления палатки для туристов. Для того чтобы сделать ее своими руками, необходимо:
- Взять медицинскую горелку, емкость которой около 2 л.
- Далее к шлангу из резины, который имеется в горелке, понадобится подсоединить медную трубку небольших размеров, которая изгибается под прямым углом.
- Резиновый шланг следует согнуть пополам.
- В место сгиба устанавливается струбцина, которая оснащается винтом. Это нужно сделать для того, чтобы регулировать подачу топлива в горелку.
Для того чтобы изготовить большие капельные печки, следует использовать листовой металл. В данном случае труба будет располагаться далеко от дверки. Труба состоит из двух колен, которые вкладываются друг в друга. Следует понимать, что главный принцип работы такой печи — поэтапная подача керосина в топливный отсек. Это дает возможность соорудить печки различных конструкций.
Другой вариант изготовления — сборка печки из нескольких емкостей, которые соединены между собой с помощью трубы, в которой проделывается большое количество отверстий. Емкость, которая располагается в нижней части конструкции, будет служить как топкой, так и баком для топлива. В большинстве случаев аппарат вмещает до 12 л топлива. Для изготовления корпуса необходимо использовать листовой металл толщиной 5 мм или более. Такой материал имеет длительный срок эксплуатации и не будет прогорать.
В верхней части конструкции следует проделать отверстие, которому необходима крышка. Такое отверстие будет и регулятором работы оборудования для отопления. С его помощью может контролироваться поступление кислорода в необходимом количестве, а также определяться сила горения топлива.
Соединительная трубка и верхние элементы самодельной печки на солярке также работают в качестве нагревательных. При сильном нагреве они способны нагреваться до 800°С. Именно по этой причине важно соблюдать правила пожарной безопасности в процессе изготовления и эксплуатации устройства.
https://1popechi.ru/www.youtube.com/watch?v=PAqUeoW5wU0
В верхней части устройства приваривается патрубок. На нем в дальнейшем будет закрепляться труба для вытяжки. Для того чтобы ее изготовить, следует использовать оцинкованную сталь. Во время использования она будет нагреваться до 250°С. Если в планах эксплуатировать печку такой конструкции в гаражном помещении, то верхнюю ее часть следует делать съемной, чтобы облегчить процесс чистки аппарата.
Пример готовой конструкции можно увидеть на Рис. 2.
Вернуться к оглавлению
Рекомендации по использованию печки на солярке
- Чтобы быстро удалять продукты сгорания, дымоход должен иметь длину более 4 м.
- Для работы устройства может использоваться отработанное масло.
- Раз в 10 дней необходимо производить чистку конструкции от отходов.
- Допускается использовать отработанное масло или солярку исключительно хорошего качества.
- Для быстрого розжига следует в нижний резервуар поместить газету, после чего залить ее соляркой и подпалить. Процесс горения длится 5-10 мин, после этого солярка выгорает полностью. Время от времени понадобится добавлять по 5 л топлива.
https://1popechi.ru/www.youtube.com/watch?v=o5woM3TASvA
Печка на солярке, которая изготавливалась своими руками, может значительно отличаться от конструкции, которая могла бы быть приобретена в магазине. Связано это с тем, что произвести все расчеты по такой печке нельзя в домашних условиях, поэтому проще всего доработать магазинный вариант, оборудовав устройство капельницей. Это приспособление, которое будет время от времени добавлять топливо в печь.
Солнечная огневая пушка — использование солнца для хорошего горения влажных дров
В этом посте описываются мои испытания 150-граммовой переносной солнечной панели, которая может работать на солнечной огнетушительнице и заряжать блок питания USB.
Предыстория солнечного пожарного вентилятора
В большинстве случаев горение древесины улучшается за счет принудительной тяги воздуха из таких устройств, как меха или пожарный вентилятор, особенно если нет сильной естественной тяги. Это еще более важно при походе в поход, когда дровяная печь должна использовать влажные и дрянные палки в качестве топлива.
Мои печи с воздуходувкой и огнетушитель USB являются хорошими примерами использования нагнетаемого воздуха для турбонаддува такого горения. Они предназначены для ленивой готовки с длинными палочками в отдаленных районах во время прогулки на лыжах в походе и обычно зависят от батарей для питания крошечного вентилятора.
USB-огнедувка в сборе с дополнительным удлинителем воздушной трубки, чтобы вентилятор и блок питания USB не попадали в пламя дракона и сильное тепло от сгорания сырой и дрянной древесины. влажная древесина. Пламя контролируется стенкой крыла. Сгорание газа завершается вне основной камеры сгорания.
Знатоки техно, такие как я и неподражаемый Стив из Theultralighthiker, часто мечтают об использовании Пельтье или термоэлектрических генераторов (ТЭГ), чтобы использовать тепло печи для производства электричества для походов. Мои небольшие усилия в этом отношении показали, что такое устройство для пеших прогулок в настоящее время будет дорогим, сложным, тяжелым, громоздким, неуклюжим и будет производить достаточно электроэнергии, чтобы запустить собственный вентилятор, и обеспечивать очень мало дополнительной электроэнергии для практической быстрой зарядки аккумулятора.
Я не могу отделаться от мысли, что источник тепла, используемый для работы ТЭГ в виде свечи, упомянутый Стивом (нагреваемый свечой, газовым баллоном или спиртом), будет весить больше, чем эквивалентный блок питания USB, который можно использовать как простой заменять.
Походная печь BioLite воплощает эту мечту в аккуратной, но тяжелой упаковке (2,06 фунта). Я знаю опытных пешеходов, у которых он есть, и они никогда не берут его с собой в серьезные пешие походы. Это не хорошая печь для отдаленных районов и не хорошее зарядное устройство.
Я бы еще добавил, что его горелка предназначена для сжигания партии очень мелких кусков топлива сверху вниз. Он горит горячим, чистым и чудесным образом. Однако при длительном приготовлении пищи или зарядке плиту в конечном итоге необходимо заправить сверху (или охладить и запустить снова).
Я не использовал Biolite, но сделал своими руками дровяные газовые плиты и у меня есть дровяная газовая плита Stickman с вентилятором. Они также предназначены для сжигания «сверху вниз», и у них возникают те же проблемы с заправкой после сжигания первой крошечной порции топлива.
Печь поддувальная с несъемным вентилятором. Проблеск надежды для меня, но он был тяжелым, громоздким, ему не хватало универсальности, было утомительно поддерживать крошечный топливный развал топливом. Добавление дополнительного топлива сверху сделало его настолько горячим, что оно начало трескаться (см.
Напротив, существуют образцы бытовых печей-газификаторов на биомассе с большими топливными камерами, в которых эти недостатки преодолены. Тем не менее, они не будут приветствоваться в моем рюкзаке.
Наличие небольшого солнечного источника дополнительной энергии для печей всегда казалось практичным вариантом. Это особенно актуально для длительных поездок (вдали от троп с зарядкой через USB) с несколькими ночами, а другие рюкзаки могут получить пользу от дистанционной зарядки. Я думаю, что он должен быть намного лучше, универсальнее и практичнее, чем туристический TEG, как оценивается ниже.
Может ли дешевая небольшая солнечная панель для рюкзака работать на вентиляторе и заряжать аккумуляторы?
Небольшой солнечный блок питания USB. Я использовал множество сверхлегких источников питания, и одним из них был блок питания с небольшой солнечной панелью. Солнечная зарядка была медленной, и поэтому она была хороша только для нечастого использования, когда ее можно было заряжать от солнечной энергии в течение длительного времени (например, на приборной панели автомобиля) или вместо этого заряжать от сети. У него не было достаточно мощности, чтобы запустить печь с вентилятором только на солнечной энергии.
Сверхлегкие блоки питания для духовки слева направо: батарейный блок 4 * AA с переключателем и разветвителем напряжения на три кабеля, блок питания Aldi Solar USB с контроллером заряда / разряда (оснащен моим изготовленным на заказ штекером 3,5 мм для подключения к клыку) и, наконец, блок питания USB-контроллера заряда/разряда со съемной литий-ионной батареей 18650 в трубчатом алюминиевом корпусе, оснащенный моим изготовленным на заказ кабелем питания USB A-Fang.
Дополнительные сведения о кабеле см. в разделе «Фитинги вилки питания».
Большая солнечная панель для рюкзака. Недавно я получил в почтовом отделении небольшую гибкую солнечную панель для рюкзака после обычно долгой перевозки, которую мы все привыкли принимать (ETFE SunPower Folding 10W Solar Cell Charger 5V 2.1A USB Output Devices……….). Чистый вес составляет 150 г без симпатичных, но неуклюжих дополнительных карабинов, которые найдут более ценное, но более функциональное применение в моем комплекте в другом месте.
Исходя из моего собственного опыта работы со спецификациями аккумуляторов и прочтения обзоров солнечных панелей, я добавил к рекламируемым характеристикам щепотку NaCl. Честно говоря, я часто признаю соотношение цены и качества, которое представляют некоторые из этих дешевых устройств, когда они даже включают бесплатную доставку.
Тем не менее, панель имела довольно большую площадь, и даже если ее выходная мощность составляла всего 20% от заявленной мощности, она все еще могла выполнять свою работу. Так что я хотел увидеть, если я потратил впустую свои деньги и время?
Плита с прямым нагнетателем на солнечной энергии работает
Я думал, что зарядка батареи с помощью солнечной панели займет слишком много времени, чтобы сделать какие-либо выводы. Была середина раннего осеннего дня, большую часть времени солнце закрывала высокая облачность. Следовательно, для быстрой проверки, чтобы увидеть, не «продали ли мне щенка», я подключил встроенный USB-монитор мощности к выходному разъему на задней панели солнечной панели, а затем подключил к нему кабель вентилятора моей печки. . 900:03 Облачность около полудня для моего первого испытания вентилятора на солнечной энергии и зарядки блока питания от USB.
Как только я убрал свою дурацкую тень с панели, вентилятор заработал. Я грубо повернул панель лицом к невидимому тогда солнцу. Я мог сразу сказать, что было достаточно шума, чтобы он мог поднять мою крошечную духовку, чтобы сделать с ней праздничную чашку чая. «Это будет мой первый солнечный огнемет».
Из-за того, что монитор питания подключен к кабелю, на его дисплее неудобно читать при ярком внешнем свете, когда панель направлена на солнце (работаю над этим). Показания составляли примерно 5,2 В, а ток колебался в районе 0,25 А при разной степени облачности (как показано на видео).
Ожидаемый ток полной мощности моего вентилятора почти такой же и составляет около 0,26 А при 5,2 В при использовании моего обычного блока питания USB с регулируемым напряжением 5 В. «Я обнаружил, что даже при половинном напряжении вентилятор все равно будет работать на плите, даже если мне нужно запустить лопасти щелчком, поэтому работа при плохом солнечном свете все еще возможна».
Вот небольшое видео о солнечном вентиляторе, который успешно управляет горячей кухонной плитой.
Зарядка аккумуляторной батареи USB
Я был рад видеть, что панель может заряжать аккумуляторную батарею USB в таких же пасмурных условиях (на что указывает индикатор на аккумуляторной батарее). Я думаю, что монитор питания показывал ~ 5,2 В и ~ 0,4 А. Тем не менее, было трудно читать дисплей, и я несколько не доверял току, учитывая, что он был значительно выше, чем ток вентилятора в аналогичных условиях.
На следующий день солнце было менее закрыто. Был тонкий слой облаков Sirrus и легкий дым от сжигания топлива. Я обернул небольшой бумажный кожух вокруг экрана монитора мощности, чтобы улучшить обзор. Показания питания для вентилятора были ~ 5,2 В и ~ 0,2 А. Точно так же при подключении к блоку питания USB показания были 4,56 В и до 0,82 А.
«Это примерно 39% от заявленного тока зарядки (2,1А). Так что, похоже, моя бредовая дисконтированная оценка в 20% была чрезмерно пессимистичной. Так что я в восторге от его выступления».
Является ли солнечная батарея для похода практичным инструментом?
Прямая работа духовки Без сомнения, будет весело использовать мою духовку в солнечные дни для приготовления горячих напитков, супов, приготовленной пищи в холодную погоду, если позволяет обеденный перерыв и погода. Тем не менее, приготовление пищи на завтрак до утренних сборов или на ужин после долгого дня похода редко бывает практичным из-за слабого солнечного излучения в это время. Следовательно, подзарядка батареи в течение дня наверху моего рюкзака, по-видимому, является наиболее практичным использованием панели в контексте альпинизма.
Тем не менее, было бы здорово использовать его, когда дома отключается электричество, а также для поездок на рыбалку, пикников в лесу и пикников, которые обычно проводятся днем и проводятся только при хорошей погоде. Питание от USB-аккумулятора всегда можно использовать в качестве резервного. Я думаю, что гибридное приготовление пищи на солнечной энергии с несколькими упавшими палками имеет прекрасную привлекательность.
Зарядка аккумулятораМои предварительные результаты показывают, что солнечная панель может выдавать 0,82 А при напряжении 4,56 В, а это 3,74 вольт-ампер или ватт при ярком солнечном свете. «Да, это намного меньше (37%) рекламируемых 10 Вт, но с другой стороны, это лучше, чем мое пессимистическое предположение в 20%».
Если мы предположим, что эффективность преобразования составляет 70% (вход и выход), это будет означать, что за каждый час хорошей солнечной зарядки батареи могут выдавать 2,61 Вт-час энергии (или 1,7 часа времени приготовления пищи на полной мощности).
Асо в другом посте (Пульсирующий вентилятор) я также описываю, как можно значительно увеличить время приготовления на ватт-час, стратегически включив и выключив вентилятор, сохраняя при этом мощность приготовления. Этот трюк лучше всего работает с сухими топливными стержнями, но из влажного топлива все равно получится древесный уголь, который отлично подходит для кипячения блюд без работы вентилятора.
Эти вольт*амперы или ватты, вольтампер-часы или ватт-часы ломают мне голову. Так что пришло время для зеленой ядерной оды:
Зеленая накопленная энергия - это наше прошлое и будущее, понимаете? Независимо от того, хранятся ли они в аккумуляторе, масле, плотинах, старом пластике или мертвой ветке дерева, Все из ядерного синтеза водорода на солнце будет источником, Не забывайте, конечно, о солнечном фотосинтезе на деревьях, Тогда в любое время, с чистой совестью, мы можем насладиться приятным горячим чаем USB .![]()
Использование солнечного вентилятора без походов
Если вы следите за моими постами о пироманьяках, вы знаете, что я использую свой маленький USB-огнедув для многих вещей, таких как разжигание костров мокрыми дровами, выжигание пней и запуск горнов и печей. Следовательно, мне было любопытно посмотреть, будет ли вентилятор с прямым питанием от солнечной энергии работать с моей керамической печью (в режиме производства древесного угля с низким энергопотреблением).
Воздуходувка на солнечной энергии подготавливает печь для обжига керамики. Была средняя облачность, но вентилятор работал хорошо, и верхняя часть печи достигла температуры ~500°С. Крошечный солнечный вентилятор смог накачать достаточно воздуха, чтобы печь работала очень хорошо, чтобы сделать древесный уголь и предварительно нагреть керамику перед их окончательным обжигом в древесном угле с полной мощностью сетевого пылесоса. «Без сомнения, он будет хорошо работать при выжигании пней, а блок питания можно оставить на ночь».
Заключение о солнечном пожарном вентиляторе
Я рад сообщить, что при солнечном свете солнечная панель может напрямую управлять вентилятором печи. Это было бы здорово для ленивых обедов. Прямой бег не будет эффективен для этой основной игры ранних завтраков или латышских ужинов, когда вы отправляетесь в пеший поход. Однако, если панель используется для зарядки аккумулятора в течение дня (поверх рюкзака, во время обеденных перерывов, рыбалки и т. д.), она должна иметь достаточно энергии для приготовления пищи в духовке и других нужд.
У меня было искушение назвать это солнечной плитой, потому что и упавшие палки, и электричество производятся солнцем, но тогда функция зарядки солнечной батареи не учитывалась.
Тим
Приложение1. Оптимизированная ориентация
Я обнаружил, что оптимизировать ориентацию панели по направлению к солнцу было непросто. Тем не менее, я обнаружил, что тонкая пластиковая трубка, закрепленная под прямым углом к панели, может использоваться для установки наилучшей ориентации, когда она не отбрасывает тени. Стержень прочно удерживается на месте с помощью небольшого винта через одно из четырех монтажных отверстий. Это работает очень хорошо, но когда я применил свою экспериментальную ловушку с отражающим светом, стало намного труднее увидеть тень. Подробнее об этом позже….
4 причины, по которым на крыше протекает солнечная система горячего водоснабжения [и как это исправить]
Если вы «заделываете дыру, куда попадает дождь», то даже песня «Битлз» вряд ли сделает вашу работу веселее. Хуже того, если утечка происходит из вашей солнечной системы горячего водоснабжения, ваша крыша и дом могут быть серьезно повреждены.
Хотя мы ненавидим использовать слово «общий», с точки зрения общих тенденций, утечки являются одной из наиболее распространенных проблем, связанных с техническим обслуживанием, связанных с солнечными системами горячего водоснабжения . Они могут варьироваться от минимальных до тяжелых, но всегда должны быть остановлены как можно скорее.
В этом полном руководстве мы рассмотрим распространенные причины утечек горячей воды, прежде чем рассматривать решения и ответы на часто задаваемые вопросы. При этом мы надеемся, что наши читатели смогут безопасно устранить свои утечки или узнать, когда придет время для частичной или полной замены системы.
Итак, какие солнечные системы горячего водоснабжения лучше всего подходят австралийцам?
Получите краткую цитату здесь или просмотрите обзоры ниже.
Экономьте на горячей воде.
Заполните форму ниже и получите бесплатное предложение по новой системе горячего водоснабжения .
Части солнечной системы горячего водоснабжения
Но сначала давайте рассмотрим части солнечной системы горячего водоснабжения, чтобы помочь вам понять терминологию в этой статье, поскольку она относится к вашей системе нагрева воды с использованием возобновляемых источников энергии. Резервуары на крыше с тепловыми солнечными коллекторами имеют очень мало движущихся частей, поэтому они, как правило, не требуют особого обслуживания или износа с течением времени.
Термальный солнечный коллектор
Тепловой солнечный коллектор — это компонент вашей системы, который физически использует тепловую энергию солнца. Существует два основных типа тепловых солнечных коллекторов для систем горячего водоснабжения: плоские пластинчатые и вакуумные трубчатые коллекторы .
Плоские солнечные коллекторы: При использовании плоского коллектора вам, скорее всего, не нужно беспокоиться о утечке чего-либо непосредственно из панели. Плоские коллекторы менее распространены в современных установках, чем вакуумные трубчатые системы, и более тесно связаны по размеру, форме и внешнему виду с фотоэлектрическими (PV) солнечными панелями.
Солнечные коллекторы с вакуумными трубками: В высокоэффективных солнечных коллекторах с вакуумными трубками внутри трубок содержится специальный теплоноситель, используемый для нагрева воды в доме. Несмотря на то, что это очень редко, теплоносители также имеют небольшой риск утечки.
Если вы подозреваете, что из вакуумного трубчатого солнечного коллектора тепловой энергии протекает теплоноситель, мы рекомендуем немедленно вызвать специалиста.
Бассейн и чисто термотрансфер: Наконец, некоторые солнечные водонагреватели и системы для бассейнов, предназначенные для жарких районов, вообще не используют никаких специальных тепловых коллекторов. Вместо этого вода непрерывно циркулирует по черной трубке, температура которой повышается под прямым воздействием солнца или дневной жары.
Для солнечных водонагревателей для бассейнов и систем, работающих исключительно на воде, недостатком компонентов является потенциальная утечка в любом месте. В системах с плоскими пластинами и вакуумными трубками утечки почти всегда возникают в резервуаре для воды, клапанах и трубной арматуре или вокруг них.
Резервуар для воды
К сожалению, самым неблагоприятным и наиболее распространенным местом утечки в солнечной системе горячего водоснабжения является резервуар для воды . Независимо от того, установлен ли он на крыше, расположен непосредственно на солнечном коллекторе или спрятан глубоко в подвале, бак вмещает все необходимое для дома горячее водоснабжение в одном месте.
Солнечные резервуары для горячей воды обычно имеют хорошую изоляцию для удержания тепла. Они изготовлены из очень прочных материалов, и на высококачественные системы гарантия может составлять 10 и более лет. Утечки в резервуаре для воды чрезвычайно чувствительны ко времени и должны быть устранены как можно скорее.
Циркуляционный насос
Для циркуляции горячей воды используется насос, который перемещает нагретую жидкость по всему дому. Циркуляционные насосы могут быть дополнены электрическими или газовыми усилителями, чтобы вода в доме могла правильно циркулировать, когда солнечная тепловая энергия недоступна.
Циркуляционный насос, также известный как контроллер, подключается к солнечным коллекторам и накопительным бакам через трубопровод. Как сердце системы, циркуляционный насос и контроллер также могут быть напрямую связаны с регулирующими клапанами, манометрами и различными другими компонентами системы, где возникает утечка.
4 Распространенные причины утечек солнечной горячей воды
Если ваша крыша рассчитана на небольшой дождь, то маловероятно, что протечка солнечной системы на крыше нанесет серьезный ущерб вашему дому. Однако, , если утечка произойдет в одном из внутренних компонентов системы, у вас может возникнуть больше проблем .
Несмотря на то, что сумасшедшие вещи случаются каждый день, наиболее распространенными причинами протечки солнечной горячей воды на крыше можно считать следующие:
- Старые или проржавевшие детали и материалы
- Отверстия в трубах или резервуарах из различных источников
- Ослабленные клапаны и фитинги
- Замерзание или избыточное давление в системе
По мере старения солнечной системы горячего водоснабжения вероятность это будет утечка из-за любого из факторов, перечисленных выше. В то время как некоторые исправления несложны, многие серьезные утечки требуют замены деталей и периодического опыта сантехника. Если вы не уверены в каком-либо аспекте ремонта вашей солнечной горячей воды, обратитесь к эксперту за самым безопасным решением.
Как исправить утечку горячей воды на крыше
Само собой разумеется, что всегда есть разные решения для каждого вида утечки горячей воды. Если у вас есть ослабленный клапан или трубный фитинг, устранение утечки может быть таким же простым, как затяжка нескольких деталей.
Независимо от того, в чем проблема, утечку солнечной горячей воды на любой крыше можно устранить, выполнив 5 простых шагов, которые мы опишем ниже.
Шаг 1. Определите проблему
Шаг первый: определите проблему и найдите утечку. Если у вас есть большой бассейн с водой, свисающий ниже вашего солнечного теплового коллектора, то будет относительно легко найти виновную область. С другой стороны, небольшие утечки, обнаруженные только с помощью резервуара для воды с медленно снижающейся емкостью, могут потребовать дополнительной проверки.
Медленно обойдите резервуар для воды, трубы и другие компоненты системы, чтобы внимательно осмотреть потенциальную утечку воды. Если кажется, что вода вытекает только из перепускного клапана, возможно, система защищает себя от внутренних повреждений.
При серьезных проблемах, таких как пробоина в резервуаре для воды, может потребоваться полный слив системы. К безопасным методам удаления воды относятся ведра, шланги, насосы и другие системы, чтобы быстро предотвратить гниение крыши или другие повреждения.
Шаг 2. Отключите все энергосистемы
Затем, чтобы защитить себя и свой дом, отключите все подключенные энергосистемы, прежде чем пытаться выполнить какое-либо техническое обслуживание вашего солнечного водонагревателя. Сюда входят электрические и газовые ускорители, а также любые подключения к остальной водопроводной инфраструктуре вашего дома.
Если вы не знаете, как безопасно отключить солнечную систему горячего водоснабжения от источника питания, позвоните первоначальным установщикам или обратитесь к другим ресурсам для безопасного отключения солнечной системы горячего водоснабжения. При быстро истощающемся запасе воды также необходимо перекрыть водяные краны, чтобы предотвратить непрерывный поток, если это возможно.
Шаг № 3: Проверьте клапаны на наличие утечек
Более того, утечка воды на крыше солнечного коллектора, скорее всего, произойдет рядом с одним из клапанов. Внимательно осмотрите все части вашей системы, в которых установлены клапаны, фитинги и другое оборудование для безопасного соединения двух компонентов.
Если что-то кажется ослабленным, можно с уверенностью предположить, что затяжка компонентов до соответствующего уровня — хороший способ начать работу, особенно если источник утечки кажется очевидным. В большинстве случаев лучше сначала ослабить клапан, чтобы осмотреть его на наличие повреждений или скопления мусора, а затем надежно затянуть крепеж, как только это покажется безопасным.
Иногда негерметичные клапаны могут вызывать эрозию существующих деталей, поэтому может потребоваться замена седельной шайбы, гайки или всего клапана, если детали повреждены. Если повреждение было нанесено зимой, может потребоваться дополнительная защита от замерзания для безопасной работы системы.
Шаг № 4. Включите водопроводные краны
После того, как вы убедились, что все клапаны и фитинги затянуты максимально плотно, пришло время проверить вашу систему. Просто повторно активируйте всю свою энергию и включите краны в вашем доме, чтобы активировать горячую воду от солнечной энергии. Если утечка сохраняется, выключите все системы и перейдите к шагу 5.
Шаг 5. При необходимости вызовите специалиста
И последнее, но не менее важное: серьезная утечка воды может привести к необходимости проглотить гордитесь и вызовите профессионала. Хотя в некоторых случаях утечку солнечной горячей воды на крышу можно легко решить с помощью нескольких быстрых корректировок, консультация со специалистом по ремонту почти всегда будет более безопасным и быстрым вариантом.
Если ваша система все еще находится на гарантии, вам следует связаться с установщиком или первоначальным производителем, чтобы узнать, что можно сделать с утечкой. В некоторых случаях ремонт может быть произведен без каких-либо дополнительных платежей, хотя в большинстве случаев обращения в службу поддержки потребуют хотя бы небольших затрат, чтобы вернуть вашу систему в нужное состояние.
Как избежать утечек в вашей солнечной системе горячего водоснабжения на крыше
Готовы узнать секрет? Лучший способ предотвратить утечку солнечной горячей воды на вашу крышу — это предотвратить это в первую очередь. Хотя для многих людей, вероятно, уже слишком поздно, есть несколько замечательных вещей, которые вы можете сделать, чтобы предотвратить будущие утечки на любом этапе владения вашей солнечной системой горячего водоснабжения.
Чтобы быть на шаг впереди, мы рекомендуем проводить регулярные проверки и техническое обслуживание системы каждые 1-2 года. Хотя это может быть не намного больше, чем подняться на крышу и убедиться, что все идет гладко, быстрая выборочная проверка может сэкономить вам кучу денег и избежать хлопот в будущем.
Если вы опасаетесь, что может возникнуть новая утечка, лучше всего обратиться к местному специалисту по тепловым солнечным батареям для поиска долгосрочных решений. В некоторых случаях дополнительное оборудование, такое как термосифонный стопорный клапан, может помочь предотвратить дальнейшее повреждение.
Взгляните поближе с визуальными примерами из практики
Если вы визуальный ученик, теперь мы переключимся на вашу сторону мозга, чтобы помочь лучше нарисовать картину того, что происходит, когда солнечная горячая вода течет по крыше. Ниже мы продемонстрируем несколько изображений из Интернета, чтобы помочь вам лучше понять природу и решение вашей потенциальной проблемы с горячей водой от солнечных батарей.
В крайнем случае обратите внимание на это видео на YouTube, скриншот которого сделан выше. В этом видео владелец недвижимости осматривает лужу воды, которая протекает под его солнечным коллектором горячей воды, вероятно, из-за ослабленного клапана или отверстия в резервуаре для воды на крыше.
В этом случае мы надеемся, что эксперт уже в пути и что владелец здания просто не выжидает и снимает видео для развлечения. Надеюсь, он:
- Перекроет подачу воды и затянет все клапаны системы, а также
- Сформирует план безопасного отвода воды с его крыши.
Источник изображения: https://floridasolardesigngroup.com/fafco-solar-panels-leaking/
Далее, на этом изображении вы можете увидеть протечку на крыше солнечной системы подогрева воды для бассейна. В трубах, заполненных водой выше, трубопровод размещается на крыше под прямым воздействием солнечных лучей, так что солнечное тепло передается непосредственно в систему водоснабжения.
На фото видно, что возникла течь, причиной которой, скорее всего, стал падающий или плавающий мусор. Здесь можно использовать быстрое исправление из пластика или клейкой ленты после отключения подачи воды, прежде чем профессионал, вероятно, сможет залатать трубку для безопасного непрерывного использования.
Источник изображения: https://www.thespruce.com/thmb/7BcX4293qJecyA7J8OhRbTGeDn4=/3258×1833/smart/filters:no_upscale()/close-up-of-drain-pipe-leaking-water-157376761-5800e1ba5f9b5805c2b568a1.jpg
Наконец, утечка на изображении выше происходит в трубе рядом с фитингом над резервуаром для воды в модульной солнечной системе нагрева воды. Здесь воду следует немедленно перекрыть, чтобы в трубах системы больше не было непрерывного потока.
В этом случае трубу, скорее всего, придется заменить. Конечно, чем раньше обнаружена протечка, тем лучше, так как замена трубы будет намного дешевле, чем каждый раз новый подвал.
Часто задаваемые вопросы о утечке горячей воды на крыше
Прежде чем мы закончим, вот несколько ответов на некоторые из наиболее часто задаваемых вопросов о утечке горячей воды на крыше.
Почему моя солнечная горячая вода протекает?
Если ваша солнечная система горячего водоснабжения протекает, то в девяти случаях из десяти это происходит из-за ослабленного или неисправного клапана. Утечки могут возникать из входов и выходов ваших резервуаров, контроллеров и других компонентов системы, где горячая вода течет непрерывно.
Как починить протекающий солнечный водонагреватель?
Чаще всего протекающий солнечный водонагреватель устраняется заменой детали. Если что-то было повреждено (например, бак, клапан, труба и т. д.), то почти всегда безопаснее заменить деталь и модифицировать систему, чтобы не произошло возможных поломок.
Могу ли я принять душ, если мой водонагреватель протекает?
Да, если ваша солнечная система горячего водоснабжения протекает со скоростью ниже критической, вы все равно можете безопасно принимать душ или использовать горячую воду в вашем доме. Конечно, небольшие утечки могут привести к серьезным разливам, если вы не будете осторожны, и проблему следует решать как можно скорее.
Должен ли я заменить солнечную систему горячего водоснабжения, если она протекает?
Если утечка солнечной горячей воды на крышу была вызвана старыми и изношенными компонентами системы, возможно, пришло время для модернизации. Несмотря на то, что мы настоятельно рекомендуем вам заменять мелкие детали перед выполнением капитального ремонта, система горячего водоснабжения, работающая на солнечных батареях, может доставить больше проблем, чем стоит (помните, что в некоторых ситуациях система горячего водоснабжения с тепловым насосом может быть более эффективной и менее затратной). рентабельно) .
Почему моя солнечная система горячего водоснабжения переполняется?
Если ваша солнечная система горячего водоснабжения переполняется, то, вероятно, ваш клапан PTR вышел из строя . Несмотря на то, что можно ожидать некоторого перелива, чрезмерные разливы можно предотвратить с помощью стандартной проверки системы и замены деталей.
Нужно ли обслуживать солнечные системы горячего водоснабжения?
Да, в дополнение к полугодовым проверкам солнечные системы горячего водоснабжения необходимо обслуживать не реже одного раза в 5 лет. Опытные технические специалисты могут остановить серьезные утечки до того, как они произойдут, что продлит срок службы системы и повысит окупаемость инвестиций.