Привод разъединителя: Электродвигательные приводы разъединителей
alexxlab | 02.02.2023 | 0 | Разное
Электродвигательные приводы разъединителей
- Подробности
- Категория: Разъединители
- электродвигатель
- разъединитель
- привод
Электродвигательные приводы разъединителей, приводимые в действие электрической энергией, применяются для управления разъединителями наружной и внутренней установки. Их изготавливают на номинальные напряжения 110, 220, 380 В переменного тока.
На рис. показан внешний вид электродвигательного привода типа ПДН-1У1, предназначенного для дистанционного и местного управления разъединителями 110-750 кВ. Все элементы привода (электродвигатель, червячный редуктор, механизм блокировки и др.) расположены в металлическом шкафу 1. За дверцей шкафа находится лицевая панель 2, на которой размещены ключ местного управления 3, указатели («включить», «Отключить») 4, 5 оперативного положения ключа местного управления, замки электромагнитной блокировки 6, панель 7 со схемой соединения, выключатель 9 подогревателя и штепсельная розетка 8.
Электродвигательный привод типа ПДН-1У1
С правой стороны шкафа имеется люк, закрытый крышкой 10, для установки рукоятки ручного управления 11, которая надевается на вал червяка редуктора. При этом установленная рукоятка размыкает контакты в цепи управления электродвигателем, что исключает случайное включения его во время проведения операций вручную.
Управление ножами стационарных заземлителей возможно только вручную с помощью металлической штанги. Над крышкой шкафа привода расположены валы управления ножами разъединителя с муфтами указателей положения. Максимальный момент на валу главных ножей этого типа привода 180 Нм, угол поворота вала ножей 90, 180 и 270°, угол поворота вала ножей заземления 90°. Приводы к разъединителям соответствуют ГОСТ 690-69.
Главные ножи разъединителей серии РВР управляются электродвигательным приводом ПДВ-1 или ручным приводом ПЧ-50, заземляющие ножи — ручным приводом ПЧ-50. В разъединителях серии РВП главные ножи управляются электродвигательным приводом ПД-12, заземляющие — ручным приводом ПЧ-50.
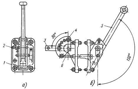
В приводе предусмотрена механическая блокировка, не допускающая ошибочное проведение операций с главными ножами при включенных ножах стационарных заземлителей. Имеется также блокировка, запрещающая дистанционное управление разъединителями в момент управления с места. Схема управления электродвигательным приводом представлена на рис. 2.
Рис. 2. Схема управления электродвигательным приводом разъединителя.
В зависимости от конфигурации и номинального напряжения разъединителей время выполнения приводом одной операции составляет 4…20 с, при этом не обязательно все это время держать ключ повернутым в соответствующее положение. Начатая с разъединителями операция завершается независимо от длительности подачи команды.
Электродвигательные приводы к разъединителям
Тип привода | Максимальный момент на выходном валу, Нм | Электродвигатель | габариты | Масса, кг | |||
мощность, кВт | U тяг, В | В | L | Н | |||
ПД-12 | 98 | 2,2 | 220/380 | 72 | 40 | 39 | 65 |
ПД-5 | 1280 | 0,75 | 380 | 80 | 58 | 66 | 185 |
ПД-3 | 1080. | 2,8 | 220/380 | 100 | 54 | 64 | 400 |
ПД-2 | 5200 | 5,0 | 220/380 | 188 | 105 | 735 | 880 |
ПД-1 | 1765 | 1,1 | 330/380 | 106 | 60 | 129 | 315 |
ПДН-1 |
|
|
|
|
|
|
|
Примечания: 1.
Обозначение типа привода: буквенная часть — П — привод, Д — электродвигательный, Н — наружной установки; цифровая часть — модификация. В приведённых обозначениях опущено указание варианта исполнения (привод ПД-3 имеет 48 типоисполнений, отличающихся максимальным моментом на валу, привод ПД-5 — 9 типоисполнений, отличающихся углом поворота вала и массой). 2. Размеры и масса указаны для наибольшего варианта исполнения и без учёта блока управления
Для управления подвесными разъединителями, имеющими тросовую систему управления, применяется электродвигательный привод ПД-2У1, осуществляющий наматывание троса на барабан при включении разъединителей.
Привод состоит из исполнительного блока (асинхронный электродвигатель, редукторы) и блока управления в виде шкафа с аппаратурой управления электродвигателем, системами электрической блокировки и сигнализации. Привод даёт возможность дистанционного, местного и ручного управления разъединителями.Контроль за оперативным положением разъединителей осуществляется с помощью контактов вспомогательных цепей, которые обычно встраивают в привод и переключаются одновременно с выполнением операций включения и отключения. На щитах управления сигнализация положения разъединителей, управляемых дистанционно, выполняется с помощью ламп зелёного и красного цвета, располагаемых над рукоятками ключей управления разъединителями.
Пневматические приводы устанавливают непосредственно на рамах разъединителей, вследствие чего отпадает надобность в соединительных тягах.
Они отличаются плавной работой. Применение их особенно целесообразно на подстанциях, где имеются установки для производства сжатого воздуха.В электрическую схему блока управления помимо кнопок входят электромагниты включения и отключения, воздействующие на открытие пусковых клапанов, вспомогательные контактные пары, срабатывающие в конце хода включения разъединителей. Имеется механическая блокировка подхвата командного импульса, которая обеспечивает завершение начатой операции в случае, если кнопка ВКЛ. или ОТКЛ. по какой-либо причине будет отпущена ранее окончания операции.
В шкафу блока управления установлен подогреватель, который включается при температуре наружного воздуха ниже 5 °С.
В отличие от электродвигательных приводов в пневматических приводах не предусмотрены механизмы ручного управления разъединителями.
- Назад
- Вперёд
- Вы здесь: org/ListItem”> Главная
- Оборудование
- Разъединители
- ВН-16 – выключатель нагрузки
Еще по теме:
- Устройства управления и сигнализации отделителей и короткозамыкателей
- Управление высоковольтными выключателями и разъединителями
- Приводы к разъединителям
- ПЧ-50 – привод разъединителя
- ПР-10 – привод разъединителя
Приводы разъединителей внутренней установки
При заказе разъединителя заказчик порой не обращает внимания на такую не очень важную деталь, как привод, с помощью которого будут приводиться в движение контакты разъединителя.
Для стандартных разъединителей типа РВ(з)-10 на токи до 1000 А это действительно не принципиально.
Однако для разъединителей 10 кВ на токи более 4000 А или разъединителей 35 кВ и 110 кВ, а также для удаленного управления разъединителями необходимо использовать более сложные типы приводов – червячные и двигательные.
Разъединители внутренней установки, как правило, размещаются внутри шкафов распределительных устройств КРУ или КСО, на задней стенке шкафа. При включенном напряжении дверцы распределительных устройств всегда закрыты, и оперирование разъединителями осуществляется с помощью приводов, органы управления которых размещаются на лицевой панели распределительного шкафа.
Привод ручной ПР-3 рычажного типа
Стандартные разъединителей в большинстве случаев управляются ручными рычажными приводами, работа которых целиком зависит от мускульной силы оператора.
Кинематическая схема ручного привода состоит из трех частей:
- Рукоятка привода, представляющая собой рычаг, поворачивающийся вокруг оси на одном из закрепленных концов примерно на 90 градусов.
На рычаге могут устанавливаться запирающее устройство для навесного или электромеханического замка, а также датчики положения привода. Рукоятка привода обычно устанавливается на лицевой части шкафа распределительного устройства, например, камеры КСО. Собственно говоря, эту часть обычно и называют приводом. - Тяга, которая одним своим концом крепится к рычагу привода, а другим – к рычагу или муфте, установленным на оси разъединителя. Тяга целиком находится внутри шкафа распределительного устройства, ее длина всегда подбирается по месту, исходя из расстояния от лицевой стороны шкафа до Задней стенки, на которой установлен разъединитель.
- Вал разъединителя, приводящий в движение основные или заземляющие контакты разъединителя
Привод червячный ПЧ-50М
Вес разъединителей на токи более 4000 А превышает 100 кг, и оперировать ими с помощью ручного привода довольно тяжело.
В этом случае для усиления мускульной силы оператора применяют червячный редуктор.
Наиболее распространенной моделью с таким редуктором является червячный привод ПЧ-50М.
Привод состоит из следующих основных узлов:
- Основного червячного редуктора
- Рычага для управления тягой разъединителя
- Рычаг указателя положения привода с блок-замком
- Рукоятки, устанавливаемой на вал червяка
Червячный привод существенно облегчает оперирование разъединителем, однако его стоимость сравнима со стоимостью самого разъединителя. Поэтому приходится взвешивать необходимость применения червячного привода.
УЗНАТЬ ЦЕНУ
Отправьте запрос в любой форме на электронную почту [email protected]. В течение дня мы подготовим для вас предложение со стоимостью и сроком поставки. Или просто позвоните нам по телефону +7 910-973-00-28
Отправить запрос…
Двигательные приводы
Нередко возникает необходимость в удаленном управлении разъединителями. В этом случае не обойтись без двигательных приводов.
При этом двигательные приводы могут управляться с выносного блока управления. Однако, двигательным приводам уже требуется оперативное питание.
Двигательные приводы предназначены для электродвигательного оперирования главными и заземляющими ножами разъединителей на напряжения от 35 до 220 кВ при их установке на открытом воздухе или на напряжения от 10 до 110 кВ при установке в помещении.
Наиболее распространенные модели двигательных приводов ПД-11, ПД-14, ПДЖ-1, УМП.
Конструктивно приводы выполнены в виде одного блока, включающего приводной электромеханизм и электрические устройства управления и сигнализации.
Четырехступенчатый редуктор привода имеет червячную, две цилиндрические и коническую пару зацепления. К редуктору крепится электродвигатель, коммутирующее устройство и электромагнитная блокировка.
Редуктор имеет ступень ручного оперирования, что обеспечивает не более 22 оборотов рукоятки на операцию включения или отключения.
В приводах предусмотрена возможность электрической блокировки, что делает невозможным оперирование заземлителями при включенных главных ножах и наоборот.
Двигательные приводы могут оснащаться микрпроцессорными контроллерами.
Шкафы всех типоисполнений приводов имеют электрический обогреватель с термовыключателем, обеспечивающим автоматическое включение обогрева при температуре окружающей среды ниже +5°С и отключение обогрева при температуре выше +9°С, а также отдельный обогреватель для исключения конденсата.
Подробному описанию двигательного привода ПД-14 посвящен отдельный материал нашего сайта.
Связанные материалы
Пункт учета электроэнергии 35 кВ для газопровода “Сила Сибири”
В последние дни 2021 года наша компания получила заказ на пункт коммерческого учета электроэнергии 35 кВ для газопровода “Сила Сибири”. Уже 11 января 2022 года комплект оборудования поступил на объект.
Пункт коммерческого учета использует универсальные измерительные датчики тока и напряжения, что позволяет в 10 раз снизить массу устройства по сравнению с традиционными ПКУ на трансформаторах.
Подробнее…
Отгрузка оборудования на космодром “Восточный”
Космическая отрасль России развивается бурными темпами и требует большого количества инновационного оборудования, в том числе, электротехнического.
ООО “Тяжмаштрейд” выполнило заказ Центра эксплуатации объектов наземной космической инфраструктуры космодрома “Восточный” на поставку комплектующих для выключателей нагрузки.
Подробнее…
Поставки в Монголию
В 2021 году наша компания начала экспортные поставки электрооборудования в страны дальнего зарубежья. В начале года отгружены конденсаторные установки и разъединители в Монголию.
Компания “Тяжмаштрейд” с 2014 года поставляет электротехническое оборудование промышленного назначения в страны Евразийского Экономического Союза (ЕАЭС) – Белоруссию, Казахстан, Киргизию, Узбекистан.
Подробнее…
Начато производство разъединителей РЛК-20 кВ
К идее производства линейных разъединителей на 20 кВ мы обращались неоднократно с 2017 года.
Было рассмотрено несколько вариантов конструкций разъединителей: РЛНД-20, РЛР-20, РЛК-20.
В 2020 году мы организовали серийный выпуск линейных разъединителей на номинальное напряжение 20 кВ, остановившись на хорошо зарекомендовавшей себя конструкции качающегося типа РЛК-20.
Подробнее…
Реклоузеры для ракетных войск России
“Тяжмаштрейд” поставил реклоузеры с функцией учета электроэнергии ПССУ-10 для 35-й Краснознамённой орденов Кутузова и Александра Невского дивизии ракетных войск стратегического назначения.
Реклоузер с функцией учета электроэнергии ПССУ-10 защищает линию от перегрузок.
Кроме того, реклоузер выполняет важную дополнительную функцию – ведет учет электроэнергии и передает данных учета в диспетчерскую по сети мобильной связи.
Подробнее…
Описание высоковольтных разъединителей– saVRee
Введение Разъединитель ( разъединитель ) представляет собой коммутационное устройство , используемое для обеспечения безопасной изоляции электрической сети путем обесточивания частей, например.
воздушная линия, трансформатор или сборная шина и т. д. В силу их изолирующей функции разъединители иногда также называют изоляторами . Основная функция разъединителя состоит в том, чтобы служить визуальный индикатор того, является ли электрическое соединение разомкнутым или замкнутым ; это позволяет сетевым операторам узнать, находится ли цепь/оборудование под напряжением или обесточено . Важно, чтобы операторы могли подтвердить состояние цепи/оборудования под напряжением, чтобы они могли безопасно выполнять проверки , техническое обслуживание и ремонт без лишнего риска.
Выключатель-разъединитель (любезно предоставлено SDCEM)
Кроме того, заземлители используются вместе с разъединителями для заземления обесточенных частей системы, обеспечивая эффективное соединение/соединение с землей.
Применение разъединителей для обеспечения безопасной рабочей изоляции в энергосистемах восходит к началу 1900-х годов. В то время правила техники безопасности требовали размыкания соответствующих разъединителей, чтобы был обеспечен «видимый разрыв »; перерыв был тогда заблокирован для предотвращения несанкционированного закрытия. В дополнение к безопасной электрической изоляции, также стало обязательным защитное заземление ; это требование привело к разработке заземлителей .
Разъединители подстанции (вид сверху)
Различные типы разъединителей с воздушным разрывом используются на подстанциях 9 0 9 0 3 центральный разрыв
004 ,
вертикальный разрыв, k урожденный разрыв и пантограф типов. Тип используемого разъединителя зависит от компоновки, конструкции и пространственных ограничений подстанции.
Центральные и двойные разъединители
Вертикальные и разрывы коленного перерыва
Пантографии и полуписные отключения
.0004Все типы разъединителей состоят из одних и тех же основных компонентов:
- Токоведущая часть – часть разъединителя, несущая электрическую нагрузку.
- Контактная система – точка, в которой разъединитель замыкает или размыкает электрическую цепь.
- Опорные и поворотные изоляторы – изоляторы уменьшают ток утечки/утечки и снижают вероятность пробоя.
- Рабочий привод и шатуны – используется для приведения в действие (замыкание/размыкание) разъединителя (обычно используется электродвигатель).
- Опорная рама – позволяет легко монтировать или устанавливать разъединитель.
Компоненты разъединителя с центральным разрывом
В чем разница между разъединителями и автоматическими выключателями? Особенность, которая отличает разъединители от автоматических выключателей , заключается в том, что разъединители не обладают способностью прерывание тока .
Это означает, что разъединитель не может быть разомкнут, когда он проводит ток , и не может быть замкнут, когда на клеммах есть напряжение . Ключевой рабочей концепцией разъединителя является электрическое расстояние , которое он создает при размыкании, тем самым обеспечивая видимый изолирующий зазор .
Примечание: Разъединитель может прерывать небольшой ток, когда после размыкания на контактах появляется незначительное напряжение.
Дополнительные ресурсыhttps://en.wikipedia.org/wiki/Disconnector
https://pure.tue.nl/ws/files/2370686/200410772.pdf
http://www. tekhar.com/Programma/Siemens/Commutacia/High_voltage/pdf_pict/leaflet_e.pdf
093451 Выключатель-разъединитель Eaton – Omnical
Исполнение в качестве главного выключателя
Да
Исполнение с переключателем обслуживания/сервиса
Да
Исполнение в качестве защитного выключателя
Нет
Исполнение в виде установки аварийного останова
Нет
Максимум.
номинальное рабочее напряжение Ue AC (В)
690
Номинальный постоянный ток Iu (А)
20
Номинальная рабочая мощность при AC-23, 400 В (кВт)
5,5
Условный номинальный ток короткого замыкания Iq (кА)
6
Количество полюсов
2
Количество вспомогательных контактов в качестве нормально замкнутого контакта
0
Количество вспомогательных контактов в качестве нормально разомкнутого контакта
0
Количество вспомогательных контактов в качестве переключающего контакта
0
Моторный привод опционально
Нет
Встроенный моторный привод
Нет
Расцепитель напряжения опционально
Нет
Конструкция устройства
Встроенное устройство фиксированной встроенной техники
Подходит для напольного монтажа
Нет
Подходит для переднего монтажа 4 отверстия
Да
Подходит для переднего крепления по центру
Нет
Подходит для установки распределительного щита
Нет
Подходит для промежуточного монтажа
Нет
Тип элемента управления
Поворотный привод дверной муфты
Блокируемый
Да
Тип электрического соединения главной цепи
Винтовое соединение
Степень защиты (IP), лицевая сторона
IP65
Исполнение как реверсивный переключатель
Нет
Номинальное рабочее напряжение (В)
690 – 690
Номинальный постоянный ток при AC-21, 400 В (А)
20
Номинальная рабочая мощность при AC-3, 400 В (кВт)
5,5
Номинальный кратковременно выдерживаемый ток lcw (кА)
0,32
Коммутируемая мощность при 400 В (кВт)
5,5
Элемент управления цветом
Черный
Количество переключателей
1
Номинальный постоянный ток при AC-23, 400 В (А)
13.

..2450
На рычаге могут устанавливаться запирающее устройство для навесного или электромеханического замка, а также датчики положения привода. Рукоятка привода обычно устанавливается на лицевой части шкафа распределительного устройства, например, камеры КСО. Собственно говоря, эту часть обычно и называют приводом.