Самодельная газовая мини горелка: Самодельная газовая горелка инжекционного типа (Трансмаш№3). Часть 2 – Работа – YouTube
alexxlab | 12.03.2020 | 0 | Разное
обзор, особенности и как сделать
Что такое газовая горелка? Многих интересует точный ответ на данный вопрос. Если вкратце, то это самодельное пропановое устройство, которое имеет огромное количество преимуществ перед своими аналогами. В данной статье мы попытаемся в точности разобраться во всём, что касается самодельной газовой горелки, а также ответим на вопрос «Как сделать газовую горелку своими руками?»Во-первых, хочется отметить основные особенности данной конструкции. К ним можно отнести:
- предельно просты в применении;
- никаких неприятных и вредных запахов, следов копоти и тому подобного;
- компактность, позволяющая использовать газовую горелку практически везде.
Конструкция самодельной газовой горелки
В устройство самодельной газовой горелки включаются:- металлический корпус;
- редуктор;
- форсунка;
- регулятор подачи топлива;
- головка;
- узел для закрепления газового баллона.
Металлический корпус включает в себя специальный стакан, с помощью которого механизм избавляется от возможности задувания пламени. Сюда также входит металлическая или другая рукоятка, которая не превышает 100 сантиметров. Поверх рукоятки устанавливается деревянный держатель и газовый шланг. С помощью редуктора и трубки с вентилем регулируется уровень подачи газа, а также его длина соответственно. Форсунка служит для розжига топлива, в данном случае последним является пропан.
Вид топлива, на котором работает горелка
Как говорилось ранее, газовая горелка также называется пропановой. Отсюда несложно сделать вывод, что, как правило, в виде топлива используется именно пропан либо смесь пропана и бутана.
Данным топливом заполняется специальный баллон, который крепится к горелке.
Производство газовой горелки своими руками
Как вы могли понять из списка элементов всей конструкции приспособления, она является предельно простой и не имеет каких-либо сложных деталей, на которые нужно тратить большое время.
Для того чтобы сделать агрегат своими руками, потребуется немного времени и сил. И если правильно изучить материал, представленный в данной статье, а также со всей серьезностью и аккуратностью подойти к процессу (поскольку работа ведется с огнеопасными веществами), то он обязательно будет выполнен.
Как показывает практика и множество живых примеров, в среднем человек, который никогда не занимался созданием самодельных газовых горелок, через 40-45 минут после прочтения инструкции уже смог похвастаться горелкой, сделанной своими руками.
Как сделать газовую горелку своими руками
Вот мы и подошли к самому интересному процессу. К изготовлению горелки. Ниже будет подробно описан весь процесс создания данного агрегата, с учетом всех нюансов и советов.
Итак, начать следует с самого простого, но не менее интересного. С изготовления рукоятки горелки. В принципе, материал можно использовать любой. Кстати, более разумным будет просто использовать готовую рукоятку от какого-нибудь старого и ненужного паяльника. Подводящая трубка изготавливается исключительно из стали.
Не забывайте обращать огромное внимание на размеры всех деталей. Например, диаметр подводящей трубки горелки не должен превышать одного сантиметра, а его толщина должна колебаться в районе 2 — 2.5 мм. Эта трубка вставляется в ручку и фиксируется с помощью клея или другого качественного материала, подходящего для выполнения данной цели.
Корпус
Корпус горелки, как ни странно, изготавливается также из стали. Лучше всего использовать латунный прут, ширина которого должна составлять примерно 2 сантиметра. Рассекатель можно изготовить также из него.Далее проделывается несколько отверстий для того, чтобы создать циркуляцию кислорода в агрегате. Ведь, как известно любому: огонь не может существовать без кислорода. В общем количестве таких дырок должно быть четыре: каждая диаметром порядка 1 миллиметра. Делаются они в самом стержне рассекателя горелки.
Следующим шагом необходимо силой запрессовать рассекатель, с которым производились работы немного ранее, в корпус газового приспособления. Внутренний фланец должен быть установлен с некоторым зазором порядка половины сантиметра. С помощью этой щели в будущем будет тормозиться огромный поток газа, подходящий к запальнику.
Форсунка
Как говорилось ранее, с помощью форсунки обеспечивается подача топлива, а именно, пропана, из его баллона наружу. Для ее изготовления следует использовать специальный металлический прут. Здесь понадобится 2-миллиметровое сверло для того, чтобы проделать глухое отверстие в форсунке. Для перемычки нам понадобится 4-миллиметровое сверло. Проделанные отверстия зачеканиваются молотком, а после подтачиваются с помощью всеми любимой наждачной бумаги.После этого на конец трубки монтируется шланг от редуктора, который должен быть выполнен из специального резинового и тканевого материала. Закрепление происходит обычным хомутом с помощью рядовой отвертки.
После того как механизм, по вашему мнению, верно закреплен, необходимо выставить оптимальное давление в баллоне и подать газ из него. Воздух из шланга после этого должен быть полностью вытесненным. Длина огня при правильном расположении и работе всех деталей должна составлять порядка 40-50 мм.
В общем, как и говорилось ранее, самодельная газовая горелка является довольно уникальным средством, которое придет на помощь любому хозяину в любых неприятных бытовых ситуациях. А максимальная лёгкость её изготовления может только еще сильнее привлекать все приоритеты к себе.
Оцените статью: Поделитесь с друзьями!Газовая горелка своими руками
Во время проведения строительно-монтажных, ремонтных, ювелирных или иных работ, подразумевающих локальное нагревание элементов до высоких температур, одним из необходимых инструментов является газовая горелка. Рынок предлагает достаточно большое количество подобных изделий, однако их приобретение потребует вложения немалых средств, что не всегда уместно. Например, если речь идёт о периодическом применении нагревателя для пайки металлов во время ремонта автомобиля, то может быть изготовлена газовая горелка своими руками. Об этом и пойдёт речь далее.
Виды газовых горелок
Перед тем как сделать газовую горелку своими руками, необходимо определиться с тем, какие газовые горелки могут изготавливаться самостоятельно. Устройства этого типа отличаются по ряду факторов, одним из которых является используемых газ. Так можно выделить:
Ацетиленовые горелки – длительное время применялись при проведении сварочных работ, так как позволяли добиться температуры свыше 2000 градусов, но постепенно выходят из использования ввиду удорожания необходимых расходных материалов и высокой опасности технологии.
Метановые горелки – в частном или промышленном использовании не фигурируют, так как используемый энергоноситель обладает ядовитыми свойствами, при этом неэкономичен.
Бензиновые горелки – обладают достаточной эффективностью, но коптят и требуют соблюдения строгих правил безопасности.
Из всех возможных вариантов, газовые горелки обладают наилучшим соотношением доступности, безопасности и эффективности.
Кроме того, газовые горелки отличаются и по типу применяемой конструкции:
Атмосферные – приток необходимого для поддержания горения воздуха организуется с помощью естественного атмосферного давления.
Эжекционные – приток воздуха образуется выдуваемым газом.
Наддувные – воздух подаётся принудительно с помощью компрессора, являющегося частью конструкции горелки.
При выборе варианта конструкции необходимо понимать, что чем самодельная газовая горелка мощнее, тем сложнее для самостоятельного изготовления будет её конструкция.
Этапы изготовления
Перед тем, как сделать нужную газовую горелку своими руками необходимо подготовить необходимые инструменты и материалы, а также выполнить чертёж проекта. При достаточном уровне квалификации и наличии специального оборудования изготовить можно любой из вариантов, но в большинстве случаев стоит говорить о простейшей конструкции. Использование горелки сопряжено с достаточно высоким уровнем опасности, поэтому делать сложные и мощные самоделки не рекомендуется. В то же время мини газовая горелка способна стать достаточно эффективно решать свои задачи, при этом сравнительно проста для самостоятельной сборки.
Разработка конструкции
Первоначальным этапом работ является создание принципиальной схемы. Если брать в качестве ориентира наиболее простой вариант, то горелка на пропане будет состоять из газопроводящей трубки, форсунки, сопла и рукоятки для удержания. При составлении схемы необходимо в масштабе отразить все конструкционные элементы. К слову, небольшую турбо- горелку можно изготовить, используя простую иголку от шприца и баллончик для заправки зажигалок.
Газопроводящая трубка
Для её изготовления можно взять соответствующий элемент конструкции пистолета для монтажной пены. Особого внимания заслуживает то, что в этом случае необходимый для нагнетания потока газа жиклёр уже установлен. Остаётся только вытащить небольшой шарик на пружинке, который служит для остановки пены. Диаметра имеющегося отверстия будет достаточно для предполагаемых целей использования.
Регулировочный клапан
В качестве регулировочного клапана можно использовать простой газовый клапан-бабочку. Такой вариант позволить обеспечить возможность изменения интенсивности потока газа, при этом не увеличивает внешние габариты узла. Сочетание эффективности и простоты конструкции этого элемента может сравниться лишь с его доступностью, при этом такая пропановая горелка прослужит долго.
Сопло
Для изготовления этого элемента можно использовать подходящий по диаметру обрезок металлической трубы. С одного из краёв этого обрезка выполняется ряд пропилов, после чего получившиеся лопасти равномерно загибаются к центру.
Рукоятка для удержания
Этот элемент может быть изготовлен из любых подручных средств. При этом главное, что необходимо обеспечить – изоляцию рук, так как работающая горелка от природного газа будет нагревать многие свои элементы.
Процесс монтажа
Когда все элементы конструкции будут изготовлены, можно приступать к их соединению в единый комплекс.
- На трубку со стороны форсунки напрессовывается гайка с подходящим внутренним диаметром.
- С этого конца трубки надевается изготовленное сопло, а загнутые его лопасти привариваются к гайке.
- С другой стороны на рубку также напрессовывается гайка, которая после этого вставляется внутрь подходящего по диаметру водопроводного сгона и заваривается.
- К сгону с помощью резьбового соединения подключается газовый клапан.
- С другой стороны клапана подсоединяется второй сгон, на который наворачивается «ёлочный» переходник на шланг.
- Завершающим этапом изготовления является установка рукоятки для удержания.
К переходнику подключается шланг, идущий на баллон и основные этапы работ можно считать завершёнными. При выполнении работ важно обеспечить герметичность соединения элементов, поэтому все резьбовые узлы должны быть дополнительно уплотнены с помощью ФУМ-ленты.
Для придания горелке на газе более презентабельного вида все внешние металлические поверхности необходимо отшлифовать. Кроме того, шлифовке подлежит и выпускная форсунка, для обеспечения ровного пламени без рывков.
Как видно из изложенного, при минимальном использовании инструмента и базовом уровне квалификации, изготовить простую горелку на пропане вполне можно изготовить и самостоятельно. Для лучшего понимания вопроса можно ознакомиться с видео по изготовлению газовой горелки своими руками и выполнять работы по аналогии. При этом важно помнить, что соблюдение правил техники безопасности является обязательным условием.
Добавить комментарий
Туристическая газовая горелка с одной конфоркой
При помощи самодельной туристической газовой горелки с одной конфоркой можно приготовить или подогреть пищу, находясь, например, на охоте, рыбалке, даче или в походе.
Причем работает походная горелка от газового баллончика. Для изготовления данной самоделки автор использует корпус фильтра от противогаза, алюминиевую конфорку от газовой плиты, а также некоторые другие детали.
Первым делом необходимо с помощью ножа вскрыть, как консервы, фильтр от противогаза, и извлечь из него все «внутренности». В результате должен остаться только сам корпус фильтра.
Процесс изготовления туристической горелки
На следующем этапе потребуется отрезок трубки диаметром около 6 мм, который согнут под углом 90 градусов, а также сгонная гайка, муфта с внутренней и наружной резьбой и заглушка. Все детали собираем вместе.
Далее в нижней части алюминиевой газовой горелки (в ее «ножке») необходимо будет просверлить сквозные отверстия. В горелку потом надо вставить ранее подготовленную сборку.
После этого в корпусе фильтра противогаза надо просверлить четыре отверстия по окружности (диаметром 10 мм) и три отверстия в его верхней части (диаметром 6 мм). Часть горловины корпуса автор срезает с помощью УШМ.
На последнем этапе останется только просверлить еще несколько отверстий: одно в нижней части корпуса — под шланг, и два отверстия в газовой горелке и корпусе.
Потом на трубку надевается шланг, который через переходник подключается к газовому баллончику. В верхние отверстия в корпусе фильтра вставляются болты, на которые надеты втулки — на них будет стоять посуда. Сбоку прикручивается ручка от болгарки.
Подробно о том, как сделать своими руками туристическую газовую горелку с одной конфоркой, смотрите в данном видеоролике.
Оцените запись
[Голосов: 5 Средняя оценка: 4.2]Миниатюрная горелка своими руками
Здравствуйте, уважаемые читатели и самоделкины!Многие из Вас любят отдых на природе, а как же приготовить или разогреть пищу в сырую погоду, или просто нет желания разводить для этого костер? А может быть в Вашей мастерской или гараже не хватает печки?
В данной статье Александр, автор YouTube канала «Alexander Polulyakh» расскажет Вам, как изготовить небольшую горелку из старого газового баллончика.
Эта самодельная горелка очень проста в изготовлении, и может быть повторена в домашних условиях.
Материалы.
— Газовый баллончик
— Спирт медицинский
— Наждачная бумага.
Инструменты, использованные автором.
— Пассатижи
— Дремель, тонкое сверло по металлу
— Штангенциркуль
— Ленточный шлифовальный станок
— Маркер.
Процесс изготовления.
Первым делом нужно убедиться, что газовый баллон пустой, и в нем нет давления. Затем с его поверхности нужно счистить наждачной бумагой лако-красочное покрытие.
Ободок и юбку вокруг клапана нужно удалить.
Далее баллон нужно разрезать на две одинаковые половинки. Автор делает это при помощи дремеля, однако подойдет и обычная ножовка по металлу.
Ободок вокруг верхней части баллона стачивается на шлифовальном станке, и снимается сама крышка.
Острые края нужно зачистить наждачной бумагой.
От нижней части баллона дополнительно отрезается небольшое кольцо.

Места среза также шлифуются.
Это колечко нужно немного уменьшить в диаметре при помощи пассатижей.
На оставшемся донышке автор отмечает кольцо на расстоянии 15-20 мм от верхнего края.
Крышка вставляется в донышко вот таким образом.
Теперь по всему периметру стакана сверлятся 12 отверстий 0.5 мм диаметром.
Все детали для горелки готовы, теперь можно ее собирать. Сначала крышка вставляется в цилиндр.
А затем обе эти детали устанавливаются внутрь стакана, и верхний его край подбивается молотком.
Верхние края развальцовываюстся.
Горелка готова, и ее можно наполнять спиртом. По мере прогревания емкости, пары спирта начнут проходить через отверстия.
Теперь, когда приспособление разгорелось, можно ставить посуду, и готовить пищу.
Благодарю Александра за простое, но полезное приспособление для разогревания пищи и напитков!Если у Вас имеются интересные самоделки, делитесь ими на этом сайте.

Всем хорошего настроения, удачи, и интересных идей!
Авторское видео можно найти здесь.
Источник (Source) Становитесь автором сайта, публикуйте собственные статьи, описания самоделок с оплатой за текст. Подробнее здесь.
Туристическая бензиновая горелка своими руками, процесс изготовления
Бензиновые горелки довольно часто выручают рыболовов. Их можно разделить на 3 основных вида:
- Бензиновые или работающие на других типах жидкого топлива.
- Работающие на газе.
- Мультитопливные.
Последний тип горелок предназначается для работы на различных видах топлива. Так уж случилось, что бензиновые аппараты появились несколько раньше, чем газовые. Несмотря на то, что прошло уже достаточное количество времени с момента появления газовых горелок, бензиновые горелки используются и в наше время.
Причем, они не просто используются, а используются все интенсивнее. Все дело в том, что каждый тип горелок обладает рядом как достоинств, так и недостатков. При определенных условиях бензиновые горелки показывают лучшие результаты и высокую эффективность. Данная статья направлена на то, чтобы ознакомить читателей с достоинствами бензиновых горелок.
Классификация горелок
Конструкционные особенности горелок зависят от того, какой вид топлива используется. Например:
- Существуют горелки, которые работают исключительно на бензине и ни на каком больше горючем.
- Существуют конструкции, которые кроме бензина, используют еще и керосин.
- Работа любых видов горелок требует особого устройства, способного поддерживать давление на постоянной основе.
В связи с данным фактором, данные устройства классифицируются и по этому способу.
- Встречаются конструкции, в которых отсутствует насос, а другие аппараты оборудованы насосом.
- Горелки так же классифицируются по способу крепления емкости с топливом.
- Некоторые виды горелок сконструированы так, что емкость с горючим находится отдельно от горелки и горючее подается к горелке через шланг. Существуют горелки, где емкость с горючим и горелка составляют единую конструкцию.
Нужна ли бензиновая горелка на рыбалке?
- Очень интересный вопрос, поскольку бензиновая горелка имеет определенный вес и занимает некоторое полезное пространство. Когда осуществляется выезд на рыбалку, то считается каждый килограмм лишнего веса. Многие, отправляясь летом на рыбалку, обходятся без бензиновых горелок, поскольку можно без проблем разжечь костер. Но не всегда всем везет и бывают такие ситуации, когда разжечь костер не получается, особенно в условиях непогоды. Если деревянные ветки сильно намокли, то без дополнительных усилий и приспособлений они не загорятся.
Наличие бензиновой горелки поможет разжечь костер без особого труда, даже, если ветки мокрые. Кроме этого, на бензиновой горелке можно нагреть чайник с водой или приготовить еду.
- Бывает и другая ситуация, когда рыбалка осуществляется до темна и разжигать костер никто не хочет из-за усталости. В таком случае проще воспользоваться горелкой, чтобы быстрее приготовить ужин, хотя и поздний.
- Когда надолго установилась холодная и мокрая погода, то бензиновая горелка всегда выручит и не придется думать, на чем готовить чай или еду.
Купить или сделать бензиновую горелку своими руками
Самый простой вариант – это приобретение аппарата в магазине, тем более, что производитель предлагает различные модели. Определить, какая из разработок наиболее подходящая, весьма трудно из-за особенностей в конструкции.
Некоторые модели обладают слишком большим весом, что не позволяет их брать с собой, тем более, если нет транспорта. При наличии транспорта подобный фактор не имеет принципиального значения.
Промышленные образцы отличаются высокой ценой, а для их нормальной работы требуется только качественный бензин.
Что касается самодельных газовых горелок, то здесь так же имеется несколько вариантов их изготовления. Для самостоятельного изготовления пойдут уже бывшие в употреблении детали от бензиновых горелок. После сборки получается качественное и эффективное, а главное работоспособное устройство. Такой подход под силу любому, даже неопытному рыболову. Работает бензиновая горелка по принципу смешивания паров бензина и потока воздуха. Горелка сконструирована так, что эта горючая смесь подается в область горения постоянно, чем и поддерживается процесс горения. При этом, в самодельных горелках почему-то горят и более низкие сорта бензина, по сравнению с промышленными разработками.
Бензиновая горелка своими руками
Самостоятельное изготовление различных принадлежностей для рыбалки имеет свои плюсы. Самое главное это то, что каждый из мастеров получает в результате тот аппарат, который ему необходим. При этом, каждый из них для изготовления использует свои запасные части, которые соответствуют определенному способу изготовления.
Способ первый
- Для изготовления первой горелки понадобится две консервные банки, которые обычно выбрасываются. Чтобы их использовать по назначению, их очищают от грязи и тщательно моют, после чего сушат.
- Берется одна из банок и в ее дне гвоздем пробивается 4 отверстия. Такие же отверстия делают на боковой стороне банки по всему периметру.
- Боковая часть банки отрезается на удалении 3-х см от дна. В результате получается верхняя часть горелки.
- Берется вторая банка и так же обрезается по всей окружности на такую же высоту.
- Вторая часть банки будет служить днищем будущей горелки. На дно банки ложится ватка, после чего нижняя часть горелки накрывается верхней.
- Бензин заливается сверху через пробитые отверстия. В результате бензин удерживается ваткой, а воспламеняются только пары. Горелку можно поджечь.
- Устройство подобной горелки достаточно простое. К сожалению, оно еще и одноразовое, поскольку после применения, на применение во второй раз можно не рассчитывать.
Способ второй
Вторая конструкция более сложная, но она и более практичная, поскольку не одноразовая.
Что для этого нужно:
- Саму горелку придется купить в магазине.
- В качестве компрессора подойдет автомобильная камера. К сожалению, ее время от времени нужно наполнять воздухом, для поддержания давления на нужном уровне.
- В качестве топливного бака подойдет 2-х литровая канистра, в крышке которой проделываются 2 отверстия, куда вставляются трубочки. Одна из них должна доставать до дна канистры, а вторая – до половины.
- Для ресивера подойдет прозрачная пластиковая емкость, которая может плотно закрываться крышкой. Объем ресивера – 10 литров.
Этапы сборки:
- В топливный бачок, где-то на половину, заливается бензин.
- На вход компрессора желательно установить фильтр самой простой конструкции.
Для этого используют пластмассовую воронку, на которую следует натянуть капроновый чулок.
Как работает подобное устройство
Воздух из компрессора подается в ресивер, который сглаживает неравномерность давления. После этого, он попадает в бак с бензином, в результате из бака уже вытесняется горючая смесь воздуха и паров бензина. Эта смесь попадает на горелку, остается только ее поджечь.
Способ третий
Для подобного изделия потребуется металлическая плоская баночка, пемза и не большое количество бензина.
Как собрать изделие.
- В металлическую баночку, достаточно плотно набивается пемза, практически полностью.
- После этого, ее следует пропитать бензином. Делается это очень аккуратно, чтобы бензин не разливался. Изготовление горелки закончено. Такая горелка может давать тепло на протяжении 15-ти минут. На ней можно приготовить скромный обед или обогреть палатку в экстремальных условиях.
Профилактика от засорения
- В процессе работы бензиновая горелка может засоряться, поэтому лучше использовать качественный бензин, с большим октановым числом.
- Если использовать специальные присадки для бензина, то можно решить проблему засорения горелок. Подобные присадки применяются в инжекторных двигателях.
- Чтобы горелка не отказала в самый неподходящий момент, ее лучше почистить после использования.
Чем лучше бензиновая горелка, по сравнению с газовой?
- Бензиновая горелка использует топливо, которое можно приобрести на любой заправке. Что касается газа, то нужно еще поискать заправку, где заправляют газовые баллоны. Поэтому можно сделать вывод, что бензин, намного доступнее, по сравнению с газом.
- По мере того, как вырабатывается газ в газовой горелке, ухудшается качество ее работы, чего не скажешь о бензиновой горелке.
- Вдали от цивилизации, хотя и случайно, но можно раздобыть немного бензина, а вот газ вряд ли удастся найти.
- Бензиновые горелки отличаются легкостью и компактностью. Их можно поместить в рюкзак и взять с собой в поход.
Работа в экстремальных условиях
В условиях разреженности воздуха бензиновая горелка никогда не откажет, а вот газовая горелка либо будет гореть плохо, либо вообще не будет гореть.
Как правильно выбрать бензиновую горелку в магазине
Выбор горелки в магазине – это не простое дело, особенно в условиях, когда имеется возможность выбора. Главное – это определить заранее критерии, по которым и будет выбираться горелка, в зависимости от предполагаемых условий ее работы. На что же нужно обращать внимание:
- Лучше выбрать ту модель, у которой имеется разъемное соединение, отделяющее насос от горелки. Это упростит задачу по чистке насоса, если это необходимо.
- В инструкции должно быть указано, насколько быстро можно вскипятить 1 литр воды в стандартных условиях.
- Здесь же должно быть указано, сколько горючего уходит на то, чтобы вскипятить тот же 1 литр воды или указываться расход топлива за единицу времени.
- Если вес имеет принципиальное значение, то на эти данные так же следует обращать внимание. При наличии транспорта это не принципиально.
- Желательно определиться с наличием запасных частей. Любой аппарат рано или поздно выходит из строя, и горелка не является исключением. Если запасных частей для ремонта нет, то, в случае неисправности, ее придется просто выбросить.
- Наличие ветрозащиты – это еще один немаловажный фактор, который может повлиять на процесс выбора.
В некоторых случаях, использование бензиновых горелок может быть оправдано. При этом, не следует забывать, что за подобными устройствами необходимо ухаживать и использовать только качественный бензин.
Еще один фактор, который влияет на выбор газовых горелок – это пожароопасность, что требует постоянного внимания и соблюдения правил пользования. Ведь бензин – это не керосин и его пары способны быстро воспламеняться, а при определенных условиях и взрываться. Поэтому, лучше лишний раз подумать над тем, стоит ли брать с собой в поход бензиновую горелку. При определенных условиях, лучше обеспечить себя сухими ветками деревьев и позаботиться о том, чтобы они, в случай чего, не намокли.
Поскольку бензиновая горелка – это, все-таки опасное устройство, то лучше отдать предпочтение заводским моделям и не заниматься самодеятельностью, что может поставить под угрозу жизнь не только свою, но и членов своей семьи.
Газовая горелка своими руками чертежи. Газовая горелка своими руками. Бензиновая горелка своими руками
Для проведения ремонтных и прочих кровельных работ, подразумевающих под собой расплавление мастик и укладку кровельных материалов, вам понадобится специальная газовая горелка. Устройство используется в основном для выполнения следующих задач:
— нагрев и просушка кровельных материалов;
— резка и пайка металла;
— обжиг слоя старой краски.
Примерное строение газовой горелки
Газовая горелка имеет достаточно простую конструкцию. Она представляет собой стакан, изготовленный из металла и оснащённый форсункой и рукоятью, которая закреплена на корпусе . Для изготовления рукоятки может использоваться жаропрочный пластик или дерево. Газ попадает в корпус, проходя через газопроводный канал. В большинстве случаев для работы горелки применяется пропан под давлением.
Стакан горелки должен иметь форму, которая защищает пламя от задувания ветра.
На корпусе горелки имеется вентиль, позволяющий регулировать длину пламени и интенсивность подаваемого газа . Хорошо, если горелка имеет редуктор, который позволяет экономно расходовать газ.
Составные части горелки для кровли
В процессе сборки прибора механическая обработка практически не используется. Горелка собирается из готовых запчастей. Для её изготовления нам понадобятся:
- Стальной вентиль, который можно взять от баллона, предназначенного для хранения сжиженного газа.
- Заглушка, которая используется для перевозки газовых баллонов.
- Жиклер от паяльной лампы с диаметром сопла 0,8 мм.
- Отрезок трубы длиной один метр с внутренним диаметром 10 мм. и толщиной стали 2 мм.
- Деревянная ручка.
В качестве рукоятки можно использовать ручку от перегоревшего паяльника.
Поэтапный процесс изготовления горелки
Процесс изготовления газовой горелки начинается с того, что подводящую трубку, в качестве которой мы будем использовать стальную трубу, мы вставляем в ручку и закрепляем с помощью клея. Рассекатель и корпус необходимо выточить из латунного прутка, диаметр которого должен составлять 20 мм. В готовом корпусе просверливаются два радиальных отверстия (диаметр каждого – 5 мм.) и четыре отверстия в стержне рассекателя (диаметр каждого – 1 мм.).
При сборке необходимо с небольшим натягом запрессовать рассекатель в корпус. В то же время фланец устанавливается внутрь корпуса обязательно с зазором, то есть внутренний диаметр изготовленного корпуса должен быть больше на 0,6 мм. диаметра проточен. Полученная щель отвечает за торможение газового потока, который подводится к просверленным отверстиям в запальнике.
Такие форсунки стоят в покупных моделях
Чтобы сделать тонкое отверстие в нашей форсунке, необходимо взять сверло диаметром 2 мм. и с его помощью сделать глухое отверстие, которое на 1,5 мм. не доходит до выхода. Сверло с диаметром 0,4 мм. используется для перемычки. Полученное отверстие нужно полностью зачеканить несильными ударами молотка. Затем необходимо подточить торец. Для этого берём шлифовальную бумагу и подтачиваем до тех пор, пока не будет найдено нужное сечение выходного отверстия, то есть до момента, когда форсунку можно будет надеть на наконечник трубки горелки с резьбой.
На конец трубки подачи газа необходимо надеть подводящий шланг, изготовленный из ткане-резинового материала. Закрепляем шланг на трубке хомутом. Выставляем рабочее давление, после чего подаём газ. Подождите, пока весь воздух вытеснится из шланга, и только потом форсунку внесите в пламя газовой конфорки.
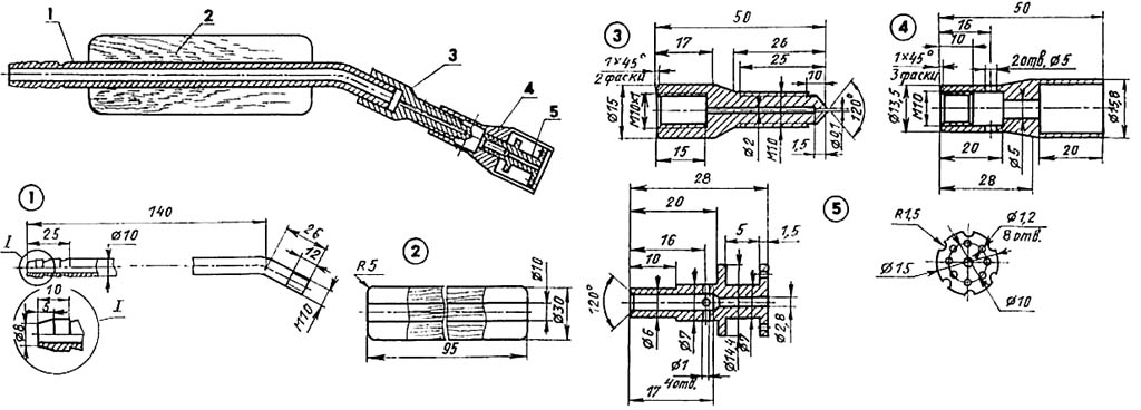
Газовая горелка — это специальное устройство, которое обеспечивает равномерное сгорание газа и позволяет регулировать подачу топлива. Зачастую, не каждый человек может позволить себе подобное устройство, однако газовая горелка своими руками, сделанная из подручных материалов, будет экономичной и практичной альтернативой заводским аналогам.
Основными компонентами изготовления мощных газовых горелок являются промышленные вентили. Они могут быть новыми, однако для самодельного устройства достаточно использовать бывшие в употреблении при отсутствии утечки газа. Предназначены они для работы в паре с 50-литровым газовым баллоном на пропане, имеющим угловой вентиль и редуктор.
Горелка с вентилем ВК-74
Устройство данной горелки изображено на рис. 1. За основу принят вентиль кислородного баллона ВК-74.К выходному концу устанавливается выточенная на токарном станке штуцер-рукоятка, к рифленой части которой подключается шланг от баллона. На часть вентиля с конической резьбой К3/4˝ , которой он соединялся с газовым баллоном, накручивается колпачок с подготовленным отверстием с резьбой для жиклера. Можно использовать готовый вариант паяльной лампы или газовой плиты.
Сопло изготовлено из отрезка стальной трубы 1/4˝ длиной 100 мм и приварено к колпачку на двух отрезках проволоки ∅5 мм. Между колпачком и соплом следует оставить расстояние 15 мм для поступления воздуха в зону горения. Подгибом проволочных держателей регулируют положение сопла, чтобы добиться центрового положения пламени.
Последовательность действий для розжига горелки:
- Откройте вентиль баллона;
- Поднесите зажженную спичку к соплу и медленно открывайте вентиль горелки;
- Контролируйте зажигание газа;
- Регулируйте пламя вентилем горелки
Кстати! Наибольшая температура пламени – в конце зелено-голубой части факела.
Самодельная газовая горелка данной конструкции имеет один недостаток, связанный с особенностью расположения вентиля. Поток газа направлен в противоположную сторону нормальному положению. Сальниковые уплотнители испытывают постоянное давление газа(вт.ч. при закрытом вентиле), поэтому необходимо постоянно следить за герметичностью уплотнителей.
Внимание! Вентиль ВК-74 следует использовать лишь при регулировке пламени. Прекращать подачу газа только на баллоне
Горелка, переделанная из ацетиленового газореза
Если у вас есть ацетиленовый резак с неисправным краником подачи кислорода, не спешите его выбрасывать. Он также сгодится для изготовления горелки(рис 2.). Переделки требует смесительная камера,содержимое которой нужно удалить для снижения веса. Потребуется удалить кислородный ствол и кран. Образовавшееся отверстие запаять твердым припоем. Шланг, идущий от редуктора газового баллона, присоединить к штуцеру с левой резьбой М16 × 1,5.
Накидной гайкой на смесительной камере закрепить самодельный наконечник, согнутый под 45°, чтобы было удобнее работать с горелкой. На резьбу наконечника навернуть фланец с приваренным к нему соплом.
Одним из вариантов исполнения такой горелки является использование колпачка с резьбой М22 × 1,5. Конструкция сопла здесь аналогична соплу вышеописанной горелки. Самодельная газовая горелка готова к работе.
Газовая мини горелка
Мини газовые горелки больше подходят для работы с мелкими деталями. За основу мини горелки берется игла для накачивания мячей. В ней необходимо сделать пропил, чуть дальше середины иглы.Некоторые иглы уже имеют подобное отверстие, что значительно ускоряет процесс работы. Далее нужно взять иглу для шприца, и согнуть ее примерно на 45 градусов посередине.
Конструкция мини газовой горелки
Заостренный конец иглы для шприца лучше всего заточить, чтобы он был прямым. После этого ее нужно вставить в иглу для мяча таким образом, чтобы один ее конец выходил через отверстие, а второй выступал из большой иглы на несколько мм. Получившуюся мини конструкцию следует зафиксировать с помощью припайки. После этого к основаниям двух игл необходимо присоединить капельницы. Зажимы — регуляторы капельниц нужно сдвинуть как можно ближе к иглам. В получившейся горелке они будут выполнять роль регуляторов подачи газа и воздуха. Их тоже нужно скрепить между собой, и делать это лучше всего с помощью термопистолета. Остается лишь подключить к готовому устройству источник сжатого газа, горелка готова к использованию. Такая самодельная газовая горелка может нагревать предметы до 1000 градусов. Работать с ней следует осторожно, соблюдая технику безопасности.
Инфракрасный обогреватель
Использование самодельных газовых горелок может натолкнуть на мысль о собственноручном создании инфракрасного обогревателя. Такие обогреватели созданы для обогревания домов или гаражей, в условиях постоянно растущей цены на газ. Самым простым способом сохранить тепло является использование обыкновенной пищевой фольги. Ее необходимо закрепить на стене позади батарее. Тепловые потоки будут отражаться от алюминиевой поверхности в помещение, что не позволит уйти теплу сквозь стены.
В более сложном варианте можно использовать спираль. Для этого нужно приобрести в магазине спираль накаливания и инфракрасный порт. Делать такое устройство достаточно просто: спираль требуется уложить в металлический блок, который подключается к электросети. К полученной конструкции присоединяется инфракрасный порт. Данное устройство работает на основе способности порта распространять в помещение тепловую информацию, получаемую от горячей спирали.
Для гаражей или иных маленьких нежилых помещениях лучше всего подойдет обогреватель, созданный на основе маленькой жестяной коробки и графитового песка. Такое устройство достаточно компактно, оно не требует много место, при этом прекрасно справляется с поставленными перед ним задачами. Перед началом работы емкость необходимо тщательно промыть и просушить. Она может быть какого угодно диаметра и размера, важно, чтобы она полностью подходила под ваши представления о том, каким должен быть будущий обогреватель.
Графит необходимо перемешать с мелким песком в отношении один к одному и наполовину заполнить коробку. Из листа жести нужно вырезать круг, диаметром подходящий под железную емкость, и прикрепить к его краям выводной провод. Эту конструкцию нужно уложить на смесь песка и гранита, после чего засыпают оставшейся смесью. Далее емкость нужно плотно закрыть крышкой, чтобы искусственным образом создать давление внутри ее. Второй провод корпуса емкости подключается к автомобильному аккумулятору.
Регулировать температуру нагрева такого устройства можно с помощью крышки. При более плотном закручивании температура жестяной коробки будет сильнее. При меньшем он будет терять тепло. Важно не давать такому обогревателю перегреваться. В таких случаях коробочка начнет светиться красным или оранжевым свечением. При перегреве происходит процесс спекания песка, что приводит к потере эффективности работы газовой горелки самодельной. Чтобы ее восстановить, нутро потрясти устройство.
Газовый инфракрасный обогреватель более затратен по материалам, так как требует приобретения небольшой инфракрасной керамической грелки. Лучше всего не покупать большое устройство, так как «питаться» оно будет от маленького пропанового баллона, объемом 1 литр. Кроме этого необходима горелка — насадка со специальным краном. В первую очередь необходимо избавиться от всех форсунок горелки, оставив лишь трубу и кран. На трубу надевается шланг, который должен быть длинной чуть более полуметра. К этому устройству и подключается баллон с газом. Очень важно, чтобы при этом он находился в вертикальном положении, так как перемещение газа идет вверх, а не горизонтально. Такой обогреватель работает в течении двух часов на обычном 200-граммовом баллоне.
Рыбаки часто пользуются подобным приспособлением во время зимней рыбалки в палатке. Запас баллонов с газом позволяет комфортно провести ночь на льду. Кроме того, эта конструкция безопасна, в ней нет открытого огня, который может нанести вред. Керамической плитке достаточно 10 минут до полного разогрева, после чего она начинает активно излучать тепло, нагревая воздух вокруг себя.
Как сделать газовую горелку своими руками? Или обогреватель? Очень просто! Главное знать внутренне устройство данных аппаратов для того, чтобы иметь представление о ее работе. После этого изготовление самодельной конструкции не составит труда. Главное, не забывать про соблюдение технике безопасности при работе с открытым огнем или его источниками.
Главным элементом газового котла является горелка. Именно вокруг нее выставляются все остальные элементы. От устройства узла зависят многие аспекты использования оборудования. Прежде всего это безопасность и экономичность. Поэтому многие хотят сделать своими руками такую газовую горелку для котла, которая будет подходить по всем требованиям хозяев. На первый взгляд это может показаться сложным процессом, но на самом деле это не так.
Виды горелок
Многие считают, что горелка – это просто сопло, посредством которой подается газ. Но это не совсем так. Она также домешивает воздух в горючее. При этом важно учитывать, что изделие должно иметь специальную конструкцию, позволяющую делать смесь устойчивой.
Устройство может быть нескольких видов, в зависимости от способа добавления кислорода в газ:
- атмосферная горелка;
- вентиляторная;
- диффузионно-кинетическая.
Атмосферные
Принцип работы этого компонента прост: газ проходит через эжектор, где его давление понижается. При этом воздух попадает внутрь из-за разных показателей атмосфер.
Эти устройства обладают массой достоинств:
- простая конструкция;
- компактность;
- тихая работа;
- приемлемая стоимость;
- возможность переоборудования твердотопливного котла под это оборудование – горелка просто устанавливается в камеру зольника.
При этом подобные устройства не могут иметь высокую мощность. Дело в том, что за счет своей конструкции атмосферные грелки не могут втянуть большое количество кислорода.
Вентиляторные
В этом виде устройств воздух подается в нужном количестве посредством вентилятора. За счет такой подачи кислорода они обладают массой преимуществ:
- Нет ограничений в мощности – любое количество газа обеспечивается необходимым количеством воздуха, которого нужно для полного сгорания без остатков.
- Камера, в которой проходит реакция, может быть закрытой. Внутрь кислород поступает посредством специального воздуховода. Это позволяет полностью исключить попадание продуктов горения внутрь дома из-за обратной тяги. При этом устанавливать отдельный воздуховод нет необходимости. Для этого используются специальные коаксиальные дымоходы, которые по факту являются трубой, расположенной внутри другой. Дым отводится по внутреннему элементу, а кислород попадает в котел, проходя между внутренними и наружными стенками.
- Участие человека при использовании сводится к минимуму, так как оборудование обладает функцией «умной» настройки.
Этот вид горелок также обладает рядом недостатков:
- По сравнению с атмосферными они работают заметно громче.
- Имеют высокую цену.
- Работают только в паре с электричеством – должны иметь свой источник бесперебойного питания. В противном случае от перепада напряжения они могут выйти из строя.
Диффузионно-кинетические
В основном подобное оборудование встречается в крупных обогревателях промышленного назначения. Принцип работы основан, как на атмосферной, так и на вентиляторной грелке.
Газовая горелка своими руками
Так как конструирование вентиляторного вида требует наличия специального оборудования, рассмотрим создание своими руками газовой горелки в твердотопливный котел. Лучше всего для этого выбрать вентиль от кислородного баллона, стандарта ВК-74. Для этого нужно:
- Выходной патрубок дополнительно оснащается штуцером, который с помощью шланга можно будет подсоединить к реактору.
- На входную сторону патрубка, подключенную к баллону, устанавливается колпачок с небольшим отверстием для соединения с жиклером. Последний можно взять с паяльной лампы или плиты.
- К колпачку приваривается стальная труба длиной в 100 мм и толщиной стенки в 2 мм.
- Обязательно нужно смотреть, чтобы между колпачком и соплом был зазор в 15 мм, через который будет поступать кислород. Именно поэтому к первому необходимо сначала прикрепить три небольших отрезка проволоки (их можно будет потом подогнуть для нужного расположения), а только потом трубу.
- Сама горелка готова. После этого нужно изготовить основание, на котором она будет расположена для установки в камеру горения.
Кроме создания самой горелки, важно также соблюдать и процесс ее поджигания:
- Открывается кран подачи газа на баллоне или магистрали.
- К соплу подносится спичка.
- Открывается основной вентиль.
Важно! Мощность устройства можно регулировать посредством вентиля. Самым горячим является зелено-голубое пламя.
Вся настройка состоит в расположении факела в центре. Для этого держатели из проволоки немного подгибаются.
Особенности использования
Газовые горелки неприхотливы в обслуживании. Главной особенностью является ежегодная чистка. При этом процедуру должны проводить только высококвалифицированные специалисты, так как для этого нужно разбирать котел. Чаще всего чисткой горелок занимается сервисный центр.
Грязь удаляется просто – с помощью сжатого воздуха. При этом важно настроить подходящее давление. Дело в том, что некоторые современные детали могут не выдержать поток в 10 атм.
Чтобы процесс очистки проходил быстрее и требовался реже, на подаче газа ставится специальный фильтр. Это делает мастер после подачи заявки в соответствующую структуру.
Что ж, несмотря на то, что газовая горелка в котле отопления хоть и кажется сложнейшим инженерным узлом, теме не менее ее можно без проблем сделать самому. Для этого нужно подготовить все необходимые материалы и обладать навыками работы с металлом. Кроме того, необходимо иметь несколько единиц специального инструмента.
Модификация отопительного оборудования, а попросту говоря – его улучшение, необходимо для повышения эффективности работы. Обслуживание твердотопливных котлов, постоянный контроль за уровнем дров или угля в топке иногда толкает владельцев на решение нестандартных задач. Если появилась возможность подключения дома к газовой магистрали, но нет желания покупать новый специальный котел – начинают придумывать самодельные устройства нагрева воды отопительного оборудования.
Необходимо сразу оговориться, что любые изделия кустарного производства, предназначенные для систем отопления, должны пройти ряд проверок, а именно:
- Получение сертификата качества.
- Разрешительные документы от госгортехнадзора.
- Проверка конструкции на соответствие параметрам качества и эксплуатации.
Для сбора этой документации потребуется много времени и сил. Поэтому намного выгоднее приобрести заводскую газовую горелку для котла. Но если желание собрать и испытать изделие собственного производства велик, можно сделать газовую горелку своими руками.
Принцип работы газовой горелки
Существует несколько типов горелок, которые могут отличаться конструкцией и принципом работы. Для котлов отопления чаще всего устанавливают следующие виды:
Для самостоятельного изготовления подойдет 1-й тип горелки, так как она намного проще конструктивно и может быть сделана из подручных материалов.
Работа газовой горелки основывается на смешении плотного потока природного газа и атмосферного воздуха. Наглядно принцип работы показан на рисунке:
Для изготовления понадобятся:
- Вентиль от кислородного баллона – он будет выполнять роль основы форсунки. Можно взять распространенный ВК-74.
- Для образования узконаправленной струи газа необходимо изготовить колпачок, который будет накручиваться на вентиль. В нем проделывается отверстие и вставляется жиклер (можно от паяльной лампы).
- Инжектор делают из стальной трубы, толщиной до 2 мм. Его длина приблизительно равна 100 мм. Крепление делается сваренным способом с помощью стальной проволоки. При этом следует соблюдать определенное расстояние между колпаком и соплом для поступления воздуха в зону горения.
- Для активации пламени можно установить пьезоэлемент, либо воспламенять с помощью спички или горящей бумаги.
Газовая атмосферная горелка готова. Далее изготавливается основа, на которую она будет крепиться для монтажа в камеру горения котла. При этом следует учитывать, что отверстие не должно закрываться полностью – через него будет поступать воздух для поддержания процесса горения.
Но можно ли ею пользоваться с тем же комфортом и безопасностью, как и заводской? Чтобы выяснить это, рассмотрим все недостатки конструкции:
- Отсутствие обязательных датчиков. Самым важным из них является контроль пламени. Если по какой-то причине огонь погаснет, а газ будет дальше поступать в сопло – может произойти самовозгорание. Так же необходим датчик контроля тяги в котле, который контролирует приток воздуха.
- Температурный датчик. Он указывает граничные температурные режимы, несоблюдение которых может привести к быстрому выходу из строя не только горелки, но и котла.
- Для настройки работы горелки под давлением газа из центральной магистрали нужен соответствующий опыт и специальное оборудование.
- Отсутствие механизма регулирования давления газа, поступающего в горелку. При перепаде давлении в газовом трубопроводе изменяется мощность пламени, что опять же приводит к возможным поломкам и дефектам.
Но не только конструкция горелки может пострадать от вышеперечисленных факторов – это касается и самого котла. Каждая модель отопительного оборудования рассчитана под определенные условия эксплуатации. Если производитель указывает, что данный может быть адаптирован под работу газовой горелки с принудительной подачей воздуха с параметрами мощности до 30 кВт и с установкой дополнительного вентилятора для создания тяги – значит другие условия могут привести к его поломке.
При желании сделать самодельную горелку для конкретного котла нужно взвесить все «за» и «против». Стоит ли рисковать дорогим оборудованием, своей безопасностью и своих близких?
Самодельная газовая горелка – это устройство, которое имеет целый ряд преимуществ по сравнению с остальными ее аналогами, работающими на бензине и иных видах топлива. Основные преимущества газовых горелок заключаются в следующем: они просты в применении, не издают вредных и неприятных запахов во время использования и не коптят, как, например, бензиновые. К тому же очень компактна, а значит, использовать ее можно практически в любых отраслях хозяйства. В чем же ее особенности и как ее сделать своими руками?
Устройство газовой горелки
Конструкция данного инструмента предполагает наличие следующих основных деталей:
- Редуктора.
- Форсунки.
- Регулятора подачи топлива (в данном случае газа).
- Головки.
- Узла, куда закрепляется
На чем она работает?
Что касается топлива, то газовая горелка зачастую работает на пропане (либо смеси «пропан-бутан»). Им заполняется отдельная емкость (баллон), который, как мы уже отметили выше, крепится на специальный узел.
Сложно ли сделать ее своими руками?
Стоит отметить, что в своей конструкции данный аппарат не имеет каких-либо сложных элементов и деталей. Поэтому делается своими руками очень быстро (как показывает практика, на работу уходит не более 30-40 минут времени), и разобраться в ее конструкции сможет даже начинающий мастер. В случае с бензиновыми устройствами дела будут обстоять не так позитивно.
Область применения и элементы конструкции
Используется она в основном для нагрева и просушки материалов, для резки металлических изделий, в том числе труб, и обжига старой краски. В конструкцию горелки включаются металлический корпус (в него входит также специальный стакан, который не дает ветру задуть пламя), форсунка (для розжига топлива), рукоятка, которая крепится к корпусу (кстати, ее длина должна быть не более 100 сантиметров), держатель (устанавливается на рукоятку и изготавливается из дерева либо жаропрочного пластика), а также газовый шланг. Кроме этого, здесь присутствует редуктор и подводящая трубка с вентилем. Последний регулирует уровень подачи газа и, соответственно, длину пламени тоже.
Как делается мини-газовая горелка своими руками?
Начать можно с самого простого – с рукоятки. Ее можно сделать из дерева, а лучше всего взять готовую от какого-либо перегоревшего паяльника. Подводящую трубку следует изготовить из стали. Особе внимание обращайте на размеры. Оптимальный диаметр трубки должен быть примерно 1 сантиметр. При этом толщина не более 2-2.5 миллиметров. Данную трубку необходимо вставить в ручку и зафиксировать. Сделать это можно при помощи обычного клея.
Корпус
Его мы делаем тоже из стали, а именно из латунного прутка шириной в 2 сантиметра. Из него также можно изготовить и рассекатель. Далее необходимо проделать несколько отверстий. Это нужно для того, чтобы обеспечить нормальную подачу кислорода. В противном случае при малейшем сквозняке пламя горелки потухнет или газ с форсунки попросту не зажжется. Сколько нужно делать отверстий? Их в общем количестве 4, каждое из которых имеет диаметр в 1 миллиметр. Эти отверстия нужно сделать в стержне рассекателя. Кроме этого, просверлите 2 радикальные дыры по 5 миллиметров непосредственно в корпусе. Все это будет способствовать нормальному горению топлива в устройстве, что положительно скажется на скорости и качестве выполняемых работ.
Как дальше делается самодельная газовая горелка? Далее вам необходимо будет запрессовать рассекатель в корпус. При этом внутренний фланец следует устанавливать с небольшим зазором (не менее 0.6 миллиметра). Эта щель будет служить для торможения потока газа, подводящегося к отверстию запальника.
Как сделать форсунку?
Она будет вытачиваться из металлического прутка. Для того чтобы сделать отверстие в форсунке, вам нужно будет применить 2-милиметровое сверло и проделать им глухое отверстие. При этом расстояние до выхода должно составлять не менее полутора миллиметров. Для перемычки примеряем сверло диаметром в 4 мм. Проделанное отверстие зачеканивается молотком, затем подтачивается торец устройства наждачной бумагой. Обрабатывать его нужно до того момента, когда на резьбовой наконечник трубки можно будет навернуть форсунку.
Теперь на конец трубки надевается шланг (он идет от баллона), выполненный из специального резино-тканевого материала. Закрепляется он обычным хомутом при помощи крестовой или минусовой отвертки. Когда выставится рабочее давление, произведите подачу газа и внесите форсунку в пламя газовой конфорки. Делать это нужно только после того, как вещество полностью вытеснило воздух из шланга. Верхнюю часть детали следует подвергнуть шлифовке. Обрабатывать ее нужно до тех пор, пока длина факела горелки не будет составлять порядка 50 миллиметров.
Как собрать все эти элементы воедино?
Корпус вместе с рассекателем следует навернуть на наружную резьбу форсунки. При этом газовая горелка, своими руками изготовленная с учетом всех рекомендаций, должна подавать ровное пламя. Важно следить за тем, чтобы во время сгорания топливо не издавало копоти.
Что делать, если горелка дымит и подает неровное пламя? В таком случае нужно постепенно поворачивать корпус на резьбе форсунки. Делать это необходимо до тех пор, пока газ не будет давать такой характерный дым. Если очень свободное, уплотните его Все, на данном этапе газовая горелка своими руками успешно сконструирована. Теперь можно смело пользоваться ею в хозяйстве.
Несколько слов о порядке работы с инструментом
Чтобы газовая горелка, своими руками сделанная, была безопасной в использовании, перед первым запуском обязательно проверьте ее детали на герметичность, а именно паяльные соединения, места совмещения разъемов и рукавов. После этого откройте вентиль на пол-оборота и подождите, пока устройство не подаст пламя. Здесь процесс розжига происходит автоматически, поэтому дополнительно никаких действий предпринимать не следует. Теперь отрегулируйте уровень и длину подаваемого пламени (делается это при помощи редуктора или того же вентиля) и приступайте к работе.
Итак, мы выяснили, как изготавливается газовая горелка своими руками, узнали ее конструкцию и правила пользования этим устройством.
Газовые горелки для пайки своими руками — Лада мастер
Способы соединения металлов между собой начали появляться тогда, когда люди научились использовать металл в качестве конструкционного материала. Причем пайка, как способ неразъемного соединения, известна еще со времен Вавилона и Древней Греции когда ни о каких технологичных способах соединения, вроде резьбового, а тем более сварки, речи быть не могло. Но сегодня мы не об этом, а о том, что каждый из нас может оказаться на месте жителя древних Афин. Когда есть и газ и даже электричество, а заварить или запаять две металлические детали нет никакой возможности. Не говоря уже об активном прогреве труб или других конструкций для последующей контролируемой деформации.
Содержание:
- Зачем нужна газовая горелка
- Что такое пайка
- Применение горелок для твердой пайки и для пайки латунью
- Пропановая мини газовая горелка
- Форсунка для газовой горелки
Зачем нужна газовая горелка
Мощные газовые горелки используются для сварки чугуна, для газовой сварки металлических деталей и конструкций с неразъемным соединением. Менее мощные газовые горелки применяют для пайки автомобильных радиаторов и трубопроводов топливных систем и тормозных систем, элементов системы охлаждения и отопления. Но самое главное качество, которое отличает газовую горелку от обычного газового пламени — стабильность формы и температуры факела, а также возможность точной регулировки подачи газа и кислорода и возможность реализации газовой горелки с пьезорозжигом.
Регулировка этих параметров поможет установить такую температуру нагрева, которая позволит спаять… Стоп, а что такое пайка и чем она отличается от сварки?
Что такое пайка
Когда мы четко уясним, что такое пайка, тогда и требования к газовой горелке вырисуются сами собой. Пайка в принципе — это процесс термического соединения металлов с использованием связующего элемента, припоя или электрода. Припой должен как можно плотнее проникнуть в структуру соединяемых металлов и после застывания обеспечить максимальную прочность соединения.
Пайка предполагает такие температурные условия, обязательные к выполнению, температура указана в порядке нарастания:
- Температура, при которой работает готовое изделие.
- Температура плавления вспомогательного материала.
- Уровень нагрева при пайке.
- Граница плавления спаиваемых металлов.
Когда это условие выполняется, процесс называется пайкой, а именно в этом случае, чтобы выбрать именно такую температуру, которая плавила бы припой, но балансировала ниже точки плавления основного металла, помогут газовые горелки для пайки Своими руками можно выполнить самые простые конструкции горелок, да и не самые мощные.
Применение горелок для твердой пайки и для пайки латунью
Но даже они позволят выполнить массу работы, которая может пригодится в гараже или в доме. Горелка для пайки медных труб самой простой конструкции, схема которой размещена ниже, позволит выполнить практически все работы, которые связаны с пайкой латунных и медных банок радиаторов, теплообменников, интеркулеров, пайки твердыми припоями. Также без газовой горелки практически невозможно заменить соты в радиаторе или разобрать его для замены сердцевины.
Небольшая газовая горелка для твердой пайки может стать неоценимым помощником и при кузовных работах, когда применение высоких температур противопоказано. К примеру, при реставрации локального повреждения участка кузова, когда прогрев высокими температурами может повлечь за собой коробление крупной плоскости, для запаивания мелких сквозных повреждений латунью, для тонких рихтовочных работ. Кроме кузовных работ, небольшие газовые горелки используются для выпрессовки плотно усаженных обойм подшипников, втулок и прочих деталей в соединениях с натягом, особенно если напрессовываются разные металлы.
Пропановая мини газовая горелка
Несколько схем разных по сложности изготовления и по технологиям выполнения мы привели на страничке. Точность регулировки подачи газа и воздуха могут регулироваться только точными заводскими вентилями, подобранными по размеру горелки. Однако самой важной составляющей такой горелки должна стать форсунка. Она выполняется из латунной трубки. В идеале диаметр сопла не должен превышать 0,1 мм. Просверлить отверстие такого диаметра и точно довольно сложно. Поэтому поступают по-другому.
В торце развальцованной трубки сверлится отверстие минимального возможного диаметра, после чего при помощи молотка для чеканки, диаметр доводится до нужного размера. Заготовка закрепляется в тисках при помощи мягких губок, а молотком наносятся легкие скользящие удары в горизонтальной плоскости до тех пор, пока отверстие не получит минимальный диаметр. После этого форсунка обрабатывается шлифовальной наждачной бумагой, чтобы исключить завихрения и отклонения факела. Доводка форсунки проводится опытным путем.
Форсунка для газовой горелки
Форсунка получилась самая простая и подача газа регулируется только с редуктора баллона. Но если выполнить рассекатель в соответствии с чертежом, представленным выше, регулировка будет более точной и ее можно производить непосредственно на горелке. Горелки с малой мощностью, изготовленные своими руками, неприхотливы к качеству газа, они могут работать как на смеси пропана и бутана, так и на пропане. К тому же такая горелка значительно экономнее промышленных образцов.
Газовая горелка, выполненная своими руками, безусловно, не инструмент первостепенной важности в гараже, но бывают моменты, когда без нее просто не обойтись, а изготовления простейшего приспособления займет совсем немного времени. Удачных всем экспериментов!
Информационный центр изготовителя ножей своими руками: Gas Forge Build 1: Concepts and Burner Tube
По мере того, как производитель ножей прогрессирует, мы, естественно, хотим исследовать новые области. Я интересуюсь изготовлением стали, сваренной по моделям. Для этого нужен горячий и быстрый нагрев. Электрическая печь для термообработки не достаточно быстра для этого, поэтому вам подойдет газовая кузница.ВНИМАНИЕ: я предлагаю эту информацию только в развлекательных целях. Я не несу ответственности за любое использование или неправильное использование этой информации. Этот проект имеет дело с множеством опасностей, включая горючие газы и вещества, которые вы должны понимать и работать с ними на свой страх и риск.Пожалуйста, проконсультируйтесь с квалифицированным газовым установщиком при подключении к СНГ или другим топливным системам.
Типичная газовая кузница «сделай сам» состоит из двух основных частей: корпуса кузницы, имеющего изоляцию и отверстия для помещения в него металла и огня, и горелки (горелок), которые создают тепло, чтобы все происходило.
Корпус кузницы состоит либо из стального цилиндра, облицованного керамической ватой и покрытого защитным огнеупорным цементом, либо из стального каркаса, удерживающего изолированные огнеупорные кирпичи.
Выбранный вами общий дизайн может больше зависеть от доступных материалов. Я купил 5-галлонный воздушный компрессор (см. Кузов кузницы) и получил бесплатное керамическое одеяло у местного оптовика огнеупоров, так что моя сборка будет иметь форму цилиндра.
Цилиндр кузнечного корпуса может быть изготовлен из старого бака с фреоном или из 20-фунтового пропанового бака. Использование этих баллонов сопряжено со своими опасностями и требует осторожного обращения до и во время любых работ с резервуаром. Проведите исследование и поймите опасности.
Я решил, что мне не нужна гигантская кузница для изготовления ножей. Возможно, 16 дюймов в длину на 5 дюймов на 5 дюймов или около 400 кубических дюймов. Типичная горелка 3/4 дюйма с эффективностью нагревает около 300 кубических дюймов, поэтому я использую две горелки. Это поможет выровнять тепло в кузнице, и это позволит мне заблокировать заднюю сторону кузницы для полу кузницы с одной горелкой. Я также хочу иметь возможность использовать кузнечную стойку для плавки алюминия и других сплавов.
Теперь о горелках …
Горелка Вентури
Горелка Вентури состоит из двух основных частей: трубки горелки и газового ускорителя, или того, что некоторые называют горелкой.
Горелочная труба – это внешняя часть горелки, куда впрыскивается сжиженный нефтяной газ, заставляя воздух всасываться и смешиваться с топливом. Конец горелки имеет более широкое отверстие, называемое раструбом или соплом, которое способствует притоку воздуха и стабилизирует горение.
Горелка – это часть, из которой выходит сжиженный нефтяной газ. Газ находится под некоторым низким давлением (обычно менее 20 фунтов на квадратный дюйм) и выходит через очень маленькое отверстие, обычно от 0,025 до 0,060 дюйма.
Несколько популярных дизайнов показаны ниже.(Обратите внимание, что некоторые детали были оставлены, чтобы мы могли лучше видеть, как работают эти горелки.)
Горелка Sidearm использует редукционный тройник, где газ впрыскивается в редуктор, а воздух втягивается (увлекается) из бокового отверстия тройника. . Воздушный дроссель можно сделать, закрыв боковое отверстие металлическим диском, закрепленным винтом.
В оригинальной горелкеРона Рейла через колпаковый редуктор используется закрытая труба с очень маленьким отверстием. LPG выливается из крошечного отверстия в трубу.Воздух всасывается из-за поперечной трубы и смешивается с топливом в трубе, где он выходит, сгорая на конце трубы.
Обе эти конструкции очень популярны среди домашних мастеров, поскольку детали легко поддаются приобретите, и они доказали, что делают эффективную горелку.
Обратите внимание на некоторые интересные вещи о сжигании сжиженного нефтяного газа.
- СНГ представляет собой смесь пропана и бутана.
- LPG требует правильного сжигания кислорода в 5 раз больше объема кислорода.
- Атмосферный воздух содержит около 20% кислорода.
- Таким образом, для правильного сжигания сжиженного нефтяного газа требуется почти в 30 раз больше объема воздуха.
- Жидкость в резервуаре закипает, а пар сгорает
- Скорость кипения зависит от площади резервуара и температуры окружающей среды.
Вы можете видеть, что воздуха требуется в 100 раз больше, и поэтому большинство горелок имеют большие воздухозаборники. Это можно уменьшить, добавив воздух через воздуходувку или компрессор, но это требует дополнительного оборудования и увеличивает сложность.
Горелочная трубка
Моя горелка не совсем похожа на дизайн Sidearm или Reil.Это больше похоже на дизайн Майкла Портера и дизайн Рона Рейла. Примечание: для большинства изображений я показываю изготовление только одной трубки горелки. Фактически я делаю два. Чтобы обеспечить правильное выравнивание трубки подачи газа внутри я сделал приспособление. Я вырезал заглушку из 2×4 кольцевой пилой диаметром 1-3 / 4 дюйма.Вот и заглушка. Сняв с кольцевой пилы, я просверлил отверстие немного больше до 27/64 дюйма. Ниппель длиной 1/8 дюйма NPT должен плотно входить в это отверстие.
Я разрезал сосок размером 1-1 / 2 на 3 дюйма пополам.На рисунке показаны две детали длиной примерно 1-1 / 2 дюйма. Я снял заусенцы с обрезанных концов и зашлифовал их изнутри, чтобы сделать их более гладкими. Для зажимной трубки я сделал отметки на трубе сортамент 40 диаметром 3/8 дюйма. Эти отметки находятся на расстоянии 1/2 дюйма друг от друга. Я просверлил и нарезал резьбой первую и третью отметку для винта 10-32. У меня есть установочные винты 10-32. Они подходят для удержания резака на месте.
Отверстия нарезаны. Теперь перережем вторую и четвертую отметки, чтобы сделать две секции размером 1 дюйм. Конечно, без заусенцев.
Это мой макет кронштейна.На нем есть небольшая выемка, помогающая расположить его для сварки. Я нарисовал это на куске стали 1/8 дюйма. Это приближение кронштейна резака, сделанного из мягкой стали 1/8 дюйма. Вырезание кронштейна на ленточной пиле.
Сформировал кривые немного лучше на болгарке и подправил выемку напильником. Используя дешевое сверло 27/64 дюйма, деревянную заглушку и гайку, трубку выровняют и подготовят к сварке. Если заглушка не идеально подходит к центру ниппеля, некоторые 0,02-дюймовые прокладки или обертки из фольги будут помочь удержать его на месте.
После сварки можно привести в порядок поверхности дисковой болгаркой. Теперь самое интересное. Подобно перфорации и полировке головки двигателя, сделайте поверхности гладкими и попытайтесь увеличить поток воздуха, где это возможно. Я использовал шлифовальный станок и различные абразивные насадки, чтобы придать форму кронштейну и скруглить зажимную трубку.
Форма немного улучшена для улучшения воздушного потока.
Это вид внутри ниппеля, показывающий скобу и зажим. Для факела у меня есть труба из нержавеющей стали сортамента 40 диаметром 1 дюйм (металл. Супермаркет), которая идеально скользит по очищенной трубе диаметром 3/4 дюйма.
Просверлите и постучите до 10-32 на 3/4 дюйма от конца, на 120 ° друг от друга по окружности. Это позволит нам сдвинуть раструб на ниппель и зафиксировать его на месте во время настройки. Возможно, вам удастся обойтись двумя установите винты на 180 °.
Разрежьте черный железный ниппель размером 3/4 “x 18” пополам. Каждая деталь будет очень близка к 9 “. Удалите заусенцы с каждого конца и очистите отверстие круглым напильником. Я отшлифовал свой для блеска, но это необязательно.
На фотографии показана 1/2 18-дюймового соска.
Наверните переходник на резьбу.
Это трубка горелки, готовая к установке газового ускорителя / горелки.
Купить Комплекты и аксессуары для уличных горелок
Купить комплекты горелки для костровой ямы – Создание собственной костровой ямы может быть очень приятным занятием, и заказ комплекта для костра своими руками в HVACDirect.com может быть экономичной идеей, которая упростит ваш бюджет на реконструкцию, чем вы когда-либо думали.
Мы предлагаем почти сотню комплектов горелок, стопки дров и аксессуары для кастрюль, которые сделают вашу костровую яму непохожей на все, что вы или ваши гости когда-либо видели раньше. В нашем инвентаре представлены лучшие производители в отрасли, а наш обслуживающий персонал не имеет себе равных.
Загрузка, пожалуйста подождите…Модель: PENTA43EI
Низкая цена: 3714 долларов.59
БЕСПЛАТНАЯ ДОСТАВКА
Добавить в корзинуМодель: CFP-20-K
Низкая цена: 473,99 $
БЕСПЛАТНАЯ ДОСТАВКА
Добавить в корзинуМодель: PENTA19 MLFPK-FLEX
Низкая цена: 606,54 $
БЕСПЛАТНАЯ ДОСТАВКА
Добавить в корзинуМодель: FPPK72-TRGH-FLEX
Низкая цена: 1956,35 $
БЕСПЛАТНАЯ ДОСТАВКА
Добавить в корзинуМодель: PENTA18 MLFPK-FLEX
Низкая цена: 453 доллара.31 год
БЕСПЛАТНАЯ ДОСТАВКА
Добавить в корзинуМодель: ID-26453-LOF-36LTTMSI-N
Модель: CF-1224
Низкая цена: 568,99 $
БЕСПЛАТНАЯ ДОСТАВКА
Добавить в корзинуМодель: PENTA31EI
Низкая цена: 2824,25 $
БЕСПЛАТНАЯ ДОСТАВКА
Добавить в корзинуМодель: PENTA54EI
Низкая цена: 4098 долларов.49
БЕСПЛАТНАЯ ДОСТАВКА
Добавить в корзинуМодель: FPS24
Низкая цена: 310,42 $
Добавить в корзину
Модель: 36SSEI-TRGH
Низкая цена: 2701,71 $
БЕСПЛАТНАЯ ДОСТАВКА
Добавить в корзинуМодель: 48SSEI-TRGH
Низкая цена: 3106,07 $
БЕСПЛАТНАЯ ДОСТАВКА
Добавить в корзинуМодель: Penta24-MLFPK-Flex
Низкая цена: 582 доллара.01
БЕСПЛАТНАЯ ДОСТАВКА
Добавить в корзинуМодель: FPB-34DBSAWS-N
Низкая цена: 3105,99 $
Добавить в корзину
Модель: FG-H-48SSK
Низкая цена: 193,59 $
Добавить в корзину
Модель: FG-FR-24SSK
Низкая цена: 248,59 $
Добавить в корзину
Модель: CFP2424
Низкая цена: 758 долларов.99
БЕСПЛАТНАЯ ДОСТАВКА
Добавить в корзину
КОМПЛЕКТЫ ГОРЕЛКИ
Комплекты горелокбывают разных размеров, стилей и форм, с соединителями из нержавеющей стали, оборудованием, устройствами управления и хромированными отражателями. Некоторые модели включают штабеля бревен для придания удивительного реализма.
Наши комплекты газовых горелок включают опции как на пропане, так и на природном газе, так что вы можете выбрать правильную горелку для своей установки. Многие из них имеют электронное зажигание, а некоторые – спички, но у всех есть газовые регуляторы, позволяющие добиться нужной интенсивности пламени.
СТЕК ЖУРНАЛОВ
Кроме того факта, что журналы никогда не сгорают, вам будет трудно сказать, что они не настоящие. Стопки бревен с лавовым камнем на дне выглядят как идеальные костры.
HVACDirect.com поставляет рабочие части, а вы предоставляете конструкцию, которая станет совершенно уникальной точкой фокусировки для вашего внутреннего дворика, заднего двора или жилой зоны на открытом воздухе. Позвоните одному из наших представителей по обслуживанию клиентов, чтобы получить рекомендации не только по выбору продукта, но и по вопросам ресурсов, которые помогут вам со сборкой.
Почему покупать у нас?
Удовлетворенность клиентов
Наш преданный своему делу персонал усердно работает над тем, чтобы все заказы выполнялись быстро и эффективно, чтобы гарантировать, что вы получите то, что заказали, как можно быстрее.
Безопасность
Мы обеспечиваем безопасные покупки в Интернете, чтобы защитить вашу информацию. Мы также предоставляем возможность оплаты через PayPal, чтобы вы могли использовать уже знакомую вам службу оформления заказа.
Сэкономьте
Мы предлагаем вам отличные цены, чтобы вы могли сэкономить деньги на более важные дела в своей жизни.
Маленькая печь Woodgas из жестяных банок работает, но не так хорошо, как большая.
В моем первом опыте я сделал дровяную печь, которая была довольно большой. Это сработало довольно блестяще, и я легко могу представить себя использующим его в походе. Она довольно большая, и мне было интересно, смогу ли я сделать небольшую дровяную печь из жестяных банок, которая также работала бы.
Изготовление небольшой дровяной газовой плиты
Я проделал почти такую же процедуру для маленькой дровяной печи, что и для большой
Я выбрал 2 банки, чтобы меньшая хорошо поместилась в большую, примерно на четверть дюйма по всему периметру.
Я отметил диаметр меньшей банки на дне большей. Она шла по гребню, поэтому ее было легко отметить. Затем я сделал круг поменьше внутри первого. Я тоже пошел по гребню.
С помощью универсального ножа я вырезал меньший кружок. Я носил очки, потому что раньше у меня ломалось лезвие ножа.
С помощью ножниц я вырезал выступы по всей большой банке между маленьким отверстием и отмеченным большим кружком. Банку легче защелкнуть, если выступы будут вырезаны немного дальше отмеченного круга, который является окружностью маленькой банки.
Большим гвоздем я проделал много отверстий в нижней части маленькой банки. Чем больше отверстия, тем лучше. Думаю, на картинке они слишком маленькие. Вокруг верхнего края большой банки также проделаны отверстия (на самом деле они будут внизу готовой печи).
Вот отверстия в верхней части меньшей банки. Здесь будут формироваться струи.
ПРИМЕЧАНИЕ. После первого теста я вернулся и сделал отверстия намного больше. Это никак не повлияло на то, насколько хорошо горит печь.
У большей банки есть выступы, и я начал их загибать назад. Я согнул большую часть назад, но оставил 4 выступа только частично согнутыми, чтобы лучше удерживать меньшую банку на месте.
Меньшая банка плотно прилегает к дну большой банки в сборке дровяной печи.
После того, как меньшая банка была вставлена, я вкрутил 3 винта, которые будут удерживать горшок. Теперь я готов испытать свою небольшую дровяную походную печь.
Тестирование газовой плиты меньшего размера на дровах
Я вырезал варежку из дерева и расколол ее, чтобы она легко светилась.Некоторые детали имеют диаметр около полдюйма, а другие – толщиной со спичку. 34 грамма дерева и около грамма бумаги были упакованы в дровяную печь
Отмерено 500 мл довольно холодной воды и помещено в небольшую кастрюлю с крышкой.
Затем я зажег лист бумаги и поставил дровяную печь поверх горящей бумаги. Мне пришлось повторить это пару раз, прежде чем загорелась бумага в банке. Я подложил спички под край печи, чтобы воздух доходил до дна, но это не имело никакого значения.Думаю, воздуха было достаточно. У меня были проблемы с зажиганием. Большая дровяная печь освещалась намного лучше. Некоторые люди носят с собой небольшую бутылочку со спиртом, которая помогает зажечь плиту.
После нескольких попыток зажечь дровяную печь, она наконец начала гореть. Горение было не таким сильным, как у большой печи, но возник эффект струи, и к этому моменту струи были хорошо установлены, и печь работала достаточно хорошо.
Через 6 минут я проверил воду, она чуть не закипела.Печь активно горела около 6 из 7 минут, когда было видно пламя. На формирование реактивных двигателей ушло около минуты. Когда пламя утихло, я заглянул внутрь и нашел на дне светящийся уголь.
Древесина не полностью сгорела, остался древесный уголь. Большая печь Woodgas полностью сгорела, осталось лишь немного золы. Нижние отверстия не были заблокированы, поэтому воздух был доступен. Мне интересно, означал ли небольшой размер печи, что она не способна производить достаточно тепла для продолжения работы.Сейчас температура чуть ниже нуля, и более крупная печь была протестирована в конце весны, когда было теплее. Также был небольшой ветер, который оказал большее влияние, чем на большую печь.
У меня мог бы быть ветрозащитный экран, и это помогло бы. В обоих моих тестах на дровяной печи я использовал довольно холодную воду из-под крана. Я думаю, что температура была примерно такой же.
Выводы по меньшему эксперименту с дровяной печью
Печь меньшего размера работала, но не так хорошо, как плита большего размера.
- Зажигать было труднее, даже несмотря на то, что древесина была очень сухой, и ее раскололи меньше.
- Как только древесина загорелась, появился эффект струи, и она довольно хорошо нагрелась
- Меньшая печь была более чувствительна к небольшому ветру. Ветрозащитный экран был бы полезен.
- Очень холодная вода почти закипела через 6 минут, вероятно, закипела до того, как погасло пламя. Таким образом, из 35 граммов топлива за 7 минут вскипело 500 мил воды.
- Дровяная печь погасла раньше, чем было израсходовано все топливо. Осталось немного древесного угля.
- Я считаю, что печь меньшего размера не так проста в использовании и более чувствительна к температуре воздуха и ветру.У меня, возможно, был бы лучший результат с более крупными отверстиями на дне меньшей банки (ПРИМЕЧАНИЕ: я попробовал это позже, и это не имело особого значения). Я не мог добавить намного больше топлива на старте, так что мощность на самом деле не так удобна. Дровяная печь работала и кипятила воду, но пользоваться ею было труднее.
- У некоторых из наиболее успешных печей меньшего размера есть маленькие воздуходувки, нагнетающие воздух в печь. Вот одна конструкция газовой плиты с воздуходувкой. Вот инструкция для другой печи Печь PDF файл с инструкциями
Вот ссылки на некоторые коммерчески успешные дровяные печи.
Вернуться к моей более крупной и успешной дровяной печи
Ссылки на [ГЛАВНУЮ] [ИЗГОТОВЛЕНИЕ БРИКЕТОВ ИЗ БИОМАССЫ] [ЭКСПЕРИМЕНТ НА СОЛНЕЧНОЙ ПЕЧИ]
емейлов: Кристина
Этот веб-сайт отражает мои личные идеи и не отражает чью-либо точку зрения.
Наука о варочных поверхностях – статья
Навыки играют важную роль в приготовлении пищи, но это не единственное, что делает хорошего повара. Выбранные вами ингредиенты, рецепты, которым вы следуете, а также кастрюли и сковороды, которые вы используете, также влияют на вашу готовку, и они всегда могут отличаться.Но как насчет одной постоянной составляющей на вашей кухне – варочной панели? Давайте рассмотрим три наиболее распространенных технологии варочных панелей – газовую, электрическую и индукционную, – чтобы увидеть, как они работают, а также плюсы и минусы каждой из них.
Под капотом: Просмотрите нашу инфографику, чтобы увидеть, как работают двухтопливные плиты, конвекционные печи и индукционные варочные панели.
Как работают газовые варочные панели?
Горелка газовой плиты состоит из узла горелки, прикрепленного к небольшому газовому клапану, который подключен к основной газовой линии.Когда вы поворачиваете ручку, впускной клапан открывается, и газ проходит через трубку Вентури, широкую трубку, сужающуюся посередине. Газ поступает через один из широких концов, и по мере прохождения в суженную часть его давление увеличивается. В секции, где труба снова расширяется, есть небольшое отверстие для воздуха, и когда газ движется в эту секцию, давление сбрасывается, всасывая кислород в отверстие для воздуха. Кислород смешивается с газом, что делает его горючим. Затем кислородно-газовая смесь поступает в горелку.
Горелка – это просто полый металлический диск с пробитыми по периметру отверстиями. Газовая пилотная лампа или электрическая пилотная лампа находится сбоку от горелки и посылает небольшое пламя или искру для воспламенения кислородно-газовой смеси, когда она течет через отверстия в горелке. Поворачивая ручку на более высокую ступень нагрева, вы увеличиваете поток газа и воздуха, и пламя становится больше.
Газовые горелки могут работать как на природном газе, так и на пропане. Оба являются углеводородным топливом, и из-за содержания в них водорода газовое пламя кажется голубым.Желтое или оранжевое пламя указывает на избыток кислорода и немного более низкую температуру. Оранжевый цвет получается из-за несгоревшего углерода. Естественно, что концы пламени газовой горелки выглядят желто-оранжевыми там, где пламя холоднее, но если все пламя желтое, соотношение газа и кислорода слишком низкое, и газовая горелка или впускной клапан могут быть забиты и нуждаются в чистке. Красное пламя еще холоднее и обычно вызывает появление сажи (несгоревшего углерода) на дне кастрюль.
Pros Газовые горелки могут мгновенно изменять температуру, переходя от высокой к низкой температуре с поворотом ручки.Газ также является единственной технологией для варочных панелей, которая обеспечивает легко контролируемое открытое пламя для жарки перца, подрумянивания лепешек или жарки в традиционном воке с закругленным дном.
Cons Газ – наименее эффективный источник топлива при передаче тепла; до 60 процентов тепла, выделяемого газовой горелкой, может уходить в воздух, а не в сковороду. Кроме того, не все коммунальные предприятия поставляют природный газ, хотя вы можете регулярно доставлять пропан в резервуар на вашем участке.По объему пропан содержит примерно в 2-1 / 2 раза больше полезной энергии, чем природный газ, поэтому для производства того же количества тепла, что и природного газа, требуется меньше пропана. Но поскольку пропан течет под другим давлением, вы не можете использовать его с варочной панелью, работающей на природном газе, если вы не переоборудовали варочную панель для использования пропана. Преобразование варочной панели снизит ее выходную мощность в БТЕ (единица измерения энергосодержания газа), а плохое преобразование или установка также могут снизить ее.
Как работают электрические варочные панели?
Электрические горелкиобычно имеют катушечный тип: сплющенная спираль из электрического провода в металлической оболочке, которая нагревается при включении ручки управления, заставляя электричество течь в провод.Вы можете увидеть интенсивность электрического потока в свечении горелки. (Электрические конфорки европейского типа построены аналогично, за исключением того, что провод встроен в твердый металлический диск.) В электрической варочной панели с гладким верхом змеевики размещены под одним листом закаленного стеклокерамического материала, который покрывает варочную панель. Электрические катушки нагреваются таким же образом, излучая тепло в стекло, которое излучает его в кастрюли и сковороды. Галогенные электрические варочные панели похожи, за исключением того, что нагревательные элементы представляют собой кольца галогенных ламп под стеклом, а не электрические катушки.
Плюсы Электрические конфорки плоские, поэтому тепло от конфорки – будь то змеевик или гладкий верх – контактирует с дном сковороды. Следовательно, он проводит большую часть своей энергии (около 75 процентов) непосредственно в кастрюлю, а не излучает ее в воздух, как это могло бы сделать газовое пламя. Гладкие верхние части и герметичные горелки европейского типа также имеют то преимущество, что их легко чистить. Еще один плюс гладких стеклокерамических варочных панелей: они не так сильно нагреваются, как кастрюли и сковороды, поэтому меньше риск получить ожог о плиту, а пролитая жидкость с меньшей вероятностью пригорит на поверхности варочной панели.
Минусы Плохой контроль нагрева – самый большой удар по электрическим варочным панелям; просто нагревательные элементы реагируют медленнее, чем на газовых или индукционных плитах (подробнее об этом через минуту). Чтобы преодолеть этот недостаток, вы можете настроить две конфорки на разную температуру, если знаете, что вам понадобится мгновенное управление. Например, доведите рис до кипения на сильном огне на одной конфорке, а когда вы хотите сразу уменьшить огонь до кипения, просто переместите сковороду на вторую конфорку на более низком огне.
Есть еще пара недостатков, присущих гладкой вершине. Стеклокерамическая поверхность плохо проводит тепло, поэтому она передает тепло к сковороде медленнее, чем электрические плиты с металлическим верхом. Кроме того, стеклокерамические варочные панели легко царапаются, поэтому, если вы имеете привычку сдвигать и трясти сковороды на конфорках, вам придется изменить свой подход при работе с гладкой плитой, если вы хотите, чтобы она выглядела хорошо. .
Как работают индукционные варочные панели?
При использовании индукционной технологии тепло генерируется в самой посуде, а не в нагревательном элементе.Индукционные варочные панели питаются от электричества, но «элемент», который находится под керамической или стеклянной поверхностью, действует как мощный магнит, который генерирует магнитное поле. Когда вы помещаете в это поле большой кусок магнитного металла, например чугунную сковороду, электроны в сковороде пытаются выровняться с магнитом на варочной панели. Но магнит на варочной панели меняет свои полюса, заставляя электроны сковороды двигаться с такой скоростью, что электрический ток заставляет сковороду генерировать тепло, что происходит очень быстро.Вы контролируете количество тепла, выделяемого на сковороде, с помощью ручки на варочной панели, которая увеличивает или уменьшает силу магнитного поля.
Pros Индукционные варочные панели обеспечивают мгновенный и точный контроль нагрева даже при очень низких температурах. И, в отличие от газа, индукция чрезвычайно эффективна. Поскольку тепло генерируется в самой сковороде, большая часть его (около 85 процентов) остается в сковороде, готовя пищу немного быстрее, чем газовые горелки, и намного быстрее, чем электрические.Если вы новичок в индукции, вы можете обнаружить, что кастрюли закипают раньше, так что внимательно следите. Относительно мало тепла теряется в воздухе, а это означает, что индукционные плиты не нагревают кухню, как газовые или электрические, что является преимуществом в летнее время или в многолюдной кухне. Кроме того, сама варочная панель остается прохладной, что является приятным бонусом к безопасности. Если вы положите магнитную посуду на половину индукционного элемента, другая половина останется холодной на ощупь.
Минусы И это подводит нас к самому большому недостатку индукции: вы должны использовать посуду с высоким содержанием железа.Сюда входят чугун – с эмалью или без – и нержавеющая сталь с высоким содержанием железа. Чистая медь, алюминий, стекло, фаянс, керамика и посуда из нержавеющей стали с низким содержанием железа не подойдут. (Чтобы проверить свою посуду, поднесите магнит ко дну. Если магнит заедает, посуда будет работать на индукционной плите.) Кроме того, сковорода должна непосредственно контактировать с варочной панелью на индукционном блоке, поэтому сотейники с плоским дном и вок, но не вок с закругленным дном или старая покоробленная посуда.
Еще один потенциальный недостаток индукционной варочной панели заключается в том, что ее нельзя использовать для жарки перца или тостов из лепешек.Кроме того, варочная панель может поцарапаться от сильного встряхивания сковороды. А некоторая посуда низкого качества с незакрепленными ручками, легкими крышками, неровным дном или плохо плакированным слоем металла может так сильно вибрировать в высокочастотных колебаниях магнитного поля варочной панели, что фактически создает шум.
Как почистить горелки газовой плиты
Когда дело доходит до приготовления еды, газовые плиты имеют некоторые преимущества перед электрическими варочными панелями.Опытным поварам нравится точное управление, обеспечиваемое плитами с газовой плитой, а некоторые повара отказываются готовить на чем-либо еще. Но газовые плиты теряют свою эффективность, когда отверстия на горелках забиваются и мешают потоку газа. Засоренная газовая горелка будет давать слабое пламя или, в некоторых случаях, его полное отсутствие, если горелка сильно загрязнена. К счастью, очистить газовые горелки довольно просто.
Как работают газовые горелки
Горелки на вашей газовой плите состоят из узла горелки, прикрепленного к небольшому впускному газовому клапану на передней или верхней части плиты, который, в свою очередь, подключен к основной газовой линии.Поворот ручки управления горелкой открывает впускной клапан, позволяя газу проходить через трубку Вентури – широкую трубку, сужающуюся в центре. Газ входит в трубку Вентури через один из широких концов, и его давление увеличивается по мере прохождения через узкую часть трубки. Когда газ возвращается во вторую широкую секцию трубки, давление уменьшается, втягивая воздух через небольшое отверстие в дне трубки. Воздух смешивается с газом и попадает в горелку.
Сама горелочная головка представляет собой полый металлический диск с отверстиями или прорезями на внешнем крае.Многие горелки имеют металлическую или керамическую крышку, которая находится на головке горелки, которая рассеивает и направляет пламя, выходящее из головки горелки. Стоячая запальная лампа (на старых печах) или электрическая запальная лампа расположена на одной стороне горелки, и она посылает небольшое пламя или искру для воспламенения воздушно-газовой смеси, когда она течет через отверстия в горелке. Регулировка ручки управления регулирует объем газовоздушной смеси, тем самым регулируя интенсивность пламени.
Как часто чистить газовые горелки вашей плиты
Система на удивление проста и безотказна.Трудности возникают только тогда, когда поток газа становится затрудненным, что чаще всего возникает, когда остатки пищи проливаются через стенки кастрюль и сковородок и забивают отверстия по периметру головок горелок. Оставленные без присмотра, эти остатки пищи могут стать довольно твердыми, и их будет трудно удалить. Лучшее практическое правило – чистить газовые горелки всякий раз, когда пламя становится неравномерным или приобретает желтый цвет. В противном случае, вероятно, будет достаточно чистить горелки один раз в месяц. Есть некоторые различия в том, как производители рекомендуют чистить головки горелок на газовой плите, но следующие материалы подойдут для большинства печей.
20 Проектов самодельных дровяных печей
Дровяные печи намного эффективнее сжигают дрова. Кроме того, они выделяют гораздо больше тепла. Из этой статьи вы узнаете, как построить переносную дровяную печь для дома. Это пара проектов на выбор.
Мы перечислили 20 проектов самодельных дровяных печей, которые выглядят потрясающе и легко в исполнении. Все дровяные печи, перечисленные в этой статье, вполне доступны по цене. Вы готовы сделать дровяную печь? Хорошо, приступим.
1. Дровяная печь своими руками
Возможно, вы не являетесь опытным слесарем или кузнецом, но если вы будете следовать этому руководству, результат будет успешным. Некоторые простые материалы, которые вам понадобятся для этой работы, – это лист мягкой стали толщиной 3 мм, и он не должен быть толще 6 мм.
Вам также понадобятся инструменты для работы, угловая шлифовальная машина, наждачная или газовая бумага, большой плоский напильник и т. Д. Возможно, у вас нет промышленного оборудования для резки металла, которое бы выполняло работу быстрее и эффективнее, но вы можете импровизировать с напильником.
Щелкните для получения дополнительной информации
2. Дровяная печь, сделанная своими руками из металлолома
Если у вас есть металлолом, который вы собираетесь выбросить, сейчас самое время найти им хорошее применение. Вы можете построить дровяную печь из этих обрезков, и она будет готовить для вас и согревать вас в холодные дни.
Вы потратите всего около 20 долларов на переработку отходов, которые у вас есть, другие материалы, которые вам нужно обработать, – это сварочный аппарат для сварки электрода, краска для печи и диски шлифовального станка.В этом руководстве вы будете использовать пустой газовый баллон; если у вас есть другой металлолом цилиндрической формы, он тоже может сработать. Весь процесс прост и выполним, требуется время и терпение, чтобы получить правильную отделку.
Щелкните для получения дополнительной информации
3. Как построить дровяную печь в виде бочки
Для дровяной печи в виде бочки вам понадобится бочка, краска для барбекю, комплект для печи, чугунные ворота, но это необязательно и комплект плиты печи бочонка, также опционный. Во-первых, ваш ствол должен быть чистым и не иметь отверстий на корпусе, потому что вы будете создавать отверстия, в которых вы сможете контролировать нагрев.
Очень важно иметь прочный очаг. Если ствол, который у вас есть, не достаточно толстый, чтобы выдерживать тепло, если металл у вас тонкий, вам понадобится прочный очаг, чтобы выдержать количество тепла, в которое вы входите. Построить очаг непросто, но очень возможно.
Щелкните для получения более подробной информации.
4. Как построить небольшую дровяную печь. гид – ваш лучший выбор.Вам нужно достать небольшой старый пропановый баллон / баллон и превратить его в небольшую дровяную печь. Перед тем, как вы начнете использовать какой-либо небольшой баллон с пропаном, если он у вас есть, вам необходимо перекрыть клапан и убедиться, что каждая молекула газа пропана находится вне этого баллона, как газ пропан, независимо от того, насколько маленький он все еще может быть воспламеняющимся. Материалы, которые вам понадобятся, могут стоить вам около 20 долларов, если у вас их еще нет, это обычная ручная пила, молоток, рулетка, малярная лента и болото.
5. Дровяная печь своими руками из обода автомобиля
Ищете лучший материал, который можно использовать для постройки дровяной печи? Затем позвольте мне познакомить вас с этим методом обода автомобиля. Вам потребуются диски на 4 автомобиля одинакового размера, крышка люка, рамы и чугун. Возьмите ручную циркулярную пилу, молоток, долото, сварочный аппарат, и ваша дровяная печь будет готова через несколько часов.
6. Мини-дровяная печь DIY
Это хороший способ создать мини-дровяную печь без необходимости резать металл и сваривать утюг.Вам понадобится черный цемент, песок, вода, пенополистирол, железо и ведро. Также вам понадобится дежурный комплект печки. Вы построите печь из цемента, измерите размер печи с помощью небольшого ведра и создадите свою мини-дровяную печь.
7. DIY Smart Wood Stove
Смешайте цемент, возьмите ведра, чугун, пенополистирол и все остальные предметы и следуйте инструкциям по созданию этого, просто дайте ему несколько часов на цемент затвердеть, получится отличная умная дровяная печь.Его легко носить с собой благодаря чугунной ручке, которая будет прикреплена к цементной форме до того, как она сильно высохнет.
8. Дровяная печь своими руками
Это хорошая дровяная печь шириной 6 дюймов, высотой 6 дюймов и глубиной 8 футов. Это небольшой портативный компьютер, который можно разместить даже на столе. Сама печь сделана из ящика из мягкой стали толщиной от 3 до 8 дюймов. Еще одна пластина из мягкой стали была добавлена на верх стального ящика толщиной дюйма. Использовались винты с потайной головкой 6-32, что даже делает его прочным и долговечным.
Щелкните для получения более подробной информации
9. Дровяная печь Pyramid DIY
Это красивая дровяная печь в форме пирамиды, которая отлично подходит для использования на открытом воздухе, в походе или на рыбалке с семьей. Этот проект займет у вас день или больше, если вы не специалист по металлу. Вам нужно разрезать металлические листы в форме треугольника, и вам, возможно, придется найти компанию по резке металла, если у вас нет средств, чтобы разрезать их.
Щелкните для получения более подробной информации
10.Как сделать дровяную печь
Это может стоить вам денег, но отделка того стоит. Вам понадобится канистра для столового серебра, которую можно найти в Walmart примерно за 10 долларов, дымовая труба, инструмент Dremel, С-образные зажимы и другие стальные трубы и листы, которые будут использоваться для ножек канистры для столового серебра.
Щелкните для получения дополнительной информации
11. Как построить деревянную печь
Деревянная печь из металлических листов с дымоходом – именно то, что вам нужно, если нет, вы можете попробовать другие руководства, чтобы найти правильный гид, который может помочь.Для этого проекта вам понадобятся несколько металлических труб, прочная железная цепь, круглый кусок стали толщиной с грубым покрытием, способный выдерживать тепло, и целый день для работы.
Щелкните для получения более подробной информации
12. Дровяная печь своими руками
Когда у вас есть готовые материалы, можно начинать. Во-первых, вам понадобятся кирпичи, черный цемент, вода, широкое ведро, глина, мастерок для цемента, плоский мешок для мешков, колено для железной трубы и набросок того, как будет выглядеть печь на дровах, просто то, с чем можно работать.Это просто, легко и требует меньше времени на сборку.
13. Дровяная печь для бездымного дома
В отличие от некоторых дровяных печей, она не содержит дыма и проста в сборке. Два основных ингредиента – цемент, кирпичи и глина. Это займет у вас 24 часа, чтобы цемент затвердел и достаточно затвердел. Чтобы в нем не было дыма, вам понадобится толстое стальное колено и труба длиной от 6 до 10 футов, которая будет служить дымоходом, выводящим дым из внутреннего отсека печи.
14. Как сделать дровяную газовую плиту
Дровяная газовая плита не означает, что вы будете использовать газ для заправки печи, это просто означает, что дровяная плита будет выглядеть как газовая плита . Для этого руководства вы будете использовать 2 банки, любые пустые банки для еды, размер зависит от вас, но одна должна быть меньше другой. Остается только ручная дрель, металлическая сетка в качестве подставки для горшка.
15. Дровяная печь своими руками за 5 долларов
Все предметы, которые вы купите для этого проекта, не будут превышать 5 долларов.Вам понадобятся 1 фунт пропанового баллона, 4 болта / гайки, припой из оловянной проволоки, паяльная лампа, дрель, 3 секции медных труб, и ваша дровяная печь будет сделана. Вы можете использовать некоторые из этих инструментов дома, даже лучше, это поможет снизить затраты. Резервуар будет небольшим и портативным, его можно будет легко носить с собой.
Щелкните для получения более подробной информации
16. Дровяная печь для самостоятельного размещения
Идеальная легкая дровяная печь для кемпинга, рыбалки или выживания, она может поместиться в рюкзаке, и ее можно носить с собой, чистить и использовать сколько угодно раз, пока он не начнет ржаветь и не станет непрочным.Для их изготовления используются 4 небольшие канистры из нержавеющей стали, расширяемый металл, 4-дюймовый сосновый шпунт и канавка. Он может гореть только 21 минуту, прежде чем станет докрасна, если вы используете небольшие кусочки мягкой древесины.
Щелкните для получения дополнительной информации
17. Дровяная печь своими руками
На этом изображении выше вы уже знаете, что вам нужно 2 автомобильных диска, чтобы сделать это, может быть, даже три, но третий будет полностью вырезан с помощью небольшого кусок оставлен, чтобы направить пламя.Вам также понадобится круглая сетка для гриля из нержавеющей стали, которая должна входить в автомобильные диски. Также приобретите аэрозольную краску «Эмаль по металлу» любого цвета. Для остальной работы потребуется сварочный аппарат, мощная ручная циркулярная пила, и вы можете сделать потрясающую дровяную печь, которая также может работать как гриль для барбекю.
Щелкните для получения дополнительной информации
18. Дровяная печь своими руками
Получите много толстых металлических листов, большие ручные ножницы для жести, молоток, чугун, долото и другие инструменты для металлообработки.Этот проект требует большого опыта работы с металлом, это будет сложно, если у вас его не будет, но, в конце концов, дровяная печь – прочная печь, которая может выдерживать высокий уровень тепла в течение длительного времени.
19. Дровяная печь из кирпича своими руками
Сходите в любой строительный магазин рядом с вами и купите более 50 кирпичей разного размера, даже лучше, если у вас их нет дома. Кроме того, возьмите цемент, мастерок, 1 колено для стальной трубы, ручную циркулярную пилу и широкую строительную плитку.Этот проект займет почти 2 дня, потому что вы будете использовать много цемента в разных углах, и вам нужно дать ему высохнуть, прежде чем перемещать его на отделку.
20. Дровяная печь для кемпинга своими руками
Это фаворит для кемпинга, он маленький, легкий, эффективный и может долго работать при постоянной температуре. Для всей работы требуется металлический лист, 2 железных стержня и дрель. Общая стоимость этого проекта составляет около 7 долларов, что делает эту походную печь на дровах недорогой.Еще одна удивительная особенность походной печи – она складная. Вы можете сложить его и поместить в рюкзак, носить его с собой, пока не найдете место, где можно расположиться, и вытащить его.
Щелкните для получения более подробной информации
Заключение
Вы нашли предпочитаемую самодельную дровяную печь? Помните, что вам нужно учесть множество факторов, прежде чем выбирать, какую дровяную печь сделать своими руками. Убедитесь, что у вас есть навыки и инструменты для этого. Вы также должны убедиться, что в вашем доме есть место для их размещения.
10 лучших спиртовых печей для сверхлегких походов на 2021 год
Сверхлегкий путеводитель по спиртовым плитам и горелкам – как они работают, общие конструкции, плюсы и минусы, соображения и некоторые из лучших спиртовых плит.
Фотография предоставлена: Solo Stove
Что такое спиртовая плита?
По определению, спиртовая плита – это печь, в которой в качестве топлива используется спирт. Они чаще всего используются в сообществах любителей сверхлегких пеших прогулок и пеших прогулок в качестве минималистичных и компактных печей.Они весят меньше колоды карт, не имеют движущихся частей, которые можно сломать, и используют дешевое топливо, которое можно найти почти во всех точках пополнения запасов. Если вы любите делать это самостоятельно, вы можете легко сделать его даже дома.
В отличие от традиционных походных печей , которые используют газ или жидкое топливо, спиртовая печь использует легкодоступные источники спирта, такие как метанол, денатурированный спирт или этанол. Обычно это небольшие печи, сделанные из тонкого металла и имеющие небольшой таз или резервуар для нескольких унций жидкого топлива.Конструкции различаются, однако топливная камера обычно облицована рядом отверстий для горелки, которые помогают распространять пламя по краю печи для более равномерного распределения тепла. Эти печи обычно стоят на земле и нуждаются в подставке, чтобы подвесить горшок над пламенем.
Общие образцы
Спиртовые печииспользуют одно и то же топливо, но их конструкция может значительно отличаться. Существует четыре основных дизайна с множеством вариаций в каждом стиле.
Открытое пламя: Печь с открытым пламенем – самый простой тип печи.Думайте об этом как о миске. Вы берете открытый сосуд, как консервную банку с тунцом, наполняете его топливом, зажигаете и уходите. Их легко сделать самому, и они практически надежны в эксплуатации. Они легко проливаются, поэтому некоторые модели включают в себя негорючий капиллярный материал, содержащий топливо для приготовления и хранения.
Вертикальное пламя: Вертикальные пламенные печи имеют конструкцию, напоминающую дымоход, которая направляет пламя вверх к горшку. В модели используются две вложенные банки с тщательно расположенными вентиляционными отверстиями для создания восходящего потока, который делает печь более эффективной, чем версия с открытым пламенем.Поскольку они двухслойные, эти печи сложнее изготовить и они тяжелее, чем открытая печь.
Боковое пламя: Боковое пламя имеет отверстия по бокам сосуда, которые направляют пламя наружу из печи. Такая конструкция не требует отдельной подставки, так как кастрюлю можно поставить на плиту, не тушив огонь. Это ваша основная самодельная банка для кошек или альтовидные печи.
Пламя под давлением: Самая сложная в изготовлении и эксплуатации.Пламенные печи под давлением используют давление пара для создания мощного пламени для кипячения воды. У них есть центральный топливный порт, который вы заполняете и зажигаете, и внутреннюю камеру с отверстиями для горелки сбоку или сверху для приготовления пищи. Они работают, направляя испаренное топливо, а затем выстреливая его в отверстия горелки, где оно сгорает. Они производят пламя, напоминающее домашнюю газовую горелку. Они могут быть привередливыми в зажигании, поскольку вам нужно заправить печь, сожгив небольшое количество топлива и подождав около минуты, пока зажгутся форсунки.
Алкогольная плита Pro’s
Сверхлегкий. Спиртовые печи обычно считаются самым легким типом походных печей, поэтому они так популярны среди путешественников и сверхлегких туристов.
Дешево. Эти печи очень дешевы и часто стоят около 20 долларов. Топливо тоже дешевое. Ее можно купить в автомагазинах, хозяйственных магазинах, Walmart, уличных магазинах и т. Д. Кроме того, как мы обсудим ниже, изготовление газированных плит своими руками практически ничего не стоит.
Просто и надежно. Спиртовые печи надежны. Вероятно, они с наименьшей вероятностью выйдут из строя или «сломаются», потому что у них нет движущихся частей. Вы просто наполняете их, зажигаете, и вы готовы вскипятить воду.
Подходит для кипячения воды. Спиртовые плиты могут выглядеть жалкими, но они не дурачатся, когда дело доходит до кипящей воды. Большинство печей могут вскипятить воду в течение 5-6 минут, а некоторые могут выдерживать это кипение до 20 минут при полном резервуаре топлива.Это не Jetboil, но он выполняет свою работу за небольшую часть стоимости и веса.
Алкогольная плита Con’s
Плохо для «Готовки». Они могут преуспеть в кипячении воды, но спиртовые плиты не очень хороши для приготовления пищи, потому что они имеют фиксированное пламя. Плита либо включена, либо выключена – поэтому медленно варить пищу на медленном огне непросто. Только у некоторых печей есть кольцо для кипячения, которое представляет собой щит, который можно отрегулировать, чтобы пламя не доходило до котла.Также испаряется спирт. Это может быть полезно, позволяя легко разжечь плиту. Однако это также означает, что вы можете случайно сжечь весь запас топлива.
Грязный. Фактическое топливо должно храниться в герметичном контейнере. Следы алкоголя все еще можно найти вокруг крышки контейнера, из-за чего он пахнет в вашей упаковке. После приготовления также проводится некоторая очистка – обычно это означает, что остатки топлива выливаются обратно в бутылку.
Менее безопасно. После установки эти плиты не являются наиболее устойчивыми и требуют осторожного обращения, поскольку вы пытаетесь уравновесить кастрюлю на небольшой площади поверхности для приготовления пищи. Из-за небольшой площади поверхности для приготовления пищи большинству моделей требуется дополнительная подставка для поднятия и стабилизации кастрюли. Спиртовые печи могут и будут опрокидываться, иногда с трагическими последствиями. Считается, что пролитая спиртовая плита стала причиной лесного пожара в Колорадо в 2012 году. Хотя они не взорвутся, с ними нужно обращаться осторожно.
Фото: GoBag Stoves
Прочие соображения
Площадь поверхности. Площадь поверхности может означать размер пламени, доступного для приготовления пищи, а также фактическую площадь поверхности, на которой можно поставить кастрюлю. Оба они различаются в зависимости от модели. Некоторые печи имеют узкую конструкцию, что позволяет легко готовить в чашке меньшего размера, в то время как другие имеют более широкую конструкцию, которая лучше всего подходит для кастрюли большего размера.
Масса. Ваша спиртовая плита не должна весить больше унции.Некоторые из более крупных, в которых хранится топливо, могут весить до 5 унций.
Требования к стенду. Почти все спиртовые плиты нуждаются в подставке, на которой кастрюля устанавливается над пламенем. Некоторые печи, такие как Vargo Triad и Whitebox, построены, поэтому подставка встроена в печь. Другие, такие как горелка Trangia Spirit, требуют отдельной подставки.
Простой дизайн. Выбирая спиртовку, обратите внимание на простую конструкцию, которую легко разжечь и которая не сломается в поле.Чем меньше деталей, тем лучше. Давайте посмотрим на некоторые из самых популярных дизайнов.
Виды спиртового топлива
HEET: HEET продается как антифриз для газовой линии, но на самом деле это метанол. Он недорогой и его легко найти в Walmart и магазинах автозапчастей, особенно зимой. Метанол идеально подходит для промежуточного сезона, поскольку он имеет более низкую температуру кипения и легко горит при более низких температурах. Вы должны быть осторожны, чтобы не загрязнить кастрюлю или посуду этим топливом, потому что оно токсично.
Денатурированный спирт: Денатурированный спирт – это этанол с добавлением небольшого количества метанола, чтобы сделать его непригодным для питья. Это дешево и легко найти в отделе красок большинства хозяйственных магазинов. Он горит сильнее, чем метанол, но теряет эффективность при более низких температурах.
Everclear или зерновой спирт: Everclear или зерновой спирт обладает всеми преимуществами денатурированного спирта без токсичной добавки метанола. Поскольку он пригоден для питья, Everclear обычно дороже денатурированного спирта.Кроме того, его труднее найти в туристических городах, и в некоторых штатах он даже запрещен.
Изопропиловый спирт (91% или 99%): Изопропиловый спирт, также известный как Heet для красной бутылки или медицинский спирт из аптеки, можно в крайнем случае сжечь, но он не рекомендуется в качестве основного источника топлива. Изопропиловый спирт не сгорает полностью и оставляет на плите несгоревшие остатки сажи. Он также смешивается с водой, что снижает силу и эффективность пламени.
Лучшие спиртовые печи
Горелка духа Trangia
Вес: 3.9 унций
Цена: $ 15
Горелка Trangia Spirit – это силовая установка печи с удобной крышкой, позволяющей хранить топливо внутри печи для транспортировки. Печь известна своей безупречной надежностью и является золотым стандартом, с которым сравнивают другие печи. Он включает в себя кольцо для кипячения, которое вы можете использовать для уменьшения тепла от плиты и позволяет ограниченное кипение. Для печи требуется подставка, которую вы можете приобрести отдельно.
См. На Amazon .ком
Белый ящик
Вес: 1 унция
Цена: $ 20
Изготовленная из переработанного материала, печь Whitebox генерирует огромное пламя, которое вскипятит воду в рекордно короткие сроки. Эта герметичная печь с боковым горением разработана, чтобы выдерживать суровые тропы. Будьте осторожны при использовании Whitebox с посудой для готовки меньшего размера, так как пламя может лизнуть стенки сковороды и неожиданно зацепиться за вас или другие близлежащие предметы.Лучше всего он подходит для более широких кастрюль и сковородок.
См. На garagegrowngear.com
Варго Триада
Вес: 1 унция
Цена: $ 35
Vargo Triad – это компактная печь с водометом, которая включает в себя встроенную подставку для кастрюли и ножки для подъема печи над землей. Три ножки внизу могут ударить по земле, уменьшая вероятность опрокидывания. Из-за своего меньшего размера Triad идеально подходит для кипячения воды в небольших кастрюлях и чашках.В качестве бонуса можно перевернуть плиту и сжечь твердые топливные таблетки с нижней стороны.
См. На amazon.com
Trail Designs Caldera Cone
Вес: 2,75 унции для конуса, 0,6 унции для плиты
Цена: 35 долларов на traildesigns.com
Caldera использует другой подход к спиртовой плите, сочетая сверхлегкую плиту Kojin или плиту 12-10 с конусом, специально разработанным для вашей кастрюли.Конус направляет пламя к вашей кастрюле, чтобы сконцентрировать тепло именно там, где вам это нужно больше всего. Он также обеспечивает устойчивое место для отдыха горшка и добавляет некоторую защиту от ветра.
Когда вы закончите готовить, рожок и все его аксессуары аккуратно свернутся, чтобы поместиться в кастрюлю. Он зависит от посуды, поэтому убедитесь, что вы покупаете правильный конус для своей посуды. Если вам нужна дополнительная универсальность, вы можете приобрести печь Ti-Tri, которая включает в себя конус, печь и некоторые дополнительные приспособления, позволяющие сжигать твердое топливо или дрова.
Evernew
Вес: 1,2 унции
Цена: $ 37
Спиртовая плита Evernew – легкая, компактная печь с двойной струйной системой, которая создает прочное и стабильное пламя. Он горит быстро и горячо, поэтому вы можете как можно быстрее вскипятить воду. У него нет крышки с завинчивающейся крышкой, поэтому вы не можете хранить топливо внутри печи, но оно вам и не понадобится, так как высокая температура печи будет продувать топливо в резервуаре.
См. На amazon.com
Плита Solo Stove
Вес: 3,5 унции для спиртовой горелки, 9 унций для Solo Stove Lite
Цена: 20 долларов за плиту, 70 долларов за Solo Stove Lite
Solo Stove – это больше, чем просто спиртовая плита. Это система приготовления пищи, которая сжигает древесину в качестве основного источника топлива, но также может использовать спиртовую плиту в качестве резервного топлива. Печь Solo Stove предназначена для оптимизации воздушного потока вокруг плиты, поэтому вы получаете более горячий огонь, чтобы вскипятить воду.Спиртовая плита системы представляет собой клон Trangia с завинчивающейся крышкой для хранения топлива и кольцом для кипячения.
См. На amazon.com
GoBag
Вес: 2 унции
Цена: $ 25
Печь GoBag – это прочная плита с боковым горением, которая обеспечивает отличную тепловую мощность. Он имеет короткую и приземистую конструкцию, что не только упрощает его упаковку, но и предотвращает его опрокидывание.Хотя эта конструкция более безопасна, чем некоторые из более высоких печей, она ограничивает количество топлива, которое печь может удерживать за один раз.
Вы можете быстро вскипятить воду для ужина за один раз, но не ожидайте, что у всей группы будет горячая вода.
См. На amazon.com
Zelph’s Stoveworks Fancee Feest
Вес: 0,8 унции
Цена: 16 $ на woodgaz-stove.com
Знаменитая печь для консервов с кормом для кошек – спиртовая плита Zelph’s Stoveworks Fancee Feest отличается сверхлегким алюминиевым корпусом со встроенной подставкой для посуды из нержавеющей стали.Его дизайн прост и удобен в настройке. Уникальной особенностью является стекловолокно, которое действует как фитиль, который помогает эффективно направлять топливо для сгорания. Мы упоминали цену? Не намного дешевле, чем 16 долларов за плиту менее одной унции.
Zelph’s Stoveworks Starlyte Stove
Вес: 0,5 унции
Цена: 18 $ на woodgaz-stove.com
Еще одна плита от Zelph’s Stoveworks – Starlyte Ultralyte весит совсем немного.5 унций. Печь может быть заполнена до 30 грамм топлива, и она «защищена от пролива», что является редкостью для спиртовых печей … и решает одну из их самых больших проблем. Просто закройте крышку, и неиспользованный спирт не испарится. Его корпус легко помещается в ладони или в кармане. Starlyte выпускается в трех версиях: стандартной, модифицированной и медленной.
DIY газированная плита
Вес: 1 унция
Цена: Стоимость банки газировки
За короткое время вы можете быстро превратить старую банку газировки или две в печь для приготовления спирта.Существует тонн разновидностей , начиная от простой открытой консервной печи до более сложной горелки с кольцом для медленного кипячения. В самом простом виде вы можете отрезать дно банки с газировкой, налить топливо в емкость и зажечь ее. Для более элегантного дизайна можно использовать две канистры для создания топливной камеры с горелкой.
Просто отрежьте дно одной банки, просверлите несколько отверстий для горелки в другой банке и добавьте сварной шов JB, чтобы склеить их вместе.
Келли Ходжкинс: Келли – постоянный гуру альпинизма.Ее можно найти на тропах Нью-Гэмпшира и Мэна, она ведет групповые походы, бег по пересеченной местности или катание на горных лыжах.
О Greenbelly: После пеших прогулок по Аппалачской тропе Крис Кейдж создал Greenbelly , чтобы обеспечить быстрое, сытное и сбалансированное питание для туристов. Крис также написал Как пройти по Аппалачской тропе .