Тлм 10: Трансформатор ТЛМ-10

alexxlab | 18.04.1992 | 0 | Разное

Содержание

Трансформатор тока ТЛМ-10-2 У3 в г Самара | Объявления

  • 19 октября 2022 г. в 09:00
  • 532
  • Поделиться

  • Пожаловаться

ТЛМ-10 0,2S; 0,2; 0,5S; 0,5 трансформаторы тока. Прямые поставки. Цены низкие. Звоните!!!

Техническое описание на популярный трансформатор ТЛМ-10:

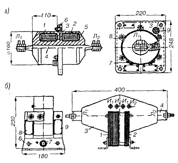
Трансформатор тока ТЛМ-10 опорный, предназначен для передачи сигнала измерительной информации приборам измерения, защиты, сигнализации и управления в электрических цепях переменного тока частотой 50 или 60 Гц класса напряжения 10 кВ.
Трансформатор устанавливается в комплектные распределительные устройства (КРУ) внутренней установки, а также в сборные камеры одностороннего обслуживания (КСО) для изолирования цепей вторичных соединений от высокого напряжения.
Трансформаторы изготавливаются разных конструктивных вариантов в климатическом исполнении «У» или «Т», категории размещения 3 или 2 по ГОСТ 15150.
Трансформаторы могут поставляться с защитной крышкой для пломбирования вторичных выводов от несанкционированного подключения.

НОВИНКА в номенклатуре поставляемых ТЛМ-10 трансформаторов:

● ТЛМ-10-1 (5/5-1500/5) 0,5/0,5/10Р У3, У2, Т3 (3-х обмоточные)
● ТЛМ-10-1 (5/5-1500/5) 0,5/10Р/10Р У3, У2, Т3 (3-х обмоточные)
● ТЛМ-10-1 (5/5-1500/5) 0,5S/0,5/10Р У3, У2, Т3 (3-х обмоточные)
● ТЛМ-10-1 (5/5-1500/5) 0,5S/0,5S/10Р У3, У2, Т3 (3-х обмоточные)
● ТЛМ-10-1 (5/5-1500/5) 0,2/0,2/10Р У3, У2, Т3 (3-х обмоточные)
● ТЛМ-10-1 (5/5-1500/5) 0,2S/0,2S/10Р У3, У2, Т3 (3-х обмоточные)

Низкие цены. Бесплатная доставка. Звоните!

Адрес:

г Самара

Показать карту ↓

Отправить запрос

Ещё 108 объявлений

Контакты

Ф.И.О. Павлов Виктор Лифантьевич нет отзывов
Должность:Отдел сбыта
Компания:ЗАО «ВолгаЭнергоКомплект»
Город: г Самара
Телефон:+7 (846) 231-43-79, 231-43-97
Сообщите, что нашли информацию на сайте «Элек. ру»
Web:http://zaovec.ru
Дата регистрации:5 марта 2008 г.
Последний вход вчера

Информация о компании

ВолгаЭнергоКомплект, ЗАО

Продажа трансформаторов и другого электрооборудования с доставкой до объекта по России и Республики Казахстан. Всегда в срок!

Контакты и адреса  · Прайс-лист · Объявления · Видео

Все новости и публикации компании ВолгаЭнергоКомплект, ЗАО в персональной ленте вашего личного кабинета на Elec.ru

Подписаться

Похожие объявления

ПРОДАМ: Трансформатор ТЛМ-10-1 0,5/10Р 10/15 300/5 У3

Опорный трансформатор тока с литой изоляцией, с номинальным первичным током – 300А, вторичным – 5А. Внимание! Принимаем заказы на изготовление 2-х обмоточных трансформаторов тока ТЛМ-10-1, с классами точности для измерений и учёта 0,2S; 0,2; 0,5S; 0,5 и с классами точности для защиты 10Р – 0,5/10Р; 0,5S/10Р; 0,2S/10Р и 3-х обмоточных – 0,5S/0,5S/10Р; 0,2S/0,2S/10Р. Ряд коэф. трансформации: 5/5; 10/5; 15/5; 20/5; 30/5; 40/5; 50/5; 75/5; 100/5; 150/5; 200/5; 300/5; 400/5; 500/5; 600/5; 800/5; 1000/5; 1500/5. Выгодно! Самарские трансформатор тока по Самарским ценам! ТЛМ-10-1-0,5/10Р-10/15-5/5 У3 – опорный трансформатор тока с литой изоляцией, с номинальным первичным током – 5А, вторичным – 5А; ТЛМ-10-1-0,5/10Р-10/15-10/5 У3 – опорный трансформатор тока с литой изоляцией, с номинальным первичным током – 10А, вторичным – 5А; ТЛМ-10-1-0,5/10Р-10/15-15/5 У3 – опорный трансформатор тока с литой изоляцией, с номинальным первичным током – 15А, вторичным – 5А; ТЛМ-10-1-0,5/10Р-10/15-20/5 У3 – опорный трансформатор тока с литой изоляцией, с номинальным первичным током – 20А, вторичным – 5А; ТЛМ-10-1-0,5/10Р-10/15-30/5 У3 – опорный трансформатор тока с литой изоляцией, с номинальным первичным током – 30А, вторичным – 5А; ТЛМ-10-1-0,5/10Р-10/15-40/5 У3 – опорный трансформатор тока с литой изоляцией, с номинальным первичным током – 40А, вторичным – 5А; ТЛМ-10-1-0,5/10Р-10/15-50/5 У3 – опорный трансформатор тока с литой изоляцией, с номинальным первичным током – 50А, вторичным – 5А; ТЛМ-10-1-0,5/10Р-10/15-75/5 У3 – опорный трансформатор тока с литой изоляцией, с номинальным первичным током – 75А, вторичным – 5А; ТЛМ-10-1-0,5/10Р-10/15-100/5 У3 – опорный трансформатор тока с литой изоляцией, с номинальным первичным током – 100А, вторичным – 5А; ТЛМ-10-1-0,5/10Р-10/15-150/5 У3 – опорный трансформатор тока с литой изоляцией, с номинальным первичным током – 150А, вторичным – 5А; ТЛМ-10-1-0,5/10Р-10/15-200/5 У3 – опорный трансформатор тока с литой изоляцией, с.

..

Павлов Виктор · ВолгаЭнергоКомплект · Сегодня · Россия · Самарская обл

ПРОДАМ: Трансформатор ТЛК-10-5 50/5 0,5/10Р-10/15 У3

Внимание! Принимаем заказы на изготовление 2-х, 3-х, 4-х обмоточных трансформаторов тока ТЛК-10, с классами точности для измерений и учёта 0,2S; 0,2; 0,5S; 0,5 и с классами точности для защиты 10Р. Ряд коэф. трансформации: 5/5; 10/5; 15/5; 20/5; 30/5; 40/5; 50/5; 75/5; 100/5; 150/5; 200/5; 300/5; 400/5; 500/5; 600/5; 800/5; 1000/5; 1500/5; 2000/5. Выгодно! Самарские трансформаторы по Самарским ценам! Внимание! Принимаем заказы на изготовление 2-х, 3-х, 4-х обмоточных трансформаторов тока ТЛК-10, с классами точности для измерений и учёта 0,2S; 0,2; 0,5S; 0,5 и с классами точности для защиты 10Р. Новинка в линейке трансформаторов тока ТЛК-10 (3-х обмоточные) Сообщаем о расширении линейки 3-х обмоточных трансформаторов тока ТЛК-10, а именно: для конструктивного исполнения ТЛК-10-4, ТЛК-10-5, ТЛК-10-6, ТЛК-10-7, ТЛК-10-8 ● ТЛК-10-4,5,6,7,8 (5/5-2000/5) 0,5/0,5/10Р У3, У2, Т3 (3-х обмоточные) ● ТЛК-10-4,5,6,7,8 (5/5-2000/5) 0,5/10Р/10Р У3, У2, Т3 (3-х обмоточные) ● ТЛК-10-4,5,6,7,8 (5/5-2000/5) 0,5S/0,5/10Р У3, У2, Т3 (3-х обмоточные) ● ТЛК-10-4,5,6,7,8 (5/5-2000/5) 0,5S/0,5S/10Р У3, У2, Т3 (3-х обмоточные) ● ТЛК-10-4,5,6,7,8 (5/5-2000/5) 0,2/0,2/10Р У3, У2, Т3 (3-х обмоточные) ● ТЛК-10-4,5,6,7,8 (5/5-2000/5) 0,2S/0,2S/10Р У3, У2, Т3 (3-х обмоточные) для конструктивного исполнения ТЛК-10-9, ТЛК-10-10 с гибкими выводами ● ТЛК-10-9,10 (5/5-2000/5) 0,5/0,5/10Р У3, У2, Т3 (3-х обмоточные) ● ТЛК-10-9,10 (5/5-2000/5) 0,5/10Р/10Р У3, У2, Т3 (3-х обмоточные) ● ТЛК-10-9,10 (5/5-2000/5) 0,5S/0,5/10Р У3, У2, Т3 (3-х обмоточные) ● ТЛК-10-9,10 (5/5-2000/5) 0,5S/0,5S/10Р У3, У2, Т3 (3-х обмоточные) ● ТЛК-10-9,10 (5/5-2000/5) 0,2/0,2/10Р У3, У2, Т3 (3-х обмоточные) ● ТЛК-10-9,10 (5/5-2000/5) 0,2S/0,2S/10Р У3, У2, Т3 (3-х обмоточные) Звоните прямо сейчас!!!

Павлов Виктор · ВолгаЭнергоКомплект · Сегодня · Россия · Самарская обл

ПРОДАМ: ТЛК-СТ-10-ТШЛП (ТШЛП-10) Шинные трансформаторы тока

ТШЛП-10 аналог ТШЛ-СЭЩ-10. Дешевле. Бесплатная доставка. Звоните! Трансформатор тока ТШЛП-10, ТШЛП-10-1, ТШЛП-10-2 шинный, предназначен для передачи сигнала измерительной информации приборам измерения, защиты, сигнализации и управления в электрических цепях переменного тока частотой 50 или 60 Гц класса напряжения 10 кВ. Трансформатор применяется для встраивания в комплектные распределительные устройства внутренней установки. Трансформаторы изготавливаются разных конструктивных вариантов в климатическом исполнении «У» или «Т», категории размещения 3 или 2 по ГОСТ 15150. Трансформаторы могут поставляться с защитной крышкой для пломбирования вторичных выводов от несанкционированного подключения. НОВИНКА Сообщаем о расширении линейки 3-х обмоточных трансформаторов тока ТШЛП-10, а именно: ● ТШЛП-10-1 (1000/5-3000/5) 0,5/0,5/10Р У3, Т3 (3-х обмоточные) ● ТШЛП-10-1 (1000/5-3000/5) 0,5/10Р/10Р У3, Т3 (3-х обмоточные) ● ТШЛП-10-1 (1000/5-3000/5) 0,5S/0,5/10Р У3, Т3 (3-х обмоточные) ● ТШЛП-10-1 (1000/5-3000/5) 0,5S/0,5S/10Р У3, Т3 (3-х обмоточные) ● ТШЛП-10-1 (1000/5-3000/5) 0,2/0,2/10Р У3, Т3 (3-х обмоточные) ● ТШЛП-10-1 (1000/5-3000/5) 0,2S/0,2S/10Р У3, Т3 (3-х обмоточные) Сообщаем о расширении линейки 4-х обмоточных трансформаторов тока ТШЛП-10, а именно: ● ТШЛП-10-2 (1000/5-3000/5) 0,5/0,5/0,5/10Р У3, Т3 (4-х обмоточные) ● ТШЛП-10-2 (1000/5-3000/5) 0,5S/0,5/10Р/10Р У3, Т3 (4-х обмоточные) ● ТШЛП-10-2 (1000/5-3000/5) 0,5S/0,5S/10Р/10Р У3, Т3 (4-х обмоточные) ● ТШЛП-10-2 (1000/5-3000/5) 0,2/0,2/10Р/10Р У3, Т3 (4-х обмоточные) ● ТШЛП-10-2 (1000/5-3000/5) 0,2S/0,2S/10Р/10Р У3, Т3 (4-х обмоточные) ТШЛП-10 купить в Самаре.

Звоните!

Павлов Виктор · ВолгаЭнергоКомплект · Сегодня · Россия · Самарская обл

ПРОДАМ: Трансформатор тока ТПК-10 0,5/10Р 10/15 75/5 У3 Самара

Проходной ТПК 10 кВ 2-х обмоточный трансформатор тока с литой изоляцией на номинальное напряжение 10 кВ, c вторичными обмотками: – для подключения цепей измерения, с классом точности 0,5 и нагрузкой 10 ВА; – для подключения цепей защиты, с классом точности 10Р и нагрузкой 15 ВА; на номинальный первичный ток 75 Ампер, номинальный вторичный ток 5 Ампер, климатического исполнения «У» категории размещения 3 по ГОСТ 15150-69. Принимаем заказы на изготовление 2-х и 3-х обмоточных трансформаторов тока ТПК. Ряд коэф. трансформации: 5/5; 10/5; 15/5; 20/5; 30/5; 40/5; 50/5; 75/5; 100/5; 150/5; 200/5; 300/5; 400/5; 500/5; 600/5; 800/5; 1000/5; 1500/5; 2000/5. Классы точности: 0,5/10Р; 0,5S/10Р; 0,2/10Р; 0,2S/10Р; 0,5/0,5/10Р; 0,5S/0,5S/10Р; 0,2/0,2/10Р; 0,2S/0,2S/10Р.

Позвоните прямо сейчас!

Павлов Виктор · ВолгаЭнергоКомплект · Сегодня · Россия · Самарская обл

ПРОДАМ: Трансформаторы ТЛК-10 ТЛК-10 ТПЛК-10 ТЛМ -10

ООО КМА Электромаш поставим трансформаторы тока со склада ТЛК-10-6у3 50/5 ТЛК-10-5у3 50/5 ТЛК-10-6у3 75/5 ТЛК-10-5 у3 75/5 ТЛК-10-5у3 100/5 ТЛК-10-6у3 100/5 ТЛК-10-5 100/5 ТЛК-10-6у3 100/5 ТЛК-10-5у3 150/5 ТЛК-10-5 у3 200/5 ТЛК-10-6у3 200/5 ТЛК-10-6у3 200/5 ТЛК-10-5у3 300/5 ТЛК-10-6у3 300/5 ТЛК-10-5у3 300/5 ТЛК-10-6у3 1000/5 ТЛК-10-6у3 1500/5 ТЛК-10-6у3 400/5 ТЛК-10-5у3 400/5 ТЛК-10-5 у3 400/5 ТЛК-10-5 у3 600/5 ТЛК-10-5у3 600/5 ТЛК-10-6у3 600/5 ТЛК-10-5у3 600/5 0,5s/10p ТЛК-10-4 2000/5 ТПЛК-10 600/5 ТЛМ-10 -2 у3 50/5 ТЛМ-10-1 у3 75/5 ТЛМ-10 -1 у3 200/5 ТЛМ-10-2 у3 200/5 ТЛМ-10 -1 у3 100/5 ТЛМ-10 -2 у3 100/5 ТЛМ-10 -1 у3 300/5 ТЛМ-10-1 у3 400/5 ТЛМ-10-1 у3 400/5 ТЛМ-10-1 у3 600/5 ТЛМ-10-1 у3 1000/5 ТЛМ-10-1 1500/5 ТЛМ-10-1 800/5 ТЛМ-10-2 800/5 Возможно, Вас также заинтересуют: Аппарат АРГУС, ЗЕРО, БЗМ-3, БЗМ-4, РУП, РУ, БУТ-7, ТК-9, ПТЭМ-2Р-22-4М, СУНСТ 2У5М.

Бесплатно и Быстро довозим до транспортной компании. Осуществляем поставки на всей территории России! Подробная информация по телефону!. Контактное лицо: Иванова Елена Владимировна Тел: 89040587678

Тд Менеджер · ООО КМА ЭЛЕКТРОМАШ · 5 октября · Россия · г Москва

ПРОДАМ: Трансформаторы тока ТПЛ-10 У3

Внимание партнёрам! Трансформаторы тока ТПЛ-10С аналог ТПЛ-10М СЗТТ. Дешевле!!! Варианты исполнеия 2-х обм. трансформатора ТПЛ-10: ТПЛ-10С-0,5/10Р-10/15-5/5 У3 — опорно-проходной трансформатор тока с литой изоляцией, с номинальным первичным током — 5А, вторичным — 5А; ТПЛ-10С-0,5/10Р-10/15-10/5 У3 — опорно-проходной трансформатор тока с литой изоляцией, с номинальным первичным током — 10А, вторичным — 5А; ТПЛ-10С-0,5/10Р-10/15-15/5 У3 — опорно-проходной трансформатор тока с литой изоляцией, с номинальным первичным током — 15А, вторичным — 5А; ТПЛ-10С-0,5/10Р-10/15-20/5 У3 — опорно-проходной трансформатор тока с литой изоляцией, с номинальным первичным током — 20А, вторичным — 5А; ТПЛ-10С-0,5/10Р-10/15-30/5 У3 — опорно-проходной трансформатор тока с литой изоляцией, с номинальным первичным током — 30А, вторичным — 5А; ТПЛ-10С-0,5/10Р-10/15-40/5 У3 — опорно-проходной трансформатор тока с литой изоляцией, с номинальным первичным током — 40А, вторичным — 5А; ТПЛ-10С-0,5/10Р10-10ВА/15ВА-50/5-50/5 8 25 У3 — опорно-проходной трансформатор тока с литой изоляцией, с номинальным первичным током — 50А, вторичным — 5А; ТПЛ-10С-0,5/10Р-10/15-75/5 У3 — опорно-проходной трансформатор тока с литой изоляцией, с номинальным первичным током — 75А, вторичным — 5А; ТПЛ-10С-0,5/10Р10-10ВА/15ВА-100/5-100/5 20 52 У3 — опорно-проходной трансформатор тока с литой изоляцией, с номинальным первичным током — 100А, вторичным — 5А; ТПЛ-10С-0,5/10Р10-10ВА/15ВА-150/5-150/5 20 52 У3 — опорно-проходной трансформатор тока с литой изоляцией, с номинальным первичным током — 150А, вторичным — 5А; ТПЛ-10С-0,5/10Р10-10ВА/15ВА-200/5-200/5 20 52 У3 — опорно-проходной трансформатор тока с литой изоляцией, с номинальным первичным током — 200А, вторичным — 5А; ТПЛ-10С-0,5/10Р10-10ВА/15ВА-300/5-300/5 31,5 52 У3 — опорно-проходной трансформатор тока с литой изоляцией, с номинальным первичным током — 300А, вторичным — 5А; ТПЛ-10С-0,5/10Р-10/15-400/5 У3 — опорно-проходной трансформатор тока. ..

Павлов Виктор · ВолгаЭнергоКомплект · Сегодня · Россия · Самарская обл

ПРОДАМ: НД1404А, МП-100М ЭЦН-19А, ЭЦН-91С, ЭЦН-100/70А, НП-96М, ТА-57, ГА-164/М3, УВ-273А, УВ-279В, УВ-435В, УВ-41, УВ-51Б,

Продам: ТА-57, телефонный аппарат, зав. упак.,20 шт ГА-164/М3, электромагнитный кран, зав. упак., 91г., 40шт УВ-273А 83 г. ПЕНА + ПАСП. 1 шт. УВ-279В 91 г. ПЕНА + ПАСП. 4 шт. УВ-435В 91 г. З/У + ПАСП. 3 шт УВ-41 83 г. ПЕНА + ПАСП. 4 шт. УВ-51Б 86 г. ПЕНА + ПАСП. 1 шт. УВ-45 69г, зав. упак., ПАСП. 1 шт. УВ-63 88 г. ПЕНА + ПАСП. 2 шт. УВ-63 89 г. ПЕНА + ПАСП. 1 шт. УВ-63 90 г. ПЕНА + ПАСП. 3 шт. УВ-243Б 85 г. ПЕНА + ПАСП. 4 шт. УВ-268В Без З/У 1 шт. НД1404А, кл.1 МП-100М серия 2, 91г., паспорт, 3шт. насос ЭЦН-19А, 3 шт . насос ЭЦН-91С, 1 шт . термометр ТЭ-4В, 16шт., Насос ЭЦН-100/70А, 2 шт., 90г., и 92г., насосы НП-96М, 6 шт., вып. (90-91)гв Продам :ТА-57, кран ГА-164/М3, Лампы :УВ-273А, УВ-279В , УВ-435В , УВ-41 , УВ-51Б, УВ-45 ,УВ-243Б ,УВ-63 , УВ-268В. Сельсин НД1404А, кл.1, МП-100М .Насосы: ЭЦН-19А,ЭЦН-91С,ЭЦН-100/70А,НП-96М, Полимерный изолятор ИОСПК-10-110/480-01-II-УХЛ1 3 шт. Изолятор ИПУ-10/630-75 3 шт. Трансформаторы:. ТОЛ-10 150/5 класс точности 0,5S ,ЗНОЛ-0,8-6, НОЛ-0,8-6 ,НАМИ-10,ТЛШ4000/5 ,ТЛК 30/5 ТЛК 75/5 .ТЛК 1000/5 Трансформаторы ТОЛ -100/5, ТОЛ 75/5 , ТОЛ 150/5 ,ТОЛ 300/5,ТОЛ 800/5,ТОЛ 1500/5 ,ТОЛ 400/5 , Трансформаторы ТПОЛ-800/5 ,Трансформаторы ТВК 50/5, ТВК 100/5, ТВК 150/5, ТВК 200/5,ТВК 300/5. Трансформатор тока ТЛМ 100/5, ТЛМ 150/5, ТЛМ 200/5, ТЛМ 400/5 ТЛМ 1000/5, ТЛМ 1500/5 . ТПЛ 150/5, ТПЛ 75/5,400/5 , Трансформатор однофазный силовой масляный ОМП – 4,0/10 Высоковольтный трансформатор от установки АИИ-70 2 шт Трансформатор НОМ-6 6000/100 4 шт

Болев Ярослав · Вентал · 20 сентября · Россия · Пермский край

Трубка лакированная ТЛВ, ТЛМ 10 мм 1 метр

Трубка лакированная ТЛВ, ТЛМ 10 мм 1 метр
  • Электроизоляционные и термостойкие материалы
  • Трубки, шнуры, оплетки
  • Трубка лакированная (линоксиновая) ТЛВ, ТЛМ

Каталог

Информация

Доставка по России

Мы доставим ваш заказ курьером по Москве или службой экспресс-доставки по всей России.

Теги

  • ftp
  • utp
  • витая пара
  • диэлектрик
  • долговечное жало
  • изоляционный
  • изоляционный материал
  • изоляция трансформаторов
  • кабель витая пара
  • кабель контрольный
  • Описание
  • Характеристики
  • Отзывы

Трубка изоляционная ТЛВ – представляет собой пропитанный электроизоляционным лаком хлопчатобумажный шнур-чулок.

Трубка марки ТЛВ – водостойкая.

Область применения трубки изоляционной ТЛВ

Трубки марки ТЛВ – применяются для изоляции проводов электротехнических и радиотехнических изделий, работающих при постоянном и переменном напряжении до 660 В частоты 50 ГЦ. Температурный диапазон использования трубок от -50° С до +105°С.

Трубка изоляционная ТЛМ – представляет собой пропитанный электроизоляционным лаком хлопчатобумажный шнур-чулок. Трубка марки ТЛМ – маслостойкая.

Трубки марки ТЛМ – применяются для изоляции проводов электротехнических и радиотехнических изделий, работающих при постоянном и переменном напряжении до 660 В частоты 50 ГЦ. Температурный диапазон использования трубок от -50°С до +105°С.

Рекомендуем посмотреть

Провод МС 16-13 0,03 мм² (белый), 5 метров

230 ₽ 

Проволока Копель МНМц43-0,5 1,2 мм, 1 метр

230 ₽ 

Проволока Хромель НХ 9.5 1,2 мм, 1 метр

230 ₽ 

Проволока Алюмель НМцАК 2-2-1 1,2 мм, 1 метр

230 ₽ 

Провод МС 16-13 0,03 мм² (синий), 5 метров

230 ₽ 

Трансформатор тока ТЛМ-10-3-1 600/5 0,5S/10Р/0,5S У3 (СТЗ Самара)

gallery

Запрос займет некоторое время.

Ждите!

Количество жил:

—11+11-161-51-8101001000111212012001281314140151617181922020-302002062124252627282933+13+1+13+1+23+43+53+63-43-53/430313233343536373844+14040-50400414244464855-75050-6051525666060-7560061646577688080082996

Сечение жилы:

—0,08…40,25-2,50,25-60,25..60,4..40,5-60,5..160,5..2,50.070.08-0.50. 08-1.50.08-2.50.08-40.08-60.10.1-0.40.120.140.14-0.50.14-10.14-100.150.160.180.18-60.20.2-0.750.2-1.50.2-100.2-160.2-2.50.2-40.2-60.220.2240.2360.240.250.25-0.750.25-10.25-1.50.25-2.50.25-6.00.25–2.50.280.30.320.340.34-1.50.350.380.40.4-0.50.4-0.90.410.4250.4750.480.50.5 – 1.50.5-10.5-1.50.5-100.5-160.5-2.50.5-40.5-4 (6)0.5-4.00.5-60.5-6.10.510.5110.520.530.540.560.570.60.6-0.80.640.670.70.710.750.75 – 10.75-1.50.75-160.75-2.50.75-40.780.80.850.90.950.9811-1.51-101-13.51-2.51-4.51-61.021.061.11.121.131.151.181.21.251.2х4.751.31.321.351.381.41.421.51.5 – 2.51.5+1.51.5-2.51.5-61.561.61.6х61.71.81.91010 – 40010 – 5410+610+6+610-12010-15010-1610-2510-30010-3510-610..3510.2510/ 16/ 2510/ 25/ 35/ 5010/16/2510001000-12001212.7120120 – 150120+35120+35+10120+50120+70120+70+16120+95120+95+16120-185120-240120-300120-400120/150120/95120/95/2515.715.9150150+120150+35150+50150+70150+95150-120150-240150-300150-400150/ 185/ 240150/ 185/ 241150/120150/185/2401616 – 24016 – 2516 – 5416 – 9516+1016+10+1616+1х2516+2516+616+816-12016-2516-3516-5016-7016-70/16-9516-9516. 2516/ 2516/2516/35/5016017.7185185+70185+95185-240185-400185/15019.522-4 х (16-120)2-4х(16-35)2.12х102.162.242.52.5 – 42.5+1.52.5-4 мм22.5-62.5х102.82.8х102.8х7.521.92424.7240240+120240+70240-185240-300240-400240-500240/3002525 – 24025 – 3525 – 9525+1025+10+625+1625+3525+54,625-15025-1625-5025-7025-9525/ 35/ 5025/3525/35/5025/50/7025/54.6/162×16 – 2x252x16 – 4x252x6 – 4×352х(16-35)2х0.52х0.752х12х1.52х102х162х2.52х352х42х52х502х62х7033.153.15х4.53.15х6.33.35х11.23.55х83.753030.5300300-400300/ 400300/400300030х4031.23234.23535 – 12035 – 7035 – 9535+1035+10+1035+10+435+10+635+1635+2535+5035+54,635+54,6+1635+635-12035-2535-5035-7035-9535/ 5035/5035/54.635/54.6/1635/54.6/3536.237.138.13х120+1х703х150+1х703х240+1х1203х53х70+1х353х95+1х5044 (6)4+2.54-104-164-354-64-704.0-164.14.25х6.34.54.5-224.84/6/10400400-500400-630400-80041.541045.448.249.149.84х(16-120)4х(25-50)4х(70-120)4х6.355.55050 – 7050 – 9550 – 15050 – 18550+1050+10+2.550+10+450+1650+16+1050+2550+25+1050+3550+5050+50+2550+54,650+54,6+1650+7050-12050-120/50-15050-15050-18550-3550-7050-9550/3550/50/1650/54. 650/54.6/1650/7050/8500500-630500-800500/ 630500/630525455.455.55х105х11.25х7.166 – 356 – 546+2.5+2.56+46-106-1206-3006-356-506.460062.2625630630-1000646х1077 – 957070 / 9570+1070+16+1070+2570+3570+5070+54,670+54,6+1670+7070+70+1670+70+2570+9570-12070-15070-24070-9570/ 95/ 12070/12 и 95/1570/5070/7070/9570/95/1207х0,127х0.128800800+2х2.5800-1000859.5909595+1095+10+495+2595+25+1095+3595+5095+54,695+70+1695+70+2595+9595+95+1695+95+2595-12095-15095-24095-7095/12095/7095/70/1695/95до 32.0до 70окт.25

Подбор товара:

Категория товара: —Кабельно-проводниковая продукцияСветотехнические изделияИзделия электроустановочныеОборудование низковольтноеИзделия для прокладки кабеля и электромонтажаЩитовое оборудованиеОборудование 6-10кВПриборы обогрева и вентиляцииИнструмент, устройства измерения и средства защиты

Производитель:—

brands 3МABACUSABBAccordTecActivisionAcumenADAXAdemcoAlarmicoAlfrescoAlpenBoxANAMAPCApolloAppleAresAritechArte LampArtemideArtlightASD-electricAtlanticAxisBa-RoBartecBeghelliBeldenBELLIGHTBewardBLVBOSCHBRADYBrandoniBRENNENBriluxBrixis BaseBTicinoBugattiC-LuceCABLOFILCaddxCameCAPRICORNCasaranoCAVELCeiaCellPackCIMBERIOCisaCiscoCNBCommaxComputarCooperCORTEMCQRCrowCyfralDahuaDAIWONDallasDanfossDEKraftDeLonghiDeltaDEVIDisanoDKCDormaDOZERDuracellDVCDysonEATONEbelcoEgloEgoluceEKFEkoplastikELDINELEKTRAELGOElkametElmes ElectronicsEltisEmmetiEmotronENGYENOLGASENSTOES-SystemEsedraEsmiESPAEstapEurolaneVidenceFael LuceFagerhultFalcon EyeFERONFINDERFITFonditalFortezaFRANKISCHEFV-PlastGALADGateGeneral ElectricGeniusGermicomGEWISSGezeGigalightGIRAGiraffeGLAMOXGLOBALGlobo LightingGPGreenleeGUSI ELECTRICH-PROHALLAHEGELHencoHENSELHERZ ArmaturenHi-SharpHikvisionHLHoneywellHPHyperlineHyundaii-ValoIEKiEnergyiGuzziniInfinityINSTALLINTEPSInter-MIRITIronLogicITAPITKITVIVS-СигналспецавтоматикаJanluxJassunJazzWayJediaJimtenJUNGKAN-ThermKlaukeKlebebanderKocomKolarzKOPPKroneKRUPSKT&CLampyrisLANSLanziniLEDELLegrandLENA LIGHTINGLetenLezardLivalLPALSISLTVLuexLUGLussoleMacroscopMakelMassiveMASTECHMEKAMENNEKESMetalka MajurMETERMica ElektroMicrodigitalMIXMoon LightN-PowerNanoprotechNavigatorNeo-NeonNeon-NightNexansno nameNordic AluminiumNORTHCLIFFENovec1230O&COBO BettermannOEZOMAXOMRONOMSOPORA ENGINEERINGOptexORORANAORBISORIOOSRAMOSTECOstendorfParsecPelcoPERCoPHILIPSPhilips SaecoPHOENIX CONTACTPILOTPinetronPlastexPOKOJPower LaiPowermanPRIMOPRO AQUAProtectowirePyronixQuantumQuintelaRaychemRBMReka CablesREXANTRITTALROLS ISOMARKETROSMARoxtonRTC-ГольфстримRUCELFRUVinilRVIRZBSABAJSafeLineSamsungSBPSC&TSchneider ElectricSCHWABE HELLASSeagateSecurity ForceSICAMESIEMENSSimonSinboSINIKONSKILSkyNetSLINEXSLVSmartecSonarSONELSORMATSpelsbergSUPRLANSvetaLEDSylvaniaSystem SensorT. plastTamronTangitTantosTargettiTech-KREPTECHNOLUXTenradTermicaTesarThermaflexThornTIEMMETimberkTOATridonicTUPYUnexUNI-FITTUNIO by Pro AquaUnipakUNIROLLERUNIVersalUponorUSTMVALTECVECTORVERGOKANVidatecVIEGAVIKOVision Hi-TechVivo Luce!VizitVOGEL&NOOTVoltaVOSSLOH SCHWABEVyrtychWAGOWATTS IndustriesWAVINWeiconWeidmuellerWestern DigitalWielandWILOWizeboxWunderlichtXLightZAMELZeonZPASZucchiniАВАНГАРДАВРОРААвтоматикаАвтоматика (Кострома)АгрокабельАзовское УПП СветотехникаАЛТТРАНСАльгизАльтоникаАЛЬФАКАБЕЛЬАЛЮРАНИ пластАпаторАргос-ТрейдАргус-СпектрАрдатовский светотехнический завод (АСТЗ)АрктосАрсенал БезопасностиАтонАшасветотехникаАЭМЗАЭТЗБайтЭргБалткабельБалтэнергоБастионБеларусьКабельБелкабБелтелекабельБелТИЗБелый светБелэлектрокабельБиномБолидБрайтэлекБЭЛЗБЭМПВатраВВК-Электро-щит (СПб)ВесперВитебское Электротехническое Предприятие СВЕТВладасветВОКЗВолгодонский кабельный заводВологодский ЭМЗВЭЛАНВЭЛСнабВЭМЗВЭРСГагаринский светотехнический заводГеолинкГефестГирикондГРПЗГруппа КМДАГЭЛЕКТРОАВТОМАТДалетДЗНВАДиэлектрикДмитров-КабельЕВРОКАБЕЛЬЕКА-группЕКСРЗАВОД ИНТЕГРАЛЗавод НВА ЧеркесскЗавод ЭМИ КрасноярскЗавод ЭМИ КурганЗавод ЭМИ Н. НовгородЗавод ЭМИ СамараЗавод Энергия (Екатеринбург)ЗАО НПО “СевЗапСпецавтоматика”ЗПРОМЗСПЗЭиМИНДУСТРИЯИнженерсервисИнкотексИнтерсветИнфоТелекомИркутскКабельИрсэтИскраИсточник ПлюсК-ИнженерингК-ПЭМЗКАБЕЛИ И ПРОВОДАКабель КТКабельЭлектроСвязьКавказкабельКаланчаКалашниковоКама ПЗЭО(Пермь)Камский КабельКаскад-ЭлектроКБ ПриборКВТКЗЭАКирсКабельКлинцовское УПП ВОСКМ-ПрофильКомплектстройсервисКомпозитКОМТЕХКомтидКонкордКонтакторКонтэлКореневский завод НВАКосмосКристалл (Москва)КсенонКТГКунцево-ЭлектроКурсКЭАЗЛайт Аудио ДизайнЛапп РуссияЛВС ИнсталЛенэлектроЛидерЛайтЛидеяЛИСМАЛИСМА-ВНИИИСЛИСТЛучЛЭК (Липецк)ЛЭМЗЛюдиновокабельМагистральМАГНАМагнито-КонтактМатрицаМеандрМегавольт (Н.Новгород)МЕТАМеталлистМеханотроникаМЗЭПМиасский МЗМИЛЕНМогилевский завод ЭлектродвигательМонтакМЭТЗ имени В.И.КозловаНева-Транс КомплектНевская Инжиниринговая Компания (СПб)НЗВАНижегородский завод имени И.М.ФрунзеНИЛЕДНоватек-ЭлектроНовосибирский кабельный заводНовый СветНовэкНОВЭЛНПП КонтактОзёрский кабельный заводОлевсОптоганОренбургторгинвестОреолОрловский кабельный заводПаритетПереСветПетушинский металлический заводПЗИППЗЭМИПЛЮС ВОЛЬТПлюсМинус (Красноярск)ПожспецкабельПолигонПолисервисПОЛИТРОНПРАКТИКАПРИМА-ЦЕНТРПровод-КПрокопьевский з-дПромрукавПромстройкабельПромэлПРОТОНПротэкт НПОПсковский кабельный заводПульсар (Н. Новгород)ПЭЩ (Ростов-на-Дону)РадиусРакасРевдинский завод светотехнических изделийРегионКомплект (Самара)РЕГИОНСПЕЦПРОМ (Курск)Режевское предприятие “Элтиз”РефлаксРЗМКПРиэлтаРОКСАРосскатРосспластикРОСТРостов-ДонРосэнергосистемы (РЭС)РТИРубежРусские монтажные конструкции (Белгород)РЫБИНСККАБЕЛЬРЭК/PrysmianСамарский трансформаторСанкомСарансккабельСаросСветоводСветовые ТехнологииСветонСветорезервСеверСеверная АврораСевкабельСегментЭнергоСенсорСенсор НППСЗТТСЗЭМОСибирский АрсеналСибЭлектроСибэлектромоторСибЭС (Красноярск)Сигма-ИССистем ИнжинирингСистемсервисСКК/ФАРИАЛЬСмартЭлектроСМДСовременные методы автоматизации (Самара)СолексСОЭМИСоюз-Электро (СПб)Спектр-ЭлектроСпектронСпецавтоматикаСпецинформатика-сиСпецкабельСпецприбор-комплектСпецсистемыСПКБ КвазарСПКБ ТехноСПЭКССТСтандартСторгеСТРИМ (Ростов-на-Дону)СЭЛЗСЭЩ (Саратов)Таврида ЭлектрикТайко ЭлектрониксТайпитТаткабельТАУТахионТверьэнергокабельТД “Ферекс”ТД Электро (Новосибирск)ТекоТелеинформсвязьТепломашТЕСЛА (Казань)Техинвест-МТехинформТехма-СветТехникТехнокабель ННТехнологии СветаТехнос-МТираспольский электроаппаратный заводТирэксТольяттинский ТрансформаторТомский кабельный заводТПКТрансвитТритонТромбон (Оникс)ТрэйдКонТСРКТЭКТЭЛЗТЭМЗУЗОЛАУК Лад (Псков)Ультра ЛАЙТУПП-5УралКабельУралСпецКомплект (Оренбург)УралэлектроУралЭнергоЩит (Екатеринбург)УЭЛЗФ КабельФактор СпецэлектроникаФилипс и ОптоганФокусХортъЦветлитЦентрстройсветЦентрЩитМонтажЦерсЧелЗЭО (Челябинск)ЧЭАЗШТОКЩитЭлектро (Петрозаводск)ЭЗОИСЭколайтЭксвайерЭЛЕКТЭлектро (Вологда)ЭлектродетальЭлектрозаводЭлектрозащитаЭлектроиндустрия (Москва)ЭлектроинтерЭлектрокабель г. ТомскЭлектрокабель КольчугиноЭлектрокабель Нижний НовгородЭлектроконтакторЭлектрооборудованиеЭлектроприборЭлектропривод НПЦ-21ЭлектропромЭлектроспектрЭлектротехмашЭлектротехникЭлектротехника и АвтоматикаЭлектрофарфорЭлектрощит (Волгоград)Электрояр (Набережные Челны)ЭлетехЭликсЭЛиПСЭлкабЭлкомЭлпрокабельЭлпромЭЛТИ (ФКУ ИК-1 Кострома)ЭМ-КабельЭнерго ТД (Белгород)ЭнергозащитаЭнергокабельЭнергокомплекс (Рязань)ЭнергокомплектЭнергомераЭНЕРГОН (Нижний Новгород)ЭнергоПромИнтеграция (Казань)ЭнергоТехКомплектЭнерготехникаЭнергоцентр (Петрозаводск)ЭпотосЭПС (Чебоксары)ЭрвистЭриданЭркадоЭС (Липецк)ЭТАЭТАЛЭталонЭтернисЭтра-спецавтоматикаЭТС (Тольятти)ЮВЭЛТЮгСпецЗащитаЮгЭнергоПром (Ростов-на-Дону)ЮИКЮлимакЮМАЮмирсЮнитекЮнитестЯлуторовскагропромэнерго

Подобрать кабель

Введите запрос:

Подобрать

Студийный микрофон Neumann TLM 103

  • Дом
  • микрофоны
  • ТЛМ 103

Современная классика

TLM 103 быстро стал одним из самых успешных в истории компании Neumann. Его первозданный чистый звук — это современное обновление классического U87. TLM 103 — это бестрансформаторный кардиоидный конденсаторный микрофон с мягким усилением присутствия для потрясающе прямого звука с захватывающей дух четкостью и сверхнизким уровнем шума.

Описание дилера

Новый стандарт

Представленный в 1997 году как доступная альтернатива почтенной модели U 87, TLM 103 с тех пор сам по себе стал современной классикой. Сегодня TLM 103 определяет стандарт, по которому измеряются современные студийные микрофоны. Его классический конический дизайн решетки радиатора придает TLM 103 характерный вид Neumann.

TLM 103 представляет собой кардиоидный микрофон с конденсаторным капсюлем с большой диафрагмой, созданным на основе классического капсюля K67/87 легендарного Neumann U 87. Однако TLM 103 имеет чуть более современное звучание с широким усилением присутствия на частотах выше 5. кГц. Его прямолинейный, но утонченный звук идеально подходит для вокала и сольных инструментов, которые легко выделяются из микса. Конечно, TLM 103 также имеет знаменитый авторитетный среднечастотный диапазон, который стал визитной карточкой микрофонов Neumann и сделал их выбором номер один в студиях по всему миру. Уникальной особенностью TLM 103 являются его впечатляюще глубокие, но контролируемые низкие частоты, идеально подходящие для звучных голосов и мощных басовых инструментов.

Техническое совершенство

TLM 103 также установил новые стандарты технических характеристик. Благодаря невероятно низкому собственному шуму, составляющему всего 7 дБ-А, он является одним из самых тихих доступных микрофонов. А его высокая чувствительность 23 мВ/Па обеспечивает сверхнизкий уровень шума даже при использовании недорогих предусилителей и аудиоинтерфейсов или винтажного лампового оборудования. В то же время TLM 103 может работать с огромными уровнями звукового давления до 138 дБ без необходимости предварительного затухания. Его широкий динамический диапазон в 131 дБ делает TLM 103 очень простым в использовании студийным микрофоном, поскольку он улавливает все, от тихого шепота до громоподобного басового барабана, без добавления шума или искажений.

Являясь членом серии Neumann TLM, TLM 103 работает с бестрансформаторным выходным каскадом, который сводит к минимуму потери при передаче и обеспечивает очень мгновенный неокрашенный звук, верный оригиналу, а также чистый, мощный басовый отклик даже при самые высокие уровни сигнала.

Приложения

TLM 103 в первую очередь разрабатывался для проектных студий и вещания, но благодаря своим выдающимся характеристикам вскоре был принят известными студиями как более современная альтернатива U87, например. для речи, вокала, ударных, гитарных усилителей и фортепиано. TLM 103 также часто используется в качестве точечного микрофона в классических записях, например. для виолончели и контрабаса.

  • Капсюль с большой диафрагмой, заимствованный у классического микрофона U 87
  • Сбалансированный звук с улучшенным присутствием
  • Кардиоидная диаграмма
  • Бестрансформаторная схема с высоким уровнем звукового давления
  • Чрезвычайно низкий собственный шум: всего 7 дБ-A

Акустический принцип работы Датчик градиента давления
Направленный шаблон Кардиоидная
Диапазон частот 20 Гц . .. 20 кГц
Чувствительность при 1 кГц в 1 кОм 23 мВ/Па = –32,5 дБВ ± 1 дБ
Номинальное сопротивление 50 Ом
Номинальное сопротивление нагрузки 1 кОм
Эквивалентный уровень шума, CCIR 1 17,5 дБ
Эквивалентный уровень шума, A-взвешенный 2 7 дБ-A
Максимальный уровень звукового давления для THD 0,5% 3 138 дБ
Отношение сигнал/шум, CCIR (отн. 94 дБ SPL) 4 76,5 дБ
Отношение сигнал/шум, A-взвешенное (относительно 94 дБ SPL) 5 87 дБ
Максимальное выходное напряжение 13 дБн
Напряжение питания (P48, IEC 61938) 48 В ± 4 В
Потребляемый ток (P48, IEC 61938) 3 мА
Соответствующий разъем XLR 3 F
Масса ок. 450 г
Диаметр 60 мм
Длина 132 мм

1) согласно МЭК 60268-1; CCIR-взвешивание согласно CCIR 468-3, квазипик; A-взвешивание согласно IEC 61672-1, среднеквадратичное значение

2) согласно МЭК 60268-1; CCIR-взвешивание согласно CCIR 468-3, квазипик; A-взвешивание согласно IEC 61672-1, RMS

3) измеряется как эквивалент эл. входной сигнал

4) согласно МЭК 60268-1; CCIR-взвешивание согласно CCIR 468-3, квазипик; A-взвешивание согласно IEC 61672-1, RMS

5) согласно МЭК 60268-1; CCIR-взвешивание согласно CCIR 468-3, квазипик; A-взвешивание согласно IEC 61672-1, RMS

Диаграммы

Кардиоидная TLM 103

DS 120

Двойное крепление

EA 1

Амортизатор

EA 4

Амортизатор

IC 3 м

Микрофонный кабель

IC 4

Микрофонный кабель

MF 3

Настольная подставка

MF 4

Напольная подставка

MF 5

Напольная подставка

MNV 87

Вешалка для аудитории

PS 15

Попскрин

PS 20 a

Попскрин

SG 2

Крепление на стойку

STV 20

Удлинитель стойки

STV 4

Удлинитель стойки

STV 40

Удлинитель стойки

STV 60

Удлинитель стойки

WS 87

Ветровое стекло

Z 26 м

Амортизатор

Описание

Аксессуары

Загрузки

Информация о заказе

Выбрать другой продукт

ПРЕДУПРЕЖДЕНИЕ (только для жителей Калифорнии): Этот продукт может подвергнуть вас воздействию химических веществ, включая свинец, который, как известно в штате Калифорния, вызывает рак, врожденные дефекты и другие нарушения репродуктивной функции. Для получения дополнительной информации посетите веб-сайт: www.p65warnings.ca.gov.

Популярные товары

TLM 103

Современный студийный стандарт

KH 310 A

Монитор ближнего поля высокого разрешения с тройным усилением, оптимизированный для средних частот и сухих басов.

KM 184 (серия 180)

Современный конденсаторный микрофон с малой диафрагмой

U 87 Ai

Абсолютный студийный стандарт во всем мире. На 50 лет!

KH 120 AG

Мощный компактный студийный монитор с двойным усилением и превосходной импульсной характеристикой и разрешением.

KH 120 A Вт

Мощный компактный студийный монитор с двойным усилением и превосходной импульсной характеристикой и разрешением.

TLM 102

Маленький размер — большой звук: самый доступный микрофон Neumann с большой диафрагмой

MA 1

Начало новой эры в мониторинге

TLM 49 Set

Звук нашей классической ламповой музыки 1950-х годов, воссозданный с помощью безотказной схемы на полевых транзисторах

ПОДПИСАТЬСЯ НА НАШУ РАССЫЛКУ

Прочитано и принято политика конфиденциальности

Datavideo TLM-102 Двойной 10,1-дюймовый монитор – Видеомониторы

Категории

  • Специальное предложение

  • Новости

  • ПЕРЕДАЧА:

  • Наборы FM-передатчиков для кинотеатров

  • FM-передатчики

  • Цифровое радио DAB/DAB+

  • Телевизионные передатчики + аксессуары

  • Передатчики AM / SW

  • RDS и стереокодер

  • Спутниковое оборудование

  • Антенны и фильтры

  • В ЭФИРЕ Вещательные процессоры

  • РЧ-радиоканалы аудио + видео

  • Антенные мачты и башни

  • Приемники FM и DAB и ретрансляторы

  • Радиосвязь

  • РЧ-кабели и разъемы

  • Радиочастотный мониторинг/измерение

  • Имитационные грузы

  • РАДИООБОРУДОВАНИЕ:

  • Микшеры/консоли

  • Радиочастотные инструменты

  • Микрофоны

  • Наушники

  • Наушники

  • Студийные мониторы

  • Программное обеспечение радио

  • Решения для радио под ключ

  • Аудиокодеки IP и ISDN

  • Аудиокарты и интерфейсы

  • Стойки для микрофона и монитора

  • Мебель для студии

  • Аксессуары для студии

  • Экипировка репортера и комментатора.

  • ТВ ОБОРУДОВАНИЕ:

  • Программное обеспечение и системы для ТВ

  • ТВ под ключ

  • ТВ-микшеры Коммутаторы Маршрутизаторы

  • Камеры и аксессуары

  • Фары

  • Микрофоны для ТВ

  • IP-передача видео

  • Видео конвертеры

  • Видеомониторы

  • Аксессуары для производства телевизоров

  • Видео Разное

  • Видеокабель + разъемы

  • РАЗНОЕ:

  • Стойки и корпус

  • Аудиоусилители

  • Использованные передатчики

  • Компьютеры + серверы

  • Сеть + Беспроводная связь

  • Динамики PA

  • ИБП/стабилизаторы/защита

  • Повторители GSM

  • Электроника Разное.

  • Система Новус

  • Фогель

  • х

Groco – Монитор уровня резервуара для хранения TLM, номер по каталогу TLM-10

В серии TLM используется простая и надежная технология измерения уровня (поплавки) для индикации уровня в резервуаре. Предназначен для установки наверху резервуара в порт с внутренней резьбой 1-1/2″ NPT. Индикаторная панель с прокладками подходит для выреза в стене размером 2-1/16″ x 3-3/8″ и подходит для использования во влажной среде. Например, в комбинированных душевых/головных отсеках. Чтобы активировать измельчитель/нагнетательный насос (макс. потребляемый ток двигателя 20 А), нажмите кнопку «Откачать». Насос будет работать, только пока нажат переключатель «Откачка». Для использования в резервуарах. Глубина 10–12 дюймов. Отправители нестандартной длины доступны ТОЛЬКО ПО СПЕЦИАЛЬНОМУ ЗАКАЗУ.

В серии TLM используется простая и надежная технология измерения уровня (поплавки) для индикации уровня в баке. Предназначен для установки наверху резервуара в порт с внутренней резьбой 1-1/2″ NPT. Индикаторная панель с прокладками подходит для выреза в стене размером 2-1/16″ x 3-3/8″ и подходит для использования во влажной среде. Например, в комбинированных душевых/головных отсеках. Чтобы активировать измельчитель/нагнетательный насос (макс. потребляемый ток двигателя 20 А), нажмите кнопку «Откачать». Насос будет работать, только пока нажат переключатель «Откачка». Для использования в резервуарах. Глубина 10–12 дюймов. Отправители нестандартной длины доступны ТОЛЬКО ПО СПЕЦИАЛЬНОМУ ЗАКАЗУ.

Доставка в пределах США

Рекламная доставка (например, бесплатная доставка) применяется только к заказам, отправляемым в пределах континентальной части США, и не распространяется на Аляску, Гавайи, Пуэрто-Рико или Виргинские острова США. . Все поставки на Аляску или Гавайи и любые другие территории, находящиеся под контролем Соединенных Штатов, могут быть сопряжены с дополнительными расходами на доставку в зависимости от местоположения, веса и размеров посылки после ее отправки. Имейте в виду, что из-за удаленности вышеуказанных мест доставка груза может занять не менее 5 рабочих дней.

Стоимость срочной доставки, предоставленная MMarine , является ориентировочной. Вы будете уведомлены, если фактическая стоимость доставки превышает расчетную стоимость доставки. Мы никогда не будем взимать повышенную стоимость доставки без вашего согласия!

Международная доставка

Если ваш адрес доставки находится за пределами США, могут взиматься дополнительные налоговые сборы, не зависящие от нас, для получения вашего заказа после доставки. Обратите внимание, что стоимость доставки, указанная на нашем веб-сайте, НЕ ВКЛЮЧАЕТ таможенные сборы, пошлины, брокерские и импортные сборы. Поскольку эти дополнительные обязанности непредвиденны и не связаны с MMarine Online, ответственность за уплату всех применимых пошлин, налогов и брокерских сборов, которые могут взиматься при доставке и/или получении вашего заказа, лежит на получателе.

Стоимость международной доставки, указанная на нашем веб-сайте, является приблизительной. Вы будете уведомлены, если фактическая стоимость доставки превышает расчетную стоимость доставки. Мы никогда не будем взимать повышенную стоимость доставки без вашего согласия!

Возврат

25% КОМИССИЯ ЗА ВОЗВРАТ БУДЕТ ПРИМЕНЯТЬСЯ КО ВСЕМУ ВОЗВРАТУ . Возвраты, сделанные в течение 30 дней с даты покупки, будут возмещены чеком. Любые возвраты, инициированные по истечении 30 дней с момента покупки, не принимаются. БЕЗ ИСКЛЮЧЕНИЙ.  Мы оставляем за собой право отказать в возврате или начислить дополнительные сборы по нашему усмотрению в зависимости от состояния возвращенных товаров.

Если вам нужно вернуть товар, пожалуйста, Свяжитесь с нами с вашим номером заказа и подробной информацией о товаре. Мы ответим с инструкциями о том, как вернуть товар(ы). Пожалуйста, убедитесь, что товары возвращены в оригинальной упаковке и должным образом защищены для обратной отправки. Страховка ДОЛЖНА быть применена к вашему возврату, и информация об отслеживании вашего возврата должна быть предоставлена ​​​​MMarine Online по электронной почте на info@mmarineonline. com

Повреждения

Мы тщательно проверяем каждый предмет(ы) перед отправкой, чтобы убедиться и гарантировать, что товар(ы) не имеет косметических повреждений и/или недостающих частей. Несмотря на то, что мы принимаем дополнительные меры для обеспечения безопасной и надежной доставки вашего продукта, возможны проблемы во время доставки, хотя и редкие.

При получении отправлений от MMarine Online и наших партнерских перевозчиков крайне важно, чтобы вы  НЕМЕДЛЕННО  осмотрите упаковку на наличие повреждений ДО  перед подписанием и до принятия доставки от перевозчика. В случае наличия каких-либо повреждений НЕОБХОДИМО отметить их на бланке носителя и сообщить об этом в MMarine Online НЕМЕДЛЕННО . Если повреждение обнаружено после получения груза, об этом НЕОБХОДИМО сообщить в MMarine Online в течение 72 часов с момента доставки. В случае сообщения о повреждении по истечении 72 часов с момента доставки MMarine Online не несет никакой ответственности за замену и/или дальнейшее обслуживание вашего заказа.

Обязательно задокументируйте повреждения, это означает, что фотографии внешнего вида коробки ДОЛЖНЫ быть предоставлены вместе с фотографиями видимых повреждений. Крайне важно, чтобы ВСЯ упаковка – пузырчатая пленка, коробка и поддон были сохранены, как того требует страховая компания, чтобы подать и успешно подать иск о возмещении ущерба.

Мы заменим дефектные изделия на аналогичную модель и стиль ТОЛЬКО .

Если ваша посылка осталась без подписи и обнаружены повреждения, свяжитесь с нами в течение 48 часов по телефону (305)999-5212 или по электронной почте [email protected]. Ваша посылка должна быть неоткрытой, неиспользованной и оставаться в том же состоянии, в котором она была доставлена, пока вы не сообщите о претензии в MMarine Online.

Возврат электронных устройств — Политика серийных номеров

При возврате всех электронных устройств серийные номера должны совпадать с серийными номерами первоначально отгруженных продуктов, которые подлежат проверке; если серийные номера не совпадают, возврат средств не производится.

Добавить комментарий

Ваш адрес email не будет опубликован. Обязательные поля помечены *