Треугольные шлицы гост: Шлицевые соединения | ZUBIX
alexxlab | 09.07.2023 | 0 | Разное
| Главная >> Резьбовые соединения >> Шлицевые соединения | |||||||||||||||||||||||||||||||||||||||||||||||||||||||||||||||||||||||||||||||||||||||||||||||||||||||||||||||||||||||||||||||||||||||||||||||||||||||||||||||||||||||||||||||||||||||||||||||||||||||||||||||||||||||||||||||||||||||||||||||||||||||
Шлицевые (зубчатые) соединения способны передавать большие вращающие моменты и обеспечивают хорошее центрирование детали на валу. Они могут быть подвижными и неподвижными. По мере профиля шлицев различают соединения:
Способы центрирования прямобочных шлицевых соединений.
Допуски и посадки для шлицевых соединений с эвольвентным профилем устанавливаются по ГОСТ 6033-80. Их условное обозначение содержит номинальный (равный наружному) диаметр соединения D=m(z+l), модуль, обозначение посадки и номер стандарта. Например: 1. Износ или смятие шлицев на валах. При значительном и износе производят дуговую наплавку (лучше электродами ЦН-250 или ЦН-300) с последующей механической обработкой шлицев. При износе по ширине паза до 0,5-1 мм производят раздачу шлицев (вдоль по наружной поверхности) отожженного вала зубилом с последующей заваркой образующейся при этом канавки и механической обработки шлицев. При незначительном износе (0,1-0,2 мм) шлицы восстанавливают электроискровым наращиванием с последующим шлифованием.2. При наличии забоин, заусенцев, острых краев на поверхности шлицев их запиливают, а на торцах вала и втулки снимают фаски. 3. При износе шлицев во втулке продавливают на прессе отверстие (по внутреннему диаметру) прошивкой, а затем калибруют шлицевой протяжкой. Допускаемый износ элементов шлицевых прямобочных соединений приведен в таблице. Допускаемый износ элементов шлицевых прямобочных соединений, мм
Смотрите также: | |||||||||||||||||||||||||||||||||||||||||||||||||||||||||||||||||||||||||||||||||||||||||||||||||||||||||||||||||||||||||||||||||||||||||||||||||||||||||||||||||||||||||||||||||||||||||||||||||||||||||||||||||||||||||||||||||||||||||||||||||||||||
| [email protected] © 2013 | |||||||||||||||||||||||||||||||||||||||||||||||||||||||||||||||||||||||||||||||||||||||||||||||||||||||||||||||||||||||||||||||||||||||||||||||||||||||||||||||||||||||||||||||||||||||||||||||||||||||||||||||||||||||||||||||||||||||||||||||||||||||
Гост 1139-80. основные нормы взаимозаменяемости. соединения шлицевые прямобочные. размеры и допуски (с изменениями n 1, 2)
Содержание:
- ПРИЛОЖЕНИЕ 2 (рекомендуемое).
РЕКОМЕНДАЦИИ ПО КОНТРОЛЮ ШЛИЦЕВЫХ СОЕДИНЕНИЙ - Характеристики шлицевых соединений
- Применение
- Достоинства и недостатки
- 2. ДОПУСКИ
- Классификация
- Прямобочные – прямозубые
- Эвольвентные
- Треугольный профиль
ПРИЛОЖЕНИЕ 2 (рекомендуемое). РЕКОМЕНДАЦИИ ПО КОНТРОЛЮ ШЛИЦЕВЫХ СОЕДИНЕНИЙ
ПРИЛОЖЕНИЕ 2Рекомендуемое
1. Шлицевые соединения контролируют комплексными калибрами, при этом поэлементный контроль осуществляют непроходными калибрами или измерительными приборами.В спорных случаях контроль комплексным калибром является главным.
2. При использовании комплексных калибров отверстие считают годным, если комплексный калибр-пробка проходит, а диаметры и ширина паза не выходят за установленные верхние пределы; вал считают годным, если комплексный калибр-кольцо проходит, а диаметры и толщина зуба не выходят за установленные нижние пределы.
3. Комплексные калибры должны соответствовать ГОСТ 24960-ГОСТ 24968.
(Введен дополнительно, Изм. N 2).
Характеристики шлицевых соединений
Гост 1643-81. основные нормы взаимозаменяемости. передачи зубчатые цилиндрические. допуски
По своей конструкции и способу передачи вращательного момента, шлицевые соединения можно отнести к многошпоночным. Несколько плоскостей взаимодействия при вращении, только вместо большого количества пазов и шпонок в них, только шлицевый вал и втулка. Шпонки отсутствуют, их заменяют шлицевые пазы и зубья, вырезанные непосредственно на сопрягаемых деталях. Конструкция позволяет значительно сократить погрешность изготовления и дает возможность перемещаться втулке вдоль оси вала, не прекращая радиальное движение.
Размеры шлицов определяются внутренним диаметром вала, их количеством и формой. В шлицевом соединении образуется несколько плоскостей контактов. Возможность передачи большого крутящего момента возрастает по сравнению со шпонками в несколько раз.
Зуб шлица нарезается фрезами на зуборезных станках и протяжкой.
Для подвижных узлов делается последующая шлифовка боковых поверхностей. Длина зубьев может быть любой, у неподвижных шлицевых соединений равна высоте ступицы колеса. При скольжении шестерни вдоль оси, длина нарезанных выступов на валу определяется размером перемещения шестерни, ее высотой и технологическим припуском, равным радиусу фрезы для ее выхода при обработке.
Диаметр вала по наружной поверхности равен размеру втулки по впадинам. Втулка со шлицами в точности копирует своим отверстием профиль вала и плотно надевается на него. Шлицевые канавки по отверстию нарезаются на долбежном станке. Технология изготовления длительная, требует большой точности, которую не может обеспечить долбяк, поскольку длина резца большая относительно его сечения. При попытке ускорить обработку, сделать больше заход и подачу, инструмент отжимает, размер получается в минус.
При проектировании узла и подборе пар, основным параметром является внутренний диаметр по шлицам. Его рассчитывают на кручение и изгиб.
Шлицевая втулка подвергается меньшим по силе воздействиям. Она выбирается по справочнику. Детали делают из среднеуглеродистых малолегированных сталей: Ст 45, Ст40Х, Ст 40ХН. Они имеют относительно высокую вязкость и низкую хрупкость в нормализованном состоянии и после объемной закалки на воздух при твердости 320–350 HB.
Определить количество зубьев при проектировании можно по таблицам. Они разделены для каждого внутреннего диаметра на 3 группы по нагрузкам:
- легкая;
- средняя;
- тяжелая.
Чем больше крутящий момент нужно передавать, тем выше сам шлиц и больше их количество. За счет этого увеличивается площадь контакта.
Зубчатые соединения рассчитываются с учетом погрешности изготовления. Между поверхностями сопряженных деталей имеется зазор соединения. При повороте ведущей детали он смещается в противоположную сторону от направления действия силы. В идеале все поверхности соприкасаются и нагружены одинаково. По факту зубчатые соединения изготавливаются с погрешностью в 0,01–0,03 мм, в зависимости от размера и способа обработки.
Муфта одной плоскостью соприкасается сильнее, другими меньше. При расчете прочности выбирается по таблице поправочный коэффициент, позволяющий рассчитать параметры деталей на прочность с учетом неравномерных сил нагрузок.
Зазор в соединении определяет размер холостого хода. Начиная двигаться, ведущая деталь сначала выбирает просвет между рабочими плоскостями, затем начинается силовое воздействие и вращение ведомой детали и всего узла.
Применение
Гост 6636-69 основные нормы взаимозаменяемости. нормальные линейные размеры
Необходимость в применении зубчатых соединений возникает, когда надо передать большой крутящий момент и предъявляются высокие требования к соосности ведущей и ведомой детали и точности движения. Шлицы позволяют втулке перемещаться вдоль оси, изменяя передаточное число зацепления без остановки механизма. Благодаря этому они применяются в коробках передач автомобилей, станков, загрузочных агрегатов.
Распределение нагрузки относительно оси вращения равномерное, по количеству зубьев, исключается радиальное биение.
Это используется в точных приборах, где необходима точность.
Вращение с помощью треугольных зубцов встречается в бытовых приборах, электроинструменте:
- миксеры;
- газонокосилки;
- дрели;
- роботы-пылесосы.
Во всех областях машиностроения, станкостроения, машинах и других средствах передвижения применяется компактный и мощный узел передачи вращения.
Достоинства и недостатки
Гост 6211-81 (ст сэв 1159-78) основные нормы взаимозаменяемости. резьба трубная коническая
При конструировании механизмов, передающих вращение с высокой нагрузкой, чаще всего останавливаются на выборе шлицевого соединения. Оно имеет в определенных случаях огромные преимущества и может заменить несколько шпоночных соединений. Недостатки также имеются. Надо взвешивать все аргументы за и против, выбирая способ соединения.
В сравнении со шпонками, к достоинствам шлицевых соединений относятся:
- надежность при ударных нагрузках и вибрации;
- возможность уменьшить длину ступицы;
- малые радиальные зазоры;
- увеличение срока эксплуатации;
- отсутствие нагрузки на срез и малая на изгиб благодаря большому пятну контакта;
- несколько линий приложения сил, возможность передавать большие усилия валами с малым диаметром;
- осевое перемещение;
- в соединении только 2 детали;
- компактность;
- точная центровка.

Шлицы изготавливаются по ГОСТ и Стандартам, имеют строго нормализованные размеры и детали для соединения легко подобрать. Упрощена сборка узлов и подгонка деталей.
К недостаткам шлицевых соединений относятся:
- высокая стоимость деталей;
- сложная технология изготовления;
- использование специального оборудования и инструмента.
При перегрузках шпонка просто срезается, не допуская передачи повышенной нагрузки на рабочий механизм и предотвращая его поломку. Деталь простая и дешевая, легко меняется.
В шлицевых соединениях при аварийной ситуации может сломаться зуб или весь станок. Замена деталей сложная и дорогостоящая.
2. ДОПУСКИ
2.1.Общие положения, допуски и основные отклонения размеров d, D, b шлицевого соединения — по ГОСТ 25346.
2.2. Поля допусков шлицевых валов и втулок для образования посадок при различных видах центрирования должны соответствовать указанным в табл. ; ; .
Поля допусков, заключенные в квадратные скобки, являются рекомендуемыми, а поля допусков, отмеченные звездочками — предпочтительными из числа рекомендуемых (поля допусков, применяемые в ИСО).
Поля допусков шлицевых валов и втулок для образования посадок при центрировании по внутреннему диаметру
Подвижное | Неподвижное | |||||||||||||||||||
Поля допусков | d | Втулка | Н8 | * | * | |||||||||||||||
Вал | е8 | * | * | h7 | * | js7 | n6 | |||||||||||||
b | Втулка | D10 | * * | D9 F10 | * * | D9 F10 | H8 * * | F8 F10 | F8 | |||||||||||
D9 | F8 | F8 | H8 | |||||||||||||||||
Вал | d9 | е8 | f7 | f7 | f8 | f7 | * | f8 | h6 | h7 | h7 | |||||||||
f8 | * | |||||||||||||||||||
е8 | f8 | h9 | h7 | * | h8 | js7 | ||||||||||||||
е9 | h9 | h9 | * | h8 | * | |||||||||||||||
Примечания:
.
Поля допусков F10 и Н11 применяются только для закаленных нешлифованных втулок.
. Поле допуска h9 применяется при чистовом фрезеровании незакаленных шлицевых валов.
Поля допусков шлицевых валов и втулок для образования посадок при центрировании по наружному диаметру
Подвижное | Неподвижное | |||||||||
Поля допусков | D | Втулка | Н8 Н10 Н11 | |||||||
Вал | d8 е8 h7 | n6 | ||||||||
b | Втулка | D9 F8 Н11 | F8 | D9 | D9 | D9 | D9 | |||
D9 | F8 | |||||||||
F8 | F8 | |||||||||
Вал | d8 е8 d10 | е8 | h8 | f7 h8 h9 | f7 | h8 | h8 | |||
h9 | h8 | f7 | ||||||||
js7 |
Примечания:
.
Поля допусков h20 и h21 применяются только для закаленных втулок, не подлежащих дополнительной обработке.
. Поле допуска h9 применяется при чистовом фрезеровании незакаленных шлицевых валов.
Таблица 5а
Поля допусков шлицевых валов и втулок для образования посадок при центрировании по боковым сторонам шлицев
Подвижное | Неподвижное | ||||||||||
Поля допусков размера | Втулка | F8 | D9 | F10 | |||||||
Вал | d9 | e9 | k7 | ||||||||
f9 | h8 | h9 | |||||||||
Примечание. Рекомендуется применять поле допуска е9 для незакаленных валов.
(Измененная редакция, Изм. № 2).
2.3. Рекомендуемые посадки валов и втулок приведены в приложении .
2.4. Поля допусков нецентрирующих диаметров должны соответствовать указанным в табл. .
Вид центрирования | Поле допуска | |||
Вал* | Втулка | |||
Подвижное соединение | Неподвижное соединение | |||
d | По D или b | — | — | Н11 |
D | По d или b | * d10 f9 | * f9, h20 | *, Н11 Н12 |
__________
* Диаметр d не менее диаметра d1.
(Измененная редакция, Изм. № 2).
2.4.1. Допуски симметричности боковых сторон шлицев в диаметральном выражении по отношению к оси симметрии центрирующего элемента должны соответствовать указанным в табл.
.
2,5; 3 | 3,5; 4; 5; 6 | 7; 8; 9; 10 | 12; 14; 16; 18 | |
IТ7 | 0,010 | 0,012 | 0,015 | 0,018 |
(Введен дополнительно, Изм. №2).
2.5. При длине шлицевого вала или втулки, превышающей длину комплексного калибра, предельные отклонения от параллельности сторон зубьев вала и пазов втулки относительно оси центрирующей поверхности не должны превышать на длине 100 мм:
,03 мм — в соединениях повышенной точности с допусками на размер b от IT6 до IT8;
,05 мм — в соединениях нормальной точности с допусками на размер b от IT9 до IT10.
2.6. Рекомендации по контролю шлицевых соединений приведены в приложении .
2.7. Пример условного обозначения соединения с числом зубьев z = 8, внутренним диаметром d = 36 мм, наружным диаметром D = 40 мм, шириной зуба b = 7мм, с центрированием по внутреннему диаметру, с посадкой по диаметру центрирования по нецентрирующему диаметру и по размеру b
— 8×36××7
То же, при центрировании по наружному диаметру с посадкой по диаметру центрирования и по размеру b
(Поправка).
То же, при центрировании по боковым сторонам:
b — 8×36×40×7
Пример условного обозначения втулки того же соединения при центрировании по внутреннему диаметру:
d — 8×36Н7×40 Н12×7 Н9
То же, вала:
d — 8×36 f7×40a11×7 f9.
(Измененная редакция, Изм. № 2).
2.8. Допускается при необходимости обеспечения взаимозаменяемости в изделиях, спроектированных до 1 января 1980 г., выполнять шлицевые элементы деталей по ГОСТ 1139.
(Введен дополнительно, Изм. № 1).
Классификация
Детали шлицевых узлов нормализованы – существует определенный список типоразмеров, с соответствующими парами. Под них изготавливается инструмент и настраивается оборудование. В зависимости от условий работы и нагрузок, шлицевые соединения на несколько групп. Они характеризуются:
- формой зуба;
- базовыми поверхностями;
- возможностью смещения вдоль оси.

Форма выступа определяется по шлицевому валу. Втулка имеет только соответствующие вырезы – пазы. Характеристики определяются видами шлицов:
- прямые или прямобочные;
- эвольвентные;
- треугольные.
Классификация производится по форме зуба в сечении поперек соединения.
Прямобочные – прямозубые
У прямобочных шлицевых соединений зуб в поперечном сечении представляет собой прямоугольник. Ширина по всей высоте одинаковая. Встречаются в механизмах чаще всего, поскольку изготовление относительно простое. Прямозубые шлицевые соединения различают по величине нагрузки: малая, средняя, высокая.
По способу движения вдоль оси различают типы соединений:
- неразъемные;
- подвижные без нагрузки;
- подвижные под нагрузкой.

Неразъемные используют в редукторах и других узлах при передаче вращения между постоянной парой деталей.
Примером подвижных соединений без нагрузки служат коробки скоростей станков. При переключении смещается вал, и другая пара вступает в зацепление. Изменяется передаточное число и скорость вращения патрона или шпинделя.
Коробка скоростей автомобиля не требует полной остановки для переключения. Происходит передвижение втулки относительно оси вращения без остановки, под нагрузкой.
К классификации шлицевых соединений относится и способ центровки. Он может быть:
- по внутреннему диаметру – d;
- по наружному диаметру – D;
- по боковым сторонам, ширине зуба – b.
При центровке по внутреннему диаметру минимальные допуска на изготовление даются на размер вала по впадине и внутренний диаметр втулки. Просвет образуется между вершиной зуба на валу и дном шлица. Точность соединения достигается шлифовкой отверстия втулки на внутришлифовальном станке.
Обработка меньшего диаметра на валу производится абразивным кругом вдоль оси.
При центровке по наружному диаметру плотное прилегание происходит по вершине выступа на валу и диаметром по впадине на втулке. В этом случае производится наружная шлифовка вала и чистовая обработка – долбежка, втулки.
Шлицы изготавливаются с высокой точностью по ширине зуба и его расположения относительно оси. Втулка запрессовывается на вал. По обоим диаметрам имеются зазоры.
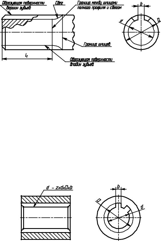
На чертеже показывается поперечное сечение соединения с одним зубом и диаметрами пунктирной линией. Втулка заштриховывается. Прямозубые шлицевые соединения на основном виде обозначают выносом линии с характеристиками. Расшифровка включает в себя буквенное обозначение способа центровки, количество и ширина шлицев, размер внутреннего и наружного диаметра с указанием класса точности и чистоты обработки всех поверхностей.
Эвольвентные
Соединение получило свое название за форму боковой поверхности в виде эвольвенты, как у цилиндрического зубчатого зацепления.
Большая площадь контакта и широкий зуб в основании позволяет передавать огромное усилие. Зуб отличается высокой прочностью на изгиб.
Изготавливают шлицевые валы на зубофрезерных станках. Получается высокая точность при использовании стандартного оборудования. Центрирование делается по наружному диаметру для механизмов, работающих с высокой точностью, и по боковой поверхности для сильно нагруженных узлов. Соединение неподвижное. При боковом смещении возникает большая сила трения.
На чертеже указывается один зуб и его форма, по аналогии с прямозубыми зацеплениями. Кроме диаметров и классом обработки под выносной линией указывается ГОСТ, по которому изготавливались шлицы.
Треугольный профиль
Для передачи вращения тонкостенными ступицами изготавливаются шлицевые соединения с треугольным профилем. Они соединяются неподвижно и используются для маломощных усилий, требующих большой точности передачи вращения.
Изготавливается зуб по отраслевым стандартам с углом: 30°, 36° и 45°.
Зубья мелкие, количество большое, в пределах 20 – 70 шт. центрирование производится только по боковым поверхностям.
Стоят на приводе стеклоочистителя в автомобилях, торсионных валах триммеров.
Triangle Shell – Destiny 2 Legendary Ghost Shell
Удалить всю рекламуПохожие коллекционные предметы
- Содержится в
- Связанные поставщики
- Отзывы (1)
- Манифест
Призрачные оболочки
Призрачные оболочки, получаемые за яркие энграммы.
–
Базовый
–
Призрачные оболочки
Призрачные оболочки, получаемые за яркие энграммы.
–
Базовый
–
Чтобы добавить отзыв, войдите в свою учетную запись Bungie.
Забаненный пользователь {{Комментарий.ОтображаемоеИмя}}<Ниже минимального порога голосов — щелкните для просмотра>
{{Комментарий. Голоса}}
Отвечать
Редактировать
Удалить
Отчет Опубликовано {{Comment.DateCreated | removeTime}} (Сезон {{Comment.
SeasonID}})
/ Последнее редактирование {{Comment.DateEdited | removeTime}} (Сезон {{Comment.EditSeasonID}}) / {{Comment.EditCount}} Всего правок
+{{Comment.ChildCommentCount-1}} подробнее…
В: Что означает “случайные броски”?
О: При выпадении этого предмета можно получить случайные бонусы. Например, каждый раз, когда вы получаете Better Devils от Shaxx, он может немного отличаться от предыдущих версий — может быть, лучше, а может быть, и хуже.
В: Почему некоторые бонусы находятся внутри пунктирной рамки, а некоторые снаружи?
О: Пунктирные поля содержат привилегии, которые API Bungie называет возможными в каждом столбце при выпадении предмета.
В: А что насчет вещей вне этих коробок?
О: Привилегии вне коробок — это фиксированный, «кураторский» список от Bungie.
Иногда эта исправленная версия предмета выпадает полностью исправленной.
(см., например, Nation of Beasts или Vouchsafe). В других случаях эти привилегии предназначены только для демонстрации, например, при предварительном просмотре предмета из вашей коллекции.
В: Пересекаются ли когда-нибудь два набора перков? Могу ли я получить Vouchsafe с двойной стрекозой?
О: Если предмет способен случайным образом выбросить один из своих перков с фиксированным броском, он также будет включен в раздел случайных бросков.
В: Что вы подразумеваете под «закатом»?
О: Bungie объявила, что, начиная с 12-го сезона, у оружия будет ограничение на силу, которую вы можете наделить им. Мы называем этот процесс «закатом».
В: Как часто это происходит?
О: В начале 12-го сезона наступит один большой закат, когда все* легендарное оружие и доспехи из сезонов 1-8 будут удалены.
После этого оружие и доспехи по сути устареют через 1 год после их выпуска.
В: Есть ли исключения?
О: Да. Bungie заявила, что экзотика не исчезнет. Помимо этого, снаряжение из рейдов «Последнее желание» и «Сад спасения» будет играть по другим правилам, чем стандартная броня и оружие, хотя Bungie не совсем ясно, какими будут эти правила.
В: Значит, я больше никогда не смогу использовать свой Mountaintop / Luna’s Howl / и т. д.?
О: Не совсем так. Это изменение, по сути, имеет значение только в действиях, где важна сила, таких как рейды, Сумрачные налеты, Испытания и т. д. В большинстве действий в открытом мире и стандартных плейлистах Горнила вы по-прежнему сможете использовать любые доспехи/оружие, какие захотите.
Кроме того, Bungie также намекнула, что они намерены «перевыпустить» определенное оружие/броню в будущем, что даст им еще 12 месяцев на солнце.
Вы можете прочитать объяснение непосредственно от Bungie здесь.
В: Что такое мастерские свитки?
О: Большинство легендарных оружий можно усовершенствовать. Система шедевров — это способ улучшить ваше любимое оружие до максимума.
В: Что нужно, чтобы улучшить оружие до шедевра?
О: В общих чертах, для улучшения вашего оружия требуется небольшое количество мерцания, легендарных осколков и, самое главное, ядер улучшения. В зависимости от того, на каком уровне находится ваше оружие, требования для повышения его до следующего уровня увеличиваются по мере того, как оружие приближается к полной мастерской работе (уровень 10).
В: Какие преимущества я получаю, мастерски работая с оружием?
О: Каждый уровень, на который вы повышаете свое оружие, дает небольшой положительный эффект для одной характеристики, выбранной случайным образом при выпадении предмета.
Кроме того, на уровне 5 вы получаете доступ к отслеживанию убийств. На уровне 10 ваши множественные убийства будут генерировать сферы света.
В: Так что же это за характеристики “мастерских бросков”?
О: Это возможные характеристики, к которым улучшение вашего оружия даст бонус. В зависимости от того, на каком уровне вы находитесь, вы можете дать от 1 до 10 дополнительных очков в любой из характеристик, перечисленных для вашего оружия.
В: С этим что-то не так?
О: API Bungie в настоящее время говорит, что любое оружие потенциально может быть использовано со всеми характеристиками в качестве мастерской характеристики. Очевидно, что это неверно, так как радиус взрыва неприменим, скажем, к автоматическим винтовкам.
Список, который вы видите на этой странице, урезан, чтобы отображать только те характеристики, которые действительно отображаются на оружии.
Однако возможно, что у Bungie за кулисами есть дополнительная логика, которая дополнительно фильтрует эти
возможности, например, запретить определенным предметам иметь мастерскую работу Impact. До тех пор, пока Bungie не изменит файлы API, чтобы со 100% точностью отображать, какая статистика шедевров возможна на
каждый пункт, воспринимайте то, что вы видите здесь, с щепоткой соли.
Следующая версия Предыдущая версия
Показать только изменения
Предыдущие льготы
light.gg Манифест #{{Previous.ManifestID}} ({{Previous.DateChanged}})
- indexOf(plug)<0}”>
Новые способности
light.gg Манифест № {{ManifestID}} ({{DateChanged}})
Идет загрузка…
Призрак Цусимы: советы и рекомендации по стильной нарезке
Свяжитесь с ведущими игроками в Лос-Анджелесе на саммите GamesBeat 2023, который пройдет 22–23 мая.
Зарегистрируйтесь здесь.
Ghost of Tsushima — последний большой эксклюзив Sony для PlayStation 4, премьера которого состоится 17 июля. Это сложная игра с открытым миром, поэтому мы предоставили наши лучшие советы и рекомендации, которые помогут вам не сбиться с пути.
Ghost of Tsushima — это приключенческая игра о самураях от сиэтлской студии Sucker Punch Studios, которая создала другие эксклюзивы для PlayStation, такие как Sly Cooper и Infamous. Я считаю, что самый простой способ описать это — это как попасть в самурайский фильм Акиры Куросавы (например, Seven Samurai или Ran ).
Действие происходит в 1274 году в Японии во время первого монгольского нашествия. Вы играете за Джина Сакаи, лорда-самурая, который в конечном итоге становится известен как Призрак. Ранее Sucker Punch выпустил Infamous: Second Son, один из первых эксклюзивов для PS4 в 2014 году.0003
Я постарался сделать эту историю максимально свободной от спойлеров, но совет по-прежнему актуален для многих ситуаций.
Я играл на обычном. Джин Сакаи — один из защитников острова Цусима во время вторжения. Он присоединяется к лорду Шимуре в катастрофической самурайской атаке на пляже Комодо, где монголы безнадежно превосходят численностью японцев. Монголы во главе с Хотун-ханом побеждают и покоряют остров. Джин выживает, поскольку его спасает вор по имени Юна, но лорд Шимура попадает в плен. Основная цель первого акта игры — вернуть замок Канэда, главный замок на юге Цусимы. Затем есть еще два действия, все во имя изгнания монголов из Цусимы. Вот наши советы и рекомендации о том, как играть в игру.
Событие
Саммит GamesBeat 2023
Присоединяйтесь к сообществу GamesBeat в Лос-Анджелесе с 22 по 23 мая. Вы услышите самые яркие умы игровой индустрии, которые поделятся своими новостями о последних разработках.
Зарегистрируйтесь здесьЕсть несколько спойлеров, но мы постарались свести их к минимуму – Ред.
Мастер боя
Вверху: Дзин Сакаи — симпатичный герой.
Изображение предоставлено Sony
Ghosts of Tsushima гораздо более снисходительна в бою, чем такие игры Souls, как Sekiro. Но вы должны помнить, как сражаться с каждым типом врага, включая зверей, мечников, бронированных щитоносцев и бойцов с копьями/копьями. Когда копейщик бросается на вас и мигает оранжевый свет, вы не можете заблокировать эту атаку, если только вы не приобрели навык намного позже в игре. Вы должны увернуться с помощью кнопки «Круг» или попытаться отпрыгнуть с пути с помощью кнопки «X». Вы можете использовать быструю атаку, чтобы противостоять с помощью кнопки «Квадрат», или начать тяжелую атаку мечом с помощью кнопки «Треугольник». Эти кнопки не будут работать для вас каждый раз, так как вам нужно правильно рассчитать время, блокируя атаки или бросаясь на врагов.
По мере повышения уровня вы можете изучать новые комбинации, которые вам помогут. Если вы победите босса Ясухиру Когу, вы сможете получить доступ к атаке «Небесный удар», одновременно нажав кнопки «Треугольник» и «Круг».
Это использует часть вашей решимости, но также запускает неблокируемую атаку, которая пригодится в боях с более поздними боссами, такими как Рюдзо.
P.S.: Не используйте кнопку Треугольник, чтобы попытаться сесть на лошадь, так как вы замахнетесь на нее. Вместо этого используйте правый триггер (R2).
Собирайте ресурсы
Не забывайте искать ресурсы, такие как припасы, расходуемое оружие, такое как метательные лезвия куная, бамбук (который вы можете схватить, сидя на лошади), шкуры животных и другие вещи, которыми вы можете торговать. Вы можете использовать их, чтобы улучшить свою броню, клинки, косметичку и многое другое. Враги часто отдают полезные ресурсы после того, как вы их убили. Всегда заходите на вершины сторожевых башен и внутрь зданий и в другие неожиданные уголки, чтобы найти вкусности. Вы можете использовать цветы, чтобы купить одежду и другие предметы тщеславия.
Воспроизвести карту
Вверху: карта Цусимы
Изображение предоставлено: Sucker Punch/Sony
Майк Минотти, рецензировавший Ghost of Tsushima для GamesBeat, обнаружил, что игра напоминает открытые миры игр Ubisoft, таких как Assassin’s Cre ред.
: Одиссея. Если вы не знаете, что делать дальше, вы увидите задачи, которые нужно выполнить на карте. Вы можете увеличивать или уменьшать масштаб, чтобы легче видеть стратегические цели, используя правый джойстик. Всегда лучше выполнять миссии по как можно более прямому пути, но есть множество небольших целей или побочных квестов, которые вы можете выполнить, которые почти так же полезны, как и основные миссии. История Масако, например, состоит из девяти миссий, и она особенно накаляется, когда у них с Джином возникают разногласия.
Следуйте за божественным ветром
Вверху: фауна качается на ветру в Ghost of Tsushima.
Изображение предоставлено: Sucker Punch/Sony
Божественный ветер, или камикадзе, почитался в Японии за спасение страны от монголов. Sucker Punch вплел этот миф в игру как дух отца Джина Сакаи. Всякий раз, когда у вас есть миссия, к которой нужно идти на карте, появляется ветер и дует в правильном направлении, в котором вы должны двигаться.
Это похоже на руководство по мини-карте без мини-карты, и это одна из замечательных особенностей дизайна Ghost of Tsushima. Единственная проблема в том, что иногда ветер дует прямо в сторону невозможной горы или водопада. Божественный ветер, конечно же, стал предметом споров в более поздней истории Японии во время Второй мировой войны, с появлением атак камикадзе. Но ничего страшного в этой игре нет.
Используйте быстрое перемещение
Вы обнаружите, что многие места, по которым вы уже ходили, откроются для вас с помощью быстрого перемещения. Хотя пейзажи Цусимы прекрасны, вам не понравится снова и снова кататься на лошади по некоторым районам. Поэтому, если вам нужно пересечь всю карту, проще найти место, которое вы можете посетить в быстром путешествии, а затем значительно сократить путь до конечного пункта назначения.
Найдите недостающие нити истории
Иногда с карты исчезают сюжетные повороты, например, следующий побочный квест в сказке Масако, состоящей из нескольких частей, или в сказке монаха.
В результате я не закончил все эти миссии, пока не закончил основную кампанию за Джина. Но их легко найти, если время от времени заглядывать в меню сюжетных миссий, так как вы можете подключиться к этим миссиям прямо из этого меню.
Оставьте сложные задачи на потом.
Если вы ожидаете серьезных испытаний при захвате замков или столкновении с монгольскими лидерами в большой кампании, вы можете сделать своего персонажа сильнее, выполнив множество побочных квестов. Игра хороша тем, что дает вам небольшие миссии, которые со временем дают вам ресурсы, опыт и лучшую боевую эффективность. Большие испытания захватывают замок Канэда, замок Симура и последний рывок в конце.
Бой становится легче
Вверху: Время дуэли в Ghost of Tsushima.
Изображение предоставлено: Sucker Punch/Sony
Поначалу мне было трудно сражаться с боссами, такими как Кага, или даже с обычными врагами-копьями или зверями с гигантскими булавами. Но по мере того, как я повышал уровень своего персонажа и выбирал правильные стойки с мечом, сражаться стало намного легче.
Вам просто нужно убедиться, что вы максимально повышаете уровень своего оружия, и всегда не забывайте убивать лидеров монголов, чтобы вы могли продвигаться вперед. Вы можете изучить различные техники отклонения. Если вы сделаете «идеальное парирование», вы сможете вызвать ужас у врагов, заставив их паниковать, бросать оружие или просто убегать. Вы также можете освоить такие приемы, как отражение стрел мечом или парирование неблокируемой атаки.
Всегда используйте ножи кунаи
Лучшее оружие Призрака — лезвия кунаи, маленькие ножи, которыми можно метать как дротики. Вы можете использовать их в скрытности, чтобы сбить нескольких охранников одновременно, или просто оглушить врагов, чтобы вы могли приблизиться к ним, нанося добивающие удары. Это отличный способ склонить большую рукопашную с несколькими врагами в вашу пользу. Они также отлично подходят для стелс-миссий, когда трудно незаметно подкрасться к врагу. Вы можете пополнить ножи, убедившись, что вы всегда собираете припасы.
Здорово повысить уровень этой способности, чтобы вы могли метать до пяти ножей одновременно.
Используйте свое призрачное оружие
Я уже упоминал Кунаи. Но со временем вы можете заработать ряд других стелс-оружий Ghost. Самым ценным из них является колокольчик ветра, который вы бросаете, чтобы отвлечь врага и исследовать место, куда вы бросаете колокольчик. Это помогает вам скрытно уничтожать охранников, особенно когда их несколько. Вы также можете получить дымовые шашки, фейерверки, маленькие гранаты, называемые бомбами с черным порохом, и бомбы-липучки. Это делает вашего персонажа больше похожим на ниндзя, чем на самурая, но это часть сюжетной линии.
Наденьте амулеты
Амулеты Омамори — это аксессуары, которые могут дать вам особые способности в бою или при поиске предметов на карте мира. Вы можете найти их в синтоистских святилищах, но они разбросаны по всей карте. Вы можете разблокировать больше слотов для амулетов для своих мечей, если будете следовать за лисами к святилищам Инари, скрытым на карте.
Эти чары дают вам лучшее здоровье, оружие или шанс вселить страх в ваших врагов. К сожалению, для использования многих амулетов недостаточно слотов.
Повысьте свою решимость
Вверху: Остров Цусима атакован монголами.
Изображение предоставлено: Sucker Punch/Sony
Решимость — это мера вашего боевого мастерства. Он фиксирует ваш запас силы воли, которую вы можете использовать, чтобы победить своих врагов. Вы начинаете с малого, но добавляете уровни по мере того, как набираете боевой опыт. Он измеряет, сколько урона вы можете выдержать и остаться стоять, чтобы сражаться. В бою он появляется в виде желтых кругов. Вы можете потратить решимость, чтобы получить здоровье, но у вас будет лишь несколько шансов сделать это. Вы получаете решимость, успешно убивая врагов или парируя их атаки. Вы можете получить Решительность в противостоянии, когда вы сражаетесь на дуэли с одним врагом (или позже в игре). Если вы выиграете дуэль, вы получите Решительность.
Используйте самурайскую стойку
Если вы повышаете уровень, вы всегда должны побеждать монгольских лидеров. Когда вы это сделаете, вы получите очки для разблокировки новой стойки, которая дает вам возможность проникать через защиту определенных целей. Стойка Луны эффективна против больших зверей. Это означает, что если вы начнете мощную атаку с помощью треугольника, велики шансы, что вы пробьете оборону врага.
Практика ударов бамбуком
Я обнаружил, что удары по бамбуку или перерубание нескольких стеблей одним ударом очень трудны. Сначала вам нужно нажать три кнопки, чтобы разрезать три стебля бамбука. Но затем дело доходит до пяти стеблей и пяти нажатий кнопок, и вам нужно нажимать кнопки в правильном порядке. Наконец, вам нужно срезать семь стеблей, что требует мастерства в управлении, на что у меня редко хватало терпения. Всего один раз в игре мне удалось срезать семь стеблей. Но это дало мне дополнительное очко решимости, которое было крайне важно, чтобы помочь Джину выжить в сложных битвах с боссами.
Найдите Fox Dens
Вам нужна вся помощь, которую вы можете получить на раннем этапе. Вы можете добавить к своим возможностям чары. А чтобы разблокировать больше слотов для амулетов, вы можете посетить районы Лисьего логова и проследовать за милой лисой к святилищу Инари. Если вы сделаете это достаточно, вы сможете разблокировать новый слот для талисмана.
Найдите предметы коллекционирования
Говоря о предметах коллекционирования, вы можете собирать множество вещей, в том числе пластинки, знамена, монгольские артефакты, косметичку, и этот список можно продолжить, поскольку виртуальный мир Цусимы кажется бесконечным.
Отдохните в онсэне
Вверху: это мир самураев.
Изображение предоставлено: Sony
Если вы найдете бассейн с горячими источниками, вы можете войти в него и немного увеличить полосу здоровья Джина. Вы также можете увидеть Джина голым сзади. (Некоторые люди могут быть в восторге от этого, так как это единственная обнаженная вещь, которую вы найдете в игре).
Haiku замечает
Со временем вы захотите найти способы развлечься в игре. Ролики хайку — один из способов сделать это. Вы можете пойти в эти места и найти немного покоя. Вы можете оглядеться вокруг и выбрать строчку, представленную вам как отрывок из короткого стихотворения хайку. Когда вы закончите, Джин прочитает хайку вслух.
Повышение уровня для противостояния
Противостояние — это почетный способ, с помощью которого самурай приближается к вражескому лагерю. Вы вызываете их лучшего бойца на поединок, и в случае победы можете вселить страх в сердца оставшихся врагов. Вы должны быть в состоянии выпустить свой клинок (удерживая треугольник) до того, как это сделает ваш враг. Вы не можете попасться на их ложные выпады, иначе вы проиграете. На самом деле нет никаких последствий для проигрыша в этом противостоянии. Но если вы выиграете, вы сможете убить одного, двух или даже трех врагов без особых усилий. Но, как уже отмечалось, со временем вы можете повышать уровень своих противостояний.
Попробуйте режим Куросавы
Это драматический черно-белый режим, который напоминает нам фильмы Акиры Куросавы, такие как Семь самураев . Это та же самая игра, только черно-белая. Все эти прекрасные цвета исчезнут, но вы почувствуете себя как в кино. Просто обратите внимание, что становится все труднее найти некоторые значки в мире, например, значки, которые сообщают вам, какая часть истории будет следующей. Воздействие ветра также более серьезное.
Цепи хорошие
Вы можете повышать уровень до цепных убийств в противостоянии, цепных убийств и цепных убийств в бою. Не забывайте, что это может сильно помочь в толпе и может напугать свидетелей.
Режимы сложности
Вы можете изменить режим сложности с Легкого на Нормальный на Сложный в любое время.


Вал фрезеруют и продольно шлифуют по внутреннему диаметру и боковым поверхностям шлицев, втулку протягивают и шлифуют по внутреннему диаметру. Применяется при закаленных втулке и вале
1. Износ или смятие шлицев на валах. При значительном и износе производят дуговую наплавку (лучше электродами ЦН-250 или ЦН-300) с последующей механической обработкой шлицев. При износе по ширине паза до 0,5-1 мм производят раздачу шлицев (вдоль по наружной поверхности) отожженного вала зубилом с последующей заваркой образующейся при этом канавки и механической обработки шлицев. При незначительном износе (0,1-0,2 мм) шлицы восстанавливают электроискровым наращиванием с последующим шлифованием.
Перемещая индикатор вдоль оси вала, определить отклонение от параллельности боковых поверхностей шлицев
РЕКОМЕНДАЦИИ ПО КОНТРОЛЮ ШЛИЦЕВЫХ СОЕДИНЕНИЙ

