Зернодробилка шмель своими руками чертежи: чертежи вакуумной дробилки для зерна из тормозного барабана, устройство кормоизмельчителя, отзывы о Шмеле
alexxlab | 15.07.1985 | 0 | Разное
Зернодробилка шмель обзор и изготовление своими руками
Техническое описание кормоизмельчителя
Зернодробилка Шмель — универсальный аппарат, разработанный с учетом требований рынка. По отзывам многочисленных пользователей можно сказать, что в своем ряду это лучший представитель корморезок.
Устройство легко справляется с:
- Хвоей (хвойная мука намного богаче каротином, чем травяная или люцерновая),
- Мягкой бумагой,
- Любыми злаковыми,
- Древесной щепой,
- Берестой,
- Соломой,
- Скошенной травой,
- Сеном,
- Стеблями и листьями камыша.
Переработанное сено и солома получается очень мелкой фракции, и отлично подходит для использования в приготовлении комбикорма.
Конструкционные особенности корморезки позволяют эффективно работать даже при попадании в барабан посторонних предметов. А для того чтобы металлические частички не смешивались с готовым кормов, в крышку рабочей камеры вмонтирован магнитный уловитель.
Оснащена зернодробилка и специальными роликами, делающими ее перемещение более легким. Вакуумный всасывающий аппарат позволяет подбирать рассыпанное на полу сырье.
Эксплуатационные особенности
Аппарат оснащен двигателем, мощностью в 11 киловатт, который способен вращаться со скоростью до трех тысяч оборотов за минуту. За час работы аппарат способен выдать от двух до трех тонн дробленки: производительность зависит от плотности сырья и скорость подачи зерна в барабан. Для работы необходимо подключение к сети в 380 вольт.
Надежность устройства во многом объясняется большим ресурсом работоспособности ротора: две тысячи тонн сырья между техническими обслуживаниями. Молотки же необходимо заменять через каждые двести тонн готового продукта. Масса аппарата — 120 кг.
В базовую комплектацию входят:
- Трехметровый рукав для всасывания перерабатываемого сырья,
- Набиватель на шесть мешков,
- Электрический десятиметровый кабель,
- Два сменных сита.

Конструкция зернодробилки «Шмель»
Весьма сложной и очень нужной конструктивной особенностью является наличие магнитного улавливателя, который не дает даже самому минимальному кусочку металла пройти. Также ей не страшны ни камни, ни кусочки бетона, ни кусочки шифера и прочего мусора.
В общем, конструкция такого агрегат очень удобная и практичная. Ее не нужно закреплять к полу, а перемещать ее можно свободно 1 человеку. Отменная балансировка такого устройства позволяет ему быть устойчивым и не смещаться во время работы.
В базовой комплектации такая дробилка оснащается устройством для засасывания зерна и 3-метровым рукавом-лигнумом. Также в комплекте есть мешконабиватель (на 6 мешков), 10-метровый кабель и 2 сменных сита (4 и 6 диаметров).
Технические характеристики:
- производительность: 2 т/час
- вес: 120 кг
- потребление энергии: 11,75 кВт на тонну
- мощность силовой установки: 7,5 кВт.
Битерная часть агрегата предназначена производить 50 зерна для каждого ула молотка. Поскольку углов всего 4, то в общей сложности переработка достигает 250 тонн.
Принцип работы
Для дробления сырья в аппарате предусмотрены две последовательно расположенные камеры. В первой камере происходит очистка от посторонних включений и примесей, и первичное измельчение, во второй — дробление до установленной фракции.
Устройство очень экологично: вмонтированные фильтры задерживают пыль и мелкофракционные частички, что поддерживает воздух в помещении чистым. Измельчитель кормов может находится в режиме работы до достижения заданного объема, после чего отключается автоматически. Готовое зерно расфасовывается в мешки или подается в кузов машины через длинный рукав.
Плюсы и минусы аппарата
К основным достоинствам можно отнести невысокую стоимость и хорошую производительность, возможность измельчать несколько видов сырья и легкость перемещения, а также низкий уровень пыли и шума во время работы.
Устройство может работать как в помещении, так и на открытом воздухе под прямыми солнечными лучами (при наличии электричества).
К минусам относят слабую защиту от попадания крупных камней в рабочую камеру, а также недостаточную прочность корпуса.
Самодельный вариант зернодробилки Шмель
Некоторые фермеры предпочитают сделать зернодробилку Шмель своими руками. Самодельный аппарат мало чем уступает в функциональности своему магазинному аналогу. Для того чтобы собрать корморезку своими руками, нужно ознакомиться с чертежами и схемами, а также найти все необходимые материалы. Обычно для сборки используют детали от старой сельхозтехники.
Внешний тормозной барабан можно своими руками сделать из механизма задней передачи, а передний фланец — из диска сошника машины для посева злаковых. Для того чтобы сделать молотки, можно использовать режущие пальцы зерноуборочной машины. Бункер для зерна сваривается из листовой стали или же используется бак от сеялки.
Как сделать дробилку своими руками
При отсутствии возможности купить зернодробилку Шмель можно сконструировать её самостоятельно, используя чертежи изделия. Это вполне возможно при условии наличия необходимых инструментов, а также составных частей конструкции.
Изготовление предполагает несколько этапов:
- подбор основания и комплектующих;
- изучение чертежей;
- сборка и тестирование.
Самодельные устройства обходятся дешевле, однако несколько менее удобны в эксплуатации и могут довольно быстро потребовать ремонта при неудовлетворительном качестве сборки.
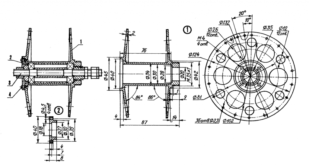
Чертежи конструкции
Используя чертежи подобного рода изделия, можно составить представление о его конструкции и наглядно ознакомиться с составными элементами. Чертежи носят ознакомительный характер, поскольку реальная конструкция изделия будет отличаться и зависит от используемых деталей и планов мастера.
Схема зернодробилки
Рекомендации по сборке
В большинстве случаев настоятельно рекомендуется использовать в качестве основы для будущей зернодробилки детали от ДТ-75 — популярного среди фермеров трактора.
В качестве основы выступает задний фрикционный барабан тормозов, а передний фланец проще всего сделать из диска сеялки.
Обязательно почитайте: Снегоуборщик Husqvarna
Аналогичным образом потребуется изготовить и другие элементы:
- молотки для измола — пластины от уборочного комбайна или аналогичного узла;
- бункер для зерна — емкость от сеялки для свеклы;
- набор решеток для регулировки фракций — сито или похожие комплектующие.
Во время изготовления сначала потребуется обрезать барабан до 65 мм в высоту, после чего срезать его 1/3, чтобы в дальнейшем смонтировать решето. Диск сошника потребуется адаптировать под размер 285 мм, после чего установить его в подготовленное место с помощью сварочного оборудования.
Аналогичным способом потребуется закрепить режущие пластины на валу, сделав в его конце отверстие для болта — он будет использоваться для последующей установки и демонтажа узла.
Сборка зернодробилки
На токарном станке обрезают барабан: его высота не должна быть более семи сантиметров.
Барабан будет выполнять функцию основания. На том же станке вытачивают внутреннюю выемку диаметром 28 см, с высотой стенок в 3 мм. Далее срезают треть барабана, а внутрь устанавливают сито. Для большей прочности и лучшего крепления сита, ко внешнему краю барабана можно приварить стальные дуги. Диск сошника подгоняется по размеру барабана и также приваривается.
Для обеспечения хорошей производительности в ступице просверливают несколько отверстий, диаметров около 8 мм. Это позволит воздуху поступать в рабочую камеру.
Изготовление молоткового барабана начинают с приваривания пластик к верхней части стального вала. На торцовой части вала делают небольшое отверстие, в которое вворачивается болт-съемник. Также просверливают несколько отверстий в основании барабана под заклепки. Диаметр должен быть не более одного сантиметра. Регулирование промежутка между молоточкам обеспечивают шайбы. Молоточки же располагают параллельно, чтобы увеличить интенсивность дробления.
При вращении молоткового барабана по часовой стрелке зерно измельчается быстрее, а фракция — более крупная.
При вращении в обратном направлении дробленка получается более мелкого помола.
Зернодробилка ШМЕЛЬ 5,5 кВт/7.5 кВт
Руководство по эксплуатации универсальной вихревой дробилки «Шмель-5,5»
ВНИМАНИЕ! Перед запуском изделия в эксплуатацию, внимательно ознакомьтесь с инструкцией по эксплуатации. НАРУШЕНИЕ ТРЕБОВАНИЙ ИНСТРУКЦИИ ПО ЭКСПЛУАТАЦИИ ВЛЕЧЕТ ЗА СОБОЙ ПРЕКРАЩЕНИЕ ГАРАНТИЙНЫХ ОБЯЗАТЕЛЬСТВ ПЕРЕД ПОКУПАТЕЛЕМ!
1. Описание и работа устройства
1.1 Назначение. Устройство, в дальнейшем «зернодробилка», предназначено для измельчения зерна и прочих зерновых культур, сена, соломы, отходов растительных культур.
1.2 Условия эксплуатации. Зернодробилка должна использоваться в закрытом помещении с хорошей вентиляцией или под навесом при температуре от -15˚С до + 50˚С. И относительной влажности воздуха не более 60%. Температура хранения изделия до -50 ˚С.
1.
3 Технические характеристики
1.4 Схема электрическая принципиальная
Изделие работает от сети переменного тока напряжением 380В, с частотой 50Гц по ГОСТ.
Подключение зернодробилки к сети должно производится электриком, имеющим право работы в действующих электросетях.
Электродвигатель имеет подключение по схеме звезда. Принципиальная электрическая схема приведена на рис. 1.
После подсоединения электрической части дробилки проверить правильность направления вращения. При взгляде на всасывающий патрубок ротор должен вращаться ПРОТИВ часовой стрелки. При вращении ротора в противоположную сторону следует поменять местами 2 любые фазы. ВНИМАНИЕ! Электрическая розетка в комплекте не поставляется!
Рисунок 1. Схема электрическая принципиальная
2. Комплектация
| — Зернодробилка вихревая | 1 шт |
| — Мягкий рукав ПВХ «Лигнум» d 120 мм | 7 м |
| — Бункер для сена, соломы (опция) | 1 шт |
| — Засосное устройство (эжектор) | 1 шт |
| — Пускатель с тепловой защитой | 1 шт |
| — Кабель электрический | 10 м |
| — Сито (комплект) | 3 шт |
3.
Инструкция по технике безопасности при работе с универсальной дробилкой
ЗАПРЕЩАЕТСЯ
— оставлять включенную дробилку без присмотра;
— эксплуатация дробилки без надежного заземления; — обслуживание, чистка, разборка изделия, включенного в электросеть;
— эксплуатация с повреждением питающего кабеля или повреждениями сита и ротора;
— эксплуатация изделия лицами моложе 18 лет и лицами, не прошедшими инструктаж по технике безопасности;
— эксплуатация дробилки в помещении с влажностью более 60% и при попадании брызг на изделие;
— работа с дробилкой в свисающей или балахонной одежде.
4. Устройство и работа изделия.
Дробилка состоит из основных узлов: корпуса, ротора, набора сменных сит, электродвигателя, бункера для сена (соломы), эжектора.
Общая конструкция изделия показана на рис.
Рисунок 2. Зернодробилка
4.1 Подготовка к работе.
— Собрать материал для дробления;
— Ввести эжектор (рис.
3) в бункер, оставляя дыхательную трубу свободной;
— Включить кнопку «Пуск» пускателя;
— В процессе работы всасывающая часть эжектора должна быть закрыта фуражом, а дыхательная труба свободной;
— Отрегулировать посредством перекрытия дыхательной трубы расход дробленой фракции.
ВНИМАНИЕ: во избежание забивания трубопровода и дробилки перерабатываемой фракцией не допускается полное перекрытие дыхательного отверстия.
В процессе эксплуатации необходимо периодически проводить осмотр ротора и нижнего сита. В случае появления порывов на поверхности сита и большого износа ротора, следует их заменить.
Дробилка способна без ущерба для конструкции пропустить через себя мелкие камни и металлопримеси.
При работе с дробилкой необходимо исключить попадание крупных инородных тел в сырье для дробления, т.к. это может привести к выходу из строя основного рабочего органа – ротора и сита.
При эксплуатации необходимо следить за температурой эл.
двигателя. Она не должна превышать более 60-70 С (терпит рука).
Двигатель снабжен инструментом защиты от перегрузки, короткого замыкания и перекоса напряжения по фазам. При отключении пускателя зернодробилки подождите 1,5-2 минуты до включения термореле и продолжите работу.
При повторном отключении термореле проверьте питающее напряжение в питающей сети и отрегулируйте подачу фракции с помощью эжектора (добавьте подачу воздуха).
Рисунок 3. Эжектор
ВНИМАНИЕ! Основным рабочим органом дробилки является ротор. Категорически запрещено как либо изменять конструкцию, подвергать нагреву, изготавливать в кустарных условиях. Ротор производится только с применением особых технологий и балансируется на специальном стенде. Любое изменение конструкции крайне опасно!
4.2 Замена сита.
Для замены сита отверните 8 гаек крышки и снимите крышку. Извлеките сито и замените его на другое. Сито должно вставляться плотно. При установке сито должно попасть в направляющие пазы на задней стенке корпуса.
4.3 Работа с соломой.
Для установки бункера под солому демонтируйте крышку, для чего отверните ее 8 гаек. Установите на место крышки бункер под солому и затяните гайки его крепления.
Демонтируйте опорную ногу на опоре электродвигателя и установите зернодробилку на ручки (рис. 4).
Рис. 4 Установка дробилки при работе с сеном.
5. Техническое обслуживание и хранение.
Через каждые 100 часов работы производить профилактический осмотр и регламентные работы, включающие:
— удаление пыли с деталей сжатым воздухом, при этом не допускается попадание на них капель из воздушной сети.
Хранить зернодробильное устройство следует в сухом помещении.
После хранения дробилку необходимо запустить на 5-10 минут без нагрузки для полной просушки обмоток двигателя и проверки подшипников.
описание моделей, характеристики, фото и видео
Описание
Те, кто владеет фермами средних и крупных размеров сталкиваются с необходимостью дробления корма и зерна для животных.
Зернодробилка Шмель за счёт многообразия своих характеристик является надежным оборудованием для фермеров. Кроме корма и зерновых культур она способна перемолоть хвою, бумагу, древесные щепки, бересту, солому и сено.
Мощность двигателя оборудования составляет 11 кВт, скорость вращения 3000 об/мин. Работая всего час, при помощи зернодробилки Шмель можно получить 3 тонны корма мелкой фракции. Количество переработанного сырья зависит от скорости подачи исходного сырья, а также от его плотности. Зернодробилка шмель работает от сети 380 Вольт.
Дробление зерна или корма происходит после попадания его в специальный рукав. Всасывание сырья происходит автоматически за счет вакуума. Агрегат оснащен двумя камерами, расположенными последовательно, куда через рукав поступает корм. Сырье для переработки изначально подается в первую камеру, где происходит первичная обработка. Изначально зерно очищается, удаляются различные включения и примеси. После начинается процесс измельчения. Далее сырье попадает во вторую камеру, где перерабатывается в конечный продукт с установленной фракцией дробления.
Готовый корм из зернодробилки через специальный рукав можно расфасовать в мешки или заполнить кузов машины. Длительность работы агрегата устанавливается в зависимости от объема корма или зерна, подлежащего дроблению. Отключение устройства происходит после достижения установленного количества переработанного сырья.
Во время работы от устройства не летит пыль или частички перерабатываемого сырья за счет установленного внутри фильтра. Он не пропускает мусор наружу. Если внутрь агрегата попадут вместе с перерабатываемым кормом металлические включения, то включения будут устранены благодаря работе магнитного улавливателя. Кстати, сдать цветмет можно тут.
СПРАВКА! Чтобы перевезти зернодробилку Шмель достаточно погрузить ее в легковой автомобиль с кузовом универсал.
Характеристика ресурса работоспособности составляет 2000 тонн переработанного сырья, после чего агрегату может потребоваться техническое обслуживание. Что касается молотков, то они подлежат замене после отработанных 200 тонн конечного продукта.
Вес зернодробилки составляет 120 кг.
Как сделать дробилку своими руками
При отсутствии возможности купить зернодробилку Шмель можно сконструировать её самостоятельно, используя чертежи изделия. Это вполне возможно при условии наличия необходимых инструментов, а также составных частей конструкции.
Изготовление предполагает несколько этапов:
- подбор основания и комплектующих;
- изучение чертежей;
- сборка и тестирование.
Самодельные устройства обходятся дешевле, однако несколько менее удобны в эксплуатации и могут довольно быстро потребовать ремонта при неудовлетворительном качестве сборки.
Чертежи конструкции
Используя чертежи подобного рода изделия, можно составить представление о его конструкции и наглядно ознакомиться с составными элементами. Чертежи носят ознакомительный характер, поскольку реальная конструкция изделия будет отличаться и зависит от используемых деталей и планов мастера.
Схема зернодробилки
Рекомендации по сборке
В большинстве случаев настоятельно рекомендуется использовать в качестве основы для будущей зернодробилки детали от ДТ-75 — популярного среди фермеров трактора. В качестве основы выступает задний фрикционный барабан тормозов, а передний фланец проще всего сделать из диска сеялки.
Обязательно почитайте: Сегментная косилка для трактора
Аналогичным образом потребуется изготовить и другие элементы:
- молотки для измола — пластины от уборочного комбайна или аналогичного узла;
- бункер для зерна — емкость от сеялки для свеклы;
- набор решеток для регулировки фракций — сито или похожие комплектующие.
Во время изготовления сначала потребуется обрезать барабан до 65 мм в высоту, после чего срезать его 1/3, чтобы в дальнейшем смонтировать решето. Диск сошника потребуется адаптировать под размер 285 мм, после чего установить его в подготовленное место с помощью сварочного оборудования.
Аналогичным способом потребуется закрепить режущие пластины на валу, сделав в его конце отверстие для болта — он будет использоваться для последующей установки и демонтажа узла.
Зернодробилка Шмель 4
Шмель-4
1 of 2
Технические характеристики Зернодробилки Шмель 4
| ПАРАМЕТРЫ | ЗНАЧЕНИЕ |
| Производительность | |
| Пшеница | до 600 кг/час |
| Солома | до 70 кг/час |
| Электрические характеристики | |
| Напряжение | 4кВт |
| Мощность | 220В |
| Длина кабеля | 10 м |
| Прочее | |
| Гофрированный армированный рукав «Лигнум» | 6 м, d 80 мм |
| Сито | 3 шт, (d 10 мм, d 8 мм, d 6 мм) |
| Пусковое устройство с тепловой защитой | |
| Эжектор (регулировка подачи) | |
Зернодробилка Шмель 5.
5Шмель-5.5
1 of 4
Технические характеристики Зернодробилки Шмель 5.5
| ПАРАМЕТРЫ | ЗНАЧЕНИЕ |
| Производительность | |
| Пшеница | до 1 тонны/час |
| Солома | до 500 кг/час |
| Электрические характеристики | |
| Напряжение | 5,5 кВт |
| Мощность | 220 В |
| Длина кабеля | 10 м |
| Прочее | |
| Гофрированный армированный рукав «Лигнум» | 7 м, d 120 мм |
| Сито | 3 шт, (d 10 мм, d 8 мм, d 6 мм) |
| Пусковое устройство с тепловой защитой | |
| Эжектор (регулировка подачи) | |
Через микросхему
Пришло время вспомнить про таходатчик и его выходы, которые мы на двигателе нашли, но до поры отставили в сторону. Именно таходатчик поможет нам подключить двигатель стиралки и регулировать его обороты без потери мощности.
Сам таходатчик управлять двигателем не может, он лишь посредник. Реальное управление должно осуществляться посредством микросхемы, которая соединяется с таходатчиком двигателя, обмоткой и якорем и запитывается от сети 220 В. Принципиальную схему вы можете видеть на рисунке ниже.
Что происходит с двигателем, когда мы подключаем его к сети через эту микросхему? А происходит следующее, мы можем запустить двигатель своими руками на максимальных оборотах, а можем, повернув специальный тумблер обороты уменьшить. Даем внезапную нагрузку двигателю, подставив под вращающийся шкив деревянный брусочек. На долю секунды обороты падают, но потом снова восстанавливаются, несмотря на нагрузку.
Дело в том, что таходатчик определяет понижение оборотов из-за возникшей нагрузки и сразу же подает сигнал об этом на управляющую плату. Микросхема, получив сигнал, автоматически добавляет мощность, выравнивая, таким образом, обороты двигателя. Мечта самоделкина, как говорится, сбылась. При наличии такой схемы подключения из двигателя стиральной машины можно сделать и зернодробилку и дровокол и много других полезных вещей.
Подводя итог нашего повествования, ответим еще на один резонный вопрос, который может возникнуть у читателя: где взять такую плату? Можно собрать на основе схемы и списка деталей, которые мы прилагаем к настоящей статье, а можно заказать в готовом виде у специалистов. Благо в сети предложений на этот счет достаточно. Искать нужно схему TDA 1085.
Зернодробилка Шмель 7.5
Шмель-7.5
1 of 5
Технические характеристики Зернодробилки Шмель 7.5
| ПАРАМЕТРЫ | ЗНАЧЕНИЕ |
| Производительность | |
| Пшеница | до 1,5 тонн/час |
| Солома | до 900 кг/час |
| Электрические характеристики | |
| Напряжение | 7,5 кВт |
| Мощность | 220 В |
| Длина кабеля | 10 м |
| Прочее | |
| Гофрированный армированный рукав «Лигнум» | 7 м, d 120 мм |
| Сито | 3 шт, (d 10 мм, d 8 мм, d 6 мм) |
| Пусковое устройство с тепловой защитой | |
| Эжектор (регулировка подачи) | |
Одноканальный регулятор для мотора
Устройство управляет одним мотором, питание осуществляется от напряжения в диапазоне от 2 до 12 вольт.
Конструкция устройства
Основные элементы конструкции регулятора представлены на фото. 3. Устройство состоит из пяти компонентов: два резистор переменного сопротивления с сопротивлением 10 кОм (№1) и 1 кОм (№2), транзистор модели КТ815А (№3), пара двухсекционных винтовых клеммника на выход для подключения мотора (№4) и вход для подключения батарейки (№5).
Принцип работы
Порядок работы регулятора мотора описывает электросхема (рис. 1). С учетом полярности на разъем ХТ1 подают постоянное напряжение. Лампочку или мотор подключают к разъему ХТ2. На входе включают переменный резистор R1, вращение его ручки изменяет потенциал на среднем выходе в противовес минусу батарейки. Через токоограничитель R2 произведено подключение среднего выхода к базовому выводу транзистора VT1. При этом транзистор включен по схеме регулярного тока. Положительный потенциал на базовом выходе увеличивается при перемещении вверх среднего вывода от плавного вращения ручки переменного резистора.
Происходит увеличение тока, которое обусловлено снижением сопротивления перехода коллектор-эмитттер в транзисторе VT1. Потенциал будет уменьшаться, если ситуация будет обратной.
Принципиальная электрическая схема
Материалы и детали
Необходима печатная плата размером 20х30 мм, изготовленная из фольгированного с одной стороны листа стеклотекстолита (допустимая толщина 1-1,5 мм). В таблице 1 приведен список радиокомпонентов.
Процесс сборки
Для дальнейшей работы нужно скачать архивный файл, размещенный в конце статьи, разархивировать его и распечатать. На глянцевой бумаге печатают чертеж регулятора (файл termo1), а монтажный чертеж (файл montag1) – на белом листе офисной (формат А4).
Далее чертеж монтажной платы (№1 на фото. 4) наклеивают к токоведущим дорожкам на противоположной стороне печатной платы (№2 на фото. 4). Необходимо сделать отверстия (№3 на фото. 14) на монтажом чертеже в посадочных местах. Монтажный чертеж крепится к печатной плате сухим клеем, при этом отверстия должны совпадать.
На фото.5 показана цоколёвка транзистора КТ815.
Вход и выход клеммников-разъемов маркируют белым цветом . Через клипсу к клеммнику подключается источник напряжения. Полностью собранный одноканальный регулятор отображен на фото. Источник питания (батарея 9 вольт) подключается на финальном этапе сборки. Теперь можно регулировать скорость вращения вала с помощью мотора, для этого нужно плавно вращать ручку регулировки переменного резистора.
Для тестирования устройства необходимо из архива распечатать чертеж диска. Далее нужно наклеить этот чертеж (№1) на плотную и тонкую картонную бумагу (№2 ). Затем с помощью ножниц вырезается диск (№3).
Зернодробилка Шмель 11
Шмель-11
1 of 5
Технические характеристики Зернодробилки Шмель 11
| ПАРАМЕТРЫ | ЗНАЧЕНИЕ |
| Производительность | |
| Пшеница | до 2,5 тонн/час |
| Солома | до 1200 кг/час |
| Электрические характеристики | |
| Напряжение | 11 кВт |
| Мощность | 220 В |
| Длина кабеля | 10 м |
| Прочее | |
| Гофрированный армированный рукав «Лигнум» | 7 м, d 120 мм |
| Сито | 3 шт, (d 10 мм, d 8 мм, d 6 мм) |
| Пусковое устройство с тепловой защитой | |
| Эжектор (регулировка подачи) | |
Кованые распашные металлические ворота
Кованые конструкции – украшение заграждений, изготовленных из металла.
Несмотря на огромное количество моделей современных устройств, обеспечивающих беспрепятственный въезд на территорию приусадебного участка, именно распашная конструкция пользуется повышенным спросом и заслуженным доверием владельцев частных домов, расположенных в черте города или за ее пределами.
Распашные ворота
Именно распашные конструкции устанавливают в большинстве случаев. Такие устройства могут быть:
- Полностью прозрачными, сделанными из отдельных прутьев, изогнутых в виде замысловатого узора.
- Частично или полностью глухими, не позволяющими посторонним видеть то, что находится за ажурным заграждением.
Зернодробилка Шмель 2.2
smel22
1 of 1
Технические характеристики Зернодробилки Шмель 2.2
| ПАРАМЕТРЫ | ЗНАЧЕНИЕ |
| Производительность | |
| Пшеница | до 300 кг/час |
| Электрические характеристики | |
| Напряжение | 2,2 кВт |
| Мощность | 220 В |
| Длина кабеля | 10 м |
| Выключатель автомат | |
| Прочее | |
| Сито | 3 шт, (d 10 мм, d 8 мм, d 6 мм) |
Преимущества и недостатки
Аппараты для дробления зерна марки Шмель имеют следующие преимущества:
- Зернодробилка оснащена опорами с роликами, которые позволяют передвигать ее в нужное место без особых усилий 1 человеком; во время работы не издает много шума;
- Не требуется непосредственного участия оператора в процессе дробления за счёт автоматической работы зернодробилки;
- Нет необходимости чистить помещение, в котором проводилась переработка сырья, поскольку от аппарата не остается мусора;
- Обеспечено удобство фасовки готового корма за счёт направленной воздушной струи и мешконабивателя.

Что касается недостатков, то они следующие:
- Несмотря на то, что готовое сырье защищено от попадания камней и прочего мусора, сам агрегат может пострадать, поэтому нужно следить за тем, чтобы с кормом или сеном не попадало в камеру аппарата больших камней;
- Кабеля, длиной 10 м, идущего в комплекте, не всегда хватает для установки зернодробилки в нужное место, особенно, если весь процесс происходит на улице или в кузове автомобиля;
- Материал, из которого изготовлен корпус агрегата, не отличается высокой прочностью и может деформироваться или треснуть от сильного механического воздействия;
- При неаккуратном перемещении зернодробилки могут выйти из строя роликовые опоры.
Как с делать крупорушку из старой стиральной машины
Нет ничего сложного в том, чтобы самостоятельно сделать зернодробилку из старой стиральной машины. Принцип работы у нее будет как у кофемолки: зерно измельчается вращающимися в барабане ножами. Так как стиральные машины все разные, то ниже будет представлен сам принцип изготовления зернодробилки.
Фото дробилки кукурузы из стиральной машинки
- Первый двигатель вместе с втулкой и ножами устанавливается на дне бака стиральной машины. Там же будет располагаться сетка и выходное окно, через которое будет выходить перемолотое сырьё.
- Второй двигатель тоже с втулкой и ножами закрепите у входного отверстия возле основания. Чтобы в него не попадали пыль и семена, наденьте на него жестяную банку поверх ножей и закрепить.
- Валы у двигателей должны будут вращаться в разные стороны. Установить их лучше под углом 25 градусов друг к другу – это позволит получить максимально большой результат дробления зерна.
- Бункер, через который будет подаваться зерно в дробилку, может быть любых габаритов. Необходимо только помнить, что зернодробилка, сделанная из старой стиральной машины, обладает высокой производительностью и рассчитана на большой объем работы. Чтобы регулировать подачу сырья в бункер, его необходимо оснастить затвором.
- Перемолотое зерно должно будет поступать в контейнер, который необходимо заблаговременно установить под зернодробилкой.
Для удобства окно, через которое будет выходить результат помола, лучше оборудовать рукавом, чтобы ничего не разбрасывалось в стороны.
Как сделать мельницу-дробилку своими руками
Для самостоятельного изготовления мельницы-дробилки, нужны ротор и статор, которые будут работать как жернова. Если все продумать заранее, то сделать крупорушку вы без труда сможете своими силами.
Фото зернодробилки из подручных материалов
Интересная статья: Чем кормить индюшат в месячном возрасте
Инструкция по изготовлению мельницы-дробилки:
- Однофазный электродвигатель мощностью 1 кВт и напряжением 220 В устанавливается на ящик.
- Корпус дробилки диаметром 35 см делаем из полосы металла. Внизу устанавливается статор, а ротор будет установлен на валу двигателя. При вращении его скорость будет около 3 тыс. оборотов в минуту.
- Наверху корпуса дробилки болтами крепится бункер. Через него сырье будет поступать в дробилку. Для удобства его желательно оборудовать затвором, а в нижней части корпуса сделать окно для выхода готового сырья.
Лучше когда оно оснащено рукавом, для предотвращения разбрасывания. - Чтобы самостоятельно сделать статор нужно взять металлическую пластину 5 сантиметров шириной. Ее необходимо согнуть в цилиндр и поставить в емкость для последующей заливки. Для того чтобы у нас получилась чаша с дном, толщина которого около 4 мм, нужно один край покрыть алюминием. Для придания статору жесткости необходимо взять уголки 2х2х5 см и приварить внутри чаши.
- В центре сделаем сверлом отверстие для вала.
- Ротор изготавливаем из металлического листа, из которого вырезаем круг с диаметром 32 см. Далее от края отмерьте 2 см и прочертить окружность.
- Потом разделите ее на 32 равные части и в каждой просверлить отверстие. От края до отверстия пропиливаются ножовкой полосы. Получившиеся лепестки отгибаются. В центре ротора привариваем втулку, 3 см в диаметре и 5 см в длину. Для правильной работы нашей крупорушки для начала нужно установить на вале статор, потом ротор устанавливается на прокладке.

Полезная статья: Правильный рацион питания коров
Сделанная своими руками зернодробилка прослужит вам долгое время, а так как изготовлена она вами по чертежам и видео, то и с ремонтом не возникнет никаких проблем. К тому же ее можно в любое время оперативно переделать крупорушку под возникшие нужды, к примеру, чтобы перемалывать не зерно, а овощи или фрукты.
Зернодробилка ШМЕЛЬ 11кВт | ФермерМ
| Зернодробилки | |
| Сырье | Зерно, сено, солома |
| Производительность переработки зерна | 2000 кг/ч |
| Гофрированный рукав | 10 м |
| Пусковое устройство с тепловой защитой | Имеется |
| Сенорезный комплект | Опция |
| Сито | 3 шт |
| Эжектор | Имеется |
| Общие | |
| Кабель | 10 м |
| Потребляемая мощность | 11 кВт |
| Напряжение | 380 В |
| Масса | 170 кг |
| Длина | 1100 мм |
| Ширина | 950 мм |
| Высота | 950 мм |
| Гарантия | 12 мес |
| Производитель | ООО “Альфа Фермер” |
| Страна | |
Руководство по эксплуатации универсальной вихревой дробилки «Шмель-5,5»
ВНИМАНИЕ! Перед запуском изделия в эксплуатацию, внимательно ознакомьтесь с инструкцией по эксплуатации.
НАРУШЕНИЕ ТРЕБОВАНИЙ ИНСТРУКЦИИ ПО ЭКСПЛУАТАЦИИ ВЛЕЧЕТ ЗА СОБОЙ ПРЕКРАЩЕНИЕ ГАРАНТИЙНЫХ ОБЯЗАТЕЛЬСТВ ПЕРЕД ПОКУПАТЕЛЕМ!
1. Описание и работа устройства
1.1 Назначение. Устройство, в дальнейшем «зернодробилка», предназначено для измельчения зерна и прочих зерновых культур, сена, соломы, отходов растительных культур.
1.2 Условия эксплуатации. Зернодробилка должна использоваться в закрытом помещении с хорошей вентиляцией или под навесом при температуре от -15˚С до + 50˚С. И относительной влажности воздуха не более 60%. Температура хранения изделия до -50 ˚С.
1.3 Технические характеристики
1.4 Схема электрическая принципиальная
Изделие работает от сети переменного тока напряжением 380В, с частотой 50Гц по ГОСТ.
Подключение зернодробилки к сети должно производится электриком, имеющим право работы в действующих электросетях.
Электродвигатель имеет подключение по схеме звезда. Принципиальная электрическая схема приведена на рис. 1.
После подсоединения электрической части дробилки проверить правильность направления вращения. При взгляде на всасывающий патрубок ротор должен вращаться ПРОТИВ часовой стрелки. При вращении ротора в противоположную сторону следует поменять местами 2 любые фазы.
ВНИМАНИЕ! Электрическая розетка в комплекте не поставляется!
Рисунок 1. Схема электрическая принципиальная
2. Комплектация
| – Зернодробилка вихревая | 1 шт |
| – Мягкий рукав ПВХ «Лигнум» d 120 мм | 7 м |
| – Бункер для сена, соломы (опция) | 1 шт |
| – Засосное устройство (эжектор) | 1 шт |
| – Пускатель с тепловой защитой | 1 шт |
| – Кабель электрический | 10 м |
| – Сито (комплект) | 3 шт |
3.
Инструкция по технике безопасности при работе с универсальной дробилкой
ЗАПРЕЩАЕТСЯ
– оставлять включенную дробилку без присмотра;
– эксплуатация дробилки без надежного заземления; – обслуживание, чистка, разборка изделия, включенного в электросеть;
– эксплуатация с повреждением питающего кабеля или повреждениями сита и ротора;
– эксплуатация изделия лицами моложе 18 лет и лицами, не прошедшими инструктаж по технике безопасности;
– эксплуатация дробилки в помещении с влажностью более 60% и при попадании брызг на изделие;
– работа с дробилкой в свисающей или балахонной одежде.
4. Устройство и работа изделия.
Дробилка состоит из основных узлов: корпуса, ротора, набора сменных сит, электродвигателя, бункера для сена (соломы), эжектора.
Общая конструкция изделия показана на рис.
Рисунок 2. Зернодробилка
4.1 Подготовка к работе.
– Собрать материал для дробления;
– Ввести эжектор (рис.
3) в бункер, оставляя дыхательную трубу свободной;
– Включить кнопку «Пуск» пускателя;
– В процессе работы всасывающая часть эжектора должна быть закрыта фуражом, а дыхательная труба свободной;
– Отрегулировать посредством перекрытия дыхательной трубы расход дробленой фракции.
ВНИМАНИЕ: во избежание забивания трубопровода и дробилки перерабатываемой фракцией не допускается полное перекрытие дыхательного отверстия.
В процессе эксплуатации необходимо периодически проводить осмотр ротора и нижнего сита. В случае появления порывов на поверхности сита и большого износа ротора, следует их заменить.
Дробилка способна без ущерба для конструкции пропустить через себя мелкие камни и металлопримеси.
При работе с дробилкой необходимо исключить попадание крупных инородных тел в сырье для дробления, т.к. это может привести к выходу из строя основного рабочего органа – ротора и сита.
При эксплуатации необходимо следить за температурой эл.
двигателя. Она не должна превышать более 60-70 С (терпит рука).
Двигатель снабжен инструментом защиты от перегрузки, короткого замыкания и перекоса напряжения по фазам. При отключении пускателя зернодробилки подождите 1,5-2 минуты до включения термореле и продолжите работу.
При повторном отключении термореле проверьте питающее напряжение в питающей сети и отрегулируйте подачу фракции с помощью эжектора (добавьте подачу воздуха).
Рисунок 3. Эжектор
ВНИМАНИЕ! Основным рабочим органом дробилки является ротор. Категорически запрещено как либо изменять конструкцию, подвергать нагреву, изготавливать в кустарных условиях. Ротор производится только с применением особых технологий и балансируется на специальном стенде. Любое изменение конструкции крайне опасно!
4.2 Замена сита.
Для замены сита отверните 8 гаек крышки и снимите крышку. Извлеките сито и замените его на другое. Сито должно вставляться плотно. При установке сито должно попасть в направляющие пазы на задней стенке корпуса.
4.3 Работа с соломой.
Для установки бункера под солому демонтируйте крышку, для чего отверните ее 8 гаек. Установите на место крышки бункер под солому и затяните гайки его крепления.
Демонтируйте опорную ногу на опоре электродвигателя и установите зернодробилку на ручки (рис. 4).
Рис. 4 Установка дробилки при работе с сеном.
5. Техническое обслуживание и хранение.
Через каждые 100 часов работы производить профилактический осмотр и регламентные работы, включающие:
– удаление пыли с деталей сжатым воздухом, при этом не допускается попадание на них капель из воздушной сети.
Хранить зернодробильное устройство следует в сухом помещении.
После хранения дробилку необходимо запустить на 5-10 минут без нагрузки для полной просушки обмоток двигателя и проверки подшипников.
виды, принцип работы, как сделать
Технические характеристики зернодробилок
Выбирая устройство для измельчения зерна, необходимо оценивать ряд параметров, которые являются основными критериями выбора данной сельскохозяйственной техники.
Зернодробилки нужны для измельчения и смешивания зерна для лучшего усваивания его животными. Некоторые животные вообще не могут есть цельное зерно, например, молодой скот и некоторые виды птицы, а те, что могут, лучше будут питаться, если скармливать им измельченный корм.
Зернодробилки для фермерского хозяйства бывают двух видов: перерабатывающие зерно и различные виды кормов: овощи, траву и также зерно.
На что обратить внимание:
Мощность агрегата, которая определяет его производительность.
Самые хорошие имеют мощность, как правило, чуть меньше 2 кВт. Это максимально, что может развить агрегат. Повседневная мощность при этом меньше, не более полтора киловатт. Сфера использования этих агрегатов — домашнее хозяйство. Промышленные имеют большую мощность, до 22 киловатт, и внушительные размеры. Они перерабатывают не менее 800 кг в час.
Скорость вращения.
Это количество оборотов за определенный отрезок времени. Чем она больше — тем лучше
Но наиболее просто определить производительность оборудования — это обратить внимание на количество обрабатываемого сырья за час.
Эта важная характеристика ставится часто в названии напротив модели числом
Вес и габариты агрегата для производства комбикорма.
Чем они меньше — тем удобнее. Естественно, при этом может страдать производительность. Чтобы избежать ошибок при выборе, нужно решить перед покупкой, для чего или для кого нужен агрегат, где есть возможность его разместить, в доме или постройке на участке, по какой цене вариант необходимо найти. Это все напрямую зависит от веса и габаритов агрегата.
Наличие съемных запчастей.
Наличие в комплекте сеток или различных частей агрегата, что позволяют калибровать готовую продукцию. Например, сетки с отверстиями разного размера.
Величина бака для засыпания корма. Сокращает усилия человека на обслуживание машины.
Чаще всего машины, область применения которых — дом или небольшое хозяйство, построены таким образом: дробленое зерно высыпается с нижней части, машину нужно ставить на подставку, самостоятельно сделанную хозяином, емкость для готового корма, а в подставке — отверстие.
Или есть варианты, что ставятся на ведро.
Виды зернодробилок по принципу работы
Зернодробилки бывают разные. Описание от производителя может не содержать информации, какого типа агрегат по этому критерию.
- Молотковые — более тщательно измельчают, но берут больше энергии. Молотковые аппараты для измельчения кормовых культур. Такие типы измельчают корм благодаря ударной силе механизмов. В аппарате есть барабан и решето, в барабане корм подвергается измельчению. Через отверстия барабана выпадают соответствующие по размеру частицы зерна. Регулируя величину этих отверстий можно подобрать нужный для себя вариант.
- Роторные же измельчают зерно так, что получаются частицы разного размера, неравномерно. Но они более экономичны. В роторные измельчители, где используются ножи, часто вставляют сетку, и частицы получаются не более определенного размера. Чтобы выбрать подходящие для себя машины, лучше всего полагаться их на общие качества, судя по отзывам и техническим характеристикам.

- Пневматические зернодробилки вне зависимости от типа, роторные они или молотковые, используют систему подачи сырья воздухом, экономя при этом электричество и усилия человека. Такие типы аппаратов, как правило, дробят очень мелко. Частицы двигаются по шлангам.
- Дисковые дробилки для зерна имеют диски, которые служат как жернова. На дисках расположены ножи. Расстояние между ними регулируемо, что определяет размер измельченного готового корма.
- Вальцовые зернодробилки. Принцип работы — движение рифленых элементов, между которыми происходит измельчение сырья, что попадает между ними.
Устройство
«Шмель», это одна из немногих зернодробилок, которые способны перерабатывать большое количество разнообразных зерновых и отходов. Она способна измельчить практически все виды злаков: просо, пшеницу, овес, гречку. Также она легко справится с мягкой древесиной и бумагой, древесной щепой и даже хвоей.
Притом ей не страшны сторонние включения, которые очень часто попадаются в перерабатываемом сырье – куски шифера, камни, бетон и даже частички металла.
Последние не попадают в помол, благодаря магнитному улавливателю, который, кстати, является единственной сложной, с конструктивной точки зрения, частью.
Конструкция зернодробилки очень удобна – по складу ее может перемещать всего лишь один человек, оператор. Также, ее нет необходимости крепить к полу – благодаря прекрасной балансировке зернодробилка максимально устойчива и не смещается во время работы.
Это касается не только приемной части, но и всей конструкции, которая разработана таким образом, что бы ее можно было разместить в любом помещении и это не сказывалось на производительности и удобстве загрузки.
Устройство зернодробилки шмель достаточно простое, благодаря чему она качественно отличается от любых аналогичных устройств. Именно благодаря простоте конструкции ее удобно использовать. Все сырье, загружаемое в дробилку, проходит два уровня помола, в двух последовательных камерах.
В первую камеру оно поставляется за счет вакуума – зерно засасывается и движется с минимальной скоростью.
Здесь же происходит его очистка от посторонних примесей и мусора.
Обе дробилки работают последовательно, по мере поступления зерна – сначала первая, где происходит очистка и грубый помол, затем вторая, где частично перемолотый продукт перемалывается окончательно.
Далее, по рукаву, перемолотое зерно или какой-либо из продуктов, доставляется до мешконабивателя, рассчитанного на шесть мешков. Полные мешки можно заменять просто во время работы – оператору достаточно перекрыть подачу воздуха, убрать заполненный мешок и на его место установить пустой.
Также, эту часть устройства можно заменить бункером – приемником, который также будет заполняться через рукав. При необходимости, дробилка способна подавать помол на высоту до девяти метров, таким образом можно заполнять прицепы грузовиков, не прибегая к помощи сторонних устройств – шнеков, лент и грузчиков.
«Шмель» выполняет все работы по подаче самостоятельно.
Смесь, полученная с помощью этой дробилки, содержит в два раза меньше пылевых образований, нежели помол, полученный в аналогичных устройствах, к тому же эта дробилка очень чистая.
Она не пылит во время работы – мешканабиватели оснащены специальным фильтром, а при замене мешка поток воздуха полностью перекрывается, также, не производя ни грамма загрязнения. Воздействие пыли на человека сведено к минимуму – ее практически нет.
Как сделать своими руками
1-Зернодробилка из УШМ 2-Зернодробилка из стиральной машины
Данный прибор можно изготовить самостоятельно. Произвести зернодробилку можно с помощью угловой шлифовальной машинки. В основании конструкции задействуется прочный лист фанеры. Она служит для закрепления основополагающих деталей аппарата. Чтобы закрепить шлифовальную машинку требуется пользоваться скобами, болтами. В качестве дробилки для зерна можно пользоваться металлическим диском с обоюдной заточкой.
На нижней части листа крепится сетка. Пластиковая бутылка может послужить бункером для злаковых культур.
Сделать аппарат можно с помощью стиральной машины. Принцип работы идентичен кофемолке. Он предусматривает измельчение исходного продукта посредством ножей, встроенных в барабан. Первый мотор должен быть вмонтирован на дно бака машины. В этой части производят монтаж сетки и окна, предназначенного для выхода готовой продукции. Второй двигатель надо установить рядом с входным отверстием у основания.
Монтаж защитного кожуха исключит засорение аппарата пылью. Валы моторов нужно установить под углом в 25 градусов, что дает возможность им вращаться разнонаправлено
Важно установить на бункер щитовой затвор, так как собранный агрегат характеризуется высокой производительностью. Под собранной установкой выполняется монтаж емкости, в которую транспортируется перемолотое зерно
Специалисты рекомендуют на выходной люк смонтировать рукав. Он исключит разлетания зерна в различные стороны.
Самодельная зернодробилка своими руками: чертежи, размеры, видео
Зернодробилка: чертежи, схемы, размеры, фото и видео самодельной зернодробилки. Зернодробилка незаменимая вещь в домашнем хозяйстве, применяется для измельчения зерен злаковых культур — кукурузы, пшеницы, ячменя, овса, для приготовления дерти или комбикормов для домашней птицы и животных.
Для домашнего хозяйства обычно не требуется мощная мельница, вполне достаточно небольшой зернодробилки изготовлением которой мы и займёмся в этой статье.
Существует довольно много разновидностей зернодробилок, мы рассмотрим самый простой вариант самодельной зернодробилки, который можно сделать своими руками.
Для изготовления дробилки понадобится:
- Электродвигатель мощностью около 1 кВт.
- Листовой металл толщиной 3 мм.
- Калёная сталь для ножа.
- Болты, гайки, шайбы, гроверы — М8.
- Металлическая бочка или ёмкость подходящих размеров.
Инструмент:
- Болгарка с отрезным кругом.

- Электродрель.
- Шлифовальный станок.
- Сварочный аппарат.
- Слесарный инструмент.
Самодельная зернодробилка: схема
Зернодробилка состоит из таких узлов:
- Задвижка для регулирования подачи зерна в рабочую камеру.
- Бункер для зерна.
- Кнопка включения-выключения электродвигателя.
- Электродвигатель.
- Втулка.
- Ось.
- Шайба.
- Гайка.
- Винт.
- Основание.
- Корпус рабочей камеры.
- Ёмкость для измельчённого зерна.
- Болт.
- Гайка.
- Металлическая сетка (решето).
Схема рабочей камеры дробилки.
- Основание.
- Корпус рабочей камеры.
- Винт.
- Решето.
Изготовление самодельной зернодробилки
Для зернодробилки можно использовать двигатель от водяного насоса мощностью около 1,5 кВт 3000 об/мин.
Двигатель устанавливается на основание, металлический лист толщиной не менее 3 мм. В листе нужно просверлить отверстие диаметром чуть больше диаметра вала двигателя.
Двигатель крепим к пластине болтами.
Рабочую камеру можно изготовить из листового металла 3 мм, вырезаем полоску толщиной 40 мм и выгибаем из неё кольцо диаметром 300 мм. Кольцо приваривается к основанию.
Для крепления ножа к валу двигателя понадобится муфта, заказать выточить муфту можно любому токарю.
Нож для зернодробилки можно изготовить из ножа газонокосилки или диска циркулярной пилы. Длина ножа должна быть соответственно на 10 – 20 мм меньше диаметра рабочей камеры. Нож крепится к муфте болтами М 8, муфта одевается на вал двигателя.
Дно рабочей камеры закрываем решетом, изготовить решето можно из металлической сетки с размером отверстий 3 – 3,5 мм. Решето крепим к рабочей камере шпильками и гайками, если требуется изменить размер помола достаточно поменять решето на другое с отверстиями требуемого диаметра.
Установка бункера для засыпки зерна. Под бункер можно использовать любую конусообразную ёмкость, для этого в верхней пластине рабочей камеры нужно сделать небольшое отверстие диаметром около 30 мм, приварить на него бункер и сделать задвижку для регулировки подачи зерна из бункера в камеру.
Зернодробилку устанавливаем на металлическую бочку или другую подходящую ёмкость.
Принцип работы самодельной зернодробилки
Закрываем задвижку в бункере и засыпаем в него зерно, включаем электродвигатель и понемногу приоткрываем задвижку. Зерно начнёт понемногу просыпаться в рабочую камеру и измельчаться вращающимся ножом.
Когда зерно измельчится оно начнёт проспаться в нижние отверстия решета рабочей камеры и попадёт в бочку. В зависимости от диаметра отверстий решета вы получите либо крупный помол, либо мелкий, пока зерно не измельчится до такой степени что начнёт проваливаться в отверстия, оно будет оставаться в барабане и измельчаться ножом.
Задвижка на бункере нужна для регулирования подачи зерна, если двигатель начинает терять обороты, значит нужно уменьшить подачу зерна путем закрывания задвижки тем самым уменьшая размер входного отверстия.
Рабочий нож в процессе работы понемногу изнашивается, поэтому его нужно периодически менять.
При засыпке зерна в бункер нужно следить чтобы вместе с зерном в дробилку не попадали камни и металлические предметы которые могут повредить нож и вывести из строя двигатель.
Рекомендую посмотреть видео где показана самодельная зернодробилка в работе.
Устройство зернодробилки видео.
(2 4,50 из 5) Загрузка…
Принцип работы самодельной зернодробилки.
Закрываем задвижку в бункере и засыпаем в него зерно, включаем электродвигатель и понемногу приоткрываем задвижку. Зерно начнёт понемногу просыпаться в рабочую камеру и измельчаться вращающимся ножом.
Когда зерно измельчится оно начнёт проспаться в нижние отверстия решета рабочей камеры и попадёт в бочку. В зависимости от диаметра отверстий решета вы получите либо крупный помол, либо мелкий, пока зерно не измельчится до такой степени что начнёт проваливаться в отверстия, оно будет оставаться в барабане и измельчаться ножом.
Задвижка на бункере нужна для регулирования подачи зерна, если двигатель начинает терять обороты, значит нужно уменьшить подачу зерна путем закрывания задвижки тем самым уменьшая размер входного отверстия.
Рабочий нож в процессе работы понемногу изнашивается, поэтому его нужно периодически менять.
При засыпке зерна в бункер нужно следить чтобы вместе с зерном в дробилку не попадали камни и металлические предметы которые могут повредить нож и вывести из строя двигатель.
Рекомендую посмотреть видео где показана самодельная зернодробилка в работе.
https://youtube.com/watch?v=z4jeV2Fe4bo
Устройство зернодробилки видео.
Зернодробилки: назначение и виды
Зернодробилка разрезает, раздавливает, перемалывает и иным образом измельчает ячмень, кукурузу, пшеницу и другие злаки, чем повышает их пищевую ценность и облегчает переваривание.
По сути своей, это очень просто устройство, которое состоит из электродвигателя и рабочего инструмента, который этот двигатель и вращает. В зависимости от особенностей рабочей части выделяют несколько видов зернодробилок:
- в роторных зернодробилках корм измельчается вращающимися ножами. Это довольно эффективный, зато не слишком аккуратный способ: измельчать здесь можно не только зерно, но и, скажем, сено или овощи, но одинакового диаметра от частиц измельчённого корма можно не ждать;
- в молотковых зерно дробит специальный барабан с находящимися внутри молоточками. Такая конструкция подходит исключительно для зерна, но измельчает его равномерно и аккуратно;
- вальцовые измельчители раздавливают зерно между двумя вращающимися вальцами с ребристой поверхностью. От рельефности вальцов и расстояния между ними зависит степень измельчения зерна: здесь его можно просто раздавливать, очищая и повышая пищевую ценность, но не превращая в мелкую крупу. К тому же вальцовые крупорушки подходят для работы не только с зерном, но и, скажем, с солодом.

Параметры зернодробилки, которые вам нужны, зависят от того, в какое хозяйство вам нужен этот аппарат. Скажем, для приусадебного хозяйства с десятком кур вполне достаточно компактной машинки весом в 10-15 кило с производительностью не более 60 кг корма в час. А вот для крупной фермы нужна зернодробилка совсем другого класса: речь о стационарных промышленных аппаратах с производительностью в несколько центнеров зерна в час.
Большинство зернодробилок — сетевые электрические устройства, о производительности которых можно косвенно судить по мощности электродвигателя. Чем выше мощность, тем больше электричества будет потреблять измельчитель, но при этом работать он сможет дольше, а производительность его — выше.
Виды домашних зернодробилок – классификация агрегатов
Конструкция любой бытовой дробилки отличается своей простотой и небольшими габаритами. Тем не менее, каждой такой модели свойственна достаточно высокая производительность, позволяющие перерабатывать объемные партии материала за довольно короткие сроки.
По принципу работы машины для измельчения зерна делятся на несколько типов. К ним относится:
- Молотковая машина – в ее конструкции элементы для измельчения монтируются на ротор, который вращается внутри приемного бункера;
- Роторная дробилка – рабочие камеры агрегатов этого типа изготавливают из прочного металла, что гарантирует высокую надежность машины. Элементы для измельчения ударяют о стенки бункера, тем самым дробя зерно. При этом дробящие элементы будут бить о стенки до тех пор, пока зерно не превратится в мельчайшие фракции;
- Дисковая машина – в подобно конструкции дробящие ножи фиксируются на валу посредством специальных дисков;
- Вальцовая дробилка – она может, как дробить, так и перетирать зерно. Основным элементов к такой конструкции выступают рифленые вальцы. Они эффективно перерабатывают только мокрый материал. Сухое зерно требуется предварительно смочить в воде.
- Ручная дробилка – наиболее простой прибор, для работы с которым требуется время и силы владельца. Этот агрегат измельчает материал в продукт крупного помола, который в дальнейшем можно использовать для питания взрослых особей крупного рогатого скота;
- Пневматическая дробилка – такая машина применяется для переработки кукурузы и других мелких продуктов. Подобный агрегат работает достаточно быстро и измельчает зерно в мелкие фракции, которые можно подмешивать в еду для мелких питомцев, а также для перепелов и других видов домашней птицы;
- Электрическая дробилка – данный агрегат отличается высокой производительностью и простой конструкцией. Он не обладает большими габаритами, и зачастую покупается, как для дома, так и для фермерских хозяйств.
Подробно изучив виды и отличия измельчителей, начинающему фермеру будет гораздо проще определиться с выбором дробилки для использования в домашней среде.
Разбираемся с материалами изготовления зернодробилки
Сразу нужно оговориться и сказать о том, что конструкция самодельной зернодробилки может быть совершенно разной. То есть, если есть под рукой старая ненужная болгарка или стиральная машина, то их можно легко использовать в конструкции зернодробилки. Также, для изготовления данной самоделки, можно применить электродвигатель от пылесоса, он имеет очень высокие обороты, поэтому отлично подойдет.
Теперь что касается материалов изготовления. В любом случае, если зернодробилка будет делаться на базе болгарки или электродвигателя от пылесоса, потребуются:
1. Толстая фанера — используется в качестве основы для зернодробилки. Также, из фанеры, изготавливается бункер для загрузки зерна; 2. Метизные изделия — скобы, болты и саморезы, посредством которых, можно было бы прикрутить болгарку или электродвигатель к основе; 3. Сетка — будет использоваться в качестве сита; 4. Металлическая пластина или диск от овощерезки.
Итак, рассмотрим, как можно сделать зернодробилку своими руками, используя для этих целей старую стиральную машинку, болгарку или электродвигатель от пылесоса.
Универсальная зернодробилка Шмель
При помощи зернодробилки, собранной из деталей сельхозтехники, можно измельчить мешок зерна за 15 минут. Внешний тормозной барабан от трактора ДТ-75 используется в качестве основания. На его внутренней стороне имеются зубья. Они будут цеплять ведомые диски фрикциона. Диск сошника сеялки заменит передний фланец основания. В комплекте с ним имеются ступица и подшипник. Свекловичная сеялка СУПН-8 используется в качестве бункера зерна. А молотки выполняются из противорежущих пластин зерноуборочного комбайна.
Устройство самодельной зернодробилки
Принцип работы:
- 1. Запуск двигателя от электросети и его прогрев.
- 2. Засыпка сырья в бункер.
- 3. Переработка зерна в дробильной камере: перемол ножами.
- 4. Отсев через сито в приемный бак.
От диаметра ячеек сита зависит степень измельчения зерна. Оборудование можно укомплектовать ножом-теркой для измельчения овощей, травы и фруктов.
Перосъёмная машина своими руками: чертежи, устройство
1.
1
Основание измельчителя
На токарном станке проводят обрезку барабана до высоты 65 мм. Высота выточки с внутренней стороны должна составлять 3 мм, а диаметр — 282 мм. Затем отрезается третья часть в барабане для отверстия под решето, которое должно придерживаться дугами, приваренными к фланцу и внешней стороне барабана.
Чертеж основания измельчителя без бункера и тумбочки
Фланец (1) стачивается до размера 285+0,5 мм, вставляется в барабан и приваривается. Для повышения производительности дробилки в ступице сверлят воздухозаборные отверстия диаметром 8 мм. На место отрезанной части барабана крепят решето двумя болтами М8 и боковую пластину к поверхности диска в сошнике.
Решето измельчителя: чертеж с размерами
Отверстие на верхней части барабана составляет 5,5 х 4,3 см. В нем закрепляется бункер с задвижкой для регулировки потока зерна, поступающего в измельчитель. Ее устанавливают в нужное положение и фиксируют болтом М5 и маховичком. Воронку, через которую высыпается измельченное зерно, приваривают на фланец (10).
Дробилка крепится за счет уголка. Тумбу разделяют горизонтальной перегородкой на две части. Сверху устанавливают предохранительный автомат, сигнальную лампу, реверсивный магнитный пускатель и кнопку включения. Снизу хранят инструмент и сменные решета.
Гранулятор для комбикорма своими руками: конструкции, чертежи, фото
1.2
Молотковый барабан
Две пластины наваривают поверх вала, торец которого имеет отверстие с резьбой М10. При разъединении барабана и вала в него вставляется болт-съемник. Оси оборудованы шестью молотками равного веса с высокой износостойкостью.
Молотковый барабан: сборочный чертеж
Высверливаются отверстия для заклепки диаметром 1 см каждое. Шайбами регулируются расстояния по оси между молотками. Для интенсивного дробления их располагают в параллельных плоскостях.
Изготовление маточника для кроликов своими руками: чертежи и рекомендации
1.3
Балансировка дробилки
Статическую балансировку вращающихся частей проводят для уменьшения вибрации.
Такую операцию проводят на специальном устройстве.
Устройство для балансировки барабана
Собранную конструкцию барабана устанавливают поверх ножей в горизонтальной плоскости. Высверливанием металла из пластин добиваются равномерной остановки ротора.
1.4
Инструкция по сборке
Для использования в домашнем хозяйстве собирается установка небольших размеров по аналогии с зернодробилкой Шмель заводского производства. Такое устройство оснащается ротором и подключается к сети 220 Вольт.
Таблица: Сборка поэтапно:
| Шаг | Фото | Описание |
| 1 | Используется двигатель мощностью 350 Вт (1500 об/мин) с конденсаторами. На вал насажен барабан с молотками, закрепленными попарно в четырех местах | |
| 2 | На сетке заготовлены отверстия диаметром 4 мм и продольные щели для отсева крупной фракции | |
| 3 | Сетка вставляется в заранее подготовленные пазы | |
| 4 | Ударом молотка плотно закрепляется с небольшим смещением вправо | |
| 5 | Бак из жести с квадратным патрубком крепится с входным отверстием рабочей камеры | |
| 6 | Механизм предназначен для регулировки подачи зерна и качества помола | |
| 7 | Специальный клапан для ограничения подачи зерна опускается и поднимается вручную | |
| 8 | Переносная конструкция устанавливается на ножки | |
| 9 | Барабан закрывается крышкой |
Дробилка для зерна, изготовленная своими руками, не сравнится с агрегатами промышленного масштаба, но в домашних условиях перерабатывает 10 кг сырья за полчаса.
Рекомендации
Чтобы производительность измельчителя оказалась достаточно высокой, придерживайтесь советов специалистов.
Заизолируйте мотор при помощи дополнительного кожуха, изготовленного, например, из большой жестяной банки. Дело в том, что мотор попадает в пыльную среду – эта пыль образуется при размалывании сухого зерна. Двигатель может забиться отложениями, и его работа замедлится – будет теряться заметная часть полезной его мощности.
Перечисленные меры позволят пользователю перерабатывать большие объёмы зерна, не вкладываясь лишний раз в ремонт и не останавливая срочную работу.
Как сделать зернодробилку из двигателя своими руками, смотрите в видео.
как сделать дробилку для зерна самому в домашних условиях из стиральной машины, самодельный доильный аппарат из пылесоса
Виды домашних зернодробилок, классификация агрегатов
Практически все корма, которые выпускают для скота, имеют не очень удобную форму и довольно часто с трудом перевариваются животными, живущими на скотном дворе.
Для улучшения пищеварения корма целесообразно предварительно обработать. То есть пропустить через дробилку (измельчитель) и решето, которое в нем установлено.
Такой подход позволяет добавить к измельченному корму различные пищевые добавки, витамины и другие компоненты, входящие в рацион скота. При введении добавок, получаемую смесь необходимо тщательно перемешивать.
Тут надо сказать, что скот и птица с удовольствием принимают такой корм и это положительно сказывается на их весе.
Возможность получения питания для скота в такой форме существенно поднимает эффективность использования кормов.
youtube.com/embed/7pKXzXsDZ6U?feature=oembed” frameborder=”0″ allow=”accelerometer; autoplay; encrypted-media; gyroscope; picture-in-picture” allowfullscreen=””/>
Зернодавилка – гаджет для любителей мюсли
Честно признаюсь, когда я брала на тест зернодавилку, я относилась к ней крайне скептически. Мне казалось, что это странный и бесполезный предмет, который… что? Давит зерно? Зачем? Что это значит вообще? Но делать нечего – по заданию редакции мне надо было опробовать эту бабину и написать о впечатлениях.
Мне досталась зернодавилка ручная Eschenfelder настольная (есть еще настенная). По размеру девайс небольшой: 24 см в высоту, 12 см в ширину и 10 см в глубину; весит она 2,3 кг и состоит из:
- буковой чаши, в которую насыпается ваш продукт;
- двух валиков из нержавеющей стали, которые его расплющивают;
- ручки, которую вы крутите для вращения валиков;
- винтового механизма, регулирующего расстояние между валиками;
- металлического желоба, по которому уже раздавленное зерно падает в подставленную посуду;
- подставки, на которой все это стоит и за которую вы крепите гаджет к столу.

Ручная настольная зернодавилка Eschenfelder
В комплект также входит жесткая кисточка для очистки валиков и простой фиксирующий механизм, прикручивающий давилку к столу — наподобие крепления у мясорубки. После этой стабилизирующей манипуляции девайс надежно укреплен на столе и не требует дополнительного придерживания рукой – теперь давилкой можно пользоваться.
Прочитав инструкцию, я поняла, что эта штука сплющивает любые зерна и семена, кроме кукурузы (так написано в сопутствующей бумажке), делая их плоскими и похожими на хлопья, которые мы видим в магазинных пачках мюсли.
Но сплющиванием зерен дело не ограничивается.
Давилка может делать что-то вроде крупы, если пропустить ваши семечки через давилку несколько раз; она может молоть специи, готовить детское питание и расплющивать бобовые для любых блюд.
Тем не менее, я решила остановиться именно на изготовлении мюсли, потому что очень их люблю. Из своих домашних запасов я выбрала в качестве подопытных кроликов пророщенные пшеницу и голозерный овес, сухие семена кунжута и мака, а также тыквенные и подсолнечные семечки – и приступила к экзекуции.
ДО зернодавилки: подсолнечные и тыквенные семечки, кунжут, мак, пророщенный овес и пророщенная пшеница
Сначала в ход пошла пшеница. Сухую пшеницу класть в зернодавилку нельзя – ее нужно предварительно замочить в воде на полчаса, а потом оставить на ночь на полотенце, чтобы она размокла и ее можно было раздавить и потом прожевать — так советуют производители.
Моя же пшеница лежала в воде всю ночь и потому была сырая. Зернодавилка бодро справилась с пшеницей, но я сделала вывод, что сухие продукты давятся гораздо легче и быстрее, чем сырые (и что рекомендаций производителей нужно придерживаться).
Сухие семена не надо специально проталкивать, они сами сыпятся из чаши на валики, поэтому ими можно засыпать сразу всю чашу, а влажные продукты (как мою замоченную пшеницу) приходится сыпать по чуть-чуть и проталкивать и рыхлить подручными средствами – процесс идет тяжелее и медленнее.
Результат, впрочем, оказался великолепен – не до конца размокшие и потому жестковатые зерна пшеницы превратились в мягкие хлопья, а точнее – в массу из давленого зерна, которую можно легко прожевать и которая, кстати, великолепно пахнет.
Размолотая в зернодавилке пшеница
Далее настала очередь овса, который был мягче пшеницы и который я уже, наученная предыдущим опытом, засыпала в чашу порционно.
Восторгу моему не было предела, когда из желоба давилки в подставленную миску начала выпадать самая настоящая овсяная каша! Только живая, ничем не обработанная, сохранившая все полезные вещества и витамины и пахнущая прямо-таки сладким ароматом каких-то лугов. Овес, я люблю тебя!
Овсянка, сэр!
Для кунжута и мака я чуть-чуть подкрутила винтовой механизм, чтобы валики располагались поближе, что подходит для очень мелких семечек и зерен. После первой прокрутки на металлическом валике и на моих пальцах уже было кунжутное и маковое масло, которое очень сильно пахло по сравнению с самими зернами.
Один раз размолотый в зернодавилке мак. На фото не совсем видно, но мак действительно немного размололся и дал масло.
Никогда раньше я не видела и не нюхала маковое масло! Правда, и мак, и кунжут мне пришлось прокрутить два раза, чтобы расплющить посильнее, но я делала это больше из любопытства, а для добавления в какие-то блюда и одной прокрутки совершенно достаточно.
Размолотый в зернодавилке кунжут
Оставленные на десерт семечки еще больше подняли мне настроение, потому что выходили из-под валиков маленькими плоскими кусочками с «вафельным» рисунком-оттиском. Конечно, эти кусочки очень хрупкие и рассыпаются, если их взять в руку, но в миске это смотрится очень мило.
Размолотые в зернодавилке подсолнечные семечки семечки с «вафельным» рисунком-оттиском от валиков
Кстати, для тыквенных семечек мне пришлось раздвинуть валики довольно сильно, потому что крупные семечки просто не попадали внутрь механизма, болтаясь на поверхности.
Размолотые в зернодавилке тыквенные семечки
Результаты моих трудов были свалены в миску, смешаны, посыпаны изюмом, заправлены кокосовым молоком, лимонным соком и медом и очень быстро съедены.
Посему фотографии моего завтрака вы не увидите, но поверьте мне – он стоил всей этой возни с зернодавилкой!
Что мы имеем в итоге?
Плюсы
- Возможность делать домашние мюсли из любых зерен, семечек и даже специй
- Несложный и надежный ручной механизм
- Простая эксплуатация
- Надежное крепление к столу
- Легкое и быстрое измельчение сухих продуктов
- Возможность регулирования винтового механизма под разные размеры зерен
Минусы
- Цена
- Давление зерна требует времени, каждое утро перед работой это делать не будешь, а раздавленное зерно долго не хранится
- Тяжело и неудобно мыть, а после использование на давилке остаются масляные следы
- Сырые продукты измельчаются медленнее сухих
ПОСЛЕ зернодавилки: подсолнечные и тыквенные семечки, кунжут, мак, пророщенный овес и пророщенная пшеница
Если вас устраивают покупные мюсли или если на завтрак у вас обычно есть не больше пяти минут, то давилка, скорее всего, не для вас.
Хотя все зависит от сноровки – если вы с вечера подготовите зерно и давилку, то утром можно быстро прокрутить пшеницу или овес, кинуть в миску горсть изюма и орехов, залить чем вы любите – и вперед.
Виды дробилок
Дробилки можно разделить на несколько классов:
- Промышленные – их применяют в больших агропромышленных хозяйствах.
- Бытовые – они нашли свое применение в приусадебных хозяйствах.

Бытовая зернодробилка
Промышленная зернодробилка
Можно привести и другой вариант классификации.
Многочисленную гамму дробилок можно классифицировать таким образом – по типу обрабатываемых кормов:
- Установки для обработки корней. Ее используют для разделки корнеплодов и дальнейшего перемешивания с пищевыми добавками и витаминами.
- Установки для обработки силоса – это оборудование нашло свое применением для размельчения ростков зерновых культур, травы или солода.
Установка для обработки силоса
Кроме перечисленных установок, промышленность выпускает и универсальное оборудование. Оно может быть использовано для обработки всех видов кормов.
youtube.com/embed/JdQx1K-CUQM?feature=oembed” frameborder=”0″ allow=”accelerometer; autoplay; encrypted-media; gyroscope; picture-in-picture” allowfullscreen=””/>
На что обратить внимание при выборе зернодробилки
Приобретая любое устройство, покупатель должен учитывать предполагаемую нагрузку. Выбор дорогой промышленной зернодробилки оправдан, если нужно перерабатывать большое количество зерна. Для подсобного хозяйства подойдет бытовой прибор.
На цену влияет тип привода. Самый дешевый вариант – ручная зернодробилка, но для ее использования нужны существенные механические усилия. Дороже стоит зернодробилка с пневматическим или электрическим (самый удобный) приводом.
Принцип работы дробилок
Главный принцип работы измельчителя заключается в следующем – под воздействием механизмов, входящих в состав этого оборудования, происходит разрушение исходного продукта. Затем, полученный полуфабрикат сортируют с применением сита. Это устройство помогает отсортировывать полученные частицы по размеру.
Фракцию полученных частиц называют величиной помола.
В качестве рабочих инструментов могут использоваться молотки или ножи. Которые с большой скоростью вращаются внутри емкости, в которую засыпано сырье подлежащее переработке. По сути, молотковая крупорушка напоминает такую установку, как галтовочная машина, широко применяемая в машиностроении.
В движение рабочие органы могут быть приведены или с помощью мускульной силы или электрического привода. Применение малогабаритных дробилок, которые часто применяют в приусадебных хозяйствах, существенно облегчает труд и повышает производительность труда. На больших фермах или агрокомплексах без установок промышленного назначения обойтись невозможно. В качестве такого агрегата можно рассмотреть зернодробилку «шмель». Это отечественная разработка нашла широкое применение в небольших фермерских хозяйствах и приусадебных участках.
Механизм дробления, установленный в этом изделии, позволяет обрабатывать не только корма, но и перерабатывать некоторые материалы, например, слюду, которую используют в качестве добавок.
Те, кто умеет обращаться с инструментом и сварочным аппаратом вполне могут выполнить дробильную установку своими руками.
Принцип работы
Основной смысл подобных агрегатов в том, чтобы за счет механических воздействий оборудования на исходный продукт получить готовый полуфабрикат требуемой фракции. Основными инструментами в самодельной дробилке для зерна считается молоток либо ножи, осуществляющие измельчение. Они внутри рабочей емкости быстро вращаются, воздействуя на засыпанное сырье. Подобный агрегат похож на галтовочную установку, которая часто используется в машиностроении. Функционируют зернодробилки на ручной либо электротяге.
Образец дробилки
Применение небольших агрегатов на приусадебных участках позволяет существенно повысить эффективность работы, а также снизить трудозатраты. Использование более серьезных моделей осуществляется на крупных фермах, а также агрохолдингах. К тому же такие устройства для дачного использования можно изготовить самостоятельно при наличии необходимого инструмента, а также умения обращаться со сварочным аппаратом.
Типы конструкции
Всего существует несколько разновидностей зернодробилок, которые стоит рассмотреть подробнее.
Роторные дробилки
Для подобных вариантов дробилок характерен большой вес, крупные габариты, а также наличие мощной силовой установки. Их применяют с целью измельчения различных культур, а также травы либо корнеплодов. Устройства справляются с ними без труда. Главным рабочим органом агрегата считается ротор, на котором установлены ножи. Размер фракции готового сырья определяется скоростью, с которой вращается ротор. Делать такой измельчитель зерна своими руками либо покупать его в готовом варианте обойдется существенно дороже, нежели молотковый вариант. К тому же из-за больших габаритов, а также веса, подобных агрегат проблематично использовать в небольших хозяйствах.
Обязательно почитайте: Самоделки из бензопилы Дружба
Молотковые дробилки
Такой вид представляет собой более сложное в плане конструкции устройство. Однако это становится причиной сложности его использования.
Так, после запуска двигателя, начинается вращение барабана. При этом молотки, которые установлены внутри, также начинают движение и бьют по нему. В результате засыпаемое зерно попадает под такие удары и раскалывается на небольшие части. После этого оно опускается на сито, через которое просеивается мелкая фракция, а более крупная продолжает оставаться внутри и измельчаться.
Схема зернодробилки
Какая зернодробилка лучше: молотковая или роторная?
На практике применяют дробилки, в основании которых лежат две принципиальные схемы – роторную и молотковую.
Роторные дробилки
Первый тип обладает большим весом, размерами и для ее работы будет необходим довольно мощный электрический двигатель. Такое устройство с легкостью перерабатывает культуры разных типов – зерновые, травы и корнеплоды.
Зернодробилка роторная
Рабочий орган такой машины – ротор, с зафиксированными на нем ножами.
Размеры измельчаемого сырья, напрямую зависят от скорости вращения ротора.
Это оборудование стоит существенно больше чем молотковое. Ко всему прочему в следствие больших габаритно – весовых параметров эти установки применяют по большей части в крупных хозяйствах.
Молотковые дробилки
Дробилка этого типа имеет более сложное конструктивное устройство. Но это не вызывает каких-либо сложностей в эксплуатации.
Зернодробилка молотковая
В состав молоткового типа входят:
- корпус;
- молотки;
- емкость, в которую засыпают сырье;
- барабана;
- сито;
- силовая установка.
После запуска силовой установки барабан начинает вращаться, а молотки, расположенные внутри его начинают бить его изнутри.
Зерно, которое попадает внутрь барабана, под действием удара раскалывается и через некоторое время достигает заданного размера.
На самом деле, однозначного ответа на вопрос какая дробилка лучше нет. Все определяется размерами фермы или приусадебного участка и конечно, требованиями, предъявляемыми к корму.
Кроме того, роторная установка может обработать один и тот же объем сырья быстрее, чем молотковая, но качество получаемого продукта лучше у молотковой машины.
Разновидности машинок для измельчения зерна
Разновидности машинок для измельчения зерна
В зависимости от способа помола, конструкции и расположения рабочих органов различают 4 разновидности зернодробилок:
- Роторные – дробление зерна в таких устройствах происходит за счет расположенного горизонтально и движущегося с большой скоростью ротора.
- Молотковые – конструкция таких зернодробилок включает в себя вращающийся вертикальный барабан и расположенные по кругу неподвижные молотки, о которые и измельчается зерно. Готовая мука при таком помоле ссыпается вниз и, проходя через сито, попадает в подставленную под деку корпуса емкость.
- Вальцовые – дробилки измельчают зерно за счет расположенных в одной камере 2 вальцов, вращающихся навстречу друг другу.
При этом зазор между ними настолько мал, что попадающее сырье не просто сминается, а за счет большой скорости дробится в пыль. Преимущества таких устройств по сравнению с другими состоит в возможности дробления зерна с высокой влажностью. - Жерновые – крупорушки, дробление зерна в которых происходит при попадании его между двумя расположенными с небольшим зазором дисками (жерновами). При этом один диск вращается на большой скорости, а второй находится в неподвижном состоянии.
Обязательно почитайте:
Делаем бытовой гранулятор для комбикорма своими руками из мясорубки или пресса
Среди этих разновидностей наиболее распространены роторные и молотковые – они более производительные, надежные, простые в ремонте и обслуживании.
Устройство зернодробилки, конструктивные особенности машины
Производители выпускают на рынок множество дробилок, с разными характеристиками, производительностью и пр. Большая часть подобного оборудования проста в обслуживании и не занимает много места.
Как уже отмечалось выше, на практике применяют дробилки, которые используют в своей работе роторный или молотковый принципы.
Схема для сборки зернодробилки своими руками
Устройство зернодробилки
В роторных машинах установлен барабан с ножами. В молотковых, в качестве рабочего инструмента используют молоточки, которые загружены внутрь барабана.
Кстати, существует оборудование, которое в качестве источника энергии применяют сжатый воздух. Обрабатываемое сырье перемещается внутри барабана вместе с воздухом. В результате этого, качество, получаемого продукта резко увеличивается. Кроме того, в этой, да и во многих других конструкциях, применяют магниты, которые отбирают попавшие в смесь металлические частицы.
Рейтинг зернодробилок по качеству – что предлагает рынок?
На современном рынке можно найти огромное количество различных измельчителей зерна, каждый из которых обладает определенными свойствами, и имеет ряд плюсов и минусов.
Мы составили свой рейтинг самых качественных агрегатов, способных прослужить длительное время, не требуя специального обслуживания и ремонта. В нашем обзоре нет ни одной китайской модели, так как они не обладают высоким ресурсом и не способны выдерживать значительные нагрузки.
На пятом месте нашего рейтинга находятся агрегаты марки «Хрюша». При невысокой стоимости эти машины обрели большой спрос благодаря удобству в работе. Производитель предлагает широкий ассортимент дробилок, производительностью от 300 до 400 кг готового продукта за час работы.
Среди недостатков можно выделить низкое качество металла, из которого изготавливаются приемные бункеры агрегатов и высокая стоимость запчастей. Четвертое место заняли машины марки «Эликор». Эти дробилки обрели спрос за счет невысокой стоимости и большого запаса мощности. Вместе с тем, агрегаты этой марки достаточно габаритные, что не позволяет использовать их в разных участках хозяйства.
Третье место заняли агрегаты марки «Фермер».
Эти машины достаточно надежные, имеют высокое качество сборки и длительный рабочий ресурс. Однако высокая стоимость агрегатов зачастую не позволяет приобрести их начинающим фермерам.
Второй место занимают бытовые дробилки «Колос». Эти агрегаты не отличаются высокой производительностью, однако они достаточно надежные, и могут выдерживать длительные нагрузки даже при экстремально низких температурах.
Первое место уверенно заняли измельчители известной марки «Зубр». Эти качественные агрегаты обладают высоким рабочим ресурсом, небольшими габаритами, они достаточно надежные и позволяют перерабатывать практически любой тип зерна.
Как выбрать зернодробилку: советы экспертов
Выбор подходящей модели
Каким образом надо выбирать дробилку, которая будет отвечать всем требованиям потребителей? Для этого необходимо знать ответы на некоторые вопросы:
- Производительность.
Высокая скорость перемалывания обеспечивает высокую производительность получения готовой продукции, соответственно будет и высокой эффективность от использования такой установки. Такие установки можно считать оптимальным решением для крупных хозяйств. Для домашней работы довольно установки с низкой или средней скоростью обработки сырья. - Цена. Оборудование должно не только обеспечивать высокое качество получаемого продукта, но приносить определенные доходы, для окупаемости сделанных вложений в это оборудование.
- Степень помола. Устройство должно быть выбрано исходя из того, для какого вида скота и птиц будет предназначен производимый корм.
- Мощность приводной станции. Производительность установки тем больше, чем больше мощность установленной силовой установки. При этом необходимо учитывать что чем выше мощность двигателя тем больше расходы на энергию.
- Компания — изготовитель. Бесспорно, существуют компании с мировым именем, производящие измельчители, но надо трижды подумать о том, насколько быстро окупятся средства вложенные в бренды.

При выборе какой-то модели, необходимо руководствоваться на указанные производителем характеристики.
О плющеном зерне
Существует два вида обработки зерна: плющение и дробление. Несмотря на схожесть полученного продукта, процессы эти совершенно разные. Дробление предусматривает разделение целого зерна, а плющение разрывает зерно на клеточном уровне, но сохраняет общую структуру. Увидеть это можно при помощи микроскопа.
Плющеное зерно своим видом напоминает хлопья, а максимальная толщина такого зерна не превышает 1,8 миллиметров. Плющеная же кукуруза уменьшается в размерах до 2,5 мм.
Если сравнивать потребление энергии зерноплющилкой и зернодробилкой, то можно увидеть, что при одинаковой производительности зерноплющилка потребляет в три раза меньше электричества.
Плющилка зерна более компактна.
Зернодробилка своими руками
Зернодробилка – это не самое сложное сооружение и его необходимость его использования в приусадебных и фермерских хозяйствах уже многократно доказана. Но следует отметить, что это на самые дешевые установки. Поэтому те, кому, это оборудование необходимо, изготавливают ее самостоятельно. В самом деле, это не так и сложно, причем не требует большого набора инструмента.
Зернодробилка своими руками
Изготовление основания измельчителя В состав опоры измельчителя входят следующие составные части:
- Фланец;
- Ступица, на который установлен подшипниковый узел;
- Зубчатый барабан;
- Опора фланца;
- Фланец установленный на барабан;
- Силовой установки;
- Пластины решета;
- Дуги;
- Уголка 45х45;
- Зерносборочной воронки;
- Крепежных изделий.
Чертежи молоткового барабана зернодробилки.
Процесс дробления зерна осуществляется вращающимся молотковым барабаном который состоит из таких элементов:
- – Стопорный болт М10.

- – Пластина (2шт).
- – Молоток.
- – Шайба (10х22 мм).
- – Шплинт (3 мм).
- – Ось.
- – Вал.
Схема приспособления для балансировки молоткового барабана зернодробилки.
Ротор зернодробилки нужно обязательно отбалансировать, при вращении ротор должен равномерно останавливаться из любых положений и не раскачиваться при остановке. Сделать балансировку можно путём высверливания металла в пластинах ротора чтобы облегчить его в местах где вес металла больше.
Чтобы отбалансировать ротор можно сделать простое приспособление как показано на рисунке.
Схема балансировки ротора.
- Вал.
- Боковая пластина ротора.
- Ось со шплинтом для крепления молотков.
- Стопорный болт.
- Металлическая пластина.
- Деревянная стойка приспособления для балансировки.
- Деревянное основание приспособления балансировки.
Процесс балансировки дробилки
Большинство оборудования, в котором применяют в качестве рабочего инструмента вращающиеся узлы проходят процедуру балансировки.
Эту работу можно выполнить и самостоятельно и с помощью приглашенных специалистов.
При балансировке должны быть выполнены следующие наборы работ:
- выявление причин вибраций и их устранение;
- контроль над состоянием оборудования в части вибрации;
- балансировка валов в существующих подшипниковых опорах;
Для чего необходимо проведение балансировки? Ответ лежит на поверхности. Все дело в том, что наличие излишней вибрации приводит к выходу из строя подшипниковых узлов, и как следствие все может закончиться очень печально.
Чертежи рамы зернодробилки.
Зернодробилка монтируется на раму, на рисунке показаны чертежи рамы, для изготовления рамы использован металлический уголок 50 х 50 мм.
- Стойка (уголок 50х50 мм, 4 шт.).
- Царга (2 шт.).
- Обвязка.
- Площадка приводного вала.
- Поперечина.
- Площадка.
- Площадка под электродвигатель.
- Поперечина нижняя (2 шт.).
Рекомендую посмотреть видео где показано устройство зернодробилки молоткового типа и её работа.
Зернодробилка из болгарки
Угловая шлифовальная машинка вещь часто используемая в любом домашнем хозяйстве. Народные мастера придумали, как можно расширить ее возможности. Из нее, с небольшими доработками можно изготовить зернодробилку своими руками. Причем, особых затрат это мероприятие не требует.
Зернодробилка своими руками из болгарки
Основой такой конструкции может служить лист прочной фанеры, на ней будут закреплены составные части конструкции. Вместо фанеры, допустимо использовать ламинат. В листе изготавливают два отверстия, в которые будут установлены – корпус пилы и приемный бункер для зерна.
Для крепления шлифовальной машины используют скобы и болты. В качестве дробилки применяют металлический диск с обоюдной заточкой.
Это и будет дробильная установка для зерна.
На нижней части листа необходимо закрепить сетку, с соответствующим размером ячеи. Можно приобрести готовую сетку (сито), а можно использовать кухонный дуршлаг.
Бункером для зерна может стать пластиковая бутыль емкостью в пять литров. Все, самодельная дробилка готова к эксплуатации.
Как установить зернодробилку
Когда зернодробилка для домашнего хозяйства куплена, нужно внимательно изучить инструкцию, чтобы уточнить способ установки.
Есть навесные, настольные и мобильные аппараты. Последние ставят сразу на ведро или другую емкость, куда будет попадать измельченное зерно.
Важно соблюдать все правила применения агрегата, указанные в инструкции, в противном случае, аппарат не прослужит долго.
При нарушении правил эксплуатации ремонт по гарантии сделать будет нельзя.
Зернодробилка из стиральной машины
Крупорушку можно изготовить, используя старую стиральную машинку. Принцип ее работы будет похож на работу кофемолки. То есть, исходный продукт будет измельчен с помощью ножей, которые вращаются внутри барабана. Стиральные машины, по большей части имеют разные конструкции и поэтому важно понять сам принцип работы измельчителя на ее базе.
Зернодробилка своими руками из стиральной машины
Первый двигатель, необходимо установить на дно бака машины. Там же монтируют сетку и выполняют окно, через которое будет выходить готовая продукция.
Другой двигатель устанавливают у входного отверстия, возле основания.
Для предохранения узла от попадания пыли не эту конструкцию можно установить защитный кожух.
Валы двигателей должны вращаться разнонаправлено. Опыт показывает, что оптимальным решением будет их установка под углом в 25 градусов.
Размер бункера, через который будет осуществляться подача исходного сырья в дробилку. Опять же опыт показывает то, что измельчители, собранные на основании стиральной машины обладают высокой производительностью, и поэтому на бункер, имеет смысл установить щитовой затвор.
Перемолотое зерно должно поступать в емкость, которую надо установить под собранной установкой. Для повышения комфорта работы имеет смысл установить на выходной люк рукав, который не даст готовому продукту разлетаться в сторону.
Оборудование для плющения
Чаще всего для плющения зерен используют вальцы. Количество вальцев в каждом аппарате зависит от размеров исходного зерна:
- Для крупного лучше взять три вальца,
- Для среднего и мелкого достаточно двух.
Кроме вальцев, расположенных горизонтально, аппарат состоит из:
- Рамы,
- Металлического или деревянного корпуса,
- Бункера для приемки сырья,
- Привода и двигателя,
- Амортизатора,
- Выгрузного шнека.
Один из двух валиков крепится неподвижно, а второй обязательно должен вращаться. Это и обеспечивает процесс плющения. Для обеспечения необходимого давления к вращающемуся валу прикреплены пружинные амортизаторы. Они смягчают последствия попадания внутрь камешков и других посторонних предметов. Для получения лучшего результата плющилка зерна должна иметь две щели. Большая из них необходима для предварительного расплющивания, а меньшая имеет регулируемый размер. В ней происходит плющение до заданных параметров, а регулируется рабочая щель болтами или же диском.
Зернодробилка из пылесоса
Самодельная дробилка может быть собрана и из пылесоса.
Для выполнения этой задачи своими руками, сам пылесос особо не нужен. Довольно только двигателя. Последовательность изготовления измельчителя своими руками выглядит следующим образом.
Для формирования основания можно использовать ламинат или фанеру.
Зернодробилка своими руками из пылесоса
По его центру необходимо сформировать отверстие для установки двигателя.
Для производства рабочих ножей своими руками допустимо применить стальную пластину. Оптимальной можно считать ширину до 20 см, толщину в 1,5 – 2 мм.
Нож должен быть зафиксирован на валу двигателя.
В качестве рабочей камеры можно применить кухонное сито.
Corn-crusher with his own hands” src=”https://www.youtube.com/embed/KaxgpaTJtp8?feature=oembed” frameborder=”0″ allow=”accelerometer; autoplay; clipboard-write; encrypted-media; gyroscope; picture-in-picture” allowfullscreen=””>Под ситом необходимо установить бункер, куда будет направлена готовая продукция. Роль бункера может играть бутылка из пластика.
Изготовление основания измельчителя
1. Толстая фанера — используется в качестве основы для зернодробилки. Также, из фанеры, изготавливается бункер для загрузки зерна; 2. Метизные изделия — скобы, болты и саморезы, посредством которых, можно было бы прикрутить болгарку или электродвигатель к основе; 3. Сетка — будет использоваться в качестве сита; 4. Металлическая пластина или диск от овощерезки.
Итак, рассмотрим, как можно сделать зернодробилку своими руками, используя для этих целей старую стиральную машинку, болгарку или электродвигатель от пылесоса.
Стиральная машина – хорошая основа для дробилки зерна
Перечень материалов и инструмента будет зависеть от выбранной схемы. Чаще всего используется только двигатель от стиральной машины. Однако при желании можно задействовать и бак. Также понадобится:
- металлопрокат: пластины, отрезки труб;
- крепёж;
- герметик.
Схема устройства
По своему конструктивному исполнению и принципу действия зернодробилка аналогична кофемолке. В процессе изготовления основное внимание должно быть уделено ножам и бункеру для приёма готового продукта.
Чертёж зернодробилки, предполагающей использование бака
Работу начинаем с подготовки зернового бункера. Увеличиваем диаметр сливного отверстия до 12 – 15 см, чтобы обеспечить достаточную производительность устройства.
Из отрезков труб изготавливаем патрубки нужного размера и конфигурации для отвода измельчённого зерна.
Из прочной стали вырезаем три ножа. Это должны быть пластины длиной 20 см и толщиной 1,5 – 2 мм. Чтобы устройство прослужило подольше, для изготовления данных элементов можно использовать ручную пилу. По середине подготовленных пластин просверливаем крепёжное отверстие. Затачиваем параллельные стороны.
Изготавливаем фильтрационную решётку, которая не позволит цельному зерну покинуть ёмкость. Её диаметр должен быть чуть больше диаметра изготовленного патрубка. Отверстия в фильтрационной решётке должны обеспечивать беспрепятственное прохождение измельчённого зерна.
Внимание! Диаметр отверстий фильтрационной решётки должен составлять 3 – 4 мм.
Готовим ёмкость для измельчённого зерна, либо продумываем способ, с помощью которого можно будет закрепить мешок на выходном патрубке. Чтобы исключить образование излишней пыли в процессе работы устройства, приёмный бункер должен герметично прилегать к выходному патрубку.
Ведро – не лучший вариант для приёмного бункера
Сборка конструкции
Сборку осуществляем следующим образом:
- В расширенное отверстие бака монтируем отводящий патрубок, обеспечивая достаточную герметичность соединения.
- Устанавливаем ножи на вал двигателя. Для исключения перехлёста лопастей в процессе работы, после каждой пластины обязательно закручиваем зажимную гайку.
- Перед отводящим патрубком крепим фильтрационную решётку. Она должна располагаться под углом 15 – 200 к горизонтали. Учитывая, что дно бака стиральной машинки выполняется наклонным для обеспечения полного стока воды, между основанием и установленной пластиной должен получится прямой угол. Для крепления пластины используем болты.
- Промазываем место соединения герметиком, чтобы исключить наличие зазоров и щелей, через которые цельное зерно могло бы смешаться с измельчённым;
- Запускаем устройство. Проверяем его работоспособность.
При помощи токарного станка следует произвести обрезку барабана 3 (рис.
1), для обеспечения высоты 65 мм. Внутренняя сторона должна обладать выточкой d = 282 мм, высота которой 3 мм (придется сточить зубцы). Теперь следует отрезать третью часть в барабане, это нужно для отверстия под решето. Оно должно поддерживаться дугами 8, приваренными на фланец 5 и внешнюю сторону в барабане.
Рис. 1 Сборочный чертеж основания измельчителя (агрегат показан без бункера и тумбочки)
1 – фланца (диска сошника), 2 – ступицы диска оборудованной подшипником 180503, 3 – зубчатого барабана, 4 – фланца основы, 5 – фланца барабана, 6 – электродвигателя, 7 – боковой пластины решета, 8 – опорной дуги (из шпоночного материала 6 на 8 мм), 9 – уголка 4,5 на 4,5 см, 10 – воронки зерносборника, 11 – болта М8 и гайки (2 шт.), 12 – валы электродвигателя.
Фланец 1 следует сточить до размера 285 0,5 мм, вставить в специально подготовленное место в барабане и приварить.
В ступице 2 следует заранее просверлить воздухозаборные отверстия диаметром 8 мм.
Если этого не сделать, производительность дробилки значительно понизится. Там, где расположена отрезанная часть барабана, следует выполнить установку решета 7 (рис.2), которое крепиться двумя болтами 11 на М8 и боковой пластинок к поверхности диска в сошнике.
Поверх вала 7 следует насадить и приварить пластины 2 (рис. 3). Торец вала должен обладать сквозным отверстием, в котором нарезается резьба М10. Когда барабан и вал двигателя разъединяются, в данное отверстие вкручивается специальный болт-съемник. Каждая из осей 6 оборудована шестью молотками 3. Данные детали имеют большую износостойкость, по прицине закалки их краев.
Предлагаем ознакомиться Как сделать забор в саду своими руками
Рис. 3 Сборочный чертеж молоткового барабана
1 – болта стопорного М10, 2 – двух пластин, 3 – молотка, 4 – шайбы (1 на 2,2 см), 5 – шплинта, 6 – оси молотков, 7 – вала в барабане
Следует произвести рассверливание отверстий для заклепки до диаметра 1 см. Регулировка расстояния от одного молотка до другого на оси регулируется шайбами 4.
Если расположить молотки в плоскостях, которые параллельны между собой, дробление будет более интенсивным.
Если молотковый барабан будет вращаться в направлении часовой стрелки, то высыпание зерна будет происходить быстрее, а следовательно, дробление будет более крупным, а если включить реверс – то более мелким. Регулировка степени измельчения производится при помощи замены решетки.
Как сделать мельницу-дробилку своими руками
Изготовить зернодробилку своими руками не так и сложно. Для этого необходимо иметь под руками двигатель от старой бытовой техники, например, пылесоса или стиральной машины.
Мельница-дробилка своими руками
Кроме этого необходимо обладать некоторыми слесарными навыками. Кстати, при сборке подобной техники своими руками надо помнить о правилах техники безопасности. Так как, все двигатели работают от электричества необходимо принять все меры по снижению травматической опасности собранного изделия. Нельзя забывать и том, что в качестве рабочего органа используют быстровращающиеся детали, способные нанести травму, работающему на ней человеку.
Как использовать самодельную зернодробилку
Для использования устройства следует включить вилку в сеть, а затем запустить зернодробилку, дать ей немного поработать в холостом режиме, чтобы мотор прогрелся, затем насыпать в бак ведро зерна, накрыть крышкой, закрыть фиксатор и подставить пустую емкость под отвод для зерна. Если потребуется перерабатывать большие объемы зерна, в процессе можно досыпать сырье через воронку в крышке.
В процессе работы мотора запрещается открывать и прочищать зернодробилку, т.к. это прямое нарушение техники безопасности.
В ходе работы потребуется следить, чтобы вместе с зерном внутрь устройства не попали посторонние предметы, которые могут привести к порче ножей или поломке конструкции.
Не рекомендуется оставлять работающую зернодробилку без присмотра.
Периодически потребуется снимать ножи и затачивать, потому что они тупятся при дроблении зерна. О том, что это нужно сделать, пользователь узнает, когда качество помола зерна станет гораздо хуже.
Если потребуется более крупный или мелкий помол, необходимо просто заменить решетку на другую с большими или меньшими ячейками.
Самодельная крупорушка для зерна
Крупорушка своими руками
При помощи мельницы-крупорушки можно молоть зерно для муки любого помола. Она также пригодна для обдирки зерновых, подсолнечника, её используют для того чтобы рушить и измельчать соль, мел и различные отходы зерновых.
Основными рабочими частями крупорушки являются ротор и статор, при этом первый вращается во втором. Вот как может быть смонтирована самодельная крупорушка: на деревянной табуретке расположен однофазный электродвигатель 1 кВт на 220 В (перемотан из списанного трехфазного).
К электродвигателю при помощи уголков прикрепляется сама мельница – таким образом, чтобы подшипник, находящийся в ее центральном отверстии, взаимодействовал с валом двигателя: на валу вращается ротор, развивающий скорость до 3000 об/мин.
Корпус крупорушки похож на круглую конфетную коробку диаметром 348 мм и толщиной 56 мм. Дно коробки -50 мм – это статор, а крышка, имеющая высоту 15 мм прикрывает «внутренности». На верху корпуса на винтиках М4 закреплен чугунок, у которого вырезано дно. Вместо него приспособлена специальная заслонка-пластина. Снизу находится брезентовый рукав-пыльник (на винтах). Над пыльником и под заслонкой сделаны окошки «входа и выхода» размерами 15 на 30 мм. Через верхнее окошко, когда заслонка приоткрывается, из чугунка подаётся «сырье», через нижнее окошко ссыпается уже готовая «продукция». Лучше использовать рукав: не факт, что помол не станет разлетаться в стороны, а прямо сразу устремится в подставленный мешок.
Статор сделан из металлической полосы, толщина которой составляет 2 и ширина 54 мм.
Она изогнута по окружности. Затем полосу поместили в форму и залили алюминием с одного торца — получилась чашка с дном толщиной 4 мм. Затем к борту чашки были изнутри приварены уголки уголки 20 x 20 x 50 мм, свободными оставлены места для окошек — поверхность теперь стала ребристой. По центру статора просверлено отверстие для вала.
1 — чаша для зерна, 2 — заслонка, 3 — входное отверстие, 4 — статор, 5 — ротор, 6 — втулка, 7 – электродвигатель и валя, 8 — 9 — подшипник, 10 — уголки статора, 11 — рукав, 12 — заслонка, 13 — крышка.
Заготовку для ротора — круг диаметром 322 мм — вырезал из металлического листа толщиной 3 мм. Затем провел на нем окружность диаметром 300 мм и разбил ее на 32 одинаковые части. В точках разметки просверлил отверстия диаметром 3 мм. До них снаружи по радиусу сделал пропилы ножовкой и отогнул лепестки, как показано на чертеже. По центру ротора вварил втулку длиной 45 мм и диаметром 28×5 мм.
При сборке конструкции вначале поставил на вал статор, затем на шпонке ротор и окончательно закрепил все шпилькой через втулку и вал.
Крышку зафиксировал сверху четырьмя винтами Мб по окружности корпуса.
При работе мельницы требуется соблюдать такой порядок: заполните, скажем, зерном чугунок и запустите двигатель. Когда он наберет обороты, откройте верхнюю заслонку— засыпьте часть зерна. Дополняйте его количество по мере того, как будете удалять муку, действуя нижней заслонкой. Старайтесь не слишком пересыпать: к этому можно быстро приноровиться. Однако быть внимательным приходится все время — ведь производительность мельницы почти 5 кг/мин.
Как показала практика, качество помола зависит от числа оборотов двигателя и, конечно, от величины зазора между ротором и статором. В моей конструкции для обдирки или рушения зерна — зазор 5 мм. Для муки необходимо уменьшить его до 2 мм: надо иметь еще сменный ротор с большим диаметром. Но есть другой выход — изменить схему подключения к двигателю: снять мельницу с вала двигателя и, поставив отдельно, наладить ременную передачу со сменными шкивами, увеличивая (для муки) число оборотов.
Если вы являетесь владельцем животноводческой фермы, то отлично знаете, насколько полезна дробилка для зерна. С помощью этого оборудования можно довольно быстро пополнить запасы питания для птицы и кроликов, приготовить комбинированный состав, предназначенный для скота. Найти недорогую зернодробилку на рынке соответствующих товаров достаточно сложно. По этой причине крупорушка своими руками может быть изготовлена.
Изготовление зернодробилки из старого пылесоса
Крупорушка своими руками может быть выполнена из старого пылесоса, поэтому не стоит избавляться от старой бытовой техники. У него можно позаимствовать мотор. Помимо прочего, будет необходимо использовать лист фанеры, толщина которого равна 10 миллиметрам. Понадобится металлическая пластина, которая станет выполнять задачу ножа. Рабочая камера будет выполняться из стальной полосы. Будет необходимо запастись деревянными штифтами, а также гайками и шайбами. Понадобится втулка, а также бункер и заслонка, которые необходимы для подачи зерна.
Особенности проведения работ
Крупорушка своими руками должна быть изготовлена по технологии, которая предполагает подготовку основания. Для этой цели следует использовать фанерный лист, из которого выкраивается, а после вырезается квадрат, сторона которого должна быть равна 300 миллиметрам. Поверх него следует зафиксировать рабочий электрический мотор, позаимствованный от пылесоса. При этом нужно расположить его нижнюю часть таким образом, чтобы он выступал на 40 миллиметров.
Изготовление ножа для оборудования
Крупорушка своими руками должна быть изготовлена с использованием ножа, который должен будет вращаться с большой скоростью, за счет чего будет происходить помол зерна, этот элемент необходимо выполнять отдельно. Для этого нужно будет использовать стальную пластину, которая должна иметь размеры 15×200 миллиметров, тогда как толщина должна быть равна 1,5 м. Материалы предпочтительнее выбирать наиболее крепкие. Помимо этого, можно применить автомобильные держатели или другие детали, которые можно позаимствовать от бытовой техники.
Заточить нож следует в виде лезвия, для этого обе кромки должны быть обработаны по направлению к оси вращения. Когда изготавливается крупорушка для дома своими руками, можно поэкспериментировать с формой, придавая лезвию вид пропеллера или скашивая углы. С помощью наждака можно будет откорректировать пластину по горизонтали и вертикали. После в центральной части рабочей поверхности ножа нужно проделать отверстия по диаметру, подходящие под вал мотора пылесоса. Крепление ножа нужно производить на резьбовой хвостик, используя для этого втулку, две шайбы и гайку.
Изготовление рабочей камеры и бункера
Когда изготавливается крупорушка для дома своими руками, нужно будет выполнить камеру, для чего необходимо применить стальную полоску, ее длина должна быть равна 700 мм, при этом около 10 мм понадобится для крепления, тогда как ширина должна оказаться больше 60 мм. Стальную заготовку нужно свернуть в кольцо, а ребро отогнуть в наружную сторону по периметру камеры. Полученные фланцы по ширине должны быть не более 10 миллиметров, что понадобится для фиксации с основанием и для монтажа сита.
Когда выполняется крупорушка своими руками, чертежи которой можно подготовить самостоятельно, дробилку нужно крепко зафиксировать, для этого с нижней стороны камеры нужно будет установить шрифты, которые понадобятся в количестве трех штук. Удалить их друг от друга нужно на равное расстояние.
Изготовление сита
Перед тем как сделать крупорушку своими руками, нужно подумать над тем, каким будет сито. Оно может иметь любой диаметр отверстий. Параметры этого элемента будут зависеть только от того, какой результат вы желаете получить. Так, для изготовления муки понадобится мелкая сетка, для получения крупного помола ячейки должны быть больше. Зерно будет поступать в рабочую камеру из бункера, который фиксируется на основании. Его необходимо оборудовать незначительным отверстием, а также заслонкой, выполненной в виде пластинки. С помощью последней можно будет корректировать подачу сырья. Крупорушка для кукурузы своими руками должна быть оборудована емкостью, которую следует установить под ситом.
Она будет предназначаться для сбора готовой продукции, можно использовать для этого ведро или кастрюлю.
Изготовление дробилки по типу мельницы
Крупорушка (своими руками), фото которой представлены в статье, может иметь вид мельницы. Для этого будет необходимо подготовить статор, а также ротор, которые будут работать по принципу жерновов. В качестве подставки для такого оборудования выступит ящик, на котором предстоит монтировать электрический мотор незначительной мощности. Обязательно следует применить однофазный агрегат, можно использовать тот, что переделан из трехфазного.
Особенности изготовления самодельной мельницы
Корпус оборудования представляет собой коробку, выполненную из металла, толщина последнего должна быть равной 5 миллиметрам. Из материала нужно будет сформировать корпус в виде цилиндра, диаметр которого равен 300 миллиметрам. Нижнюю часть нужно будет оборудовать статором, тогда как сверху оборудования должна быть расположена крышка. Внутри корпуса следует расположить мотор и мельницу, который фиксируется таким образом, чтобы подшипник надвигался на вал устройства, на нём, в свою очередь, монтируется ротор.
Вращаясь, он станет развивать скорость до 3000 оборотов за одну минуту. Бункер нужно будет укрепить поверх корпуса, используя для этого винты, через него и будет происходить подача зерна.
Для того чтобы более удобно было использовать оборудование, нужно установить заслонку, которая будет регулировать расход сырья. Понадобится и рукав, который станет выполнять роль пыльника, его нужно изготовить из брезентового материала. Через этот элемент станет выходить продукция. Не стоит забывать о том, что должны быть проделаны отверстия для подачи и последующего извлечения готового зерна.
Статор нужно изготовить с применением листа металла, толщина которого равна 2 миллиметрам, тогда как ширина эквивалентна 50 миллиметрам. Металлическую полоску нужно согнуть по окружности и поместить в форму для заливки, закрыв с одного торца алюминием, чтобы получилась чаша. Ее толщина должна быть равна 4 миллиметрам. На следующем этапе детали придается ребристость. Для этого предстоит нарезать несколько уголков, а после приварить со внутреннего борта статора.
Зерно — один из основных видов корма для крс. Оно одинаково полезно и молочным животным, и тем, которые находятся на откорме. Но не все виды зерна можно давать в не измельченном виде. Ячмень, пшеницу и рожь перед скармливанием лучше раздробить. Для дробления используют специальный измельчитель зерна, который можно не только купить, но и изготовить самостоятельно.
Виды зернодробилок
Зернодробилки одинаково используются как на больших фермах, так и на частных подворьях, и различаются размером помола зерна. Для мелкого, среднего и крупного помола используют приспособления для сухого дробления, а если нужен очень мелкий помол, то необходим измельчитель зерна, применяющий влажный способ.
Зернодробилки имеют ряд достоинств:
- Компактность позволяет перемещать аппарат,
- Аппарат работает от обычной электрической сети,
- Большой выбор моделей,
- Возможность легко изготовить в домашних условиях,
- Необходимые запчасти для зернодробилок можно найти в каждом доме.

Валковый измельчитель зерна измельчает продукт между двумя валками, которые вращаются в противоположных направлениях. Роторные отличаются тем, что ножи прикреплены к основному вращательному валу. В молотковых дробилках основной рабочий узел включает в себя барабан, решето и деки. Дробление происходит под воздействием ударов в молоткообразном барабане. В щековых дробилках сырье для переработки поступает сверху, и раздавливается между двумя плитами-щеками. А в конусном устройстве дробление осуществляется в постоянно вращающейся конусной головке.
Одна из самых популярных моделей, которую используют во многих крупоцехах, а также на фермах и частных подворьях — зернодробилка Шмель.
Она отличается простотой в работе и доступностью. В стандартную комплектацию включены такие запчасти для зернодробилок, как лингумы, аппараты для втягивания зерна, сито с ячейкой в четыре миллиметра и сито, с ячейкой шесть миллиметров, а также силовой кабель.
Шмель может производить в час до двух тонн дробленого зерна, а барабанная часть рассчитана на производство более 200 тонн зерна между техобслуживаниями.
Самодельные зернодробилки
Не уступает своим магазинным аналогам и самодельная зернодробилка. Чтобы собрать в домашних условиях зернодробилку своими руками, необходимо запастись рабочими инструментами, а также найти нужные запчасти для зернодробилок. А именно:
- Режущие плоскости или ножи: можно выточить из стали, а можно использовать готовые диски от блендера,
- Двигатель для зернодробилки. Мощность должна быть не ниже 1,4 кВт и не выше 2 кВт,
- Сито для зернодробилки: размер ячейки зависит от потребностей помола.
Перед тем как сделать зернодробилку своими руками, нужно усвоить и некоторые важные моменты:
- Рабочие ножи не должны намертво крепиться к устройству — их необходимо регулярно снимать и подтачивать,
- Для заготовки ножа лучше использовать очень прочную сталь,
- Предусмотреть возможность снятия сита для его чистки,
- Не использовать двигатель для зернодробилки большей мощности — расход электроэнергии будет больше.

Высокая производительность аппарата зависит от правильности сборки, а также от правильности использования.
Простейшая модель может быть собрана из обычной бытовой мясорубки. Сделать дробилку для зерна своими руками из мясорубки просто: для начала к ней присоединяют электродвигатель, а горлышко расширяют. Для удобства к горлышку можно приклеить часть пластмассовой бутылки. Получается аналог электромясорубки. Производительность такой зернодробилки — ведро зерна за двадцать минут.
В домашних условиях сделать зернодробилку можно из различных деталей от сельхозмашин: из тормозного барабана трактора, диска сошника и емкости от сеялки, а также металлических пластин режущего приспособления зерноуборочной машины. Чтобы собрать зернодробилку, нужно использовать удобную схему или чертеж крепления всех комплектующих частей. Их можно найти в интернете на специализированных форумах.
Простую модель дробилки можно смастерить и из двигателя пылесоса.
Для установки вала в его основании делают отверстие. Используемый нож должен быть шириной около двадцати сантиметров, а толщиной — полтора. Ножик крепят непосредственно на вал. Можно использовать вместо рабочей камеры обычное металлическое сито, под которое ставят коробку или ящик для зерна.
Дробилка зерна из болгарки
Во многих домашних хозяйствах есть ненужные уже ручные пилы с вращающимися дисками. Зернодробилка из болгарки может стать хорошим вариантом приспособления пилы. Помимо самой пилы, необходимы следующие запчасти для зернодробилок:
- Отрез трубы, диаметром не менее 15 см,
- Решетка с мелким сечением или сетка,
- Режущие диски (можно использовать из мясорубки),
- Коробка для зерна,
- Лист фанеры или ламината.
Дробилка зерна своими руками из болгарки делается так: корпус бензопилы крепится на фанерном листе, в котором предварительно вырезаются небольшие отверстия для крепления. Дополнительная прорезь делается на листе и под коробку или банке, в которую будет ссыпаться измельченное зерно.
Крепят бензопилу металлическими скобами и болтами. Самодельная дробилка должна быть оснащена острым металлическим ножом, заточенным с обеих сторон. Снизу листа фанеры крепят сетку или решето, можно также использовать самоделки из кастрюли. В данной модели двигатель для зернодробилки — это двигатель электропилы. Крупорушка своими руками готова!
Дробилка из стиральной машины
Очень популярна среди фермеров и зернодробилка своими руками, сделанная из стиральной машины.
Корпус стиральной машины — это уже готовая мощная корморезка. Работает данный вид зернодробилки по принципу, схожим с кофемолкой: зерна измельчаются в барабане за счет вращения в разные стороны острых ножей. Изготовить данную модель можно, имея следующие запчасти для зернодробилок:
- Режущие диски или ножи,
- Решетка,
- Дополнительный двигатель,
- Металлический уголок или узкие пластины,
- Молоток,
- Небольшой отрез металлической трубы.
Перед тем как сделать дробилку из стиральной машины, нужно хорошо заточить ножи или используемые режущие диски.
Ножи насаживаются на вал, а вал после этого крепится к активаторному шкиву шайбой.
Отверстие для слива увеличивают в размере при помощи молотка, до диаметра, равного 12, 5 см. В полученное отверстие вставляют отрез трубы. По нему дробленое зерно будет ссыпаться в ящик или коробку. В баке машины устанавливают решетку с мелкими ячейками под углом в 13- 17 градусов.
Обязательное условие: размер решетки должен полностью совпадать с размерами внутреннего бака.
Более качественный помол поможет получить дополнительный двигатель для зернодробилки. Устанавливают его под крышкой, а для крепления используют уголок или пластины из металла. На вал двигателя ставят еще один нож, диаметр которого меньше, чем размер бака. Дополнительный двигатель для зернодробилки желательно закрыть кожухом. Это предотвратит попадания внутрь пыли и частичек корма.
Создание в изоляции от коронавируса | Cape Gazette
Струйные линии коричневых и ярких бордовых пятен, психоделически украшенных яркими цветами, изображающими лица, фигуры и формы, могут кому-то показаться каракулями или пятнами, но для художницы Ким Клэйб это точный и продуманный процесс.
Наблюдатели за проектами Клэйб неизбежно спросят, «пила ли она, создавая», или это был случайный пролив, который, по ее мнению, выглядел художественно. И тем, и другим она отвечает решительным «Нет!»
«Я смотрю на это как на работу — очень, очень приятную работу. Если бы я был пьян, моя работа была бы неряшливой. Мне нравится быть сосредоточенным, чтобы мое творчество не притуплялось», — сказал Клэйб. «Разливы вина и пива выглядят безумно, и все это рождается в моем воображении естественным образом». По ее словам, несмотря на то, что картины имеют психоделический вид, на них также не действуют наркотики.
«Я начал работать с вином и пивом в августе 2017 года, — сказал Клабе. После работы маслом и акварелью более 30 лет живопись стала удушающей, и наступила скука. Она не собиралась делать что-либо с этими первоначальными заливками, кроме как для развлечения и выпускания пара.
Первые три потока назывались «Без сговора», «Досье» и «Состояние Союза», которые она заполнила во время просмотра обращения о положении дел в 2017 году.
«Я разместила их на Facebook просто для развлечения, и они сразу же продали», — сказала она. Простые и творческие заливки были приятны не только Клабе, но и другим людям, которые были связаны с ними. «Это закрыло сделку для меня», — сказала она. «Я убрал свои масла и заменил мольберт на чертежный стол».
Клабе всегда был художником; когда она была студенткой колледжа в Университете Делавэра, ее желание посещать художественную школу было кристально чистым. Она перевелась в Институт искусства и фотографии Антонелли в Йорке, штат Пенсильвания, и получила степень. Получив степень по искусству и дополнительную степень по английскому языку в UD в 2005 году, она с тех пор профессионально работает художником. Совсем недавно она была директором по образованию Художественной лиги Рехобот.
Начав с плотной акварельной бумаги, Клэйб выбирает темное пиво, такое как Guinness или Milk Stout, или красное вино. Оттенки винных наливов будут меняться в зависимости от сорта винограда.
«Каберне отличается, например, от пино нуар. Некоторые вина сухие сероватые, некоторые темно-фиолетовые, некоторые более красные; все они уникальны», — сказал Клабе.
После заливки Клэйб дает жидкости высохнуть, а затем смотрит на пятно, чтобы увидеть, какие формы появляются. «Иногда у меня нет направления для окончательного результата, и я открываю его по ходу дела. Все, что вы можете сделать, когда наливаете, — это надеяться», — сказал Клэйб.
Затем маркерами и цветным карандашом определяют форму заливки. Klabe оставляет некоторые участки морилки нетронутыми, а другие участки покрывают полностью или частично, но целостность заливки сохраняется.
Вино и пиво уникальны. Клэйб хочет настоящее вино или пиво на бумаге. «Бумага, которую я использую, очень текстурированная, и эффект, создаваемый маркером и карандашом, будет сложно передать при перепечатке», — сказала она. Все оригиналы покрыты архивным аэрозольным лаком, который предохраняет работу от выцветания и смазывания.
Клэйб говорит, что трудно выбрать фаворита. «Я немного влюбляюсь в большинство из них. Один из фаворитов — «Расскажи мне о себе», часть серии под названием Barflies. Это парень, которого вы встречаете в баре, с которым вы завязываете непринужденную беседу. Вы просите: «Расскажите мне о себе», и получаете гораздо больше, чем рассчитывали. Час спустя он все еще говорит, а вы узнали больше, чем вам нужно было знать! она сказала.
На ее сайте хранится более 100 работ; почти 50 доступны для покупки, и она делает до семи каждую неделю. Карантин не сказался на творчестве Клабе. Она работает полный рабочий день, но по вечерам и в выходные находит время для разлива пива и вина. Однако то, что выглядело как лето, полное шоу, быстро превращается в тихое лето.
«Художникам и организациям, которые собирают деньги на художественных выставках и фестивалях, будет очень тяжело, что очень печально. В скудные времена люди экономят деньги, и это понятно, а искусство отходит на второй план», — сказала она.
Из-за приостановки многие шоу отменены или перенесены в онлайн, а типичный способ, которым Klabe может взаимодействовать с артистами и энтузиастами, исчез. Чтобы удовлетворить свое желание рассказать о своем искусстве, она начала снимать видеоролики, в которых рассказывает о конкретных заливках, ошибках и рисках, и даже показывает, как заливка обретает форму в промежутке времени.
Клэйб использует карантин из-за COVID-19, чтобы подпитывать свой творческий процесс. В ее нынешних работах «Ковид и Кадуцей, » врач вытеснен вирусом; Исцеление «усталой Матери-Земли» за счет меньшей активности человека; «Социальное дистанцирование» и «Прикрой рот» художник запечатлевает историю с помощью вина, пива, карандашей и ручек.
Klabe стремится изменить арт-сцену. «Слава Богу за искусство, когда вы застряли дома, потому что вам всегда есть чем заняться, когда у вас есть идеи и материалы», — сказала она.
«Есть и другая сторона. Мы все доберемся туда вместе и оценим вещи даже больше, чем раньше», — сказала она.
Видео и рисунки Клабе можно найти на сайте KimKlabe.com или на YouTube в разделе Kim Klabe Wine and Beer Pours. Следите за новостями Kim Klabe Wine and Beer Pours на Facebook. Покупки на веб-сайте можно отправить или забрать, а цены доступны для всех.
Обзор пчелоопыления и его экономической ценности для растениеводства
1. Гилл Р.Дж., Болдок К.С., Браун М.Дж., Крессуэлл Дж.Е., Дикс Л.В., Фонтейн М.Т., Гарратт М.П., Гоф Л.А., Херд М.С., Холланд Дж.М.О.Дж. Защита экосистемной услуги: подходы к пониманию и смягчению угроз для диких насекомых-опылителей. Доп. Экол. Рез. 2016;54:135–206. doi: 10.1016/bs.aecr.2015.10.007. [CrossRef] [Google Scholar]
2. Бриз Т.Д., Бейли А.П., Балкомб К.Г., Поттс С.Г. Услуги по опылению в Великобритании: насколько важны медоносные пчелы? Агр. Экосистем. Окружающая среда. 2011; 142:137–143. doi: 10.1016/j.agee.2011.03.020. [Перекрестная ссылка] [Академия Google]
3. Христов П., Неов Б., Шумкова Р., Палова Н. Значение апоид как основных опылителей.
Экологическое и экономическое воздействие и последствия для питания человека. Разнообразие. 2020;12:280. doi: 10.3390/d12070280. [CrossRef] [Google Scholar]
4. Сукумаран А., Хандури В.П., Шарма С.М. Опосредованное опылителем самоопыление и обеспечение репродуктивности изолированного дерева Magnolia grandiflora L. Ecol. Процесс. 2020; 9: 45–53. doi: 10.1186/s13717-020-00254-5. [Перекрестная ссылка] [Академия Google]
5. Гарсия-Брейхо Ф., Арминьяна Дж. Р., Гармендиа А., Себриан Н., Бельтран Р., Мерле Х. Рост пыльцевых трубок in vivo и признаки самоопыления и предцветового цветения у сорта. Макабео ( Vitis vinifera L.) Сельское хозяйство. 2020;10:647. doi: 10.3390/сельское хозяйство10120647. [CrossRef] [Google Scholar]
6. MacInnis G., Forrest J.R.K. Дизайн поля может повлиять на перекрестное опыление и урожайность клубники ( Fragaria x ananassa D.) Agric. Экосистем. Окружающая среда. 2020;289: 106738–106745. doi: 10.1016/j.agee.2019.
106738. [CrossRef] [Google Scholar]
7. Лобо Дж.А., Кесада М., Стоунер К.Е. Влияние опыления летучими мышами на систему спаривания популяций Ceiba pentandra (Bombacaceae) в двух тропических зонах жизни в Коста-Рике. Являюсь. Дж. Бот. 2005; 92: 370–376. doi: 10.3732/ajb.92.2.370. [PubMed] [CrossRef] [Google Scholar]
8. Zeng X., Fischer G.A. Опыление ветром в течение 70 лет снижает негативные генетические последствия сильной фрагментации леса у тропического дуба Quercus bambusifolia. Наследственность (Эдинб). 2020; 124: 156–169. doi: 10.1038/s41437-019-0258-3. [Бесплатная статья PMC] [PubMed] [CrossRef] [Google Scholar]
9. Ван дер Коой С.Дж., Оллертон Дж. Происхождение цветковых растений и опылителей. Наука (80-.) 2020;368:1306–1308. doi: 10.1126/science.aay3662. [PubMed] [CrossRef] [Google Scholar]
10. Gallai N., Salles J.M., Settele J., Vaissière B.E. Экономическая оценка уязвимости мирового сельского хозяйства перед лицом сокращения количества опылителей.
Экол. Экон. 2009; 68: 810–821. doi: 10.1016/j.ecolecon.2008.06.014. [Перекрестная ссылка] [Академия Google]
11. Мина Н.К., Лал Г., Мина Р.С., Мина Б.М., Мина Р.Д. Разнообразие и численность опылителей на тмине ( Cuminum cyminum L.) и их влияние на повышение урожайности в полузасушливых регионах. Дж. Энтомол. Зоол. Стад. 2018;6:1017–1021. [Google Scholar]
12. Абд Эль-Вахаб Т.Э., Эбада И.М.А., Махмуд Я.А. Насекомые-опылители растений аниса ( Pimpinella anisum L.) и важная роль медоносных пчел ( Apis mellifera L.) в их урожайности. Арка фитопат. Завод Прот. 2012; 45: 677–685. дои: 10.1080/03235408.2011.5. [CrossRef] [Google Scholar]
13. Chambó E.D., Garcia R.C., de Oliveira N.T.E., Duarte-Júnior J.B. Посещение подсолнечника медоносными пчелами: влияние на опыление и генотип растений. науч. Агр. 2011; 68: 647–651. doi: 10.1590/S0103-011000600007. [CrossRef] [Google Scholar]
14. Патил П.Н., Пастагия Дж.Дж. Влияние пчелиного опыления на урожай кориандра.
Кориандр посевной Линнея. Междунар. Дж. Завод Прот. 2016;9:79–83. [Google Scholar]
15. Кляйн А.М., Васььер Б.Е., Кейн Дж.Х., Стеффан-Девентер И., Каннингем С.А., Кремен К., Чарнтке Т. Значение опылителей в изменении ландшафта для мировых культур. проц. Р. Соц. Б биол. науч. 2007; 274:303–313. дои: 10.1098/рспб.2006.3721. [Бесплатная статья PMC] [PubMed] [CrossRef] [Google Scholar]
16. Calderone N.W. Культуры, опыляемые насекомыми, насекомые-опылители и сельское хозяйство США: анализ тенденций совокупных данных за период 1992–2009 гг. ПЛОС ОДИН. 2012;7:e37235. doi: 10.1371/journal.pone.0037235. [Бесплатная статья PMC] [PubMed] [CrossRef] [Google Scholar]
17. Рейдер Р., Бартомеус И., Гарибальди Л.А., Гарратт М.П.Д., Хоулетт Б.Г., Уинфри Р., Каннингем С.А., Мэйфилд М.М., Артур А.Д., Андерссон Г.К.С. и др. Насекомые, не являющиеся пчелами, вносят важный вклад в глобальное опыление сельскохозяйственных культур. проц. Натл. акад. науч. США. 2016; 113:146–151. doi: 10.
1073/pnas.15170
18. Stanley D.A., Msweli S.M., Johnson S.D. Местные медоносные пчелы как посетители цветов и опылители в сообществах диких растений в очаге биоразнообразия. Экосфера. 2020;11:e02957. doi: 10.1002/ecs2.2957. [CrossRef] [Google Scholar]
19. Рао С., Стивен В.П. Шмели-опылители в производстве семян красного клевера. Растениеводство. 2009;49:2207–2214. doi: 10.2135/cropsci2009.01.0003. [CrossRef] [Google Scholar]
20. Бенш С., Чарнтке Т., Габриэль Д., Вестфаль К. Услуги по опылению сельскохозяйственных культур: использование дополнительных ресурсов социальными пчелами по сравнению с одиночными пчелами, сталкивающимися с культурами с контрастным набором цветов. Дж. Заявл. Экол. 2021; 58: 476–485. doi: 10.1111/1365-2664.13777. [Перекрестная ссылка] [Академия Google]
21. Гринлиф С.С., Кремень С. Дикие пчелы усиливают опыление гибридного подсолнечника медоносными пчелами. проц. Натл.
акад. науч. США. 2006; 103:13890–13895. doi: 10.1073/pnas.0600
22. Giannini T.C., Cordeiro G.D., Freitas B.M., Saraiva A.M., Imperatriz-Fonseca V.L. Зависимость урожая от опылителей и экономическая ценность опыления в Бразилии. Дж. Экон. Энтомол. 2015; 108: 849–857. doi: 10.1093/jee/tov093. [PubMed] [CrossRef] [Академия Google]
23. Potts S.G., Imperatriz-Fonseca V., Ngo H.T., Aizen M.A., Biesmeijer J.C., Breeze T.D., Dicks L.V., Garibaldi L.A., Hill R., Settele J., et al. Охрана опылителей и их ценности для благополучия человека. Природа. 2016; 540: 220–229. doi: 10.1038/nature20588. [PubMed] [CrossRef] [Google Scholar]
24. Lautenbach S., Seppelt R., Liebscher J., Dormann C.F. Пространственные и временные тенденции выгод глобального опыления. ПЛОС Один. 2012;7:e35954. doi: 10.1371/journal.pone.0035954. [Бесплатная статья PMC] [PubMed] [CrossRef] [Google Scholar]
25. Айзен М.А., Гарибальди Л.
А., Каннингем С.А., Кляйн А.М. Насколько сельское хозяйство зависит от опылителей? Уроки долгосрочных тенденций в растениеводстве. Анна. Бот. 2009; 103: 1579–1588. doi: 10.1093/aob/mcp076. [Бесплатная статья PMC] [PubMed] [CrossRef] [Google Scholar]
26. Монтойя Д., Габа С., де Мазанкур К., Бретаньоль В., Лоро М. Согласование сохранения биоразнообразия, производства продуктов питания и спроса фермеров на агроландшафты. Экол. Модель. 2020;416:108889–108909. doi: 10.1016/j.ecolmodel.2019.108889. [Бесплатная статья PMC] [PubMed] [CrossRef] [Google Scholar]
27. Geeraert L., Aerts R., Berecha G., Daba G., De Fruyt N., D’hollander J., Helsen K., Стинен Х., Хоннай О. Влияние состава ландшафта на пчелиные сообщества и опыление кофе в продуктивных лесах сорта Coffea arabica на юго-западе Эфиопии. Агр. Экосистем. Окружающая среда. 2020;288:106706–106717. doi: 10.1016/j.agee.2019.106706. [CrossRef] [Google Scholar]
28. Луо Д., Силва Д.П., Де Марко Джуниор П., Пимента М.
, Калдас М.М. Модельные подходы к оценке пространственного распределения видового богатства пчел и производства сои в бразильском Серрадо в период с 2000 по 2015 год. Sci. Общая окружающая среда. 2020;737:139674. doi: 10.1016/j.scitotenv.2020.139674. [PubMed] [CrossRef] [Google Scholar]
29. Саес А., Айзен М.А., Медичи С., Виель М., Вильялобос Э., Негри П. Пчелы увеличивают урожайность предполагаемого независимого от опылителей сорта миндаля. науч. Отчет 2020; 10: 3177–3183. doi: 10.1038/s41598-020-59995-0. [Бесплатная статья PMC] [PubMed] [CrossRef] [Google Scholar]
30. Лоузи Дж. Э., Воан М. Экономическая ценность экологических услуг, предоставляемых насекомыми. Биология. 2006; 56: 311–323. doi: 10.1641/0006-3568(2006)56[311:TEVOES]2.0.CO;2. [Перекрестная ссылка] [Академия Google]
31. Эскивель И. Л., Коулсон Р. Н., Брюэр М. Дж. Местная пчела, melissodes tepaneca (Hymenoptera: Apidae), способствует производству хлопка. Насекомые. 2020;11:487. doi: 10.3390/insects11080487.
[Бесплатная статья PMC] [PubMed] [CrossRef] [Google Scholar]
32. Stein K., Coulibaly D., Stenchly K., Goetze D., Porembski S., Lindner A., Konate S., Linsenmair E.K. Пчелиное опыление увеличивает урожайность и качество товарных культур в Буркина-Фасо, Западная Африка. науч. Отчет 2017; 7: 17691–17700. дои: 10.1038/s41598-017-17970-2. [Статья бесплатно PMC] [PubMed] [CrossRef] [Google Scholar]
33. Касина Дж. М., Мбуру Дж., Кремер М., Холм-Мюллер К. Экономическая выгода от опыления сельскохозяйственных культур пчелами: случай мелкого землевладения какамега земледелие в Западной Кении. Дж. Экон. Энтомол. 2009; 102: 467–473. дои: 10.1603/029.102.0201. [PubMed] [CrossRef] [Google Scholar]
34. Иполито Х., Соуза Б.д.С.Б., Борхес Р.К., де Брито Р.М., Яффе Р., Диас С., Императриц Фонсека В.Л., Джаннини Т.К. Оценка вклада природы в жизнь людей: услуги по опылению, предоставляемые двумя охраняемыми территориями в Бразилии. Глоб. Экол. Консерв. 2019;20:e00782. doi: 10.
1016/j.gecco.2019.e00782. [CrossRef] [Google Scholar]
35. Orges R.C.B., Rito R.M.B., Onseca V.L.I.M., Iannini T.C.G. Стоимость растениеводства и услуг по опылению в Восточной Амазонке. Неотроп. Энтомол. 2020; 49: 545–556. doi: 10.1007/s13744-020-00791-w. [Бесплатная статья PMC] [PubMed] [CrossRef] [Google Scholar]
36. Reilly J.R., Artz D.R., Biddinger D., Bobiwash K., Boyle N.K., Brittain C., Brokaw J., Campbell J.W., Daniels J. , Элле Э. и др. Растениеводство в США часто ограничивается отсутствием опылителей. проц. Р. Соц. Б биол. науч. 2020;287:20200922–20200930. doi: 10.1098/rspb.2020.0922. [Бесплатная статья PMC] [PubMed] [CrossRef] [Google Scholar]
37. Холл М.А., Джонс Дж., Роккетти М., Райт Д., Рейдер Р. Посещаемость пчел и качество плодов ягод при выращивании в защищенном грунте варьируются в зависимости от длина политоннелей. Дж. Экон. Энтомол. 2020;113:1337–1346. doi: 10.1093/jee/toaa037. [PubMed] [CrossRef] [Google Scholar]
38. Valido A., Rodríguez-Rodríguez M.
C., Jordano P. Медоносные пчелы нарушают структуру и функциональность сетей растений-опылителей. науч. Респ. 2019 г.;9:4711–4721. doi: 10.1038/s41598-019-41271-5. [Бесплатная статья PMC] [PubMed] [CrossRef] [Google Scholar]
39. Гарантонакис Н., Варику К., Бирураки А., Эдвардс М., Каллиакаки В., Андринопулос Ф. Сравнение услуг по опылению медоносных пчел и дикие пчелы на арбузном поле. науч. Хортик. (Амстердам) 2016; 204: 138–144. doi: 10.1016/j.scienta.2016.04.006. [CrossRef] [Google Scholar]
40. Хунг К.-Л.Дж., Кингстон Дж.М., Альбрехт М., Холуэй Д.А., Кон Дж.Р. Всемирное значение медоносных пчел как опылителей в естественной среде обитания. проц. Р. Соц. Б биол. науч. 2018;285:20172140–20172147. дои: 10.1098/рспб.2017.2140. [Бесплатная статья PMC] [PubMed] [CrossRef] [Google Scholar]
41. Штрейнцер М., Брокманн А., Нагараджа Н., Спаете Дж. Половые и кастовые различия в норфологии сложных глаз пяти видов медоносных пчел. ПЛОС ОДИН. 2013;8:e57702. doi: 10.1371/journal.
pone.0057702. [Бесплатная статья PMC] [PubMed] [CrossRef] [Google Scholar]
42. Shin D., Choi W.T., Lin H., Qu Z., Breedveld V., Meredith J.C. Капиллярно-вязкостная адгезия пчелиная пыльцевая жидкость. Нац. коммун. 2019;10:1–9. doi: 10.1038/s41467-019-09372-x. [Бесплатная статья PMC] [PubMed] [CrossRef] [Google Scholar]
43. Ghosh S., Jeon H., Jung C. Поиск пищи и предпочтение источников пыльцы медоносной пчелой ( Apis mellifera ) относительно содержания белка . Дж. Экол. Окружающая среда. 2020; 44:4–10. doi: 10.1186/s41610-020-0149-9. [CrossRef] [Google Scholar]
44. Seo H.J., Song J., Yoon H.J., Lee K.Y. Влияние содержания нектара на кормодобывающую активность медоносной пчелы ( Apis mellifera ) на груше азиатской ( Pyrus pyrifolia Nakai) Sci. Хортик. (Амстердам) 2019; 245:185–192. doi: 10.1016/j.scienta.2018.10.009. [CrossRef] [Google Scholar]
45. Морс Р.А. и Кальдероне, С.В. Значение медоносных пчел как опылителей сельскохозяйственных культур в США в 2000 г.
Bee Cult. 2000; 128:1–15. doi: 10.1021/bi00697a007. [CrossRef] [Google Scholar]
46. Науманн К., Уинстон М.Л., Слессор К.Н., Смирл М.Дж. Применение феромонов нижнечелюстной железы матки синтетических медоносных пчел (Hymenoptera: Apidae) влияет на опыление груши и черешни. Дж. Экон. Энтомол. 1994;87:1595–1599. doi: 10.1093/jee/87.6.1595. [CrossRef] [Google Scholar]
47. Раджагопал Д., Эсвараппа Г., Раджу А.Дж.С. Изменение тенденций в исследованиях пыльцевых спор. Принтеры и издательства «Сегодня и завтра»; Нью-Дели, Индия: 2005. Потенциал опыления медоносных пчел в повышении продуктивности гуавы в штате Карнатака; стр. 131–141. [Google Scholar]
48. Мелендес-Рамирес В., Парра-Табла В., Кеван П.Г., Рамирес-Морильо И., Харрис Х., Фернандес-Баррера М., Зизумбо-Вильярреал Д. Смешанные стратегии спаривания и опыление насекомые и ветер в кокосовой пальме ( Cocos nucifera L. (Arecaceae)): значение для производства и селекции. Агр. За. Энтомол. 2004; 6: 155–163.
doi: 10.1111/j.1461-9563.2004.00216.x. [CrossRef] [Google Scholar]
49. Ewies M.A., EL-Sahhar K.F. Наблюдения за поведением медоносных пчел на луке и их влиянием на урожай семян. Дж. Апик. Рез. 1977; 16: 194–196. doi: 10.1080/00218839.1977.11099886. [CrossRef] [Google Scholar]
50. Бартомеус И., Поттс С.Г., Штеффан-Девентер И., Васььер Б.Е., Войцеховский М., Кревенка К.М., Чеулин Т., Робертс С.П.М., Сентдьёрдьи Х., Вестфаль К. и др. др. Вклад насекомых-опылителей в урожайность и качество сельскохозяйственных культур меняется в зависимости от интенсификации сельского хозяйства. Пир Дж. 2014; 2014: e328–e347. doi: 10.7717/peerj.328. [Бесплатная статья PMC] [PubMed] [CrossRef] [Google Scholar]
51. Абд Эль-Вахаб Т.Е., Эбада И.М.А. Влияние медоносных пчел и других насекомых-опылителей на завязывание семян и урожайность черного тмина Nigella sativa LJ Basic. заявл. науч. Рез. 2011; 1: 622–626. [Google Scholar]
52. Сабур Н., Мухаммед А., Мухаммад А.Р., Юнисанд А.
Роль опылителей в рекомендованном и плотно выращенном черном тмине ( Nigella sativa L.) урожайности в Дера Исмаил Хан. Дж. Энтомол. Зоол. Стад. 2018; 6: 983–986. [Google Scholar]
53. Bendifallah L., Louadi K., Doumandji S. Пчелофауна, потенциальные посетители цветков кориандра Coriandrum sativum L. (Apiaceae) в районе Митиджа (Алжир) J. Apic. науч. 2013;57:59–70. doi: 10.2478/jas-2013-0017. [CrossRef] [Google Scholar]
54. Geslin B., Aizen M.A., Garcia N., Pereira A., Vaissière B.E. Влияние качества пчелиной семьи на урожайность и прибыль фермеров при выращивании яблок и груш. Агр. Экосистем. Окружающая среда. 2017; 248:153–161. doi: 10.1016/j.agee.2017.07.035. [CrossRef] [Google Scholar]
55. Чаута-Меллизо А., Кэмпбелл С.А., Аргенис М., Талер Дж.С., Поведа К. Влияние естественного и искусственного опыления на качество плодов и потомства. Базовое приложение Экол. 2012; 13: 524–532. doi: 10.1016/j.baae.2012.08.013. [Перекрестная ссылка] [Академия Google]
56.
Айзекс Р., Кирк А.К. Услуги по опылению малых и больших полей голубики высокорослой дикими и разводимыми пчелами. Дж. Заявл. Экол. 2010;47:841–849. doi: 10.1111/j.1365-2664.2010.01823.x. [CrossRef] [Google Scholar]
57. Кроутер Л.П., Райт Д.Дж., Ричардсон Д.С., Карвелл К., Бурк А.Ф.Г. Пространственная экология шмелей-опылителей, расширяющих ареал. Экол. Эвол. 2019;9:986–997. doi: 10.1002/ece3.4722. [Бесплатная статья PMC] [PubMed] [CrossRef] [Google Scholar]
58. Velthuis H.H.W., Van Doorn A. Столетие достижений в одомашнивании шмелей и экономических и экологических аспектах их коммерциализации для опыления. Апидология. 2006; 37: 421–451. doi: 10.1051/apido:2006019. [CrossRef] [Google Scholar]
59. Пит Дж., Дарвилл Б., Эллис Дж., Гоулсон Д. Влияние климата на внутри- и межвидовые вариации размеров шмелей. Функц. Экол. 2005; 19: 145–151. doi: 10.1111/j.0269-8463.2005.00946.x. [CrossRef] [Google Scholar]
60. Fijen T.P.M., Scheper J.A., Boom TM, Janssen N.
, Raemakers I., Kleijn D. Опыление насекомыми не менее важно для получения товарного урожая, чем качество растений в семенной культуре. Экол. лат. 2018;21:1704–1713. doi: 10.1111/ele.13150. [PubMed] [CrossRef] [Академия Google]
61. Наяк Р.К., Рана К., Шарма Х.К., Рана В.С., Такур М. Влияние опыления шмелями на количественные и качественные показатели плодов киви. Индиан Дж. Хортик. 2019;76:294–299. doi: 10.5958/0974-0112.2019.00045.8. [CrossRef] [Google Scholar]
62. Шипп Дж.Л., Уитфилд Г.Х., Пападопулос А.П. Эффективность шмелей Bombus impatiens Cr.(Hymenoptera: Apidae) в качестве опылителя тепличного сладкого перца. науч. Хортик. (Амстердам) 1994; 57: 29–39. дои: 10.1016/0304-4238(94)
-9. [CrossRef] [Google Scholar]
63. Roldán Serrano A., Guerra-Sanz J.M. Улучшение качества плодов в культуре сладкого перца путем опыления шмелями. науч. Хортик. (Амстердам) 2006; 110:160–166. doi: 10.1016/j.scienta.2006.06.024. [CrossRef] [Google Scholar]
64.
Desjardins È.C., De Oliveira D. Коммерческий шмель Bombus impatiens (Hymenoptera: Apidae) как опылитель на полях голубики низкорослой (Ericale: Ericaceae). Дж. Экон. Энтомол. 2006; 99: 443–449. doi: 10.1093/jee/99.2.443. [PubMed] [CrossRef] [Google Scholar]
65. Yankit P., Rana K., Kumar Sharma H., Thakur M., Thakur R.K. Влияние опыления шмелями на качество и урожайность помидоров ( Solanum lycopersicum Mill.), выращенных в защищенных условиях. Междунар. Дж. Карр. микробиол. заявл. науч. 2018;7:257–263. doi: 10.20546/ijcmas.2018.701.028. [CrossRef] [Google Scholar]
66. Normandeau Bonneau M., Samson-Robert O., Fournier V., Chouinard G. Коммерческий шмель ( Bombus impatiens ) ульи с закрытыми сетками для опыления яблони в садах. Продлить. Агр. Пищевая система 2020; 36: 234–244. doi: 10.1017/S1742170520000095. [CrossRef] [Google Scholar]
67. Quezada-Euán J.J.G. Безжальные пчелы Мексики: биология, управление и сохранение древнего наследия. Спрингер; Нью-Йорк, штат Нью-Йорк, США: 2018.
Безжальные пчелы Мексики; стр. 1–37. [Google Scholar]
68. Рамирес В.М., Айала Р., Гонсалес Х.Д. Горшечная пыльца в мелиттологии безжалых пчел. Спрингер; Чам, Швейцария: 2018 г. Опыление сельскохозяйственных культур безжальными пчелами; стр. 139–153. [Google Scholar]
69. Eickwort G.C., Ginsberg H.S. Поиск пищи и брачное поведение Apoidea. Анну. Преподобный Энтомол. 1980; 25: 421–446. doi: 10.1146/annurev.en.25.010180.002225. [CrossRef] [Google Scholar]
70. Де Лука П.А., Вальехо-Марин М. О чем «шумиха»? Экология и эволюционное значение жужжания-опыления. Курс. мнение биол. растений 2013; 16: 429–435. doi: 10.1016/j.pbi.2013.05.002. [PubMed] [CrossRef] [Google Scholar]
71. Del Sarto M.C.L., Peruquetti R.C., Campos L.A.O. Оценка неотропической безжальной пчелы Melipona quadrifasciata (Hymenoptera: Apidae) в качестве опылителя тепличных томатов. Дж. Экон. Энтомол. 2005; 98: 260–266. doi: 10.1093/jee/98.2.260. [PubMed] [CrossRef] [Google Scholar]
72.
Solange A.B.S., Ana C.R., Luci R.B. Опыление Cucumber Cucumis sativus L. (Cucurbitales: Cucurbitaceae) безжальными пчелами Scaptotrigona aff. depili Moure и Nannotrigona testaceicornis Lepeletier (Hymenoptera: Meliponini) в теплицах. Неотроп. Энтомол. 2008; 37: 506–512. [PubMed] [Академия Google]
73. Азми В.А., Гази Р., Султан У., Абидин З., Чуа Т., Мара У.Т. Влияние опыления безжалостной пчелой ( Heterotrigona itama ) на тепличный огурец ( Cucumis sativus ) Malaysian Appl. биол. 2017;46:51–55. [Google Scholar]
74. Азми В.А., Сембок В.З.В., Юсуф Н., Хатта М.Ф.М., Саллех А.Ф., Хамза М.А.Х., Рамли С.Н. Влияние опыления индо-малайской безжальной пчелой (Hymenoptera: Apidae) на качество дыни, выращиваемой в теплицах. Дж. Экон. Энтомол. 2019;112:20–24. doi: 10.1093/jee/toy290. [PubMed] [CrossRef] [Google Scholar]
75. Розелино А.С., Сантос С.Б., Хрнсир М., Бего Л.Р. Различия между качеством клубники ( Fragaria x ananassa ), опыляемой безжальными пчелами Scaptotrigona aff.
depilis и Nannotrigona testaceicornis . Жене. Мол. Рез. 2009; 8: 539–545. doi: 10.4238/vol8-2kerr005. [PubMed] [CrossRef] [Google Scholar]
76. Илва П.Н.У., Рнцир М.Х., Инес К., Илва С. Пчелы без жала, Melipona fasciculata в качестве эффективных опылителей баклажанов ( Solanum melongena ) в теплицах. Апидология. 2013; 44: 537–546. doi: 10.1007/s13592-013-0204-y. [CrossRef] [Google Scholar]
77. Лейс Р., Купер С.Дж.Б., Шварц М.П. Молекулярная филогения крупных пчел-плотников рода Xylocopa (Hymenoptera: Apidae) на основе последовательностей митохондриальной ДНК. Мол. Филогенет. Эвол. 2000; 17: 407–418. doi: 10.1006/mpev.2000.0851. [PubMed] [CrossRef] [Академия Google]
78. Соманатан Х., Сарьян П., Баламурали Г.С. Стратегии кормодобывания и физиологические адаптации у крупных пчел-плотников. Дж. Комп. Физиол. Нейроэтол. Сенсорный, Нейронный, Поведенческий. Физиол. 2019;205:387–398. doi: 10.1007/s00359-019-01323-7. [PubMed] [CrossRef] [Google Scholar]
79.
Кеасар Т. Крупные пчелы-плотники как сельскохозяйственные опылители. Психея А Дж. Энтомол. 2010;2010:1–7. doi: 10.1155/2010/
80. Ричардс М.Х. Искусственная среда влияет на социальность пчелы-плотника и наоборот. Насекомые Соц. 2020;67:201–202. doi: 10.1007/s00040-020-00767-4. [Перекрестная ссылка] [Академия Google]
81. Раджу А.Дж.С., Рао С.П. Гнездовые привычки, цветочные ресурсы и экология кормления крупных пчел-плотников ( Xylocopa latipes и Xylocopa pubescens ) в Индии. Курс. науч. 2006: 1210–1217. [Google Scholar]
82. Гальдер С., Гош С., Хан Р., Хан А.А., Первин Т., Хасан М.А. Роль опыления плодовых культур: обзор. Фарма Иннов. Дж. 2019; 8: 695–705. [Google Scholar]
83. Barrera W.B., Jr., Trinidad K.A.D., Presas J.A. Ручное опыление и естественное опыление пчелами-плотниками (Xylocopa spp.) в Passiflora edulis Sims. ф. flavicarpa град. (желтая маракуйя) J. Apic. Рез. 2020 г.: 10.1080/00218839.
2020.1842580. [CrossRef] [Google Scholar]
84. Сильвейра М.В., Абот А.Р., Насименто Дж.Н., Родригес Э.Т. Можно ли обойтись без ручного опыления желтой маракуйи? науч. Хортик. (Амстердам) 2012; 146: 99–103. doi: 10.1016/j.scienta.2012.08.023. [CrossRef] [Google Scholar]
85. Хогендорн К., Стин З., Шварц М.П. Местные австралийские пчелы-плотники как потенциальная альтернатива внедрению шмелей для опыления томатов в теплицах. Дж. Апик. Рез. 2000;39: 67–74. doi: 10.1080/00218839.2000.11101023. [CrossRef] [Google Scholar]
86. Ади С., Ави С., Тамар К. Пчела-плотник Xylocopa pubescens как сельскохозяйственный опылитель в теплицах. Апидология. 2007; 38: 508–517. [Google Scholar]
87. Батра С.В. Одиночные пчелы. науч. Являюсь. 1984; 250:120–127. doi: 10.1038/scientificamerican0284-120. [CrossRef] [Google Scholar]
88. Biesmeijer J.C., Roberts S.P.M., Reemer M., Ohlemüller R., Edwards M., Peeters T., Schaffers A.P., Potts S.G., Kleukers R., Thomas C.D. Параллельное снижение количества опылителей и растений, опыляемых насекомыми, в Великобритании и Нидерландах.
Наука. 2006; 313:351–354. doi: 10.1126/science.1127863. [PubMed] [CrossRef] [Академия Google]
89. Кляйн Д., Уинфри Р., Бартомеус И., Карвальейро Л.Г., Генри М., Исаакс Р., Кляйн А.М., Кремен С., М’Гонигл Л.К., Рейдер Р. и др. Предоставление услуг по опылению сельскохозяйственных культур является недостаточным аргументом в пользу сохранения диких опылителей. Нац. коммун. 2015;6:1–9. doi: 10.1038/ncomms8414. [Бесплатная статья PMC] [PubMed] [CrossRef] [Google Scholar]
90. Garratt MPD, Breeze TD, Boreux V., Fountain MT, McKerchar M., Webber S.M., Coston D.J., Jenner N., Dean R., Вестбери Д.Б. и др. Опыление яблонями: спрос зависит от сорта, а предложение зависит от особенностей опылителя. ПЛОС ОДИН. 2016;11:e0153889. doi: 10.1371/journal.pone.0153889. [Бесплатная статья PMC] [PubMed] [CrossRef] [Google Scholar]
91. Хан М.Р., Хан М.Р. Роль медоносных пчел Apis mellifera L. (Hymenoptera: Apidae) в опылении яблони. Пакистан J. Biol. науч. 2004; 7: 359–362.
[Google Scholar]
92. Ву П., Чарнтке Т., Вестфал К., Ван М., Ольнууд А., Сюй Х., Ю З., ван дер Верф В., Лю Ю. Численность пчел и почвенный азот возможность интерактивно модулировать качество и количество яблок в интенсивных сельскохозяйственных ландшафтах Китая. Агр. Экосистем. Окружающая среда. 2021;305:107168–107176. doi: 10.1016/j.agee.2020.107168. [Перекрестная ссылка] [Академия Google]
93. Виана Б.Ф., да Энкарнакао Коутиньо Дж.Г., Гарибальди Л.А., Браганка Кастаньино Г.Л., Грамачо К.П., Оливейра Силва Ф. Пчелы без жала улучшают опыление яблок и их урожайность. Дж. Поллинат. Экол. 2014; 14: 261–269. doi: 10.26786/1920-7603(2014)26. [CrossRef] [Google Scholar]
94. Маллинджер Р.Э., Граттон К. Видовое богатство диких пчел, но не использование управляемых медоносных пчел, увеличивает завязываемость плодов культуры, зависящей от опылителей. Дж. Заявл. Экол. 2015;52:323–330. doi: 10.1111/1365-2664.12377. [Перекрестная ссылка] [Академия Google]
95. Фри Дж.
Б., Роу А., Уильямс И.Х. Опыление кокоса ( Cocos nucifera L.) на Ямайке медоносными пчелами и осами. заявл. Аним. этанол 1975; 1: 213–223. doi: 10.1016/0304-3762(75)
96. Walters S.A. Требования к опылению медоносных пчел для триплоидного арбуза. HortScience. 2005;40:1268–1270. doi: 10.21273/HORTSCI.40.5.1268. [CrossRef] [Google Scholar]
97. Бойл Н.К., Питтс-Зингер Т.Л. Оценка голубой садовой пчелы ( Osmia lignaria ) услуги по размножению и опылению в присутствии медоносных пчел ( Apis mellifera ) вишни в штате Юта. Пир Дж. 2019;7:e7639. doi: 10.7717/peerj.7639. [Бесплатная статья PMC] [PubMed] [CrossRef] [Google Scholar]
98. Holzschuh A., Dudenhöffer J.H., Tscharntke T. Ландшафты с местами обитания диких пчел улучшают опыление, завязывание плодов и урожайность черешни. биол. Консерв. 2012; 153:101–107. doi: 10.1016/j.biocon.2012.04.032. [CrossRef] [Google Scholar]
99. Бош Дж., Осорио-Канадас С.
, Сголастра Ф., Висенс Н. Использование управляемой одиночной пчелы для опыления миндаля: устойчивость популяции и увеличение завязывания плодов. Насекомые. 2021;12:56. дои: 10.3390/насекомые12010056. [PMC free article] [PubMed] [CrossRef] [Google Scholar]
100. Пенья Дж.Ф., Карабали А. Влияние плотности медоносных пчел ( Apis mellifera L.) на опыление и завязывание плодов авокадо ( Persea Americana Милл.) cv. Хасс. Дж. Апик. науч. 2018;62:5–14. doi: 10.2478/jas-2018-0001. [CrossRef] [Google Scholar]
101. Попак А.Е., Марквит С.Х., Стрэндж Дж. Экономическая оценка услуг пчел по опылению маракуйи (Malbighiales: Passifloraceae), выращиваемых на приусадебных фермах в Сан-Паулу, Бразилия, с использованием метода предотвращенных затрат. Дж. Экон. Энтомол. 2019;112:2049–2054. doi: 10.1093/jee/toz169. [PubMed] [CrossRef] [Google Scholar]
102. Malerbo-Souza DT, Nogueira-Couto R.H., Couto LA. Аттрактанты медоносных пчел и опыление сладкого апельсина, Citrus sinensis (L.
) Osbeck, var. Пера-Рио. Дж. Веном. Аним. Токсины вкл. Троп. Дис. 2004; 10: 144–153. doi: 10.1590/S1678-004000200004. [CrossRef] [Google Scholar]
103. Деури А., Рахман А., Гогой Дж., Бора П., Батари М. Разнообразие опылителей и влияние Apis cerana F. Опыление на урожайность манго ( Mangifera indica L.) J. Entomol. Зоол. Стад. 2018; 6: 957–961. [Google Scholar]
104. Klatt B.K., Holzschuh A., Westphal C., Clough Y., Smit I., Pawelzik E., Tscharntke T. Пчелиное опыление улучшает качество урожая, срок хранения и коммерческую ценность. проц. биол. науч. 2014; 281:20132440–20132447. doi: 10.1098/rspb.2013.2440. [Бесплатная статья PMC] [PubMed] [CrossRef] [Google Scholar]
105. Herrmann J.D., Beye H., de la Broise C., Hartlep H., Diekötter T. Положительные эффекты опылителей Osmia cornuta (Megachilidae) и Lucilia sericata (Calliphoridae) на качество земляники. Членистоногое. Завод. Взаимодействовать. 2019;13:71–77. doi: 10.
1007/s11829-018-9636-7. [CrossRef] [Google Scholar]
106. Howpage D., Spooner-Hart RN, Vithanage V. Влияние медоносных пчел ( Apis mellifera ) на опыление киви и качество плодов в условиях Австралии. Новый рвение. Дж. Кроп Хортик. науч. 2001; 29: 51–59. doi: 10.1080/01140671.2001.9514160. [Перекрестная ссылка] [Академия Google]
107. Гринлиф С.С., Кремен С. Дикие виды пчел увеличивают производство томатов и по-разному реагируют на использование окружающих земель в Северной Калифорнии. биол. Консерв. 2006; 133:81–87. doi: 10.1016/j.biocon.2006.05.025. [CrossRef] [Google Scholar]
108. Нето С., Лима Ф.Г., Гонсалвес Б.Б., Лима Бергамини Л., Араужо Б., Бергамини Р., Антонио М., Элиас С., Франческинелли Э.В. Местные пчелы опыляют цветы томатов и увеличивают урожайность. Дж. Поллинат. Экол. 2013; 11:41–45. [Академия Google]
109. Мунавар М.С., Сарвар Г., Раджа С., Вахчур Э.С., Ифтихар Ф., Махмуд Р. Опыление медоносной пчелой ( Apis mellifera ) увеличивает завязываемость семян и урожайность черного тмина ( Nigella sativa ) Int.
Дж. Агрик. биол. 2009; 11: 611–615. [Google Scholar]
110. Radford B.J., Nielsen R.G.H., Rhodes J.W. Агенты опыления посевов подсолнечника на центральном Дарлинг Дауне, Квинсленд. Ауст. Дж. Эксп. Агр. 1979; 19: 565–569. doi: 10.1071/EA97
. [Перекрестная ссылка] [Академия Google]111. Пирес В.К., Сильвейра Ф.А., Суджии Э.Р., Торезани К.Р.С., Родригес В.А., Альбукерке Ф.А., Родригес С.М.М., Саломао А.Н., Соарес Пирес К.С. Важность пчелоопыления для производства хлопка на традиционных и органических фермах в Бразилии. Дж. Поллинат. Экол. 2014;13:151–160. doi: 10.26786/1920-7603(2014)20. [CrossRef] [Google Scholar]
112. Никодемо Д., Коуто Р.Х.Н., Малхейрос Э.Б., де Йонг Д. Медоносная пчела как эффективный опылитель тыквы. науч. Агр. 2009; 66: 476–480. дои: 10.1590/S0103-00
00007. [CrossRef] [Google Scholar]
113. Блеттлер Д. К., Фагундес Г. А., Кавилья О. П. Вклад медоносных пчел в урожай сои. Апидология. 2018;49:101–111. doi: 10.1007/s13592-017-0532-4.
[CrossRef] [Google Scholar]
114. Де Милфонт М.О., Роча Э.Э.М., Лима А.О.Н., Фрейтас Б.М. Повышение производства сои с использованием медоносных пчел и диких опылителей, устойчивая альтернатива пестицидам и автоопылению. Окружающая среда. хим. лат. 2013; 11: 335–341. doi: 10.1007/s10311-013-0412-8. [Перекрестная ссылка] [Академия Google]
115. Кришнан С., Кушалаппа К.Г., Шаанкер Р.У., Газул Дж. Статус опылителей и их эффективность в кофейных плодах в фрагментированной ландшафтной мозаике Южной Индии. Базовое приложение Экол. 2012; 13: 277–285. doi: 10.1016/j.baae.2012.03.007. [CrossRef] [Google Scholar]
116. Asiwe J.A.N. Опосредованный насекомыми ауткроссинг и поток генов у вигны ( Vigna unguiculata (L.) Walp): значение для производства семян и обеспечения защитных структур для генетически трансформированной вигны. Африканский Дж. Биотехнолог. 2009 г.;8:226–230. doi: 10.4314/ajb.v8i2.59773. [CrossRef] [Google Scholar]
117. Барриос Б., Пена С.
Р., Салас А., Коптур С. Бабочки прилетают чаще, но пчелы являются лучшими опылителями: важность размеров ротового аппарата для эффективного удаления и осаждения пыльцы. АоБ растения. 2016; 8 doi: 10.1093/aobpla/plw001. [Бесплатная статья PMC] [PubMed] [CrossRef] [Google Scholar]
118. Мандал Э., Амин М.Р., Рахман Х., Аканда А.М. Численность и кормовое поведение местных насекомых-опылителей и их влияние на горчицу ( Brassica juncea L.) Бангладеш J. Zool. 2018;46:117–123. doi: 10.3329/bjz.v46i2.39045. [CrossRef] [Google Scholar]
119. Stanley J., Sah K., Subbanna A.R.N.S. Насколько эффективна азиатская медоносная пчела Apis cerana в опылении горчицы, Brassica campestris var. Тория? Поведение при опылении, эффективность опылителей, требования к опылителям и влияние опыления. Дж. Апик. Рез. 2017; 56: 439–451. doi: 10.1080/00218839.2017.1329796. [Перекрестная ссылка] [Академия Google]
120. Кляйн А.М., Штеффан-Девентер И., Чарнтке Т. Завязываемость плодов высокогорного кофе увеличивается с увеличением разнообразия пчел-опылителей.
проц. Р. Соц. Б биол. науч. 2003; 270:955–961. doi: 10.1098/rspb.2002.2306. [Бесплатная статья PMC] [PubMed] [CrossRef] [Google Scholar]
121. Муто Н.А., Лейте Р.О. де С .; Перейра, Д.С.; Рогез, H.L.G.; Вентурьери, Г.К. Влияние интродукции безжальных пчелиных семей ( Scaptotrigona aff. postica ) на продуктивность асаи ( Euterpe oleracea ) Преподобный Верде Агроэколог. Десенвольв. Сустентавел. 2020;15:265–273. doi: 10.18378/rvads.v15i3.8404. [CrossRef] [Google Scholar]
122. Яукер Ф., Бондаренко Б., Беккер Х.С., Штеффан-Девентер И. Эффективность опыления рапса дикими пчелами и журчалками. Агр. За. Энтомол. 2012; 14:81–87. doi: 10.1111/j.1461-9563.2011.00541.x. [CrossRef] [Google Scholar]
123. Perrot T., Gaba S., Roncoroni M., Gautier J.L., Bretagnolle V. Пчелы увеличивают урожай масличного рапса в реальных полевых условиях. Агр. Экосистем. Окружающая среда. 2018;266:39–48. doi: 10.1016/j.agee.2018.07.020. [CrossRef] [Google Scholar]
124.
Блох Д., Верденберг Н., Эрхардт А. Кризис опыления у дикой гвоздики , опыляемой бабочками Dianthus carthusianorum ? Новый Фитол. 2006; 169: 699–706. doi: 10.1111/j.1469-8137.2006.01653.x. [PubMed] [CrossRef] [Google Scholar]
125. Паште В.В., Кулькарни С.Р. Роль опылителей в качественном производстве плодовых культур: обзор. Тенденции бионауки. 2015;8:3743–3749. [Google Scholar]
126. Папиорек С., Юнкер Р.Р., Алвеш-дос-Сантос И., Мело Г.А.Р., Амарал-Нето Л.П., Сазима М., Воловски М., Фрейтас Л., Лунау К. Пчелы, птицы и желтые цветы: конвергентная эволюция УФ-паттернов в зависимости от опылителей. биол. растений 2016;18:46–55. doi: 10.1111/plb.12322. [PubMed] [CrossRef] [Академия Google]
127. Бауэр А.А., Клейтон М.К., Брюнет Дж. Цветочные признаки, влияющие на привлекательность растений для трех видов пчел: последствия для репродуктивного успеха растений. Являюсь. Дж. Бот. 2017; 104: 772–781. doi: 10.3732/ajb.1600405. [PubMed] [CrossRef] [Google Scholar]
128.
Hennessy G., Harris C., Eaton C., Wright P., Jackson E., Goulson D., Ratnieks F.F.L.W. Унесенные ветром: влияние ветра на посещаемость медоносных пчел и поведение при кормлении. Аним. Поведение 2020; 161: 23–31. doi: 10.1016/j.anbehav.2019.12.018. [CrossRef] [Google Scholar]
129. Уитни Х. М., Читтка Л., Брюс Т. Дж. А., Гловер Б. Дж. Конические клетки эпидермиса позволяют пчелам захватывать цветы и повышать эффективность сбора пищи. Курс. биол. 2009; 19: 948–953. doi: 10.1016/j.cub.2009.04.051. [PubMed] [CrossRef] [Google Scholar]
130. Rachersberger M., Cordeiro G.D., Schäffler I., Dötterl S. Медоносные пчелы-опылители используют визуальные и цветочные ароматические сигналы, чтобы найти цветы яблони ( Malus domestica ). Дж. Агрик. Пищевая хим. 2019;67:13221–13227. doi: 10.1021/acs.jafc.9б06446. [PubMed] [CrossRef] [Google Scholar]
131. Варассин И.Г., Триго Дж.Р., Сазима М. Роль производства нектара, цветочных пигментов и запаха в опылении четырех видов Passiflora (Passifloraceae) в юго-восточной Бразилии.
Бот. Дж. Линн. соц. 2001; 136: 139–152. doi: 10.1111/j.1095-8339.2001.tb00563.x. [CrossRef] [Google Scholar]
132. Gresty C.E.A., Clare E., Devey D.S., Cowan R.S., Csiba L., Malakasi P., Lewis O.T., Willis KJ. Цветочные предпочтения и сети переноса пыльцы для одиночных пчел, гнездящихся в полостях: значение для разработки агроэкологических схем. Экол. Эвол. 2018; 8: 7574–7587. doi: 10.1002/ece3.4234. [Бесплатная статья PMC] [PubMed] [CrossRef] [Google Scholar]
133. Прадо С.Г., Коллазо Дж.А., Маранд М.Х., Ирвин Р.Е. Влияние растительных ресурсов и микроклимата на посещаемость опылителей в агроэкосистеме. Агр. Экосистем. Окружающая среда. 2021;307:107196–107204. doi: 10.1016/j.agee.2020.107196. [CrossRef] [Google Scholar]
134. Bradshaw H.D., Schemske D.W. Замена аллеля в локусе окраски цветка приводит к смене опылителей у обезьяноцветов. Природа. 2003; 426:176–178. doi: 10.1038/nature02106. [PubMed] [CrossRef] [Академия Google]
135. Handelman C., Kohn J.
R. Цветовые предпочтения колибри в естественной гибридной популяции Mimulus aurantiacus (Phrymaceae) Plant Species Biol. 2014;29:65–72. doi: 10.1111/j.1442-1984.2012.00393.x. [CrossRef] [Google Scholar]
136. Giurfa M., Núñez J., Chittka L., Menzel R. Цветовые предпочтения цветочных пчел. Дж. Комп. Физиол. А. 1995; 177: 247–259. doi: 10.1007/BF001
. [CrossRef] [Google Scholar]137. Хилл П.С.М., Уэллс П.Х., Уэллс Х. Спонтанное постоянство цветов и обучение медоносных пчел как функция цвета. Аним. Поведение 1997;54:615–627. doi: 10.1006/anbe.1996.0467. [PubMed] [CrossRef] [Google Scholar]
138. Chen Z., Liu C.Q., Sun H., Niu Y. Компонент ультрафиолетового цвета усиливает привлекательность красных цветков пчелоопыляемого растения. Дж. Завод Экол. 2020;13:354–360. doi: 10.1093/jpe/rtaa023. [CrossRef] [Google Scholar]
139. Алкорн К., Уитни Х., Гловер Б. Движение цветков увеличивает предпочтение опылителей к цветам с лучшим сцеплением. Функц. Экол.
2012; 26: 941–947. doi: 10.1111/j.1365-2435.2012.02009.Икс. [CrossRef] [Google Scholar]
140. Whitney H.M., Poetes R., Steiner U., Chittka L., Glover B.J. Определение вклада формы эпидермальных клеток в смачиваемость лепестков с использованием изогенных линий антирринума. ПЛОС ОДИН. 2011;6:e17576. doi: 10.1371/journal.pone.0017576. [Бесплатная статья PMC] [PubMed] [CrossRef] [Google Scholar]
141. Giuliani C., Giovanetti M., Lupi D., Mesiano M.P., Barilli R., Ascrizzi R., Flamini G., Fico G. Tools для привязки: характеристики цветков, профиль эмиссии летучих органических соединений и железистые трихомы двух видов мексиканского шалфея для привлечения пчел. Растения. 2020;9:1645. doi: 10.3390/plants45. [Бесплатная статья PMC] [PubMed] [CrossRef] [Google Scholar]
142. Солис-Монтеро Л., Касерес-Гарсия С., Алавес-Росас Д., Гарсия-Крисостомо Х.Ф., Вега-Поланко М., Грахалес- Конеса Дж., Крус-Лопес Л. Предпочтения опылителей цветочным летучим веществам, выделяемым диморфными пыльниками травы, опыляемой жужжанием.
Дж. Хим. Экол. 2018;44:1058–1067. doi: 10.1007/s10886-018-1014-5. [PubMed] [CrossRef] [Google Scholar]
143. Макино Т.Т., Охаши К., Сакаи С. Как размер цветочной композиции и плотность окружающих цветов влияют на вероятность повторного посещения растения шмелями? Функц. Экол. 2007; 21: 87–9.5. doi: 10.1111/j.1365-2435.2006.01211.x. [CrossRef] [Google Scholar]
144. Шреста М., Гарсия Дж. Э., Берд М., Дайер А. Г. Австралийские цветочные окраски: влияет ли вознаграждение за нектар на предпочтение цветов пчелами-опылителями? ПЛОС ОДИН. 2020;15:e0226469. doi: 10.1371/journal.pone.0226469. [бесплатная статья PMC] [PubMed] [CrossRef] [Google Scholar]
145. Перера Р.А.С.Н., Карунаратне В.А.И.П. Цветочные визиты дикой пчелы, lithurgus atratus, влияние на урожайность и всхожесть семян бамии, abelmoschus esculentus, в Шри-Ланке. Опыление. Экол. 2019;25:1–6. doi: 10.26786/1920-7603(2018)20. [CrossRef] [Google Scholar]
146. Маллинджер Р.Э., Прасифка Дж.Р. Посещаемость пчелами культивируемых подсолнухов увеличивается с увеличением количества и доступности сахаров нектара.
Дж. Заявл. Энтомол. 2017; 141: 561–573. doi: 10.1111/jen.12375. [CrossRef] [Google Scholar]
147. Роу Л., Гибсон Д., Бахлай К.А., Гиббс Дж., Лэндис Д.А., Исаакс Р. Признаки цветков, связанные с характером посещения пчел. Экология. 2020;193:511–522. doi: 10.1007/s00442-020-04674-0. [PubMed] [CrossRef] [Академия Google]
148. Robertson A.W., Mountjoy C., Faulkner B.E., Roberts M.V., Macnair M.R. Отбор шмелями цветков Mimulus guttatus : влияние качества пыльцы и истощение вознаграждения. Экология. 1999; 80: 2594–2606. doi: 10.1890/0012-9658(1999)080[2594:BBSOMG]2.0.CO;2. [CrossRef] [Google Scholar]
149. Маллинджер Р.Э., Франко Дж.Г., Пришманн-Волдсет Д.А., Прасифка Дж.Р. Ежегодные покровные культуры для управляемых и диких пчел: оптимальные смеси растений зависят от целей улучшения опылителей. Агр. Экосистем. Окружающая среда. 2019;273:107–116. doi: 10.1016/j.agee.2018.12.006. [CrossRef] [Google Scholar]
150. Urbanowicz C., Muñiz P.A., McArt S.H.
Медоносные пчелы и дикие опылители различаются по предпочтениям и использованию интродуцированных цветочных ресурсов. Экол. Эвол. 2020;10:6741–6751. doi: 10.1002/ece3.6417. [Бесплатная статья PMC] [PubMed] [CrossRef] [Google Scholar]
151. Ропарс Л., Дайоз И., Фонтейн К., Мурате А., Геслин Б. Активность диких опылителей отрицательно связана с плотностью колоний медоносных пчел в городских условиях. контекст. ПЛОС ОДИН. 2019;14:e0222316. doi: 10.1371/journal.pone.0222316. [Бесплатная статья PMC] [PubMed] [CrossRef] [Google Scholar]
152. Pritchard D.J., Vallejo-Marín M. Вибрации цветов от жужжания пчел-опылителей достигают более высокой частоты, скорости и ускорения, чем вибрации полета и защиты. Дж. Эксп. биол. 2020;223:jeb220541. doi: 10.1242/jeb.220541. [PubMed] [CrossRef] [Google Scholar]
153. Pritchard D.J., Vallejo-marín M. Краткое руководство Опыление Buzz ll. Курс. биол. 2020; 30: R858–R860. doi: 10.1016/j.cub.2020.05.087. [PubMed] [CrossRef] [Академия Google]
154.
Де Лука П.А., Кокс Д.А., Вальехо-марин М. Сравнение опыления и защитных гудений у шмелей указывает на видоспецифичные и зависящие от контекста вибрации. Натурвиссеншафтен. 2014; 101:331–338. doi: 10.1007/s00114-014-1161-7. [PubMed] [CrossRef] [Google Scholar]
155. Вальехо-Марин М. Опыление Buzz: изучение вибрации пчел на цветах. Новый Фитол. 2019; 224:1068–1074. doi: 10.1111/nph.15666. [PubMed] [CrossRef] [Google Scholar]
156. Рассел А.Л., Леонард А.С., Gillette H.D., Папай Д.Р. Скрытые цветочные награды и роль опыта в озвучивании цветов пчелами. Аним. Поведение 2016; 120:83–91. doi: 10.1016/j.anbehav.2016.07.024. [CrossRef] [Google Scholar]
157. Corbet S.A., Huang S.-Q. Опыление жужжанием у восьми видов Pedicularis, опыляемых шмелями: включает ли оно индуцированный вибрацией трибоэлектрический заряд пыльцевых зерен? Анна. Бот. 2014; 114:1665–1674. doi: 10.1093/aob/mcu195. [Бесплатная статья PMC] [PubMed] [CrossRef] [Google Scholar]
158. Кардинал С., Бухманн С.
Л., Рассел А.Л. Эволюция цветочной обработки ультразвуком, поведение пчел (Anthophila) при поиске пыльцы. Эволюция. 2018;72:590–600. doi: 10.1111/evo.13446. [Бесплатная статья PMC] [PubMed] [CrossRef] [Google Scholar]
159. Wcislo W.T., Tierney S.M. Поведенческая среда и построение ниши: эволюция поиска пищи пчелами при тусклом свете. биол. 2009; 84:19–37. doi: 10.1111/j.1469-185X.2008.00059.x. [PubMed] [CrossRef] [Google Scholar]
160. Ma W., Li X., Shen J., Du Y., Xu K., Jiang Y. Транскриптомный анализ выявил приспособлений Apis mellifera к высокой температуре и высоким влажность. Экотоксикол. Окружающая среда. Саф. 2019;184:109599. doi: 10.1016/j.ecoenv.2019.109599. [PubMed] [CrossRef] [Google Scholar]
161. Долезал А.Г., Тот А.Л. Обратные связи между питанием и болезнями в здоровье медоносных пчел. Курс. мнение наук о насекомых. 2018;26:114–119. doi: 10.1016/j.cois.2018.02.006. [PubMed] [CrossRef] [Google Scholar]
162. Huang Z.Y., Giray T.
Факторы, влияющие на опылителей и опыление. Психея. 2012; 2012 doi: 10.1155/2012/302409. [CrossRef] [Google Scholar]
163. Кристофер Браун Дж., Альбрехт К. Влияние вырубки тропических лесов на безжальных пчел рода Melipona (Insecta: Hymenoptera: Apidae: Meliponini) в центральной Рондонии, Бразилия. Дж. Биогеогр. 2001; 28: 623–634. дои: 10.1046/j.1365-2699.2001.00583.х. [CrossRef] [Google Scholar]
164. Yang D., Xu X., Zhao H., Yang S., Wang X., Zhao D., Diao Q., Hou C. Различные факторы, влияющие на эффективность РНКи в меде. пчелиные вирусы. Фронт. Жене. 2018;9:384–392. doi: 10.3389/fgene.2018.00384. [Бесплатная статья PMC] [PubMed] [CrossRef] [Google Scholar]
165. О’Нил С.Т., Суэйл Д.Р., Андерсон Т.Д. Чувствительная к АТФ внутренняя регуляция калиевых каналов при вирусных инфекциях у медоносных пчел. науч. Отчет 2017; 7: 8668–8676. дои: 10.1038/s41598-017-09448-й. [Бесплатная статья PMC] [PubMed] [CrossRef] [Google Scholar]
166. van Engelsdorp D., Evans J.
D., Saegerman C., Mullin C., Haubruge E., Nguyen B.K., Frazier M., Frazier J., Кокс-Фостер Д., Чен Ю. и др. Расстройство коллапса колонии: описательное исследование. ПЛОС ОДИН. 2009;4:e6481. doi: 10.1371/journal.pone.0006481. [Бесплатная статья PMC] [PubMed] [CrossRef] [Google Scholar]
167. Van Dooremalen C., van Langevelde F. Можно ли использовать размер колонии медоносных пчел ( Apis mellifera ) в качестве предиктора потерь колонии из-за варроа деструктора зимой? Сельское хозяйство1. 2021;11:529. doi: 10.3390/сельское хозяйство11060529. [CrossRef] [Google Scholar]
168. Snow JW, Ceylan Koydemir H., Karinca D.K., Liang K., Tseng D., Ozcan A. Быстрая визуализация, обнаружение и количественная оценка спор Nosema ceranae у медоносных пчел с использованием флуоресцентная микроскопия с помощью мобильного телефона. Лабораторный чип. 2019;19:789–797. doi: 10.1039/C8LC01342J. [PubMed] [CrossRef] [Google Scholar]
169. Conroy T.J., Palmer-Young E.C.
, Irwin R.E., Adler L.S. Ограничение в еде влияет на паразитарную нагрузку и выживаемость Bombus impatiens (Hymenoptera: Apidae), инфицированный Crithidia (Trypanosomatida: Trypanosomatidae) Environ. Энтомол. 2016;45:1212–1219. doi: 10.1093/ee/nvw099. [PubMed] [CrossRef] [Google Scholar]
170. Han W., Yang Y., Gao J., Zhao D., Ren C., Wang S., Zhao S., Zhong Y. Хроническая токсичность и биохимическая реакция из Apis cerana cerana (Hymenoptera: Apidae), подвергшихся воздействию ацетамиприда и пропиконазола по отдельности или в комбинации. Экотоксикология. 2019;28:399–411. doi: 10.1007/s10646-019-02030-4. [PubMed] [CrossRef] [Google Scholar]
171. Кристен В., Кунц П.Ю., Фент К. Нарушение эндокринной системы и хроническое воздействие средств защиты растений на пчел: можем ли мы лучше защитить наших опылителей? Окружающая среда. Загрязн. 2018; 243:1588–1601. doi: 10.1016/j.envpol.2018.09.117. [PubMed] [CrossRef] [Google Scholar]
172. Арсе А.Н., Рамос Родригес А.
, Ю Дж., Колган Т.Дж., Вурм Ю., Гилл Р.Дж. Собирающиеся шмели отдают предпочтение пище, обработанной неоникотиноидами, при длительном воздействии. Труды. биол. науч. 2018; 285:8–11. дои: 10.1098/рспб.2018.0655. [Бесплатная статья PMC] [PubMed] [CrossRef] [Google Scholar]
173. Вудкок Б.А., Исаак Н.Дж.Б., Буллок Дж.М., Рой Д.Б., Гартуэйт Д.Г., Кроу А., Пайвелл Р.Ф. Влияние использования неоникотиноидов на долгосрочные изменения популяции диких пчел в Англии. Нац. коммун. 2016;7:12459. doi: 10.1038/ncomms12459. [Бесплатная статья PMC] [PubMed] [CrossRef] [Google Scholar]
174. Jiang J., Ma D., Zou N., Yu X., Zhang Z., Liu F., Mu W. Концентрации имидаклоприда и Тиаметоксам в пыльце, нектаре и листьях обработанных семенами хлопковых культур и их потенциальный риск для медоносных пчел (Apis mellifera L.), том 201. Elsevier Ltd.; Амстердам, Нидерланды: 2018. [PubMed] [Google Scholar]
175. Tosi S., Nieh J.C., Sgolastra F., Cabbri R., Medrzycki P. Неоникотиноидные пестициды и пищевой стресс синергетически снижают выживаемость медоносных пчел.
проц. Р. Соц. Б биол. науч. 2017; 284:20171711–20171719. doi: 10.1098/rspb.2017.1711. [Бесплатная статья PMC] [PubMed] [CrossRef] [Google Scholar]
176. Tomé HVV, Ramos G.S., Araújo M.F., Santana WC, Santos G.R., Guedes RNC, Maciel C.D., Newland PL, Oliveira EE Агрохимический синергизм создает более высокий риск для неотропических пчел, чем для медоносных пчел. Р. Соц. Открытая наука. 2017;4:160866. дои: 10.1098/rsos.160866. [Статья бесплатно PMC] [PubMed] [CrossRef] [Google Scholar]
177. Ванегас М. Безмолвный улей: как сокращение популяции медоносных пчел изменило политику агентства по охране окружающей среды в отношении пестицидов в сторону опылителей. Экол. Закон Q. 2017; 44: 311–342. [Google Scholar]
178. Rortais A., Arnold G., Dorne J.L., More S.J., Sperandio G., Streissl F., Szentes C., Verdonck F. Оценка риска пестицидов и других стрессоров у пчел: принципы, данные пробелы и перспективы от Европейского агентства по безопасности пищевых продуктов. науч. Общая окружающая среда.
2017; 587–588: 524–537. doi: 10.1016/j.scitotenv.2016.09.127. [PubMed] [CrossRef] [Google Scholar]
179. Tschoeke P.H., Oliveira E.E., Dalcin M.S., Silveira-Tschoeke M.C.A.C., Sarmento R.A., Santos G.R. Ботанические и синтетические пестициды изменяют посещаемость цветов пчелами-опылителями на полях неотропических дынь. Окружающая среда. Загрязн. 2019; 251: 591–599. doi: 10.1016/j.envpol.2019.04.133. [PubMed] [CrossRef] [Google Scholar]
180. Липорони Р., Кордейро Г.Д., Прадо П.И., Шлиндвайн К., Уоррант Э.Дж., Алвес-дос-Сантос И. Интенсивность света регулирует посещение цветов неотропическими ночными пчелами. науч. Отчет 2020; 10: 1–11. дои: 10.1038/s41598-020-72047-х. [Бесплатная статья PMC] [PubMed] [CrossRef] [Google Scholar]
181. Кенефик Н.Э., Гонсалес П.Л., Теодору П., Кардона Э. Выяснение влияния местных ресурсов, неоднородности ландшафта и климатической сезонности на разнообразие пчел и растений— Сети опылителей в тропических высокогорьях. Экология. 2020;194:333–344.
doi: 10.1007/s00442-020-04715-8. [PubMed] [CrossRef] [Google Scholar]
182. Грассл Дж., Холт С., Кремен Н., Песо М., Хане Д., Бэр Б. Синергические эффекты воздействия патогенов и пестицидов на медоносных пчел ( Apis mellifera ) выживаемость и иммунитет. Дж. Инвертебр. Патол. 2018;159:78–86. doi: 10.1016/j.jip.2018.10.005. [PubMed] [CrossRef] [Google Scholar]
183. Dalsgaard B. Воздействие землепользования и климата на взаимодействие растений и опылителей и услуги опыления. Разнообразие. 2020;12:168. doi: 10.3390/d12050168. [CrossRef] [Google Scholar]
184. Жак А., Лоран М., Consortium E., Ribière-Chabert M., Saussac M., Bougeard S., Budge G.E., Hendrikx P., Chauzat M.-P. Панъевропейское эпидемиологическое исследование показывает, что выживание колонии медоносных пчел зависит от образования пчеловода и борьбы с болезнями. ПЛОС ОДИН. 2017;12:e0172591. doi: 10.1371/journal.pone.0172591. [Бесплатная статья PMC] [PubMed] [CrossRef] [Google Scholar]
185.
Кук Д.Ф., Восс С.К., Финч Дж.Т.Д., Рейдер Р.К., Кук Дж.М., Сперр С.Дж. Роль мух как опылителей садовых культур: тематическое исследование в Австралии с мировым значением. Насекомые. 2020;11:341. doi: 10.3390/insects11060341. [Бесплатная статья PMC] [PubMed] [CrossRef] [Google Scholar]
186. Larson B.M.H., Kevan P.G., Inouye D.W. Мухи и цветы: таксономическое разнообразие антофилов и опылителей. Можно. Энтомол. 2001;133:439–465. doi: 10.4039/Ent133439-4. [CrossRef] [Google Scholar]
187. Hodgkiss D., Brown M.J.F., Fountain M.T. Журчалки Syrphine являются эффективными опылителями товарной земляники. Дж. Поллинат. Экол. 2018;22:55–66. doi: 10.26786/1920-7603(2018)пять. [CrossRef] [Google Scholar]
188. Яукер Ф., Вольтерс В. Летающие мухи являются эффективными опылителями масличного рапса. Экология. 2008; 156: 819–823. doi: 10.1007/s00442-008-1034-x. [PubMed] [CrossRef] [Google Scholar]
189. Хоулетт Б.Г., Джи М. Возможное управление дроном ( Eristalis tenax ) как опылитель сельскохозяйственных культур в Новой Зеландии.
NZ Plant Prot. 2019;72:221–230. doi: 10.30843/nzpp.2019.72.304. [CrossRef] [Google Scholar]
190. Schittenhelm S., Gladis T., Rao V.R. Эффективность различных насекомых в регенерации гермоплазмы образцов моркови, лука и репы рапса. Порода растений. 1997; 116: 369–375. doi: 10.1111/j.1439-0523.1997.tb01014.x. [CrossRef] [Google Scholar]
191. Ярлан А., Де Оливейра Д., Гинграс Дж. Опыление сладкого перца ( Capsicum annuum L.) в теплице сирфидной мухой Eristalis tenax (L.) Acta Hortic. 1997; 437:335–339. doi: 10.17660/ActaHortic.1997.437.41. [CrossRef] [Google Scholar]
192. Barbattini R., Greatti M., Zandigiacomo P., Costa G., Testolin R., Vizzotto G. Насекомые-опылители киви и их роль в опылении сельскохозяйственных культур; Материалы Atti XVII Congresso Nazionale Italiano di Entomologia; Удине, Италия. 13–18 июня 1994 г .; стр. 13–18. [Академия Google]
193. Хан М., Брюль К.А. Секретные опылители: обзор опыления молью с акцентом на Европу и Северную Америку.
Членистоногое. Завод. Взаимодействовать. 2016;10:21–28. doi: 10.1007/s11829-016-9414-3. [CrossRef] [Google Scholar]
194. Santos R.d.S., Milfont M.d.O., Silva M.M., Carneiro L.T., Castro C.C. Бабочки обеспечивают опыление макадамии на северо-востоке Бразилии. науч. Хортик. 2020;259:108818–108825. doi: 10.1016/j.scienta.2019.108818. [CrossRef] [Академия Google]
195. Мартиньш Д.Дж. Опыление бабочками засушливых полевых цветов gloriosa minor. J. Восточноафриканский физ. История 2014;103:25–30. дои: 10.2982/028.103.0103. [CrossRef] [Google Scholar]
196. Cruden R.W., Hermann-parker S.M. Опыление бабочками Caesalpinia pulcherrima с наблюдениями психофильного синдрома. бр. Экол. соц. 1979; 67: 155–168. дои: 10.2307/2259342. [CrossRef] [Google Scholar]
197. Pinto C.E., Oliveira R., Schlindwein C. Снижают ли последовательные посещения цветков внутри кроны завязывание плодов у Hancornia speciosa (Apocynaceae) с массовым цветением? биол. растений 2008; 10: 408–412.
doi: 10.1111/j.1438-8677.2008.00045.x. [PubMed] [CrossRef] [Академия Google]
198. Барриос Б., Коптур С. Биология флоры и система селекции Angadenia berteroi (Apocynaceae): Почему цветы сосновой золотой трубы дают мало плодов? Междунар. Дж. Растениевод. 2011; 172: 378–385. дои: 10.1086/658153. [CrossRef] [Google Scholar]
199. Ганн Г.Д., Вудманси С.В., Брэдли К.А. Сохранение редких растений в фрагментах городских лесов, охраняемых на местном уровне: пример из округа Майами-Дейд, Флорида. Городской Фор. Городское озеленение. 2020; 20:1–11. [Академия Google]
200. Макгрегор С.Дж., Покок М.Дж.О., Фокс Р., Эванс Д.М. Опыление ночными чешуекрылыми и последствия светового загрязнения: обзор. Экол. Энтомол. 2015;40:187–198. doi: 10.1111/en.12174. [Бесплатная статья PMC] [PubMed] [CrossRef] [Google Scholar]
201. Ricketts TH, Regetz J., Steffan-Dewenter I., Cunningham S.A., Kremen C., Bogdanski A., Gemmill-Herren B., Greenleaf С.С., Клейн А.М., Мэйфилд М.
М. и соавт. Влияние ландшафта на услуги по опылению сельскохозяйственных культур: существуют ли общие закономерности? Экол. лат. 2008;11:499–515. doi: 10.1111/j.1461-0248.2008.01157.x. [PubMed] [CrossRef] [Google Scholar]
202. Power AG. Экосистемные услуги и сельское хозяйство: компромиссы и синергия. Филос. Транс. Р. Соц. Б биол. науч. 2010;365:2959–2971. doi: 10.1098/rstb.2010.0143. [Бесплатная статья PMC] [PubMed] [CrossRef] [Google Scholar]
203. Аларкон Р., Давидовиц Г., Бронштейн Дж. Л. Использование нектара в сообществе бражников в южной Аризоне. Экол. Энтомол. 2008; 33: 503–509. doi: 10.1111/j.1365-2311.2008.00996.x. [Перекрестная ссылка] [Академия Google]
204. Девото М., Бейли С., Меммот Дж. «Ночная смена»: ночные пыльцевые транспортные сети в бореальном сосновом лесу. Экол. Энтомол. 2011;36:25–35. doi: 10.1111/j.1365-2311.2010.01247.x. [CrossRef] [Google Scholar]
205. Сайм К.Р., Болдуин И.Т. Преимущественно самоопыляющийся местный табак. БМС Экол.
2003; 3: 6–14. doi: 10.1186/1472-6785-3-6. [Бесплатная статья PMC] [PubMed] [CrossRef] [Google Scholar]
206. Armstrong J.E., Irvine A.K. Биология флоры Myristica insipida (Myristicaceae), характерный синдром опыления жуками. Являюсь. Дж. Бот. 1989; 76: 86–94. doi: 10.1002/j.1537-2197.1989.tb11288.x. [CrossRef] [Google Scholar]
207. Бернхардт П. Конвергентная эволюция и адаптивная радиация покрытосеменных растений, опыляемых жуками. пл сист. Эвол. 2000; 222: 293–320. doi: 10.1007/BF00984108. [CrossRef] [Google Scholar]
208. Dieringer G., Cabrera R.L., Lara M., Loya L., Reyes P., Journal I. Опыление жуками и термогенность цветков у Magnolia tamaulipana (Магнолиевые) Междунар. Дж. Растениевод. 1999; 160:64–71. дои: 10.1086/314099. [CrossRef] [Google Scholar]
209. Mayer C., Soka G., Picker M. Важность опыления жуками-мартышками (Scarabaeidae: Hopliini) для Aizoaceae и Asteraceae на пастбищных и непастбищных территориях в Полшуке, Суккулент Кару, Южная Африка .
Дж. Охрана насекомых. 2006; 10: 323–333. doi: 10.1007/s10841-006-9006-0. [CrossRef] [Google Scholar]
210. Деви М.С., Давидар П. Системы опыления деревьев в Карачи, средневысотном влажном вечнозеленом лесу в Западных Гатах, Индия. Являюсь. Дж. Бот. 2003;90: 650–657. doi: 10.3732/ajb.90.4.650. [PubMed] [CrossRef] [Google Scholar]
211. Момосе К., Юмото Т., Нагамицу Т., Като М., Нагамасу Х., Сакаи С., Харрисон Р.Д., Итиока Т., Хамид А.А., Иноуэ Т. , Биология опыления в низинном диптерокарповом лесу в Сараваке, Малайзия. I. Характеристика сообщества растений-опылителей в низинном диптерокарповом лесу. Являюсь. Дж. Бот. 1998; 85: 1477–1501. дои: 10.2307/2446404. [PubMed] [CrossRef] [Google Scholar]
212. Colville J., Picker MD, Cowling R.M. Смена видов жуков-обезьян (Scarabaeidae: Hopliini) по градиентам окружающей среды и нарушений в регионе Намакваленд суккулентного Кару, Южная Африка. Биодайверы. Консерв. 2002; 11: 243–264. дои: 10.1023/A:1014520226989. [CrossRef] [Google Scholar]
213.
Van Kleunen M., Nänni I., Donaldson J.S., Manning J.C. Роль отметин жуков и окраски цветков при посещении жуками-обезьянами (Hopliini) на большом мысе Цветочный Регион, ЮАР. Анна. Бот. 2007; 100:1483–1489. doi: 10.1093/aob/mcm256. [Бесплатная статья PMC] [PubMed] [CrossRef] [Google Scholar]
214. Sayers T.D.J., Steinbauer M.J., Miller R.E. Посетитель или переносчик? Степень опыления стафилинозами (Coleoptera: Staphylinidae) и цветочные взаимодействия. Членистоногое. Завод. Взаимодействовать. 2019;13:685–701. doi: 10.1007/s11829-019-09698-9. [CrossRef] [Google Scholar]
215. Suetsugu K. Общественные осы, сверчки и тараканы способствуют опылению голопаразитического растения Mitrastemon yamamotoi (Mitrastemonaceae) на юге Японии. биол. растений 2019;21:176–182. doi: 10.1111/plb.12889. [PubMed] [CrossRef] [Google Scholar]
216. Анантакришнан Т.Н. Трипсы и биология опыления. Курс. науч. 1982; 51: 168–172. [Google Scholar]
217. Инфанте Ф., Ортис Х.
А., Солис-Монтеро Л., Маунд Л.А., Вега Ф.Е. Трипсы (Thysanoptera) цветков кофе. Анна. Энтомол. соц. Являюсь. 2017;110:329–336. doi: 10.1093/aesa/saw101. [CrossRef] [Google Scholar]
218. Resende JJ, de M. Santos GM, Bichara Filho C.C., Gimenes M. Atividade diária de busca de recursos pela vespa social Polybia occidentalis occidentalis (Olivier, 1791) (Hymenopteridae) ) Преподобный Брас. Зоокультуры. 2001;3:105–115. [Google Scholar]
219. Беггс Дж. Экологические последствия вторжения социальных ос (Vespula spp.) в экосистему, богатую углеводами. биол. Консерв. 2001;99:17–28. doi: 10.1016/S0006-3207(00)00185-3. [CrossRef] [Google Scholar]
220. Schremmer F. Wespen und Hornissen. Зимсен; Wittenberg Lutherstadt, Germany: 1962. [Google Scholar]
221. Brodmann J., Twele R., Francke W., Hölzler G., Zhang Q.H., Ayasse M. опыление. Курс. биол. 2008; 18: 740–744. doi: 10.1016/j.cub.2008.04.040. [PubMed] [CrossRef] [Google Scholar]
222. Якубска-Буссе А.
, Прзадо Д., Штайнингер М., Аниолл-Квятковска Ю., Кадей М. Почему опылители становятся «вялыми»? Химический состав нектара от Epipactis helleborine (L.) crantz (Orchidaceae) Appl. Экол. Окружающая среда. Рез. 2005; 3: 29–38. doi: 10.15666/aeer/0302_029038. [CrossRef] [Google Scholar]
Crushin ‘It – Настройки разрыва Homebrew Grain Mill
Один из самых частых вопросов, которые мы получаем здесь, в MoreBeer! «Каков идеальный зазор для моей мельницы?» Хотя это кажется довольно прямолинейным вопросом, ответ не может быть более детальным. «Идеальная» настройка зазора для получения мелкого помола на моей зерновой мельнице может вообще не подходить для вашей пивоваренной системы. В вашей пивоваренной системе может потребоваться более грубый помол, чтобы предотвратить застревание затора, а ваша мельница может иметь валки другого диаметра. Прибавьте к этому тот факт, что зерно разного урожая и солодовни различается по размеру зерна и дробимости, и это открывает настоящую дискуссию.
Если вы когда-либо покупали предварительно размолотый солод в магазине домашнего пивоварения или в интернет-магазине, вы, вероятно, замечали, что помол очень крупный. Это сделано потому, что это «самая безопасная» раздавка, которая должна работать на большинстве пивоваренных систем, однако она не очень хороша для эффективности пивоварения. Во многих опубликованных рецептах домашнего пивоварения это учитывается, и в зерновой засыпи рецепта будет добавлен лишний фунт или два солода. Дополнительный фунт или два за партию не будут стоить дорого в масштабах домашнего пивоварения, но в коммерческих условиях они со временем значительно возрастут. В то время как профессиональным пивоварам нужна высокая эффективность пивоварения, чтобы снизить стоимость партии, для домашних пивоваров обеспечение стабильной эффективности пивоварения — это скорее право прохода или доказательство понимания ремесла, а не способ сэкономить деньги на ингредиентах.
Это облегчает понимание того, что не может быть только одной волшебной универсальной настройки гэпа для домашнего пивоварения.
Когда дело доходит до настроек зазора, вам всегда нужно «следить за зазором», что является еще одним способом сказать, что ваша партия дробленого зерна за партией требует некоторого внимания и модификации, чтобы быть последовательным. Понимание разницы между грубым и мелким дроблением помогает повысить эффективность и предотвратить застревание затора. Постоянство является ключевым моментом как при воспроизведении рецептов, так и для понимания результатов в готовом пиве.
Нажмите здесь, чтобы просмотреть наш выбор зерновых мельниц для домашнего пивоварения!
Есть отзывы об этой статье? Ждем вашего ответа! Нажмите здесь, чтобы связаться с нами с любым отзывом. Вам понравилось читать эту статью? Заинтересованы в написании одного? Нажмите сюда, чтобы узнать больше! О том, как стать соавтором. Или просто напишите нам по адресу articles@morebeer. com |
Понимание сертификата подлинности и ситового теста
Когда я начал работать полный рабочий день в индустрии с MoreBeer!, один из первых проектов, над которым я начал работать, помог мне узнать много нового о солоде в целом. Мы работали с Viking Malt над разработкой нового базового солода, предназначенного для рынка Северной Америки, что побудило меня начать знакомиться со всеми аспектами листа анализа солода, также известного как Сертификат анализа или COA. На сертификате сертификата вы увидите много подробной информации, и две из наиболее важных характеристик, касающихся настроек зазора и дробления, — это «хрупкость» и «ассортимент партии», на которых мы сосредоточимся в этой статье. Хрупкость – это склонность ядра дробиться на более мелкие кусочки при приложении давления. Ассортимент партии является показателем размеров ядер данной партии солода. Он рассчитывается путем подсчета веса ядер в выборочном ассортименте, попавших на сита разного размера.
В идеале вы хотите, чтобы большинство ваших ядер были пухлыми и попадали в верхний экран.
Чтобы продемонстрировать, как рассыпчатость и ассортимент партий влияют на вашу давку при различных настройках зазора, я провел ситовое испытание нескольких популярных базовых солодов. В качестве базовых солодов я использовал Viking Xtra Pale, Rahr 2-Row и Admiral Maltings Gallagher’s Best. Используя стандартную двухвалковую мельницу для домашнего пивоварения, я измельчил каждый солод, используя четыре различных значения зазора. Настройки зазора были 1,25 мм, 1,0 мм, 0,75 мм и 0,50 мм, и я использовал щуп, чтобы подтвердить эти настройки зазора между каждым фрезерованием. После помола я провел тест на зерновом сите с различными видами солода и дроби и записал все результаты. Хотя выполнение ситового теста довольно просто, выполнение шестнадцати из них занимает довольно много времени.
Чтобы имитировать этот тест, вы должны поместить по три резиновых шарика на каждое из трех стандартных размеров тестовых сит США, с нижним поддоном под самое мелкое сито — № 14, № 30 и № 60.
Сита должны быть уложены в определенном порядке: самое широкое сито вверху (#14), а самое тонкое (#60) внизу. Затем измеряемое зерно помещается в верхнее сито, и перед началом процесса тестирования надевается крышка.
Для моего примера я использовал 100 граммов, чтобы было проще, но до 130 граммов можно использовать за один раз со стандартными аналитическими ситами США. Для наиболее точного представления степени измельчения ваш тест должен включать шелуху, ядра и порошок. Вам понадобится гладкая и плоская поверхность для проверки, чтобы несколько раз двигать тестовые сита вперед и назад. Сита должны двигаться на 18 дюймов в одном направлении, а затем в другом примерно за 0,5 секунды в каждую сторону, всего 1 секунда в каждом цикле. Каждые 15 секунд вам нужно будет похлопывать сита по рабочей поверхности. Этот цикл должен поддерживаться в общей сложности в течение трех минут, и после его завершения опорожните каждое сито, полностью очистите их, взвесьте и запишите результаты.
Вы можете рассчитать процентное содержание каждого сита, разделив каждую фракцию на сумму весов всех фракций, а затем умножив ее на 100.
Пример: #14 + #30 + #60 + Pan = Сумма
Тогда:
#14 / Сумма x 100 = процент
Затем повторите для экранов 30, 60 и панорамы. Поскольку мы начали со 100 граммов образца материала, процентное содержание будет очень близко к исходным фракциям.
Зная рассыпчатость и ассортимент этих солодов до проведения этого теста (рис. А), я ожидал большей дисперсии. К моему удивлению, самый большой разрыв (каламбур) в процентах составил 7%. Этого процентного соотношения по-прежнему почти достаточно, чтобы перейти от «стандартного дробления» к «мелкому дроблению» (рис. F) с точно такой же настройкой зазора, не делая ничего, кроме переключения базовых солодов. Вот где старая фраза «обратите внимание на разрыв» становится ценной. В этом контексте «следите за зазором» — это не просто старая поговорка, это должно служить напоминанием о важности проверки настройки зазора с каждой партией пива, которое вы варите.
Если мы используем спецификацию помола Admiral Malts (рисунок F) в качестве точки отсчета, мы можем видеть, что с этими конкретными партиями зерна следующие настройки зазора привели нас примерно к этим диапазонам спецификаций.
Грубый | Установка зазора 1,25 мм |
Стандарт | Установка зазора 1,00 мм |
Штраф | Установка зазора 0,75 мм |
Экстра тонкий | Установка зазора 0,50 мм |
Нажмите здесь, чтобы просмотреть наш широкий выбор солода и зерна для пивоварения!
Итак… Каков идеальный зазор для моей зерновой мельницы?
Теперь, зная то, что мы знаем, давайте посмотрим, сможем ли мы попытаться ответить на первоначальный вопрос: «Каков идеальный зазор для моей зерновой мельницы?» Мы должны предположить, что мы говорим о большинстве домашних пивоваренных заводов с 2 валками, у которых есть вал диаметром 1,25 дюйма, и вы варите в заторном чане с хорошим двойным дном.
Имея это в виду, вы можете начать с зазора чуть более 1,0 мм и отрегулировать его. Если у вас нет щупа для измерения зазора, вы можете использовать для измерения кредитную карту, которая составляет около 0,76 мм. Когда мы говорим об «идеальной» настройке зазора, вы хотите отрегулировать зазор, чтобы найти высокоэффективную настройку, подходящую для вашей пивоваренной системы, но недостаточно точную, чтобы вызвать затор затора.
Измельчение зерен в домашних условиях позволяет вам работать с самыми свежими ингредиентами, но это также позволит вам лучше измельчать зерна для максимальной эффективности. Поскольку ячмень является сельскохозяйственным продуктом, его рассыпчатость и размер зерен всегда будут меняться из года в год в зависимости от урожая и от солодовни к солодовне. Самый важный вывод из этой статьи заключается в том, что настройки зазора не являются универсальными, и дробление следует контролировать во время каждого помола, чтобы убедиться, что солод, с которым вы работаете, измельчается должным образом.
В то время как ситовые тесты — отличный способ получить наиболее идеальное дробление для вашей пивоваренной системы, уделяя пристальное внимание качеству дробления во время каждого измельчения, которое вы делаете, это поможет вам получить наиболее стабильное дробление. Когда вы научитесь добиваться равномерного помола, последовательные партии — это то, что обязательно последует, а постоянство заваривания — это то, что делает хорошего пивовара.
Авторские права на все содержимое принадлежат MoreFlavor Inc., 2022 г. Все права защищены. Никакая часть этого документа или связанных с ним файлов не может быть воспроизведена или передана в любой форме и любыми средствами (электронными, фотокопированием, записью или иным образом) без предварительного письменного разрешения издателя.
Ремесленники и подарки
– Товары, доступные для оптовой продажи
1 2 3 5 A B C D E F G H I J K L M N O P Q R S T U V W Y
– 1 –
1377 тем
Добро пожаловать в 1377 тем! Я создатель детской одежды с миссией создавать забавные модные дизайны для повседневного ребенка.
В настоящее время я создаю комбинезоны, платья, футболки, толстовки, шаровары, брюки и многое другое. Я также уделяю большое внимание переработанной одежде, а это значит, что я беру футболки с графическими рисунками для взрослых и переделываю их в детские вещи.
Категория: Ремесленные изделия и подарки
– 2 –
2-Rivers Country Charm
2-Rivers Country Charm предлагает обширную коллекцию вывесок на крыльце, дизайнерских кожаных перчаток для ранчо/бизнеса, кухонных полотенец и многого другого.
Категория: Ремесленные изделия и подарки
– 3 –
3 Bits Custom Creations
Новые и переработанные самодельные поделки, венки, мебель и прочее.
Категория: Ремесленники и подарки
– 5 –
5 Браслет второго правила
Познакомьтесь с Пэм Эммил, любящей женой и матерью двух взрослых дочерей. Пэм — целеустремленный предприниматель, и ее миссия — избавиться от стигматизации психических заболеваний и зависимостей.
Браслет «Правило пяти секунд» дал Пэм возможность публично рассказать о своей истории трезвости. Ее миссия — создавать продукты, которые вдохновляют и находят в вас силы. Простое слово о подвеске на браслете «Правило пяти секунд» может сделать чей-то день немного ярче и счастливее. Ее модели модные, стильные и доступные.
Принципы Пэм
- Живи своей лучшей жизнью день за днем.
- Относитесь к другим с добротой.
- Поверьте, вы больше, чем ваши обстоятельства.
- Работа над своей страстью не должна быть тяжелой работой, но вам нужно поторопиться.
- У Бога есть план для тебя. Слушайте и следуйте его плану, а не вашему плану.
Категория: Ремесленные изделия и подарки
– A –
Обнять, чтобы обнять
специализированные поздравительные открытки и витражи ручной работы, чтобы обнять любимого человека
Категория: Ремесленники и подарки
3 Бутик Ювелирные изделия прекрасного качества с использованием стерлингового серебра и/или жемчужин устриц ручной работы.
Мы также продаем кухонные салфетки ручной работы и изделия Diamond ArtКатегория: Изделия ручной работы и подарки
A Touch of Honey®
A Touch of Honey® упаковывает свой чистый мед из Северной Дакоты в контейнеры разного размера. Их взбитый мед доступен в 13 вкусах. Они также производят лосьоны с медом для всей семьи, а также множество дизайнерских ароматов! Также доступны бальзамы для губ и лосьоны для успокоения сухой кожи.
Категория: Еда и напитки Ремесленники и подарки Производители
ABLE, Inc.
ABLE, Inc. – это некоммерческое агентство, занимающееся трудоустройством и поддержкой людей с ограниченными интеллектуальными возможностями. Их магазин Repeat Outlet в Боумэне предлагает уникальные товары, такие как тканые коврики, махровые коврики, салфетки, коврики для кружек, одеяла, большие сумки, сумки для мелков, подушки, ретро-фартуки и многое другое.
ABLE также предлагает своим клиентам очень индивидуальную услугу – сувениры на память. Они превращают одежду любимого человека в одеяла, коврики, дорожки и т. д., чтобы семья могла хранить их долгие годы.
Категория: Ремесленники и подарки
Adorables by Audrey Embroidery
Adorables by Audrey предлагает вышивку на любой вкус. Индивидуальные товары доступны для свадеб, встреч, спорта, школ или любого случая. Товары включают, помимо прочего, кухонные и банные полотенца, фартуки, рубашки, одеяла, сумки, куртки и кепки. Также делаю рубашки с дизайном ND.
Категория: Ремесленники и подарки
Удивительно изящные
Компания AmazinglyGraced2024 была основана в 2015 году и предлагает потрясающие ювелирные украшения и аксессуары ручной работы, включая эффектные украшения, подарки для нее и для него, памятные украшения, сувениры и украшения, а также семейные наборы украшений и аксессуары.
ручной работы, отполированный, собранный и с любовью упакованный для чудесного вдумчивого подарка, который говорит с сердцем.
Яркие ювелирные подарки включают персонализированные ожерелья и браслеты, ожерелья с монограммами, библейские украшения и подарки, индивидуальные подарки на память и многое другое ♥
Украшения и аксессуары Memorial & Urn созданы, чтобы увековечить память младенцев, рожденных мертвыми, и детей-ангелов. Каждое украшение и каждый аксессуар рассказывает вашу историю так, как это важно для вас и вашей семьи.
Семейные наборы украшений и аксессуары включают подарки для мамы, подарки для папы, подарки для бабушек и дедушек и семейные подарочные наборы.
Индивидуальные подарочные коробки можно приобрести вместе с вашим заказом. Каждая подарочная коробка индивидуально сложена вручную для уникальной коробки на память и красивого дополнения к вашему подарку.
Каждый доступный предмет можно настроить в соответствии с вашими предпочтениями.
Если у вас есть специальный запрос, пожалуйста, свяжитесь со мной. Я с нетерпением жду создания чего-то значимого только для вас!
♥ Благодарим вас за покупку AmazinglyGraced
Категория: Ремесленники и подарки
Анекдоты Анд, ООО
Анекдоты Андес, компания, которая в основном представляет в Северной Дакоте литературу и фотографию Андеса Геранта Л. Макоти, Северная Дакота
Андес создал эту компанию, чтобы поделиться своей любовью и страстью к истории Северной Дакоты с другими, а также сохранить истории старейшин в сельских общинах Северной Дакоты. Его работа посвящена истории западной части Северной Дакоты и индейской резервации Форт-Бертольд. Главной работой Андеса является его книга «Старейшины: истории из форта Бертольд». Она была опубликована и напечатана местной издательской компанией в Северной Дакоте, и его жанр написания – историческая творческая научно-популярная литература.
Категория: Ремесленники и подарки Издательства
Искусство Чери Рошау
Искусство Чери Рошау — это небольшой ремесленный бизнес, который можно встретить «вне дома».
Я предпочитаю графит, фотографию, акрил, акварель и цветные карандаши. и выбор жюри на художественных выставках в моем регионе. Недавно мои фотографии были показаны в нескольких национальных новостях (NBC, ABC, CBS, Good Morning America и т. д.) с моими фотографиями бизонов во время гона летом 2019 года.. Я надеюсь, что вы услышите мой голос через мое искусство. Я глубоко ценю богатую текстуру в природе и цвета, погруженные в землю. Ежедневные переживания, окружающие мою жизнь, составляют основу моего внимания к чистому холсту. Мое искусство — это форма общения, создание идей и чувств для зрителей. Я известен своим западным искусством, особенно скотоводством, сельским хозяйством, родео и дикой природой.
Категория: Ремесленники и подарки
Как мы это видим
As We See It использует наши собственные оригинальные 35-миллиметровые фотографии (без ксерокопий или лазерных отпечатков) для создания матовых карточек для заметок размером 5 x 7 дюймов.
Карты также могут служить ковриком и быть оформлены в рамку на память. В дополнение к нашим карточкам для заметок у нас есть матовые настенные ковры размером 11 x 14 дюймов, которые могут понравиться всем. Как следует из нашего названия, мы надеемся, что вам понравится смотреть на вещи «Как мы это видим». Цель ÂsceND — предоставить качественное и доступное снаряжение для людей, которые гордятся своими корнями из Северной Дакоты. Новые дизайны и одежда всегда в разработке!
Категория: Ремесленники и подарки
Abbey Abbey Inc.
Монастырский сувенирный магазин, предлагающий религиозные предметы, товары справедливой торговли, мыло ручной работы и свечи ручной работы (Гордость Дакоты).
Категория: Ремесленники и подарки Средства личной гигиены
Цветочная ферма «На углу надежды и благодати»
Производство местных цветов к западу от Мандана для розничной продажи свежих, сушеных и вечнозеленых композиций в зависимости от сезона.
Обучение цветочному дизайну и общие информационные занятия о растениях для взрослых и детей школьного возраста.
Категория: Ремесленники и подарки
Производство стеганых одеял Azure Sky Star
Производство стеганых одеял Azure Sky Star — это предприятие, принадлежащее коренным американцам, которое предлагает изготовленные на заказ стеганые одеяла со звездами, настенные ковры, наволочки для подушек, декоративные подушки и фотообои . Также доступны услуги квилтинга, отделки и вышивки, а также термоперенос на заказ.
Категория: Ремесленники и подарки
– B –
Back Shed Treasures LLC
Backshed Treasures, LLC предлагает переработанное стекло, предметы домашнего декора и мебели, проволочные светильники, сшитые флисовые шарфы, флисовые и вязаные шапки, наборы подушек и одеял. Корин находит переработанные вещи в местных секонд-хендах и на распродажах, чистит вещи и превращает их в новые сокровища.
Индивидуальные заказы всегда приветствуются!
Категория: Ремесленники и подарки
Конопля Badlands
Мы (моя жена и я) занимаемся выращиванием и переработкой конопли CBD. Мы выращиваем сертифицированную органическую коноплю. Мы хотели бы продавать нашу продукцию в местных магазинах и магазинах ND. В настоящее время мы не продаем ни в каких обычных магазинах.
Категория: Ремесленники и подарки Средства личной гигиены
Компания бритья Badlands
Компания бритья Badlands с 2012 года создает красивые, высококачественные товары для бритья ручной работы. Мы продаем бритвы, наборы для бритья и помазки. отправлены по всему миру. Мы специализируемся на производстве бритв с лазерной гравировкой, которые дарят жениху. Все наши продукты изготавливаются вручную в моем магазине с некоторой помощью членов семьи.
Категория: Ремесленные изделия и подарки Средства личной гигиены
Bark’n Biscuits Co LLC
Bark’n Biscuits — пекарня и бутик для собак в Фарго.
Мы делаем домашние декадентские лакомства для собак, а также у нас есть собственная линия собачьего печенья.
Категория: Ремесленники и подарки
Бутик бисера
Бутик бисера разрабатывает и создает уникальные украшения из различных бусин и металлов, в том числе персонализированные ожерелья.
Категория: Ремесленники и подарки
Беверли Кристенсен, писательница и художник братья и друзья. В повествование также вплетена история любви и один из самых сокровенных секретов Второй мировой войны, а также миссия его корабля – выслеживать и убивать немецкие подводные лодки.
Категория: Ремесленные изделия и подарки Издатели
Блажено, чтобы соблюдать ND (Норт -Дакота Фотографии)
Блаженные, чтобы соблюдать и предлагает Норт -Дакоту Флорисы, Флона, Флона, Флона, СКИСА, СКИСА, СКИСА, СКИСА, СКИСА, СКИСА, СКИСА, СКИСА, СКИСА, СКИСА, СКИСА, СКИСА, СКИСА, СКИСА, СКИСА, СКИС, СКИС, СКИСА, СКИСА, СКИСА, СКИСА, СКИСА, СКИСА, СКИСА, СКИСА, СКИСА.
С душой… Каждое изображение размером 4×6 дюймов было снято, дополнено стихом из Священных Писаний, помещено на качественный картон размером 5×7 дюймов и упаковано в защитный целлофан.
Я надеюсь, что открытка друзьям или родственникам, близким или дальним, передаст немного любви и вдохновения из родной страны Северной Дакоты!
О моих фотокарточках: Фотокарточки также доступны в обычном виде (без текста) или с произвольным текстом.
Продаются упаковками по 4 штуки или поштучно.
Рама 5”X7” готова!
Категория: Ремесленники и подарки
Bubble Island Bath Treats, LLC
Bubble Island Bath Treats создает продукты для ванны и тела ручной работы, используя только лучшие натуральные продукты и эфирные масла. Мы разрабатываем мыло, лосьоны, бомбочки для ванн, кремы для стирки, палочки от пятен для стирки, обезболивающие бальзамы, соли для ванн, пену для ванн, скрабы для тела и многие другие замечательные продукты для ванны и тела.
Наши продукты создаются и разрабатываются в Bubble Room на Bubble Island, где роскошь встречается с весельем!
Категория: Ремесленные изделия и подарки Средства личной гигиены
Пылающая страсть
Я создаю произведения искусства и ювелирные украшения с помощью пирографии (выжигания по дереву). Это затерянное поле имеет деревенский/естественный вид и придает дереву, с которым я работаю, очарование, поскольку обожженные волокна дерева высвобождаются для создания чего-то нового. От большого к маленькому. Я работаю со многими размерами и темами. Посетите мой веб-сайт, чтобы узнать больше: https://www.avhall-burningpassion.com/
Категория: Ремесленники и подарки
– C –
Кукольный дом Кэнди
Кукольный домик Кэнди — ремесленная компания, расположенная в Бисмарке, Северная Дакота. Специализируется на куклах, детских и взрослых украшениях и кукольной одежде.
Категория: Ремесленники и подарки
Capitol Tea Company, LLC
Мы являемся местным магазином чая, который открылся в Бисмарке, Северная Дакота, в 2008 году и расширился до Фарго, Северная Дакота, в 2016 году.
создавать наши собственные смеси чая в доме … у нас есть около 250+ чаев, доступных сейчас на нашем сайте и в магазине.
Категория: Еда и напитки Ремесленники и подарки Производители
CCK Star Creations
CCK Star Creations предлагает вышитые машинной вышивкой кухонные полотенца, горшки для посуды, полотенца, банные полотенца, кухонные полотенца Дизайн Северной Дакоты. Также доступны фланелевые одеяла, нагрудники, книги из ткани, погремушки, одеяла для Барби и кукол, полотенца с капюшонами и чехлы для приборов. Украшения из различных полудрагоценных камней, бирюзы, кристаллов и гематита. CCK Star Creations можно найти на Facebook.
Категория: Ремесленники и подарки
Cedarworks
Cedarworks создает изделия ручной работы из дерева в деревенском стиле для дома внутри и снаружи. У нас также есть линия кукольных кроватей, как односпальных, так и двухъярусных, включая матрасы и комплекты постельного белья.
Категория: Ремесленники и подарки
Центральный элемент компании Centerpieces, Inc.
Новый, ультрасовременный элемент Центральных элементов позволит создать уникальные сувениры для вашего торжества. Вазы помещаются в держатель для ваз, который вмещает восемь ваз и составляет один привлекательный центральный элемент; в конце мероприятия каждый уносит домой одну вазу на память.
Цветочные, СТЕКЛЯННЫЕ ПОЗДРАВИТЕЛЬНЫЕ открытки. MFG
Внутренние колокольчики из дутого стекла ручной работы с подсветкой на батарейках.
Категория: Ремесленники и подарки Производители
Cherishables
Cherishables демонстрирует современные ремесла Аниты Хеллман.
Категория: Ремесленники и подарки
Chrissy&Co LLC
Chrissy&Co стремится производить чисто горящие, экологически чистые и натуральные свечи.
Категория: Ремесленники и сувениры Производители
Christie’s Candy
Christie’s Candies of Fargo специализируется на изготовлении домашней карамели, которая тает во рту. Комментарий, который мы чаще всего слышим, звучит так: «На вкус он такой же, как у мамы (или у бабушки, а иногда и у двоюродной бабушки Марии)!» У нас также есть старомодные ломкие арахисовые ломтики, ломкие арахисовые ломтики (арахисовые ломкие с оттенком тепла) и крендельки в шоколаде. Все наши вкусные угощения сделаны вручную, от начала до конца. Помимо ряда выставок в районе Фарго в течение года, вы можете найти нас на мероприятиях Pride of Dakota в Гранд-Форксе и Бисмарке. Для индивидуальных заказов, пожалуйста, напишите или напишите нам на Facebook.
Категория: Еда и напитки Ремесленные изделия и подарки
Классное стекло и т. д.
Окрашенные и декорированные стеклянные бутылки для декора или центральных украшений.
Теперь я плавлю бутылки и делаю уникальные сервировочные подносы и подставки для ложек. Также есть несколько гномов и подставок, а также вешалки для макраме и деревянные предметы.
Категория: Ремесленные изделия и подарки
Чистое мыло для маленьких мальчиков
Мы небольшая компания по производству мыла ручной работы, которая производит забавные угощения для купания для всех возрастов. Ищете что-то для особого случая, свяжитесь с нами и поделитесь своими идеями, и мы вместе сможем создать что-то особенное!
Категория: Ремесленные изделия и подарки Средства личной гигиены
Ювелирные изделия с цветными точками
Мы делаем уникальные украшения на любой бюджет. Серьги ручной работы, подвески, браслеты, книжные закладки, подвески из настоящих листьев, серьги из необработанных драгоценных камней и многое другое!
Категория: Ремесленники и подарки
Connie’s Creations
Я шью нагрудники для взрослых, куклы Dammit, держатели и тарелки для микроволновых печей, мешки для запеченного картофеля, мешки для кукурузы, подвесные полотенца для плиты или холодильника и т.
д.
Категория: Ремесленники и подарки
Country Candids
Country Candids была основана в 2010 году для записи «Случайных снимков сельской местности Северной Дакоты», но в дальнейшем стала включать фотографии, рассказывающие историю. В то время как бизнес, как правило, следует за старыми зданиями и воспоминаниями, в той или иной степени охвачено все, включая дикую природу и многие другие категории. Специальности: 8×12 деревянных рам из амбара, 8×12 деревенских латунных угловых рамок, 8×12 деревенских инкрустированных веревочных рамок, 8×12 черных серебряных угловых рамок, оригинальная фотография Северной Дакоты, нестандартные размеры печати, нестандартные размеры рамы, отпечатки на холсте, трещины, фотодвери, карточки для заметок, виды в шкафу и настенные сцены. Сайты: www.facebook.com/countrycandids; www.etsy.com/shop/CountryCandids; https://twitter.com/countrycandids; www.pinterest.com/countrycandids/country-candids
Категория: Ремесленники и подарки
Cowboy Rope Art
Cowboy Rope Art создает корзины из веревок разного дизайна и цвета из веревок, используемых ковбоями Северной Дакоты и Южной Дакоты.
Другие продукты включают лампы, обтянутые веревкой, и часы, обвязанные веревкой. Они также делают осенние и рождественские веревочные венки и веревочные кресты.
Категория: Ремесленники и подарки
CP Art Designs
Рубашки, брелоки, подставки и чашки. Индивидуальный или малый бизнес, если вам нужна печать, позвоните мне!!
Подготовит логотипы компаний, семейные торжества и многое другое.
Категория: Ремесленники и подарки
Craft World & More ND
Craft World & More ND предлагает скрубберы нескольких стилей и размеров, в дополнение к пылесборникам North Dakota. Вязаные крючком изделия включают крестильные платья, салфетки, кухонные полотенца, тапочки, пледы, вязаные крючком двойные полотенца и многое другое. Доступны дополнительные товары: чехлы для детских автомобильных сидений, балаклавы 3 размеров, одеяла, пеленальные подушки, пакеты для горячих и холодных напитков, пакеты для микроволновых печей, подушки для зубной феи и многое другое.
Все предметы ручной работы.
Категория: Ремесленники и подарки
Креативные открытки и подарки
Креативные открытки и подарки — это сувенирный магазин в торговом центре Prairie Hills в Дикинсоне, Северная Дакота, в котором каждый найдет что-то для себя. От кухонных гаджетов до рождественских подарков — вы можете найти что-то на любой случай, а также открытку и подарочный пакет , которые можно взять с собой. Creative Cards & Gifts предлагает светодиодные вывески и изделия из металла, которые можно настроить, чтобы воплотить идеи наших клиентов в жизнь. Местная собственность и управление.
Категория: Ремесленники и подарки
CS288, LLC DBA Stephanie Marrufo Books
Stephanie Marrufo Books только что опубликовали нашу первую детскую книгу под названием «Все способы, которыми я слышу вас», в которой мы стремимся выделить и охватить разнообразную группу глухие и слабослышащие дети, их различные слуховые устройства и стили общения.
Содействие инклюзивности, любви к себе и повышению осведомленности общества – наши главные приоритеты.
Категория: Artisans & Gifts Издательства
Custom Stitchs & Designs
Custom Stitches & Designs предлагает сшитые вручную товары для детей и малышей. А также услуги вышивки, гравировки и трафаретной печати на заказ
Категория: Ремесленники и подарки
Милый как жук
Детская одежда и модная одежда ручной работы от Amanda Perry
Специализируется на вязании крючком и детской обуви одежда, одеяла, чехлы для автомобильных сидений, нагрудники и салфетки для отрыжки, аксессуары для волос, платья из тюля, торты из подгузников, букеты и кексы-комбинезоны, а также другие подарки для детского праздника.
Категория: Ремесленники и подарки
CV Sisters
CV Sisters — это небольшой домашний семейный бизнес, расположенный в сельской местности Северной Дакоты.
Наши продукты личной гигиены основаны на кокосовом масле и других натуральных ингредиентах, включая эфирные масла. Мы изготавливаем вручную мыло, бальзам для губ, лосьоны и другие сопутствующие товары небольшими партиями.
Категория: Ремесленные изделия и подарки Средства личной гигиены
– D –
Dacotah Trails Books
Dacotah Trails Books предлагает книги о Северной Дакоте или авторов из Северной Дакоты. Многие из этих книг больше не издаются и являются редкостью. Они специализируются на истории города и округа, а также на книгах о Старом Западе и коренных американцах.
Категория: Ремесленники и подарки
Ремень и мокасины Dakota
Ремень и мокасины Dakota предлагает ремни и подтяжки из натуральной кожи, кожаные шляпы Dakota Outback, мокасины, обложки для чековых книжек и небольшие изделия из кожи, выполненные в традициях Американский Запад.
Категория: Ремесленники и подарки
Массаж и лакомства для собак Dakota
Массаж и лакомства для собак Dakota предлагают домашний массаж домашних животных.
Клаудия сертифицирована по лечебному собачьему массажу уже 6 лет. Она делает натуральные лакомства для домашних животных, кексы, торты ко дню рождения и даже «Мороженое для собачек». Ее угощения не содержат зерна или глютена. Другие популярные товары для домашних животных включают органические бальзамы для домашних животных, спреи для домашних животных, шампуни и держатели для поводков.
Категория: Ремесленники и подарки
Dakota Steel Art
Dakota Steel Art занимается лазерной резкой, включая ветряные мельницы и именные рамки. Они изготавливают рамы на заказ для всех видов картин и картин. Их новейшая технология позволяет им печатать на заказ ветряные мельницы, вывески, баннеры и различные другие рекламные материалы.
Категория: Ремесленники и подарки
Dan Welsh Photography
Я фотограф из Мандана, которому нравится фотографировать пейзажи Северной Дакоты. Я продаю репродукции своих работ в Интернете, а также на торговых и ремесленных выставках.
Категория: Ремесленники и подарки
Dave Bruner Photography
Дэйв Брунер специализируется на живописных пейзажах и фотографии природы.
Категория: Ремесленники и подарки
Фермы Доусон Фейт
Мы небольшой семейный магазин Homestead. Мы производим самодельные соевые свечи, мыло и лосьоны из козьего молока, бальзамы для кожи, бальзамы для губ, средства для ванн и многие другие предметы личной гигиены. У нас есть сезонные фрукты и овощи, а также консервы, джемы/желе, выпечка и старые конфеты. Мы являемся продавцом яиц, прошедшим государственную проверку, а также лицензированным продавцом кормов. Мы предлагаем подарочные корзины и выпечку для праздников и других торжественных случаев. Если это разрешенный предмет «дачная еда», мы стараемся его нести. Мы гордимся тем, что являемся членами Ассоциации фермеров и фермеров Северной Дакоты!
Category: Food & Beverages Artisans & Gifts Personal Care Products Services
Daygoose Turnings and Furniture
Daygoose Turnings and Furniture creates handcrafted and custom-designed wood furniture and one-of-a- точеные миски, доски для колбасных изделий, шкатулки для драгоценностей, вазы и многое другое.
Категория: Ремесленники и подарки
deesdesigns
Добро пожаловать в deesdesigns! Используя различные техники литья акрила и смолы, я создаю подставки, подставки, настенные рисунки и украшения. Дизайн варьируется от абстрактных до живописных пейзажей.
Категория: Ремесленники и подарки
Designs by Krista Marie
Designs by Krista Marie создает прекрасные, уникальные и художественные украшения ручной работы с использованием лучших материалов: хрусталя, стекла, фарфора, дерева, ракушек и полудрагоценных камней. . Принимаются индивидуальные заказы на свадьбы и другие торжественные мероприятия. Designs by Krista Marie также может отремонтировать и изменить ваши украшения.
Категория: Ремесленные изделия и подарки
Designs by Leah
Художник, абстрактные картины акрилом на холсте и дереве.
Категория: Ремесленники и подарки
Компания Desperado Beard Co.
/Lady Desperado
Мы начали с изготовления собственного бальзама для бороды с пчелиным воском, чтобы придать дополнительную фиксацию даже самым непослушным бородам. Мы быстро расширились до масел для бороды и средств для мытья бороды. Во всех наших продуктах по уходу за бородой используются натуральные ингредиенты, такие как пчелиный воск и эфирные масла. Мы также делаем бальзам для рук и ног для сухих, обветренных рук и ног с использованием пчелиного воска, меда, подсолнечного масла, а также других натуральных ингредиентов и эфирных масел. Мы изготавливаем свечи ручной работы из 100% соевого воска с потрескивающими деревянными фитилями в жестяных банках. Мы производим ювелирные изделия в форме пули, включая ожерелья, серьги, магниты, зажимы для денег, канцелярские кнопки и многое другое
Категория: Ремесленники и подарки Средства личной гигиены
Discovery Express Kids, LLC
Discovery Express Kids предлагает учебные материалы для практического обучения естественным наукам и математике.
Наши занятия по STEM и веселые образовательные игры подходят как дома, так и в классе. Свяжитесь с нами или посетите наш веб-сайт для получения информации о продукте.
Категория: Ремесленники и подарки Издательства
Divine Treasures
Divine Treasures производит товары, которые способствуют расслаблению и веселью в жизни наших клиентов. Я делаю спа-продукты, которые делают замечательные подарки , в том числе уникальные соевые свечи из теста, баночные свечи, свечи для заявлений, а также плавящиеся восковые спреи, спреи для комнаты и белья, автомобильные диффузоры и диффузоры Reed, чтобы ваш дом приятно пах. Я также делаю пароварки для душа, угощения для ванны, твердые лосьоны для приятного расслабленного ощущения в вашей повседневной жизни. Теперь мы добавили в наш спа, например, коллекционные стаканы для сублимации, которые забавны с чашками-непроливайками из нержавеющей стали для взрослых и детей и стеклянными банками для тех, кто любит брать напитки с собой или держать их горячими или холодными.
Я являюсь партнером небольшого бутика в Дикинсоне, Северная Дакота, и у меня есть несколько торговых точек по всему штату, где продаются мои товары.
Категория: Ремесленники и подарки
Donna May Designs
Donna May Designs — это домашний семейный бизнес. Она изготавливает оригинальные модные украшения, шарфы, накидки, жилеты и эксклюзивные ожерелья из стрейча, защищенные авторским правом. Она старается оставаться уникальной, поэтому ее вещи не найти в обычном магазине. Ее слоган «Сделано из моего сердца и рук для вас».
Категория: Ремесленники и подарки Производители Услуги
– E –
Бутик ela
Семейные реликвии ручной работы и мамино счастье – Специализируемся на вязаных и вязаных изделиях; создание ремесел, а также перепрофилирование, повторное использование и воссоздание.
Категория: Ремесленники и подарки
Зачарованное шоссе — лук без слез
Зачарованное шоссе включает в себя семь крупнейших в мире металлических скульптур, созданных художником Гэри Греффом.
Совершите поездку и насладитесь самой большой в мире семейкой олова, Тедди снова едет, Фазаны в прериях, Кузнечики в поле, Оленьи переправы, Гуси в полете и Мечта рыбака.
Tearless Onions — компания, которая разработала продукт из нарезанного кубиками свежего лука, который сохраняет свой вкус, цвет и текстуру в течение трех месяцев при хранении в холодильнике. В линейку продуктов входят: Оригинал – нарезанный кубиками лук, свежий и хрустящий; приправленный – нарезанная кубиками луковица с чесноком и зеленым перцем для аромата; hot ‘n spicy – нарезанный кубиками лук с красным перцем и халапеньо; и Cajun – нарезанный кубиками лук с приправой Cajun.
Категория: Еда и напитки Ремесленники и подарки
Очарование подарков ND
Очарование подарков ND создает украшения ручной работы из рыболовных снастей. Создаю уникальные украшения из блесен и воблеров. Я также создаю уникальные подарки ручной работы.
Категория: Ремесленники и подарки
Манящие ароматы и подарки
Манящие ароматы и подарки производит свечи из 100% соевого воска в очень уникальных и декоративных стеклянных контейнерах. У нас также есть разноцветные афганские платья. Мы также делаем деревянные подарочные коробки, наполненные нашим лосьоном, гелем для душа и бальзамом для губ. Некоторые популярные ароматы, которые мы предлагаем: арония, степная роза, сирень и черника.
Категория: АРТАНСКИЕ ИСПОЛЬЗОВАНИЯ И ДИРАТЫ Продукты личной помощи
ERIN JULL COMPANY
Компания . Everything Wreaths Everything Wreaths предлагает венки ручной работы из декоративной сетки для любого случая, включая праздники, спорт, хобби и многое другое.
Категория: Ремесленники и подарки
– F –
Family Roots Farm
Family Roots Farm — это небольшая семейная ферма, твердо убежденная в том, что хорошая еда начинается с того, как она выращена.
Использование реликвий растений, обработка продуктов питания местными ингредиентами и уважительное отношение к нашим животным — вот некоторые из простых способов, с помощью которых мы поддерживаем связь с нашими семейными корнями.
Расположенный недалеко от Кристин, Северная Дакота, мы предлагаем множество местных продуктов, таких как продукты, мед, варенье, маринованные продукты, яйца, курица, баранина и свинина.
Категория: Еда и напитки Ремесленники и подарки
Far Out Nuts
Far Out Nuts производит жареные орехи по-баварски с 1999 года. , семена подсолнечника, кешью и орехи пекан. Наши орехи идеально приготовлены с корицей, сахаром и ванилью и подаются свежими и горячими. Они станут отличным подарком для семьи, друзей, сотрудников и клиентов. Но просто хочу предупредить вас… наши орехи могут вызывать привыкание!
Посетите наш веб-сайт www.faroutnuts.com.
Категория: Еда и напитки Ремесленные изделия и подарки
Одежда Fargo
Мы специализируемся на трафаретной печати одежды, лазерной гравировке и персонализированных подарках.
У нас есть много товаров для частных лиц, предприятий и школ. От футболок для воссоединения семьи и школьных команд до чашек с гравировкой и разделочных досок ручной работы — мы — отличный выбор для ваших личных или корпоративных подарков.
Категория: Ремесленники и подарки Услуги
Домашние лакомства для собак от Farmer Tillie
Farmer Tillie производит свежие, полезные домашние лакомства для собак из натуральных ингредиентов и без консервантов. Собачка протестирована и одобрена. К дополнительным товарам относятся изделия из пряжи альпака. Пряжа альпака сделана из ее собственных альпак.
Категория: Ремесленные изделия и подарки
Фингал Район № 54
Фингал Район №. 54 — это компания по производству одежды с индивидуальным дизайном, расположенная в здании первой местной школы, построенной в 1892 году. Основными ценностями компании являются развитие родного города.
Имея многоцелевое назначение, это пространство розничного бутика, заполненное специально разработанными, эксклюзивными и ремесленными продуктами; пространство для собраний, представляющее собой небольшую уникальную и уединенную зону для развлечений; и рабочее пространство для дизайна, используемое для создания и производства продуктов, продаваемых малым предприятиям для рекламных акций и перепродажи.
Категория: Ремесленники и подарки
Friesz Family Farm LLC
Шерстяные изделия ручной работы из моей собственной шерсти от стада зарегистрированных овец Corriedale, Border Leicester и Lincoln на моей ферме. Специализируется на изготовлении шариков для сушки из 100% шерсти, шерстяного валяного мыла, шерстяных настенных ковров и шерстяных ковриков, а также шариков для птичьих гнезд и других шерстяных изделий ручной работы. Мы выращиваем племенное поголовье, доступное для продажи, а также сырое руно. У нас есть лицензия на розничную продажу замороженной свежей баранины собственного производства, палочек для закусок и сосисок/сосисок по-деревенски.
Нашу баранину можно купить на рынке Tellmann’s Market в Нью-Салеме, Северная Дакота, в универсальном магазине Down Home, Бисмарк, Северная Дакота, закуски доступны в магазине Rud’s Mobil в Нью-Салеме, Северная Дакота, и в Market Society в Кавальере, Северная Дакота. обращаться с нашими розничными шерстяными изделиями и закусками.
Категория: Food & Beverages Artisans & Gifts
– G –
Gardendwelers LLC
Formellers Farm & Ranch находится в Souris North Dakota, где мы поднимаем свежее время и свободно. выращенных цыплят и ягнят, травяные аптечные средства по уходу за кожей и сезонные срезанные цветы. Мы используем методы регенеративного земледелия для выращивания и производства нашей продукции, такие как ротационный выпас, покровные культуры и компостирование, чтобы естественным образом оздоровить нашу почву. Когда наша почва здорова, это отражается на наших растениях и животных. Все наши продукты Apothecary изготавливаются вручную и содержат один или несколько ингредиентов, выращенных на нашей ферме, в том числе козью пахту и многие растительные вещества.
Наши сублимированные кулинарные травы сохраняют свой свежий вкус и зеленый цвет в стабильной форме для использования круглый год. Свяжитесь с нами, чтобы узнать о наличии на данный момент или чтобы вас поставили в список ожидания на нашу курицу и баранину, выращенную на пастбищах. Мы хотим поделиться нашими вкусными продуктами местного производства и натуральными средствами по уходу за кожей от нашей семьи к вашей.
Apryl Mawby
Gardendwellers Farm & Ranch
Категория: Food & Beverages Ремесленцы и подарки Продукты личного ухода
Givinty Press Press 9000
Givinte. отмеченной наградами художницы Эллен Джин Дидерих. Дидерих, автор и иллюстратор отмеченной премией Бена Франклина книги «Где Петуния?» и «Прогрессивная живопись», создала свою третью книгу «Дар Самсона». Ее столь любимые образы также доступны для лицензирования. Любовь Эллен к земле, ферме и городской жизни проявляется в ее региональных картинах.
Категория: Ремесленники и подарки
Шикарная стеклянная бутылка
Шикарная стеклянная бутылка вручную вырезает и полирует стеклянные бутылки, давая им вторую жизнь, превращая их в уникальные подарки, предметы интерьера и ароматические свечи на 100 % сои на заказ. Glass Bottle Chic имеет в наличии несколько бутылок, но нам также нравится резать специальные бутылки для клиентов, чтобы превратить их из пылесборников в единственный в своем роде предмет, достойный демонстрации, использования или переплавки. Благодаря многоэтапному процессу шлифовки и полировки каждая кромка стекла Glass Bottle Chic имеет гладкую поверхность, напоминающую стакан для питья. Имея на складе более 100 чистых, не содержащих фталатов ароматических масел, мы также предлагаем людям возможность разработать свой собственный «фирменный» аромат. “Фирменные” ароматы можно использовать в бутылках нестандартной формы для оформления центральных украшений на свадьбах, днях рождения и т.
д. Мы также наливаем “фирменные” ароматы на заказ в любой безопасный для свечей сосуд, который вы пожелаете.
Категория: Ремесленники и подарки Производители Услуги
Проблеск прерий
Проблеск прерий расположен в прериях центральной части Северной Дакоты. Мы бизнес матери и дочери. Ванда влюбилась в приготовление мыла/лосьона/масла для тела/молочных ванн из козьего молока с использованием свежего козьего молока с нашей фермы. Мы также специализируемся на бомбочках для ванн и скрабах для тела. Мы также выращиваем и продаем овощи/яйца/говядину/выпечку на фермерском рынке BisMarket в Бисмарке. Также мы предлагаем овощные и зимние ДПН.
Категория: Ремесленники и подарки Средства личной гигиены
Закусочная для собак Gourmet
Закусочная для собак Gourmet Doggie Diner — это специализированный магазин для домашних животных, в котором продаются домашние блюда и полезные домашние лакомства.
Мы делаем уникальные угощения на день рождения. Наряду с нашими продуктами собственного производства, мы предлагаем более качественные корма для собак и кошек. Вы также найдете полностью натуральные продукты для собак и кошек, в том числе полезные добавки для удовлетворения потребностей вашего питомца.
Философия нашего магазина заключается в комплексном подходе к благополучию вашего питомца. Наша цель – предоставить вам лучшие продукты, лучшую информацию и лучший сервис.
Категория: Ремесленники и подарки Производители
Дизайны гитарных медиаторов
Дизайны гитарных медиаторов — это семейный бизнес, который создает серьги ручной работы, ожерелья, брелки, а теперь и подвески для бокалов с использованием медиаторов, бусин и подвесок. Вы можете выбрать свой собственный стиль и цвет из нашего широкого ассортимента бисера.
Категория: Ремесленники и подарки
– H –
Исцеление руками
Handled Healing — это местный центр комплексного лечения и оздоровления.
Мы специализируемся на натуральных и гомеопатических средствах, которые лечат и успокаивают как тело, так и душу. Ассортимент нашей продукции включает в себя как натуральные, приготовленные вручную чаи и эликсиры, так и полезные для тела мыла, бальзамы и лосьоны. «Мы здесь, чтобы помочь сохранить вашу жизнь в порядке» означает больше, чем вы думаете. Мы делаем то, что делаем для вас! Мы больше, чем просто магазин, мы семья, которая заботится обо всех наших семьях.
Категория: Ремесленники и подарки Средства личной гигиены Услуги
Happy Magnets
Happy Magnets создает самодельные глиняные магниты и серьги. Более 200 дизайнов еды, спорта, праздников, животных и многого другого. Все сделано с улыбкой!
Категория: Ремесленники и подарки
Счастливые елочные творения
Я создаю уникальные изделия из дерева, используя местную и экзотическую древесину со всего мира, с помощью процесса, известного как токарная обработка древесины.
Это включает в себя резку больших деревянных досок на более мелкие части, называемые сегментами. Эти сегменты затем склеиваются в кольца или более крупные деревянные блоки, чтобы создать нужную форму, цвет и узор. Наконец, эта грубая деталь устанавливается на токарный станок по дереву и придается окончательная форма.
Категория: Ремесленники и подарки
Harlow Grace Designs
Harlow Grace Designs занимается ремесленным производством соевых свечей, ювелирных изделий в смешанной технике, выбеленной одежды, а также сезонного декора в винтажном стиле.
Категория: Ремесленники и подарки
Haute Hyde
Haute Hyde “Роскошные простые изделия из кожи”. Вся продукция Haute Hyde разработана и произведена вручную в Фарго, Северная Дакота, с использованием только лучшей кожи и фурнитуры американского производства. Haute Hyde создает уникальные и роскошно изысканные сумки, ремни и аксессуары , которые действительно выдержат испытание временем.
Категория: Ремесленники и подарки
HayThere Designs
HayThere Designs включает карточки для заметок с фотографиями полевых цветов Северной Дакоты, дикой природы и пейзажей прерий. Карточки пустые внутри, что делает их идеальными для дней рождения, праздников, приглашений, поздравлений, благодарностей или отправки заметок семье и друзьям.
Категория: Ремесленники и подарки
Healthy Cricket / In the Potter’s Hand Inc. / Dakota Free Products
Чистота, которую заметит ваша кожа, и всегда без глютена. Dakota Free, Без глютена Savonnerie и Millennial Essentials — это три линии специальных средств по уходу за кожей, ваннами, волосами, детскими и спа-продуктами, предназначенными для людей, которые хотят использовать более здоровые продукты, а также для людей с сухой или чувствительной кожей, страдающих аллергией, аутизмом, химическими веществами. повышенной чувствительности или целиакии.
Предлагая полное раскрытие всех ингредиентов и статуса аллергена. Продукты не содержат парабенов, фталатов, отдушек, латекса, казеина, глютена, арахиса и красителей или красителей. Натуральный, вегетарианский и биоразлагаемый. Посетите нас в Интернете по адресу HealthyCricket.com DakotaFree.com или GFSoap.com
Категория: Ремесленники и подарки Средства личной гигиены Производители
Хизер Эрлз
Хизер Эрлз замужем за отставным офицером спецназа, четверо детей живут на ферме. Она признанный автор, домохозяйка и сторонник здорового образа жизни. Она публикует еженедельный блог и подкаст (Herb ‘N Wisdom™) и пишет для местной газеты, чтобы помогать и вдохновлять других.
Категория: Ремесленники и подарки Издатели
Heavenly Scents, LLC
Основанная в 2001 году компания Heavenly Scents, Inc. предлагает залитые вручную ароматизированные свечи в контейнерах из соевого воска, расплавы и соевые защелки в чистом виде.
Heavenly Scents — это оригинальная компания по производству освежителей воздуха Smelly Jelly из Северной Дакоты. Оцените их уникальные автомобильные ароматы и тростниковые диффузоры.
Категория: Ремесленники и подарки
Привет, Люси
Hello Lucy специализируется на подставках и шитых или украшенных изделиях (фартуки, шарфы, повязки на голову), а также на многих рекламных товарах. На многих подставках есть изображения или карты, и это может быть ваша собственная фотография! Большинство можно настроить. Hello Lucy также имеет лицензии для следующих колледжей и университетов: NDSU, UND, MSU, MSUM и Concordia-Moorhead.
Категория: Ремесленники и подарки
Горшечник Холли
Горшечник Холли производит керамогранит из нескольких видов глазури, который обжигают в газовой печи. Гончарные изделия бросают на колесо и/или изготавливают вручную. Функциональные предметы безопасны для пищевых продуктов, посудомоечной машины, духовки и микроволновой печи.
Категория: Ремесленники и подарки
Home Spun Chick
HomeSpun Chick изготавливает средства по уходу за кожей из козьего молока с использованием молока собственного стада коз. У нас есть широкий выбор мыла, лосьонов, бальзамов для губ и сахарных скрабов на выбор. Наши продукты производятся небольшими партиями в нашей студии с использованием только масел и ингредиентов самого высокого качества. У нас есть ароматизированные и неароматизированные батончики с полезными эфирными маслами и/или изысканными ароматами. Некоторые батончики также содержат нежные натуральные эксфолианты, такие как овсянка, измельченная люфа, измельченные орехи и различные виды семян. Индивидуальные и оптовые заказы приветствуются. Также в наличии подарочные корзины.
Категория: Ремесленные товары и подарки Средства личной гигиены
Украшение и подарки для усадьбы
Мы являемся продавцом-бутиком, специализирующимся на изготовленных вручную предметах современного фермерского дома для уникального декора и подарков!
Категория: Ремесленники и подарки
Деревообработка в родном городе
Магазин деревообработки на заказ
Категория: Ремесленники и подарки HOOFAR
0003
Я хочу представить вам HOOFDA .
Если вы из Северной Дакоты, Южной Дакоты или Миннесоты, вы, вероятно, уже знаете, кто мы.
HOOFDA — компания по производству одежды в нашем сердце.
Когда мы представляем HOOFDA , мы хотим сказать, что:
- HOOFDA Одежда удобна и красива для любого тела.
- HOOFDA Одежда с нарисованными от руки произведениями искусства, которые вы носите.
- Каждый уникальный художественный дизайн, нарисованный вручную HOOFDA , выражает нашу любовь к животным и уважение к природе.
- Вы можете одеваться HOOFDA UP или одеваться вниз, носить его на работу и во время работы из дома.
- И, конечно же, вы можете носить HOOFDA , когда вы в пути, тренируетесь или просто отдыхаете на озере или на заднем дворе.
- HOOFDA Одежда создана для вашего активного образа жизни.
Теперь я упомянул, что каждый дизайн HOOFDA является нарисованным от руки уникальным произведением искусства, которое вы носите и которое отражает нашу любовь к HOOFED животным
9000.
Я должен прояснить одну вещь. Мы любим всех животных , Но HOOFDA искусство фокусируется на копытных животных и нашем понимании природы.Большая часть нашего процесса от начала до конца готово к началу продаж производство продукта занимает в среднем 8 недель. Мы не ищем ярлыков и обращаем внимание на детали, которые делают HOOFDA бренд, который люди хотят носить и дальше.
Я должен упомянуть еще кое-что, потому что я думаю, что это важно. HOOFDA — компания, на 100 % принадлежащая женщинам. Мы являемся частью нашего местного сообщества Fargo, Северная Дакота, и мы инвестируем в наше местное сообщество, привлекая местные малые предприятия, помогающие нам с трафаретной печатью на нашей одежде.
Если вы хотите узнать больше о HOOFDA или приобрести одежду HOOFDA для себя или близкого человека, посетите HOOFDAWEAR.COM
Не стесняйтесь обращаться ко мне через мессенджер FB, если это лучше для вас.
Буду рад ответить на любые вопросы и выслушать ваши отзывы.
Еще раз спасибо за то, что заглянули и за вашу поддержку на протяжении многих лет.
Категория: Ремесленники и подарки
Howard Walth Cutting and Engraving
Howard Walth Cutting & Engraving специализируется на резке деревянных безделушек, сувениров и реликвий, а также на гравировке стекла, дерева и металла.
Категория: Ремесленники и подарки
Humble Stained Glass & Crafts
Humble Stained Glass and Crafts специализируется на витражах-ловцах солнца и небольших витражных панелях. Женева также производит предметы для домашнего декора, такие как куклы из катушек и полочек, сшитые вручную настенные ковры, колокольчики из винных бутылок и украшения для всех праздников и сезонов.
Категория: Ремесленники и подарки
– I –
Ivy’s Rose
Ivy’s Rose делает цветы из старинных и переработанных материалов в ободки, заколки, цветочные венки и многое другое для новорожденных и взрослых.
Каждое творение уникально и изготовлено мамой вручную в Бисмарке, Северная Дакота.
Категория: Ремесленники и подарки
– J –
J & J Crafts
Я делаю детские одеяла, салфетки для отрыжки, кукольные одеяла и подгузники, одеяла для взрослых, стеганые изделия, утяжеленные одеяла и другие шитые поделки. . Я принимаю специальные запросы на специальные ткани или размеры в зависимости от желаний и потребностей клиента.
Категория: Ремесленники и подарки
Jake’s Bakes
Jake’s Bakes — это семейная мини-пекарня, специализирующаяся на хлебе на закваске, спредах и многом другом! Их хлеб уникален, потому что он фокусируется на основах того, из чего всегда готовили хлеб: муке, воде, соли. Джейк и его жена Эрин любят говорить, что они берут традиционный продукт и добавляют забавные вкусы нового века.
Категория: Еда и напитки Ремесленники и подарки
James Hill
Прихватки, детские книжки, прихватки, подушки, настенные ковры, подставки и детские товары.
Категория: Ремесленники и подарки
Jill Edinger Photography
Делимся красотой Северной Дакоты и других регионов с помощью фотографии. С фотографиями дикой природы и пейзажей в печатных фотографиях, нестандартных рамах, гравюрах на металле и холстах, а также в календарях и поздравительных открытках.
Категория: Artisans & Gifts
Jimmy Knots – Barnes and Gryder LLP
Мои крендели с приправами медленно коптит с использованием смеси древесины гикори, яблони и клена.
Категория: Еда и напитки Ремесленники и подарки
J-M-B Band
JMB Band Музыка группы состоит из прослушивания и танцевального старомодного, старого стандарта – кантри-вестерна, вальса и польки. Их компакт-диски: «Еще раз в Северной Дакоте», «Как в старые времена в Северной Дакоте», «Хорошие времена в Северной Дакоте», «Сумерки в прериях Северной Дакоты», «Счастливые дни в Северной Дакоте», «Счастливые дни».
Каникулы из Северной Дакоты» и «Джаммин в Северной Дакоте». У Джерри есть шесть новых компакт-дисков, которые записал он один. Это «Развлекательные поколения», «Фавориты Джерри», «Танцы по всей Америке», «Dakota Praise», «Магия старых времен Северной Дакоты», «Это время Рождества» и «Эхо хороших времен». Чтобы заказать компакт-диски или запланировать бронирование, свяжитесь с нами. : Джерри Шлаг, 701–839.-2893 или пишите по электронной почте аккордеонман@srt.com.
Категория: Ремесленники и подарки
Мыло JML
Компания JML Soaps занимается изготовлением мыла в домашних условиях из местных ингредиентов. Мы производим мыло, свечи, лосьон, мыло для бритья и мыло для домашних животных и постоянно расширяем ассортимент на другие продукты на основе козьего молока. Мы балуемся другими предметами домашнего декора, сделанными из деревенского антиквариата, найденного на нашей вековой ферме.
Категория: Ремесленные изделия и подарки Средства личной гигиены
Js Custom Designs
Js Custom Designs создает качественные ювелирные изделия ручной работы по доступным ценам.
Специализируясь на индивидуальном дизайне, большинство изделий изготавливается из кристаллов премиум-класса, драгоценных камней. Js Custom Designs также изменит дизайн ваших устаревших изделий, придав им более современный вид. Посмотрите мои гипоаллергенные украшения, включая застежку, которая не сделана из металла, а выглядит и ощущается как металл. Семейные ожерелья «Семейное древо» и «Круг жизни», персонализированные камнями вашего рождения. Недавно добавленные кожаные изделия, уникальные эмалированные изделия, изготовленные вручную, браслеты для ароматерапии. Большинство моих работ уникальны в своем роде. Мне нравится, что все мои произведения рассказывают историю. посетите мой веб-сайт в Facebook: www.facebook.com/janescustomdesigns
Категория: ремесленников и подарков
– k –
Kat’s Nops
Soft Sole Baby Shoes
Особенности:
- 333334434.
- Индивидуальная посадка благодаря регулируемой резинке, что помогает держать носки на месте
- Мягкая подошва позволяет двигаться и расти
- Готов к подарку и упакован в подарочный пакет из органзы
- Подходит для веганов
- Сделано в ND
Книги Pickles The Dog основаны на жизни настоящей собаки по кличке Пиклз.
Это была собака, спасенная от наводнения. Ее несколько раз усыновляли и возвращали в приют, и дела у нее шли не очень хорошо. Моя свекровь решила усыновить Пиклз и помогла ей научиться и приспособиться к новому дому. Я так ей благодарна, потому что Пиклз такая милая девушка, которая рада со всеми познакомиться!
Категория: Ремесленники и подарки Издатели Производители
KD Limited
KD Limited высекает рисунки из песка на большинстве типов стекла, зеркал, хрусталя, посуды и т. д. для любого применения. Они могут использовать ваш логотип или предметы индивидуального дизайна для наград, свадеб, мемориалов, подарков, сборов средств, встреч и т. д., от бокалов для шампанского до более крупных предметов для дома и бизнеса, включая зеркала, перегородки, шкафы, кладовые и входные двери.
Категория: Ремесленники и подарки
Kidderbug Kreations LLC
Kidderbug Kreations — это больше, чем просто подарок, это подарить своим близким момент, который они не забудут.
Речь идет о значимом общении с семьей и друзьями и выражении вашей любви с помощью продуманных подарков. Вот почему мы специализируемся на уникальных сшитых и вышитых подарках ручной работы, которые не похожи ни на что, что вы найдете в магазине.
Ищете ли вы персонализированные подарки для детей, мишек на память, сделанных из одежды любимого человека, или идеальный подарок для кого-то особенного, Kidderbug Kreations поможет вам преподнести больше, чем просто подарок. Мы помогаем вам праздновать воспоминания в каждый момент.
Категория: Ремесленники и подарки
Творческая фотография Кингс-Корт
Творческая фотография Кингс-Корт и Гордон Корт получили множество наград за фотографическое мастерство. Совсем недавно Гордон стал фотографом года в номинации «Путешествующий трофей Чарльза Хейлмана 2021» от фотоклуба Fargo Moorhead. За последние 11 лет Гордон дважды был президентом FMCC и неоднократно получал признание Совета North Central Camera Club за изображения, представленные на конкурсах.
Kings Court Creative Photography предоставляет фотографические услуги практически для всех жанров фотографии, но Гордон специализируется на фотографии для пожилых людей, фотосъемке в голову, фотографии недвижимости и архитектуры, фотографии самолетов и авиации, фотографии автомобилей, пейзажей, дикой природы и натюрмортов, а Гордон также преподает фотографию. на многих разных площадках. Гордон — эксперт в освещении, композиции и использовании всего этого для создания отличных фотографий. Он также превосходно владеет Adobe Lightroom и понимает Adobe Photoshop. Отпечатки для многих из перечисленных жанров фотографии можно приобрести на веб-сайте, но если вы не видите то, что вам нужно, свяжитесь с нами, и я просмотрю свою библиотеку из почти 100 000 фотографий, чтобы найти что-то для вас. Если у меня его нет, я сделаю для вас индивидуальную съемку и получу его.
Категория: Ремесленники и подарки Услуги
KLG Designs
KLG Designs создает уникальные, единственные в своем роде металлические украшения.
Листы металла вырезаются, текстурируются и штампуются вручную для создания личных и значимых изделий. Используемые металлы – стерлинговое серебро, серебро, медь, латунь и бронза.
Категория: Ремесленники и подарки
Узловатые поводья
Узловатые поводья — это бизнес, который разрабатывает и производит изделия из паракорда, а теперь и изделия из других материалов. Паракорд — очень прочный материал, который настолько же универсален, насколько и красочен. Все предметы сплетены вручную и включают в себя: поводья, недоуздки, ошейники, поводки и браслеты. Продукция Knotty Reins теперь также включает в себя интерактивные игрушки для собак, виниловые наклейки, декор на тему домашних животных и футболки. Постоянно добавляются новые типы предметов. Индивидуальные заказы и запросы приветствуются.
Категория: Ремесленники и подарки
Krazy Nutz
Krazy Nutz — это копченый/приправленный миндаль, упакованный в контейнеры по 4,5 унции.
На самом деле они копченые из гикори, а не жидкого копчения. У нас есть два вкуса: наш оригинальный, который имеет чесночный вкус, и вкус бекона.
Категория: Еда и напитки Ремесленники и подарки
Kristy’s Creations
Kristy’s Creations производит домашнее мыло, свечи, бомбочки для ванн с 2018 года.
Категория: Ремесленники и подарки Средства личной гигиены
Kyle’s Kreations
Я делаю вывески из вырезанных номерных знаков.
Категория: Изделия ручной работы и подарки
– L –
Lady Brambleton/Brambleton
Lady Brambleton специализируется на изысканных, прочных украшениях из бисера и драгоценных металлов, выполненных из проволоки и плетеной проволоки, для повседневного ношения, свадеб или другие особые случаи; расшитые бисером шарфы с подвернутыми вручную краями; закладки из бисера, которые бережно относятся к заветным книжным корешкам; кружева и рукоделие ручной работы, включая вязание спицами, крючком, фриволите, бразильскую вышивку, кумихимо, ручное стегание, коклюшечное кружево (книппла) и игольное кружево; а также сумки и броши с использованием перепрофилированных мужских галстуков.
Сумки на память и булавки для пальто можно сделать из галстуков, которые носил любимый член семьи, или в память о каком-либо знаменательном событии. Леди Брамблтон также ремонтирует старинные изделия из бисера и многие виды рукоделия и кружева, чтобы гарантировать, что заветные семейные реликвии будут продолжать использоваться и радоваться. Индивидуальные заказы приветствуются.
Категория: Ремесленники и подарки
Пекарня Lib’s Sweet-o-Keto Bakery & More
Расположена в Дикинсоне, Северная Дакота. бесплатные подписчики. Я могу продавать только напрямую вам, так как это домашний бизнес. Все продажи будут осуществляться в соответствии с рекомендациями ND для домашних пекарей. Выпечка с миндальной, кокосовой, арахисовой мукой, подсластителями на основе эритрита, сахарами марки swerve, стевией, органическими, если они доступны, какао, специями, яйцами, молочными продуктами, коллагенами, волокнами, а некоторые из наших продуктов могут содержать арахис или другие орехи.
Поскольку все продукты выпекаются свежими на заказ, к сожалению, все продажи являются окончательными. Никакие возвраты, возвраты или обмены не допускаются. Правила коттеджа Северной Дакоты не позволяют мне напрямую отправлять посылки через границу штата.
Продукты не содержат глютена, зерна и сахара, если они перечислены, но производятся на домашней кухне, где могут обрабатываться пшеница/глютен, арахис и другие орехи, яйца, соя, молоко/молочные продукты. Из-за ручного производства этих продуктов и многих процедур, используемых на моей домашней кухне, я не могу гарантировать, что продукты не вступят в контакт ни с одним из перечисленных здесь аллергенов, и я не могу нести ответственность за проблемы, связанные с пищевой аллергией.
кексы, пирожные, пончики, кексы, чизкейки, хлеб, мороженое, жирные бомбочки, десерты без выпечки, печенье, батончики, булочки, приправы
Lighthouse Soy Candles
Lighthouse Soy Candles предлагает широкий выбор соевых свечей, а также средств для ванны и тела.
Они предлагают отлитые вручную соевые свечи в контейнерах, колоннах, вотивах и расплавах соевого воска. Их свечи можно заказать в 50-60 ароматах и примерно в 10 различных контейнерах. Их продукты для ванны и тела отлично подходят для всех типов кожи. Lighthouse Soy Candles также предлагает домашние и каталожные выставки, сбор средств и оптовые продажи.
Категория: Ремесленники и подарки Средства личной гигиены Производители Услуги
Li’l This Li’l That
2 Добро пожаловать. Li’l This Li’l That предлагает уникальное разнообразие единственных в своем роде предметов ручной работы.Несмотря на то, что у меня есть инвентарь готовых предметов, я специализируюсь на создании предметов ручной работы специально для вас.
У меня есть сложенные книги, памятники из камней для домашних животных, кирпичные садовые книги, вышитые крестиком закладки, фартуки для винных бутылок и многое другое.
У меня есть страница Li’l This Li’l That на Facebook с фотографиями некоторых из этих предметов.
Я хотел бы создать что-то особенное для вас.
Категория: Ремесленники и подарки
Линдси Ундлин
Линдси Ундлин — писатель из Лансфорда, Северная Дакота. Ее первая книга Stolen была выпущена 22 марта 2022 года издательством W. Brand Publishers в Нэшвилле, штат Теннесси.
Категория: Ремесленные изделия и подарки
Зажженные свечи и украшения
Многоцелевые бутылки из-под ликера, соевые свечи, домашний декор и изделия из проволоки.
Категория: Ремесленники и подарки
Магазин детских товаров Little Jack
Магазин детских товаров Little Jack был основан в 2000 году в связи с возросшим интересом к товарам для детей Jacklyn. Каждая вещь была разработана для ее детей и тщательно протестирована. Лидерами продаж являются оригинальные чехлы для автомобильных сидений Arctic, нагрудники из махровой ткани, куртки и одеяла для купания.
Категория: Ремесленники и подарки
Компания Little Town Soy Candle Co.
Мы предлагаем чистые свечи и восковые расплавы, изготовленные из 100 % соевого воска со Среднего Запада. Все ароматические масла, которые мы используем, являются высококачественными и содержат смеси эфирных масел, которые не разбавлены, не токсичны и не содержат фталатов! Наши фитили изготовлены из хлопка и бумаги, не содержат агрессивных химикатов, цинка, свинца и черной сажи. Мы также предлагаем спрей для белья + номер из натурального гамамелиса. Все производится небольшими партиями в маленьком городке Гладстон, Северная Дакота, также известном как HAPPY ROCK! Изготавливаем свечи на заказ! Свяжитесь с нами для получения дополнительной информации и найдите нас на Facebook. www.facebook.com/littletownsoycandleco. 9 Товары личной гигиены высказывания.
Категория: Ремесленники и подарки
Live4One Enterprise LLC
Докладчик и автор Сью Л.
Гамильтон написала три книги. Она вдохновляет и мотивирует других, рассказывая о том, как Бог повлиял на ее жизнь. Страсть Сью проявляется в ее энергичном стиле речи и разговорной манере письма.
Сью пользуется большим спросом в качестве основного докладчика и для выступлений на женских конференциях, предприятиях и организациях, молодежных мероприятиях и мероприятиях по восстановлению.
Категория: Ремесленники и подарки Издательства Услуги
Lone Tree Декор для дома и сада
3
3
3 Издательства Коллегиальная лицензия. Вывески для коммерческих домов и ферм. Все изделия сделаны вручную и уникальны. Персональное внимание к каждому вашему проекту.
Категория: Ремесленники и подарки Производители
Lyons Enterprises LLC
Lyons Enterprises занимается выращиванием и продажей питомников, изобретением и продажей инновационных ловчих продуктов, а также дизайном и продажей произведений искусства из металла.
Категория: Ремесленники и подарки Производители
– M –
M&S Enterprises
M&S Enterprises являются производителями Северной Дакоты уникальных продуктов, изготовленных из переработанной древесины, коряги, найденной в Северной Дакоте. , березы и переработанная одежда. Продукция включает в себя снеговиков из березы Barkbelly Birch, Санта-Клауса из коряги Северной Дакоты, точеные вручную вазы/миски, доски для колбасных изделий.
Категория: Ремесленники и подарки
Main Street Floral & More, LLP
Main Street Floral — это цветочный магазин, который доставляет цветы округу Пембина на годовщину, день рождения, цветы на каждый день. Мы выполнили работу по организации мероприятий для региональных организаций Red River и JDA, свадьбы и приемы также предоставляются нашим магазином. Раз в месяц мы проводим занятия по флористике, чтобы поделиться опытом и знаниями в области флористики.
Мы также продаем домашнюю помадку с различными вкусами (продается на вес). Помадка оказалась основным продуктом Main Street Floral. Любимые вкусы: шоколад, шоколадный орех, кленовый орех, арахисовое масло, красный бархат и соленый ореховый рулет. Осень приносит приготовление помадки из тыквенного пирога, а Рождество приносит помадку с чизкейком. Праздничные тарелки с помадкой также стали очень популярными. Лето дарит нам сморе, арбузную помадку и щербет. Возможна доставка помадки (в разумных пределах) в жаркие летние месяцы.
Main Street Floral также предлагает широкий выбор подарков для всей семьи, а также сезонные предметы для украшения вашего дома. Недавно мы добавили машину для мягкого мороженого для жарких летних дней.
Категория: Еда и напитки Ремесленные изделия и подарки Услуги
Подарок Mamaws
Вязание крючком ручной работы. Приветствуются специальные заказы. Я люблю вязать крючком мягкие игрушки, шапки, полотенца, шарфы, перчатки и готова попробовать что угодно.
См. мою страницу в Facebook: facebook.com/mamawsgift
Категория: Ремесленники и подарки
Marney’s Sonshine & Sweet Pea
Marney’s Sonshine & Sweet Pea разрабатывает старинные венки с использованием старых, новых и бывших в употреблении старинных украшений; бумажные цветы с использованием переработанной бумажной продукции; и букеты из пуговиц с использованием новых, бывших в употреблении, старинных пуговиц в старых использованных бутылках и других емкостях. Превращение мусора в сокровища из выброшенных домашних вещей.
Продукт единственный в своем роде.
Категория: Ремесленные изделия и подарки
Massage Alchemy Botanicals / Turkey Road Farm Products
Наша линия Massage Alchemy Botanicals включает травяные масла для массажа/тела, масла и лосьоны, а также многие другие продукты для здоровья и хорошего самочувствия, включая мази, бальзамы и дорожное мыло/дезинфицирующие средства.
Если мы выращиваем не на месте (на нашей собственной земле пестициды/гербициды не используются уже почти 20 лет), мы либо включаем только “сертифицированные органические” ингредиенты, либо кормовые растения из надежных местных источников.
Наша линейка продуктов для дорожной фермы Турции предназначена для производства лучших доступных желе, сиропов и ароматизаторов. Наши желе и сиропы изготавливаются из фруктов и ягод, выращенных на нашей земле или купленных/собранных на месте, и мы используем мед только местного производства, чтобы подсластить все наши съедобные продукты. Наши небольшие партии ручной работы на обеих линиях гарантируют нашим клиентам получение наилучшей продукции, которую мы можем поставить.
Категория: Еда и напитки Ремесленники и подарки Средства личной гигиены
Создатели воспоминаний
Создатели воспоминаний любят фотосъемку старых времен, и мы знаем, что мы знаем, что старый опыт фотографии и подарки дает нам тот старый опыт фотографии и подарков.
Мы печатаем фотографии прямо на месте и оформляем их для вас, пока вы ждете. Мы также специализируемся на фотографии с алфавитом, футболках, толстовках и других подарках ручной работы.
Рекомендуются встречи.
Добро пожаловать, пока доступно.
Большим группам настоятельно рекомендуется записываться на прием.
Приложение можно сделать, позвонив по телефону 701-471-8986
Обычные настройки
Выберите из нескольких настроек и множества различных комбинаций костюмов. Мой любимый бар в деревенском стиле! На одевание и съемку уходит 20-30 минут. Затем просмотрите все фотографии и выберите то, что вы хотели бы забрать домой на месте, так как мы печатаем все фотографии размером до 8×10. Назначение не требуется. Прогулки приветствуются. Если у вас воссоединение семьи или собрание, мы можем снимать группы до 50+ человек.
Позвоните по специальному групповому тарифу.
Семейные портреты
У нас есть все оборудование, так почему бы не делать обычные семейные портреты.
Даже предложит вам чертовски выгодную сделку, если вы хотите сделать комбинацию старой фотографии и семейной фотографии. Идеальная идея для рождественской открытки!
Пользовательские настройки
Изысканная, интимная и художественная фотография
сеанса. Каждый сеанс длится около часа. Настройка происходит в отдельной комнате только с вами и одним из наших опытных фотографов. Отлично для
Юбилеи, дни рождения, День святого Валентина и т.д.
Свяжитесь с нами для получения дополнительной информации. Иногда лучшие снимки получаются, когда никто не знает, что вы их смотрите. Какой фантастический способ запечатлеть все эти воспоминания
Категория: Ремесленники и подарки
ВОЛШЕБНЫЕ КАНИКУЛЫ MERLYN’S ALL SEASON HOLIDAYS
Я изготавливаю на заказ настоящие украшения из рогов, валентинки, пасхальные, праздничные и рождественские венки, украшения, ловцы снов, Гномы, Малыш Йода, Черепахи (из пряжи) и Красавица и Чудовище.
Начиная с 2022 года я буду предлагать домашнюю выпечку, десерты, батончики мюсли и конфеты.
Категория: Food & Beverages Artisans & Gifts Издатели Сервисы
Mighty Missour Coffee Company, Кофейная Кофейная Компания, Кофейная Кофейная Компания, Кофейная Кофейная Компания, Кофейная Кофейная Компания, Кофейная Кофейная Компания, Кофейная Кофейная Компания, Кофейная Кофейная Компания, Кофейная Кофейная Компания, Кофейная Кофейная Компания, Кофейная Кофейная Компания, Кофейная Кофейная Компания, Кофейная Кофейная Компания, Кофейная Кофейная Компания, Кофейная Кофейс Кофе. , офисы и многое другое.
Mighty Missouri Coffee производит невероятный кофе и культивирует положительный, жизнеутверждающий опыт клиентов, который подпитывает ваши невероятные приключения. Найдите Майти Мо, где продается кофе!
Категория: Еда и напитки Ремесленники и подарки Производители Услуги
Майк Хэнсон Фотография
Майк Хэнсон фотографирует дикую природу северных равнин и великие пейзажи.
Он находит холмистую местность, бесплодные земли и дикую природу, населяющую равнины, своими любимыми сюжетами.
Готовые матовые отпечатки и отпечатки на холсте доступны для покупки.
Матовые принты доступны в следующих размерах
Фотография 8×10 дюймов, матовая для рамки 11×14 дюймов
Фотография 11×14 дюймов, матовая для рамки 16×20 дюймов
Отпечатки на холсте в настоящее время доступны в размерах от 8×10 до 40×20 дюймов.
https://www.facebook.com/MikeHansonPhotography/
Категория: Ремесленники и подарки
Рукавицы Молли Мэй и многое другое соответствующая кнопка. Джойс также делает детские фартуки (сова, божья коровка, лиса, шмель, поросенок, корова, енот, собака, кошка и цыпленок. Красивые куклы ручной работы, одетые в наряды и готовые для подарка. Я также делаю множество других швейные проекты, включая небольшие изменения. Предметы памяти, детские одеяла, скатерти и стеганые одеяла.
Категория: Ремесленники и подарки Производители Услуги
Moonlite Crafters
Семейная компания, производящая переработанные свитера, варежки для взрослых и детей, магниты, колпачки, брелки для бутылок и собак, банданы ремешки, булавки и ожерелья, подвесные кухонные полотенца и флисовые одеяла с плетеными краями.
Категория: Ремесленники и подарки
Ипомея
Выпечка и производство шоколада
Категория: Еда и напитки Ремесленники и подарки
Ранчо “Утренняя звезда”
Ранчо “Утренняя звезда” предлагает масло эму Vitality и перья эму для школ, презентацию яичной скорлупы эму, экскурсии по эму. организаций и выступлений. Продукция доступна в розницу и оптом. Предлагает туры с животными на ферме: эму, овцы Katahdin Hair, лошади, пони, ослы, собаки Великих Пиренеев.
Категория: Ремесленники и подарки Средства личной гигиены
В основном вдохновлено!
Я художник, живущий у меня дома. Я рисую пастелью и акрилом, картины из коряг и Дедов Морозов, фигурки из глины и материала, а также делаю украшения. Я теперь добавил домашнее натуральное мыло в свой список многочисленных предметов!
Категория: Ремесленные изделия и подарки
Потогонная мастерская Матери Марии
Тканевые изделия ручной работы, в том числе чехлы для микроволновых печей, подвесные кухонные полотенца, охладители для шеи, банданы для собак, подушки-майки, сумки-майки.
Категория: Ремесленники и подарки
– N –
Nancie’s Ventures
Nancie’s Ventures — это небольшой бизнес, который создает персонализированные предметы для особых подарков друзьям, семье и коллегам. Получите персонализацию многих предметов – все сделано на заказ. У меня есть кружки, стаканы, металлические визитки, стеклянные разделочные доски, брелки, товары для животных, немного одежды и многое другое. Также в мое «Предприятие» входит моя линия алмазной живописи. Я объединил свое искусство, которое сверкает, с моим бизнесом по персонализации, чтобы создать «Предприятия Нэнси».
Категория: Ремесленники и подарки
Календарь национальных праздников
Календарь национальных праздников™ — это авторитетный источник веселых, необычных и уникальных национальных праздников! С момента нашего скромного начала в Национальный день попкорна в 2013 году мы теперь отслеживаем почти 1500 национальных дней, национальных недель и национальных месяцев.
Кроме того, наша исследовательская группа продолжает раскрывать происхождение существующих Национальных дней, а также находить новые, захватывающие дни, которые каждый может отпраздновать. Если вы хотите отпраздновать свой любимый почтальон и шлепанцы, разделить радость от бекона и шоколадного торта или приготовить кукурузу в Национальный день попкорна, будьте в курсе, подписавшись на наши обновления по электронной почте, и следите за нами. на Facebook и Twitter. Не подготовьтесь к Дню «Говорите как пират» или «Отвечайте на телефонные звонки, как Дню эльфа Бадди» — присоединяйтесь к нам, когда мы #CelebrateEveryDay!
Категория: Ремесленники и подарки
ND KiND от Grateful Cratefulls
Добро пожаловать в Grateful Cratefulls, где вы найдете услуги подарков!
Наша миссия состоит в том, чтобы помочь вам создавать подарки, которыми вы гордитесь, а ваши получатели любят их получать! Мы начнем с изготовленного вручную ящика из натурального кедра или сумки из холста (оба изготовлены вручную прямо здесь, в Северной Дакоте!) и наполним их продуманными продуктами и/или угощениями!
От подарков в знак признательности клиентам и сотрудникам до личных подарков на выздоравливание, день рождения, новоселье, новорожденного и многое другое — мы поможем вам создать незабываемый подарок! Мы позаботимся о деталях, от рукописных заметок до доставки, доставки или получения в магазине!
Оригинальные подарки с легкостью!
Мы рады представить нашу новейшую линейку North Dakota KiND от Grateful Cratefulls! Северная Дакота KiND был вдохновлен аутентичной культурой жителей Северной Дакоты.
Мы разработали линейку продуктов для признания и развития KiNDness в Северной Дакоте и за ее пределами! Вы можете узнать больше о North Dakota KiND на сайте www.gratefulcratefulls.com!
Категория: Ремесленники и подарки Услуги
Niess Impressions, Inc.
Niess Impressions, Inc. — коммерческая типография, специализирующаяся на всех аспектах полиграфической промышленности: широкоформатная печать, копии, специальные рекламные материалы, вывески и баннеры, лазерная проверка и непрерывные формы, полноцветная печать, термоперенос, трафаретная печать и вышивка. на одежде, заказные пуговицы, штампы и лазерная гравировка, идеальный переплёт, сублимация красителей.
Категория: Ремесленники и подарки Производители
Nodakian Studios
Nodakian Studios производит керамику с высоким обжигом. Каждая деталь изготовлена вручную, декорирована и изменена вручную.
Предметы варьируются от ложек, трехногих кружек, мисок, сграффито и канистр до красочных подвесных горшков. Каждое изделие рассказывает историю с помощью абстрактной текстуры, рисунков и глазури. Изделия более высокого класса включают в себя настольные кувшины, чайники, бутылки и вазы, изготовленные с использованием одних и тех же техник. Группа работ предназначена для использования и совместного использования не только в особых случаях, но и в повседневных случаях, делающих их особенными. Все предметы можно мыть в посудомоечной машине, использовать в микроволновой печи и безопасно для пищевых продуктов. Для оптовых вопросов и заказа, пожалуйста, посетите www.nodakianstudios.com.
Категория: Ремесленники и подарки
Noelle Grace Designs
Noelle Grace Designs специализируется на создании дерзкой саркастической одежды, чашек и многого другого! Индивидуальные заказы приветствуются.
Категория: Ремесленники и подарки
Северная Дакота Wooly Girls
Северная Дакота Wooly Girls — старейшая действующая шерстяная фабрика в Северной Дакоте.
Wooly Girls создают оригинальные произведения искусства из шерстяного войлока ручной работы из шерсти овец своей семьи. Их дизайн оригинален и сделан из 100-процентной шерсти Северной Дакоты.
Категория: Ремесленники и подарки
North Prairie Photography
Вероника МакГиннити — фотограф с северо-запада Северной Дакоты. Она является автором/фотографом книги «Красота Северной Дакоты», в которую вошли фотографии сельских пейзажей Северной Дакоты, старых зданий, церквей, школ, ферм, дикой природы и некоторые фотографии нефтяных месторождений.
Категория: Ремесленники и подарки
Питание от природы
Питание от природы с гордостью предлагает выращенную на траве и обработанную на траве говядину и баранину, пастбищную свинину, яйца от кур свободного выгула, мед и широкий ассортимент садовой продукции. Их скот гуманно выращивается в естественных условиях без использования ГМО, синтетических гормонов или антибиотиков.
Они считают, что это приводит к более здоровому животному и более приятному обеду для их клиентов. Продукты Nourished by Nature можно приобрести на различных фермерских рынках и через Интернет. Заказы могут быть отправлены прямо к вашей двери. Посетите их веб-сайт для получения более подробной информации по адресу www.nourishedbynature.us.
Категория: Еда и напитки Ремесленники и подарки
– O –
Ope Unlimited
Создание домашнего мыла, лосьонов, бомбочек для ванны и других химических продуктов, чтобы не допустить их попадания в организм наших домов. Мы делаем продукцию под частной торговой маркой для вашего бизнеса. А также товары для себя. Вы увидите нас на выставках поставщиков, фермерских рынках и, надеюсь, в будущем в местных магазинах Pride of Dakota
Категория: Ремесленные изделия и подарки Средства личной гигиены
Барбекю Owens
Барбекю Owens, родина приправы Tatonka Dust & Buffalo Wings! Мы предлагаем вам полную линейку инструментов для барбекю и гриля, а также смеси приправ для колбас.
Категория: Еда и напитки Ремесленники и подарки
– P –
Мастерская пастора Русса
У меня есть небольшая мастерская по дереву, где я делаю миски, ручки, разделочные доски, коробки и разные предметы. открывалки для писем, вспарыватели швов и другие наборы, которые приобретаются и превращают деревянное тело в изделие. Я также делаю некоторые шкафы и предметы мебели.
Категория: Ремесленники и подарки
Pat’s Hats & Jim’s Wares LLC
Pat’ Hats и Jim’s Wares LLC производят специальные вязаные вручную шляпы, шарфы и шапки. Также продаются продукты из конопли.
Категория: Ремесленники и подарки
Выстегивание и вышивание Paulette’s
Выстегивание и вышивание Paulette’s включает в себя домашние лепешки и печенье – как у бабушки. Кроме того, она предлагает самодельные одеяла разных размеров, специализируясь на детских одеялах и дорожках для стола.
Другие товары включают кухонные принадлежности, прихватки, кухонные полотенца, мочалки и многое другое.
Категория: Еда и напитки Ремесленники и подарки
Кофеварка Perk N Beans Coffee Roasters
Местная семейная машина для обжарки свежего кофе Gourmet. Мы предлагаем более 50 сортов кофе для продажи оптом и в розницу. Грег и Ди Нейстел подхватили кофейную лихорадку в июне 2016 года, купив кофейню Mocha Momma’s в торговом центре Gateway, и перешли к следующему логичному шагу — обжариванию кофе!
Категория: Еда и напитки Ремесленники и подарки
Равнина Перспектива
Равнина Перспектива создает оригинальные произведения искусства в различных материалах, включая уникальные рисунки перьями и нестандартные произведения искусства. Картины делаются в его домашней мастерской, а также в его мастерской у озера Одюбон.
Категория: Ремесленники и подарки
Прери-Крик
Мы продаем продукты питания, сувениры, поделки, подарки и подарочные наборы от Pride of Dakota.
Посетите наш магазин прямо сейчас! Prairie Creek, розничный магазин в торговом центре Bismarck Gateway, является вашим универсальным магазином Pride of Dakota, в котором продается более 100 товаров участников Pride of Dakota. Подарочные корзины Pride of Dakota доступны во всех ценовых диапазонах и различных размерах для семьи, друзей и бизнеса. Независимо от того, большой у вас заказ или маленький, мы можем сделать его в соответствии с вашими потребностями. Также доступна служба рассылки. Мы можем сделать Корпоративные заказы от 10-250!
Category: Food & Beverages Artisans & Gifts Personal Care Products Publishers Services
Prairie Fairy Designs
A melding of spirit and earth to adorn your soul! Качественные натуральные украшения, специализирующиеся на стерлинговом серебре, подвесках на гильзах и кристаллах * Сверкают и сияют. Все дизайны создаются вручную с любовью и позитивными намерениями.
В моих работах с гордостью используются натуральная бирюза, агат Монтана, яшма и кварц из США. Я обожаю работать с клиентами над созданием значимых украшений, которые прослужат долго! Свяжитесь со мной, если у вас есть что-то особенное, что вы хотели бы создать вместе.
Категория: Ремесленники и подарки
Цветы прерии и подарки
Цветы прерии и подарки — это цветочный магазин с полным спектром услуг, но он может предложить гораздо больше. У них есть множество подарков, а также изделия из колючей проволоки ручной работы и произведения искусства из перьев фазана. Эти предметы являются единственными в своем роде, которые могут быть персонализированы только для вас.
Категория: Ремесленники и подарки
Студия художественного стекла Prairie Light, LLC
Студия художественного стекла Prairie Light предлагает изготовленные на заказ витражи, обожженное в печи стекло и мозаику для вашего дома, бизнеса или церкви. Предлагает занятия для групп по всему штату.
Категория: АРТАНСЫ И ПОРЯДОКИ
Prairie Petals
Комтины ручной работы, подарочные предметы, саш на ароматизации лаванды
Категория: Artisans & Gifts 9079 PRIESS Designs PRISESSERSESSERSE 9000 9000
PRIESS . : варежки, фартуки, прихватки, тканевые мешки, влажные/сухие мешки, полотенца, повязки и шарфы. Я также предлагаю выпечку. Дайте мне знать, что вас интересует.
Категория: Ремесленники и подарки
Печать Джоша
Специализируется на печати ваших фотографий, дизайнов и логотипов на различных продуктах для создания нестандартных произведений искусства, подарков, рекламных, бытовых и личных вещей.
Категория: Ремесленники и подарки
Провиантский огород
Мы небольшой огород, где выращивают различные овощи, ягоды, мед, срезанные цветы и цветочные композиции. Мы также делаем Artisan Хлеб и другую выпечку.
Мы вручную изготавливаем различные роскошные и красочные мыла. Мы продаем в основном на фермерском рынке Дикинсона, но наши продукты также доступны по специальному заказу.
Category: Food & Beverages Artisans & Gifts Personal Care Products Manufacturers Services
Punky’s Bath & Gift Shop
Punky’s Bath & Gift Shop is a local family owned bath and gift shop. Все банные принадлежности и консервы изготавливаются вручную самой Панки. В каждый продукт вложено много любви и тяжелой работы, чтобы гарантировать, что вы получаете только самое лучшее. Помимо наших потрясающих средств для ванн, у нас также есть много других товаров, таких как консервы, одежда, книги местных писателей, попурри, эфирные масла, украшения, турецкий текстиль, трикотажные изделия, множество новинок для мужчин, женщин и детей. намного больше. Вы обязательно найдете здесь что-то для всех. Зайдите, чтобы увидеть, что нового в центре города сегодня! В Панки всегда весело!!
Категория: Ремесленники и подарки Средства личной гигиены Услуги
Purrfect Pieces
Purrfect Pieces – это малый бизнес, специализирующийся на традиционных формах искусства, стальных изделиях, а также украшениях из нержавеющей стали.
, и более. Каждый предмет с любовью сделан в сельской местности Северной Дакоты.
Традиционное искусство включает картины, рисунки графитом и скретчборд.
Неваляшки, предметы одежды, мягкие игрушки и украшения обычно изготавливаются по заказу, хотя есть и готовые к покупке предметы, доступные в любое время.
Категория: Ремесленники и подарки Услуги
Кошельки от Diane
Кошельки от Diane предлагают уникальные кошельки ручной работы из хлопчатобумажной ткани, мини-кошельки и многое другое. Изделия различаются по стилю и цвету.
Дополнительные продукты включают вышитые кухонные полотенца и сумки
Все продукты можно стирать в машине.
Принимаются индивидуальные заказы.
Категория: Ремесленные изделия и подарки
– Q –
Quilt Patch & Embroidery
Quilt Patch & Embroidery предлагает сезонные и повседневные изделия с вышивкой, в том числе: кепки, рубашки, скатерти, лоскутные одеяла, стеганые одеяла для футболок и услуги стегания на длинной руке.
Категория: Ремесленники и подарки Производители Услуги
– R –
Red Pine Distillery
Небольшой ремесленный спиртзавод, производящий алкоголь из местного урожая. В настоящее время мы предлагаем 5 продуктов. Водка, водка со вкусом рассола, пряный ром, белый ром и ликер из ревеня, приготовленные из спирта, ферментированного и дистиллированного из сахарной свеклы!
Категория: Еда и напитки Ремесленники и подарки Производители
Red’s Attic
Red’s Attic родился из любви к творчеству и страсти к подаркам ручной работы. Начав со скромных детских товаров и игрушек ручной работы, мы расширились, включив аксессуары и линии одежды для вас, малышей и многое другое. Коллекции Reds’ Attic расширяются, но качество остается прежним.
Категория: Ремесленники и подарки
Обновление сердца
Мы продаем кухонные полотенца, фартуки, стеганые скатерти и квадраты, а также две книги: Дар и Свет из тьмы
Камни и прочее
Наша продукция включает бисерные колокольчики, кабошоны из агата, кабошоны из агата, обернутые проволокой, и украшения в виде дерева жизни.
Категория: Ремесленные изделия и подарки
Roxie’s Place Photography
Роксана Вестман, фотограф-пейзажист из Северной Дакоты, приглашает вас посетить ее веб-сайт или страницу в Facebook: Roxiesplacephotographystudio и увидеть Северную Дакоту и Миннесоту ее глазами. Пейзажи Северной Дакоты и Миннесоты включают в себя: сельские пейзажи, пейзажи бесплодных земель, пейзажи Верхнего озера, диких лошадей, фотографии Млечного Пути, леса и озера Миннесоты. Роксана специализируется на художественных репродукциях в рамах и без рам, гравюр на холсте и гравюрах на металле.
Категория: Ремесленные изделия и подарки
Ремесла Рут
Я делаю подставки для микроволновых печей, подставки для карт и другие изделия ручной работы.
Категория: Ремесленники и подарки
– S –
Дизайны домов из песчаника
Дизайны домов из песчаника специализируется на пошиве изделий, включая скатерти, пинетки для взрослых и детей, нагрудники, фартуки, прихватки, наволочки и многое другое.
Категория: Ремесленники и подарки
Scenes by Sherry
Scenes by Sherry предлагает открытки с фотографиями, репродукции в рамках/матовые, репродукции на холсте, подставки, кружки и блокноты с пейзажами Северной Дакоты. Сцены включают дороги, мосты, церкви, пейзажи, дикую природу, цветы, дворовые и степные птицы, а также важные места в Северной Дакоте.
Категория: Ремесленники и подарки
Schirado Inventions, LLC
Всю свою жизнь я занимался сельским хозяйством и скотоводством. Я всегда пытался придумывать идеи, чтобы облегчить жизнь.
Одноручный шприц для смазки
Ворота с дистанционным управлением
Водяной гидрант с дистанционным управлением
Резак для сетки
Магнитный зажим
Категория: Ремесленники и подарки Производители Услуги
Скотт Сейлер Фото
Скотт Сейлер, выросший на ранчо в Северной Дако, художник-пейзажист и пожизненный житель Дако.
Роли. Именно здесь сельское хозяйство и отдых на свежем воздухе оставили много прекрасных воспоминаний. Его перспектива сформирована его любовью к сельской архитектуре и пахотным землям. Зайлер показывает панорамы и крупные планы пейзажей Среднего Запада. Будь то пахотные земли, деревенские постройки или чудеса природы, окончательная перспектива призвана заставить зрителя задуматься и вспомнить.
Категория: Ремесленники и подарки
Сезоны вашей жизни – от “June Bug Designs”
Джун Спренгер занимается декоративной живописью. Она рисует оригиналы и репродукции. Июнь рисует на все времена года, но специализируется на рождественском сезоне. Она рисует рождественские украшения с множеством различных рисунков с персонализацией. Она также рисует на разных поверхностях. Художественная студия Джун и небольшой сувенирный магазин расположены на их ферме к северу от Элгина на шоссе 49..
Категория: Ремесленники и подарки
Second Nature Woodworks, LLC
Местная компания Second Nature Woodworks, находящаяся в собственности и под управлением в Дикинсоне, Северная Дакота, является надежным поставщиком изделий из твердой древесины и живой кромки, таких как плавающие полки, каминные полки, перила, кровати каркасы, доски для ванн, доски для колбасных изделий, столы для гостиной и спальни и многое другое.
Разница в деталях. Мастерство, уступающее только природе.
Категория: Ремесленники и подарки
Шьем, вышиваем
Шьем, вышиваем Специализируется на сублимационной продукции: кружки, полотенца, разделочные доски, подушки, сумки, фартуки, подставки под горячее, рукавицы, садовые коврики, половики, подставки , серьги, футболки и многое другое.
Мы также специализируемся на швейных и вышивальных изделиях. Швейные изделия: одеяла/одеяла для всех возрастов, одеяла с бирками, наволочки, детские игрушки, банные полотенца с капюшонами и многое другое. Вышитые: кухонные полотенца и фартуки.
Мы изготавливаем товары на заказ и по индивидуальному заказу, а также оптом.
Категория: Ремесленники и подарки
Sewbobbie Creations
Я занимаюсь шитьем на заказ. Предлагаю вышитые изделия на заказ, одежду на заказ (костюмы, платья, блузки и брюки), перчатки, кожаные перчатки с меховой отделкой, охотничьи шапки, полотенца из мешков для муки, фартуки, пледы, салфетки, скатерти и т.
д. специализированная швейная студия в моем доме и предлагаю местные швейные услуги в районе Джеймстауна, такие как реставрация стеганых одеял, переделки и другие проекты домашнего декора (драпы, шторы и подушки).
Категория: Ремесленники и подарки
Художественная комната Шеннон Вирренга
Шеннон Вирренга создает вдохновляющие и воодушевляющие картины, фотографии, детские книги, репродукции изобразительного искусства, поделки, подарочные товары и многое другое. Все продукты сделаны из оригинального искусства и фотографии Шеннон.
Категория: Ремесленники и подарки
Транспортировочный ящик для керамики
Транспортировочный ящик для керамики создает глиняную посуду ручной работы.
Категория: Ремесленники и подарки
ShopSuzyB
ShopSuzyB — компания по продаже модных аксессуаров, продающая Suzy Shuze, Suzy Starz и новый дизайн — ScKappez.
Suzy Shuze — это туфли на высоком каблуке, предназначенные для хранения колец или мобильного телефона. Suzy Starz — это подарок, который прошепчет вашему сердцу и заставит его улыбнуться. Starz собирают из веток тополя. Сьюзи вырезает звезду естественного происхождения и помещает ее в украшение, упакованное с кратким изложением легенды коренных американцев о том, как произошло начало. ScKappez – это отрезанный, а не сшитый кусок ткани, который можно носить как шарф, жилет, накидку, тунику или саронг.
Категория: Ремесленники и подарки
Simpler Gifts Press
Северная Дакота находится в центре внимания отмеченного наградами художника и поэта Бро Хальфа в его последних двух книгах, которые дебютировали в январе 2020 года. Каждая книга наполнена прекрасные акварели и проницательные стихи, изображающие разнообразные сцены Северной Дакоты.
Две книги под названием Дни Северной Дакоты и Путешествия по Северной Дакоте, отражают великолепие и дух Северной Дакоты, а также доброжелательность ее жителей.
Книги красиво отпечатаны и переплетены. Они идеально подходят для чтения, памятного подарка или подарка в Северной Дакоте. Обе книги доступны в твердом и мягком переплете.
Вот уже почти полвека Братан Халф пишет, рисует и ваяет. Ряд его работ завоевал награды на выставках жюри по всей стране. Его акварели яркими красками и смелой композицией запечатлели сельскую, городскую и провинциальную Америку. Г-н Халф в настоящее время проживает в Бисмарке, Северная Дакота и Кауаи, Гавайи. Он содержит художественную галерею и издательскую фирму в Сан-Диего. Его работы можно посмотреть и приобрести на сайте www.simplegifts.com.
Категория: Ремесленники и подарки Издатели
Товары с запахом
Товары с запахом — это малый бизнес в Анете, расположенный в округе Нельсон. Делаю банные и косметические средства своими руками. У меня более 45 ароматов и терапевтических масел. Я также создаю и разрабатываю украшения.
Я также поощряю свою талантливую 13-летнюю дочь своим художественным проектом. Их также можно приобрести на моем сайте. Заказать онлайн на http://smellmegoods.square.site
Категория: Ремесленники и подарки Средства личной гигиены
Smitten With Mittens
Smitten with Mittens — это небольшой предпринимательский бизнес, расположенный в районе Rendezvous округа Пембина. Он производит варежки из переработанных свитеров. Варежки на подкладке из флиса и украшены милыми и модными пуговицами. Лесли стремится производить продукт, уникальный по дизайну и составу ткани, который украсит вашу повседневную зимнюю одежду, в том числе спортивные рукавицы, блестящие рукавицы, супружеские рукавицы, а новый хит — перчатки Heritage. Эти варежки сделаны из предмета одежды умершего члена семьи. Эти варежки можно носить или использовать в качестве дисплея. Лесли и ее муж Кит упакуют и отправят этот качественный продукт из Северной Дакоты куда угодно.
Лесли также расширилась до носков обезьян «Красная пятка», обезьяньих банных полотенец с капюшонами, обезьяньих нагрудников, гномов, декоративных подушек и сов. Также доступна книга Кита «Юмор на шоссе», сборник юмористических рассказов о его 28-летней карьере в качестве офицера дорожного патруля Северной Дакоты.
Категория: Ремесленники и подарки
Персонализированные подарки Стейси
Персонализированные подарки Стейси создают разнообразные персонализированные металлические и стеклянные противни с гравировкой или травлением. Самым продаваемым подарком Стейси является декоративная индивидуальная форма для торта с гравировкой. Этот персонализированный подарок с выгравированным дизайном, фразой по вашему выбору и именем получателя обязательно понравится новой невесте или семье, которые берут запеканки или выпечку на обед, в церковь, школу и дома друзей. Stacey’s также предлагает персонализированные стеклянные формы для выпечки и сервировочные миски с выгравированным именем получателя.
Полную линейку продукции Stacey можно приобрести в Интернете на их веб-сайте www.staceyspans.com.
Категория: Ремесленники и подарки
Шитье от начала до конца
Шитье от начала до конца — это дань старому искусству шитья и творчества. Создавая сумки ручной работы, сумки для переноски, сумки для подгузников, различные сумки в стиле кошельков и винтажные тканевые сумки для перевозки того, что важно, Start to Finish славится прекрасным качеством изготовления, создавая продукт, который прослужит дольше, чем товары, купленные за границей. поставщики. Одеяла для футболок и другие предметы памяти входят в число многих полученных запросов на специальные заказы. Я горжусь тем, что создаю, и мне нравится создавать новое из старого.
Категория: Ремесленники и подарки
Палочки и камни от Keri LLC
Я разрабатываю и создаю уникальные украшения с использованием драгоценных и полуобработанных драгоценных камней и окаменелого дерева.
Используя технику, называемую плетением из проволоки, каждый камень идеально держится и превращается в единственный в своем роде кулон. Значительная часть моего бизнеса заключается в выполнении заказных работ для людей, которые хотят добавить в свою коллекцию модное стильное украшение по доступной цене. Я также делаю ручки для ящиков и кресты из своих больших камней и плит из окаменевшего дерева! Они добавят естественной красоты вашему домашнему декору!
Категория: Ремесленники и подарки
Stitches & Designs, сделанные jorstad
Stitches & Designs, сделанные jorstad, — это мелкосерийный производитель обуви ручной работы на мягкой подошве, тканевых подгузников, брюк Grow with Me, футболок с рисунком, нагрудников. , головные уборы. Все материалы подходят для детской одежды. Мы открыты для розничных запросов.
Категория: Ремесленные изделия и подарки
Клубничные патчи и подарки
Мы делаем всевозможные вывески (виниловые, трафаретные и т.
д.), а также различные детали из вторичного дерева.
Категория: Ремесленники и подарки
Strawberry Soda-Pop Studios
Акварель, акрил и цифровая техника, портреты, пейзажи и оригинальные персонажи.
Категория: Ремесленники и подарки
Мед Стромме
Мы предлагаем вам продукты из улья с 1979 года. Мы с гордостью производим чистый мед ND, пчелиную пыльцу и сотовый мед. Затем мы берем воск из наших ульев и делаем свечи из 100% пчелиного воска и масло для тела.
Категория: Еда и напитки Ремесленники и подарки
ООО «Подсолнечные стежки»
Подсолнечные стежки создают изделия ручной работы для всех возрастов, в том числе: мешочки для рисовой и льняной терапии, специализированные изделия для машинной вышивки и стеганые изделия, стеганые изделия. специальные предметы для кухни.
Категория: Ремесленники и сувениры
Саннисайд Товары
Саннисайд Товары — это розничная часть Остли Саннисайд Эйкерс. Предлагает продукты, выращенные на ферме, такие как травы, чаи, чеснок и чесночный порошок. В дополнение к сельскохозяйственной продукции, которую мы производим, Линдсей предлагает шитье на заказ и проводит мастер-классы по искусству и ремеслам, в том числе мастер-классы по росписи лоскутных одеял.
Категория: Еда и напитки Ремесленные изделия и подарки
Бутик Sunshine
Моя компания представляет собой бутик одежды, украшений и предметов интерьера. Тем не менее, я начал делать свечи и восковые расплавы для продажи в своем бутике, и это то, что я хотел бы присоединиться к Pride of Dakota, свечи ручной работы и восковые расплавы. Свечи называются Sunshine Scents, но продаются в моем бутике.
Категория: Ремесленные изделия и подарки
Superior Glass, Inc.
Superior Glass Inc. имеет студию художественного стекла, в которой представлены витражи, стеклянная мозаика и изготовленные на заказ витражи, а также ремонт окон/дверей/экранов и установка/обслуживание автоматических входных систем. .
Категория: Ремесленники и подарки
Surprise Expressions
Surprise Expressions специализируется на вышитых полотенцах из мешков муки, банных полотенцах, салфетках и подушках. Всегда приветствуются специальные заказы на ручную вышивку, в том числе на крестильные платья.
Категория: Ремесленники и подарки Услуги
Кондитерские изделия Sweet Dreams
Кондитерские изделия Sweet Dreams продают домашнюю помадку, свежеприготовленное джелато (итальянское мороженое), шоколад (картофельные чипсы в шоколаде), а также деликатесы. многие продукты Pride of Dakota.
Мы представляем собой кофейню с полным спектром услуг и старомодную кондитерскую.
Обед подается с понедельника по субботу с 11:00 до 14:00.
Время работы магазина:
Понедельник – пятница с 8:00 до 18:00.
Суббота: с 8:00 до 17:00.
Воскресенье 12 – 17:00
Посетите наш веб-сайт по адресу www.sweetdreamsconfections.com
Категория: Еда и напитки Ремесленники и подарки
Конфеты и концессии Sweet Prairie
Шоколадные конфеты Sweet Prairie специализируется на приготовлении шоколада couve. Шоколад Couveture — это высококачественный шоколад, требующий темперирования; конечным результатом является блестящий шоколад с удивительным щелчком. Некоторые из предлагаемых нами шоколадных конфет: карамель, помадка, ириска, конфеты, бомбочки с горячим какао, бомбочки со сливками, зефир для гурманов, пирожные, сосунки, шоколадные плитки, шоколадные плитки на заказ и шоколадные плитки для гурманов. Мы продаем наши шоколадные конфеты онлайн и можем отправить их в любую точку США.
Категория: Еда и напитки Ремесленные товары и подарки
SWEN Products, Inc.
SWEN Products производит различные предметы садового декора, в том числе флюгеры, ветряные мельницы, приветственные таблички, держатели для ключей и многое другое.
Категория: Ремесленники и подарки Производители
– T –
T Squared Innovations
T Squared Innovations – это небольшой домашний бизнес, производящий качественные подстилки для животных, приподнятые кормушки, разделочные доски. и более. Мы используем все качественные твердые породы дерева, включая, но не ограничиваясь: орех, клен, вишня, венге, падук, кровавое дерево, бубинга, зебрано, гикори, лиловое сердце и другие. Все предметы изготавливаются вручную и уникальны, как и любой человек. Наши изделия не производятся серийно, а изготавливаются так, как если бы мы делали их для одного из наших друзей или членов семьи.
Категория: Ремесленники и подарки
Taea Made
Taea Made создает уникальные и современные изделия из волокна, созданные уроженкой Фарго Эмили Брукс. Эмили специализируется на крупномасштабной настенной росписи и креативной машинной вышивке. В линейку ее продуктов входят декоративные подушки, изделия из переработанного сырья, украшения, обручи, открытки, сумки, принты и многое другое. Доступны индивидуальные работы.
Категория: Ремесленники и подарки Производители
Полотенца Tammy’s
Мы делаем кухонные полотенца с ручной вышивкой. На полотенце можно положить что угодно! Посетите нашу страницу в Facebook, Tammy’s Towels, чтобы узнать о дизайнах, которые мы создали. Мы всегда придумываем новые дизайны!
Новые продукты! Мы расширяемся. Разделочные доски с лазерной гравировкой, изделия, окрашенные вручную, изделия для термопрессования и многое другое!
Категория: Ремесленники и подарки
ТОРТЫ ПОДАРКИ
Мы занимаемся продажей подарков в Интернете.
Мы сами делаем деревянные подарочные коробки, подставки, ящики и свечи. Изготавливаем на заказ керамические подставки и кружки, а также алюминиевые фотопластинки. Все наши продукты поставляются американскими компаниями, и большинство продуктов в наших подарочных коробках поступают от компаний в Северной Дакоте, которые являются частью Pride of Dakota.
Категория: Еда и напитки Ремесленные изделия и подарки Производители
Кожа Teganis
Кожаные изделия ручной работы и аксессуары. Я делаю сумки, кошельки, ремни и другие изделия из кожи.
https://www.facebook.com/TeganisLeather
Категория: Ремесленники и подарки
Свечи Ten Acres
100 % соевые свечи + ароматы для дома, изготовленные вручную в Северной Дакоте. Сделано из качественных чистых ингредиентов с намерением создать уют в вашем пространстве и принести вам радость! Наши продукты нетоксичны, не содержат фталатов, полностью горят и производятся из соевых бобов, выращенных на Среднем Западе США.
Категория: Ремесленники и подарки
The Bag Lady
Я вяжу крючком различные сумки и сумки из планна (пластиковой пряжи), которые я создаю из новых и переработанных пластиковых пакетов.
Категория: Ремесленники и подарки
The Barn Guy
The Barn Guy предлагает широкий выбор деревянных игрушечных амбаров, заборов и кормушек. Изделия бывают разных размеров, цветов и пород дерева. Также доступны индивидуальные заказы.
Категория: Ремесленники и подарки
Сувенирный магазин Buffalo Gap
The Buffalo Gap — это розничный магазин подарков в Медоре, который специализируется на украшенной вышивкой одежде и рисунках с термопереносом, сделанных в магазине. Кроме того, они изготавливают и продают изделия ручной вязки и продают в розницу другие товары членов Pride of Dakota
Категория: Ремесленники и подарки
The Creative Heart Warrior
The Creative Heart Warrior — это предприятие, принадлежащее и управляемое ветеранами, расположенное в г.
Валгалла, Северная Дакота. В настоящее время мы продаем через Интернет и через местные рынки. Мы специализируемся на индивидуальной одежде и аксессуарах в дополнение к услугам 3D-печати и 3D-дизайна. Мы предлагаем в розницу и оптом, чтобы удовлетворить ваши потребности.
Категория: АРТАНСКИЕ ИСПОЛЬЗОВАНИЯ Производители Сервисы
Творческое гнездо
Категория .
– Изготовленные на заказ гитары (электрические и акустические)
– Электрические и акустические гитары для обслуживания
– Звукосниматели с ручным заводом > Одинарная катушка и хамбакер <
-Служба и усилители трубки. . Мы помогаем женщинам обрести хорошее самочувствие с помощью коучинга здоровья и хорошего самочувствия, Рейки, энергетического исцеления и ритуалов
Категория: Ремесленники и подарки Услуги
Сундук Надежды
Сундук Надежды — это сувенирный магазин в Анамузе, в котором продаются различные предметы, в том числе множество самодельных подарков, таких как речные столы, столы из эпоксидной смолы, разделочные доски, декор для стен, подарочные корзины, суккуленты и т.
д. У нас также есть уникальные предметы мебели из натурального дерева от Royce Ponzer, такие как подставки, детские столы и стулья, журнальные столики, стойки для оружия и т. д. Мы также включили кофейню The Mocha Moose в сувенирный магазин. Заходите и проверьте это!
Категория: Еда и напитки Ремесленники и подарки
The Howls Pet Boutique
Я шью 🧵 галстуки-бабочки и банданы для домашних животных из высококачественной стеганой ткани, купленной в местных магазинах стеганых одеял в Северной Дакоте. Я продавал свои товары на местных выставках продавцов. Мой веб-сайт www.thehowls.net, и я зарегистрирован на Facebook как thehowlspet, где делюсь своими работами и выходками с моими питомцами. Я также буду делать индивидуальные заказы для семейных свадеб и семейных фотографий.
Категория: Ремесленники и подарки
Веселый халапеньо
Веселый халапеньо — это семейный и ветеранский бизнес по продаже сальсы в Северной Дакоте.
Мы продаем мягкую, среднюю и острую сальсу, а также новые острые творения. Найдите нас на Facebook по адресу www.facebook.com/thejollyjalapeno.
Категория: Еда и напитки Ремесленники и подарки
Раздевалка
Раздевалка — местный семейный бизнес по продаже одежды и подарков на заказ.
Категория: Ремесленники и подарки
Расплавленный мелок
Расплавленный мелок — это красочный ассортимент вышитых и сшитых вручную одеял, подушек, головных уборов, футболок, сумок, фартуков, банных полотенец, полотенец для рук и кухонных полотенец. .
Категория: Ремесленники и подарки
Магазин попкорна
Мы делаем свежий попкорн для гурманов с различными вкусами, такими как чеддер, белый чеддер, ранчо, маринованный укроп, сахар с корицей, карамель, шоколад, кукуруза, радуга, и многое другое в ближайшее время.
Мы также делаем сладкую вату и домашнюю выпечку, например, печенье.
Категория: Еда и напитки Ремесленники и подарки
The Red Silo
The Red Silo, основанная в 2007 году, специализируется на оригинальных фотографиях на тему Среднего Запада. Кроме того, они продают изготовленные на заказ футболки и домашний декор ручной работы.
Категория: Ремесленники и подарки
The Smart Seed
Терапевтические компрессы с семенами льна Smart Seed — это естественный способ мягко облегчить жизненные боли. Изделия сшиты вручную в моем доме в Линкольне, Северная Дакота, и наполнены 100% льняным семенем. Я предлагаю различные пакеты, которые подходят по размеру для шеи/плеч, живота, спины, глаз/носовых пазух и детских буу. Пакеты можно хранить в морозильной камере для охлаждающей терапии или нагревать в микроволновой печи для тепловой терапии. Все изделия тщательно сшиты вручную и красиво упакованы, чтобы ими можно было насладиться или подарить.
Продукты доступны в ряде розничных продавцов по всей Северной Дакоте (текущий список см. на веб-сайте) или в Интернете по адресу https://www.etsy.com/shop/thesmartseed. Следите за мной на Facebook, чтобы быть в курсе новых продуктов и специальных предложений: www.facebook.com/thesmartseed.
Категория: Ремесленники и подарки
Магазин мыла “Улыбающийся эльф”
Магазин мыла “Улыбающийся эльф” производит небольшое количество домашнего мыла как холодным способом, так и глицерином. Мы также предлагаем широкий ассортимент средств для ванны и ухода за собой, в том числе взбитое мыло, пыльцу единорога, сахарные скрабы и наши новые наборы для губ. Все наши продукты производятся из возобновляемых ингредиентов, основанных на принципах справедливой торговли.
Категория: Ремесленные изделия и подарки Средства личной гигиены
Пятнистая гагара
Пятнистая гагара (ранее Susie B’s Crafty Cabin Designs) — ваш источник раскрашенных вручную деревянных вывесок, декора для дома в стиле озера, новаторской посуды для напитков и многого другого.
Этот уникальный малый бизнес, основанный в 2015 году и принадлежащий Сьюзи Боммерсбах, недавно расширился до вечеринок по рисованию вывесок. The Speckled Loon является популярным поставщиком на многих региональных ярмарках ремесел и имеет лояльных подписчиков на Facebook через свою бизнес-страницу. Наш новый веб-сайт запущен и работает по адресу https://thespeckledloon.com/
Категория: Ремесленники и подарки
Thomas Collectibles
Thomas Collectibles создает самодельные деревянные игрушки для коллекционирования.
Категория: Ремесленники и подарки
TMH Studio
Днём я биолог, а ночью ремесленник! Я люблю вязать крючком, рисовать (мои любимые цифровые иллюстрации), рисовать и делать украшения. Мой любимый материал — полимерная глина, из нее я чаще всего делаю серьги и ожерелья. Тем не менее, у меня также есть много друзей, которые охотятся за мясом, и мне нравится помогать им использовать как можно больше животных, чтобы уменьшить отходы.
Вот почему я также использую перья и мех в своих поделках!
Категория: Ремесленники и подарки
Ценные строчки
Вышивка, трафаретная печать, сублимация и уникальные подарки.
Категория: Ремесленники и подарки Услуги
– U –
Изысканные закуски дяди Чарли
Изысканные закуски дяди Чарли – это первая компания по производству безглютеновых закусок на Среднем Западе! Мы специализируемся на безглютеновых закусках для гурманов, разработанных для того, чтобы сбить вас с ног!
Категория: Еда и напитки Ремесленники и подарки Производители
Нетрадиционное печенье
Где печенье встречается с воображением; подается с нахальным юмором.
Наш иллюзионист-печенька Уитни Нильсен изумляет и восхищает! Принеси тебе сахар, сахар!
Категория: Еда и напитки Ремесленные изделия и подарки Услуги
Upcycled Life
Здравствуйте! В моем бизнесе есть резные знаки и лазерные указатели, а также домашний декор! Я также занимаюсь вторичной переработкой мебели, что до сих пор делаю кое-где!
Категория: Ремесленники и подарки
– V –
Старинный сарай
Старинный сарай принадлежит Джине и Тому Шефбауэрам.
Они работают из дома, а также имеют торговые площади в антикварном торговом центре Bismarck.
Мы считаем, что искусство должно быть доступно каждому. Именно поэтому мы создаем настенный декор ручной работы в технике макраме с миссией сделать каждый предмет красивым и доступным. Мы хотим, чтобы вы чувствовали, что получаете что-то особенное, когда входите в свой дом или офис.
Мы стремимся создавать искусство, которое говорит каждому — от наших классических дизайнов до наших смелых новых взглядов на то, каким может быть искусство! Нам нравится работать с нашими клиентами, чтобы помочь им воплотить в жизнь свое видение своего дома или офиса!
Категория: Ремесленники и подарки
Магнитные браслеты Вивиан
Магнитные браслеты Вивиан предлагает ювелирные изделия, изготовленные по индивидуальному заказу, с использованием различных цветов и форм магнитных гематитовых бусин для создания браслетов и ожерелий из одной, двух, трех и четырех нитей.
Наши украшения доступны по цене и привлекательны как для мужчин, так и для женщин.
Категория: Ремесленники и подарки
Центр профессионального обучения
Мы специализируемся на предоставлении исключительных профессиональных услуг, поддержки и возможностей трудоустройства для людей с ограниченными возможностями, а также удовлетворяем потребности предприятий в Фарго-Мурхеде в субподрядах и трудоустройстве. области и по всей территории США
Наша столярная мастерская производит садовую мебель из кедра, вывески на заказ с использованием лазерного гравера или станка с ЧПУ и многие другие уникальные изделия ручной работы.
Категория: Ремесленцы и подарки Производители Ассоциированные/некоммерческие
– W –
Wag & Wonder, LLC
Наша продукция включает в себя шлейки, ошейники, поводки, держатели для мусорных пакетов, банданы, матросские банты и галстуки-бабочки, а также одеяла, чтобы сделать вашего щенка самым стильным в квартале. Мы предлагаем размеры XS – XXL. Часть каждой продажи идет на помощь нуждающейся собаке.Категория: Ремесленники и сувениры Производители
Ward and Weston
Ward and Weston — компания из Фарго, Северная Дакота, которая производит мебель и краснодеревщики на заказ.
Категория: Ремесленники и подарки Производители
Wild Arrow Farms
Мы производим мыло ручной работы из козьего молока, состоящее менее чем из 10 ингредиентов. Никаких искусственных красителей или дополнительных раздражителей, просто красивое, кремообразное мыло ручной работы!!!
они бывают разных ароматов, или мы также предлагаем мыло без запаха, если у вас есть близкий человек, у которого может быть чувствительность.
у нас есть куски мыла, доступные для продажи, или мы также можем принять индивидуальные заказы на мыло.
Категория: Ремесленные изделия и подарки Средства личной гигиены
Магазин древесины Willow Creek
Магазин древесины Willow Creek создает подарки ручной работы и аксессуары для украшения дома. Их уникальные мельницы для перца с опорами из переработанных кедровых заборов из западной части Северной Дакоты являются одними из их самых продаваемых фаворитов. Продукция включает в себя ручки и пробки для винных бутылок, выточенные из рога оленя. Они предлагают разнообразную линию высококачественных дизайнерских гобеленовых подушек и дамских сумок с привлекательными западными и лошадиными мотивами, многие из которых украшены натуральной воловьей кожей. Они также предлагают ювелирные изделия, начиная от серег, вырезанных из оленьих рогов, и заканчивая украшениями из бисера, шляпными лентами, баночками и кожаными ремнями с оригинальным дизайном.
Индивидуальные заказы приветствуются и поощряются.
Категория: Ремесленники и подарки
Windy Compass
Женщина-ветеран владеет и управляет мыловаренной компанией, расположенной в бесплодных землях Северной Дакоты! Я специализируюсь на сувенирах для мероприятий, шампунях и кондиционерах Syndet, конопляном мыле, мыле с алоэ вера, мыле ши, бомбочках для ванны, лосьонах, сахарных скрабах и многом другом! Все делается вручную небольшими партиями.
Категория: Товары ручной работы и подарки Средства личной гигиены
Windy Stitches
Добро пожаловать в Windy Stitches! Мы предоставляем индивидуальную и готовую вышивку, произведенную в Уиллистоне, Северная Дакота. Мы специализируемся на небольших заказах вышивки, идеально подходящих для малого бизнеса, организаций, спортивных команд или отдельных лиц.
Категория: Ремесленные изделия и подарки Услуги
– Y –
Yeti to Design, LLC
Уникальный декор для вашего дома или офиса.
Специализируется на теневых ящиках на любую тему (например, Рождество, 4 июля, день рождения, поговорки). Иметь возможность персонализировать другие предметы, такие как украшения, рубашки, оконные наклейки.
Категория: Ремесленники и подарки
11 законодателей моды, которые меняют мир моды в Филадельфии
Познакомьтесь с новыми отпрысками стиля Филадельфии.
Каждое воскресное утро получайте в свой почтовый ящик захватывающий лонгрид и важные советы по образу жизни — отлично с кофе!
По мере того, как меняется Филадельфия, меняется и то, как мы одеваемся. Познакомьтесь с 11 членами нашего процветающего творческого класса, которые меняют моду в Филадельфии и ее представителей.
Бет Буччини
47, владелец Bryn Mawr’s Kirna Zabête
Фотография Джиллиан Гайетт.
Я знал, что на рынке Филадельфии было пусто… когда я появлялся в школе, и люди говорили: Боже мой, что это?! Как мне это получить!? Другие мои магазины находятся в … Сохо, Палм-Бич и Ист-Хэмптон.
Лучшая часть стиля Филадельфии по сравнению со стилем Нью-Йорка… в том, что в Нью-Йорке люди настолько пресыщены. Они все это видели и все сделали. Здесь я нахожу больше радости. Больше всего я себя чувствую в … набивном платье, сандалиях на плоской подошве и соломенной сумке. Это мои южные корни.
Рик и Кай Цао
38 и 37 лет, владельцы магазинов Ps & Qs на Саут-стрит
Фотография Джиллиан Гайетт.
Мы начали с … Магазин мужской одежды Abakus Takeout в Чайнатауне. Чайнатаун не славился розничной торговлей, но мы все идем против течения. [Ky] Ps & Qs… представляет культуру уличной одежды, но это более вечный бренд. [Рик] Филадельфийский стиль 20 лет назад был… Дикки, ботинки Timberland и большие белые футболки. Теперь вы не можете точно определить, кто отсюда, потому что у нас так много разных людей. Это потрясающе. [Рик] Я всегда говорю молодым мужчинам… купить себе красивое пальто.
Если вы носите что-то яркое, что-то длинное уравновешивает сумасшествие с большей изысканностью. [Рик] Я люблю… старого Уилла Смита. Он был диким, и ему было все равно. Цвета были великолепны. [Ky]
Ривка Янк
29, владелец Fishtown’s Downerss
Фотография Джиллиан Гайетт.
После школы… Я жил в кибуце в Израиле. Бросившись в место, где я никого не знал, я действительно нашел себя. Когда я вернулась, она полностью вошла в мой гардероб. Когда Philly Mag назвал Downerss «Лучшим магазином для миллениалов» в прошлом году… Я пришел посмотреть, как другие относятся к этому термину, но у меня нет негативных ассоциаций с этим словом. Я думаю, что мы — поколение, наделенное полномочиями, прокладывающее новый путь. Мои фирменные вещи… — пара потрепанных больших Levi’s и армейских ботинок на толстом каблуке с сетчатыми носками.
Элизабет Бергеланд
35 лет, художница из Квин-Виллидж, на фото со своими детьми
Фотография Джиллиан Гайетт.
Мой последний проект… — иллюстрации к детской книге, Трудно быть Эди сегодня . Он выходит в мае. Я всегда любила… большие серьги. У меня длинные волосы, так что, возможно, это необходимо. Т Самое большое заблуждение о том, как хорошо одеваться как матери… состоит в том, что это как-то тщеславно или эгоистично, или показывает отсутствие участия в ваших детях. Правильный наряд заставляет меня чувствовать себя… ясной головой, творческой и уравновешенной. Больше всего на меня повлияли… Амелия Эрхарт и Шер из 1970-х. Эти два совершенно противоположны, но мне нужны оба. Я никогда не надену… Угги. Или кроксы.
Рие Аоки
27; танцор Первого государственного театра балета Уилмингтона; блогер Rie Victoria Aoki
Фотография Джиллиан Гайетт.
Я родом из … Япония. Если есть тенденция, то все носят только это.
Филадельфия и Америка в целом более свободны. Они носят здесь все, что хотят. Я не считаю себя… слишком девчачьей или слишком милой. Я красивее, современнее. Я ношу все свои трусы… с высокой талией. Во мне пять футов один метр, и я хочу выглядеть выше. Самые значимые вещи в моем шкафу… — дизайнерские вещи от моей бабушки. Вот почему я люблю моду. На весну покупаю… еще костюмов.
Сабир М. Пил
32 года, блоггер и консультант по стилю Men’s Style Pro
Фотография Джиллиан Гайетт.
Я люблю мужской стиль… но я не модный человек. Я не собираюсь носить прозрачную целлофановую куртку только потому, что это волна. То, что я делаю, находит отклик… , потому что я учу людей, как максимально эффективно использовать свои вещи. Я мог взять один костюм, разобрать его и носить каждый день. Вы не можете говорить жителям Филадельфии … как одеваться.
Вы можете поехать в Нью-Йорк, сказать, что это атмосфера, и они это сделают, но в Филадельфии атмосферу создают люди. Самая значимая вещь, которая у меня есть… — мое кольцо на мизинец в виде пчелы Дэвида Юрмана. Если вы посмотрите «Фамильный герб Пил», на всех итерациях есть шмель. Девиз: «Индустрия». Мы рабочие.
Milan Rouge
29, основатель одежды Milano Di Rouge
Фотография Джиллиан Гайетт.
Я родом из … Мантуя. Преступлений так много, что многие из них даже не попадают в новости. Я действительно не видел… слишком много женщин, делающих что-то. Я просто хотел доказать, что я могу это сделать. Я не просто продаю одежду… Я продаю сообщение. Суть в том, что наркотики — не единственный способ есть. Новый мошенник — предприниматель. Я новый мошенник. Вы видели мои рисунки на … Мик Милл, Кеке Палмер, Рик Росс и Дидди. Ты действительно умеешь шикариться… спортивные штаны.
Наденьте их с боди, мехом, добавьте высокие каблуки. Люди не осознают… Филадельфия — город моды. Мы все стремимся хорошо выглядеть, независимо от того, сколько денег у нас в кармане.
Э. М. Риккини
27, менеджер по маркетингу электронной коммерции; блогер Lark & Lace
Фотография Джиллиан Гайетт.
Я люблю… Серж Генсбур и все его музы. Эти пышные волосы, стреловидная подводка для глаз, облегающие, но свободные джинсы… это то, к чему я всегда стремилась. Филадельфия — это… определенно стиль города, в котором я собираюсь заниматься своими делами. Бодипозитив… для меня большое дело. Я помню, как надела джинсы в средней школе и заплакала, потому что не была похожа на Бритни Спирс. Мои самые гордые модные моменты… — это когда я бросаю вызов ожиданиям общества относительно того, как женщины должны выглядеть в платье с открытой спиной, и просто надеваю это чертово платье.
Вторник Гордон Гейнс
60, менеджер/покупатель Rittenhouse’s Joan Shepp
Фотография Джиллиан Гайетт.
Я работаю в Shepp… уже 20 лет. Мой любимый дизайнер… — Дрис Ван Нотен. Шляпа… может изменить весь ваш образ. Люди относятся к вам по-разному: мужчины откроют двери; люди молодые и старые будут улыбаться вам. Цвет … меня радует. Когда я пришел в Shepp, я сказал Джоан: «Я не могу творить в черном». Я цветная женщина, и я должна носить цвет. Думаю, Филадельфия… стремительно растет. Я вижу большое разнообразие и открытость к идеям. Даже в магазине у нас больше одежды унисекс.
Эдвард Гиеда III
40; музыкант; бармен/диджей/мастер на все руки в Philly’s the Barbary and Foto Club
Фотография Джиллиан Гайетт.
Я одеваюсь … в соответствии с тем, что слушаю во время тренировки. Я начал бегать марафоны… шесть лет назад.
Я пока набрал 12. Впоследствии я стал этим татуированным бегуном, которого знает каждый в городе. Мой образ… сплав музыкальных субкультур. Я люблю 60-е и 70-е, модов, грубых парней и панк-рокеров, особенно Дэвида Боуи и Игги Попа. Мое большое событие моды было … фотосессия, которую я сделал для Diadora. Объявление находится на автобусных остановках и в магазине Philadelphia Runner. Филадельфийский стиль — это… рабочий и утилитарный взгляд на моду. Я думаю, пройдет очень много времени, прежде чем Филадельфия изменит свою идентичность.
Фотография Джиллиан Гайетт. Уход за Алайной Рейкс. Опубликовано как «Новые отпрыски стиля» в феврале 2019 г.выпуск журнала Philadelphia .
Удаление и осаждение пыльцы медоносными пчелами и шмелями Посетители цветов яблони и миндаля на JSTOR
журнальная статья
Удаление и осаждение пыльцы медоносными пчелами и шмелями, посетившими цветы яблони и миндаля Джеймс Д.
Томсон и Карен Гуделл
Journal of Applied Ecology
Vol. 38, № 5 (октябрь 2001 г.), стр. 1032-1044 (13 страниц)
Опубликовано: Британское экологическое общество
https://www.jstor.org/stable/827241
Прочитайте и загрузите
Войдите в свою школу или библиотеку
Альтернативные варианты доступа
Для независимых исследователей
Читать онлайн
Читать 100 статей в месяц бесплатно
Подписаться на JPASS
Неограниченное чтение + 10 загрузок
Артикул для покупки
18,00 долл. США — Загрузить сейчас и позже
Чтение онлайн (бесплатно) основано на сканировании страниц, которое в настоящее время недоступно для программ чтения с экрана. Чтобы получить доступ к этой статье, обратитесь в службу поддержки пользователей JSTOR. Мы предоставим копию в формате PDF для программы чтения с экрана. С помощью личного аккаунта вы можете читать до 100 статей ежемесячно за бесплатных .
Уже есть учетная запись? Войти
Ежемесячный план- Доступ ко всему в коллекции JPASS
- Читать полный текст каждой статьи
- Загрузите до 10 статей в формате PDF, чтобы сохранить их
- Доступ ко всему в коллекции JPASS
- Читать полный текст каждой статьи
- Загрузите до 120 статей в формате PDF, чтобы сохранить и сохранить
Приобрести PDF-файл
Купите эту статью за 18,00 долларов США.
Как это работает?
- Выберите покупку вариант.
- Оплатить с помощью кредитной карты или банковского счета с PayPal.
- Прочитайте свою статью в Интернете и загрузите PDF-файл из электронной почты или своей учетной записи.

Предварительный просмотр
Предварительный просмотр
Резюме 1. Чтобы помочь оценить ценность альтернативных опылителей в сельском хозяйстве, мы представляем теоретическую основу для сравнения эффективности двух или более опылителей путем измерения удаления и осаждения пыльцы. 2. Мы сообщаем данные об удалении и осаждении пыльцы Apis mellifera и Bombus spp. во время разовых посещений четырех сортов яблок (Golden Delicious, Starkrimson Delicious, Empire/MacIntosh и Rome) и миндаля Mission. 3. Apis и Bombus удалили одинаковое количество пыльцы с цветков яблони, но Bombus отложил больше пыльцы на рыльцах. Пчелы, собирающие пыльцу, удаляют больше пыльцы с пыльников яблони, чем пчелы, собирающие нектар. Apis, которые приближались к нектарникам сбоку, откладывали значительно меньше пыльцы, чем другие посетители. 4. Apis и Bombus удалили и отложили одинаковое количество пыльцы с цветков миндаля. Апис, как правило, удалял больше во время посещений для сбора пыльцы, чем для сбора нектара.
Тип искомого ресурса существенно не повлиял на осаждение. 5. Основываясь на данных об удалении и осаждении, добавление Bombus может увеличить доставку пыльцы в яблоневые сады, но уменьшить доставку пыльцы в миндальные сады, если Apis уже служат основными опылителями. Необходимы дополнительные данные о перелетах между деревьями и между рядами, чтобы знать, насколько эти изменения в переносе пыльцы могут повлиять на оплодотворение. 6. Показатели эффективности переноса пыльцы не дают полной оценки ценности опыления, но могут служить общим и недорогим инструментом для предварительного отбора возможных альтернативных опылителей.
Журнал прикладной экологии публикует новые статьи, в которых применяются экологические
концепции, теории, модели и методы управления биологическими ресурсами
в самом широком их смысле. Редакторы поощряют публикации, в которых используются прикладные
экологические проблемы для проверки и развития базовой экологической теории, хотя
должен быть четкий потенциал для улучшения управления.
В журнал включены все основные
темы прикладной экологии: природоохранная биология, глобальные изменения, экологические
загрязнение, управление дикой природой и средой обитания, землепользование и управление, водные
ресурсы, восстановление экологии и борьба с вредителями, сорняками и болезнями.
Статьи, взаимодействующие со смежными областями, приветствуются при условии, что их
отношение к прикладной экологии очевидно. Более подробная информация доступна на сайте www.journalofappliedecology.org.
JSTOR предоставляет цифровой архив печатной версии The Journal.
прикладной экологии. Электронная версия Журнала
Прикладная экология доступна по адресу http://www3.interscience.wiley.com/journal/1179.72213/дом.
Авторизованные пользователи могут иметь доступ к полным текстам статей на этом сайте.
Британское экологическое общество — гостеприимный и открытый дом для всех, кто интересуется экологией. Общество было основано в 1913 году и насчитывает более 6000 членов по всему миру, объединяя людей в региональном, национальном и глобальном масштабах для развития экологической науки.



Для удобства окно, через которое будет выходить результат помола, лучше оборудовать рукавом, чтобы ничего не разбрасывалось в стороны.
Лучше когда оно оснащено рукавом, для предотвращения разбрасывания.







При этом зазор между ними настолько мал, что попадающее сырье не просто сминается, а за счет большой скорости дробится в пыль. Преимущества таких устройств по сравнению с другими состоит в возможности дробления зерна с высокой влажностью.
Высокая скорость перемалывания обеспечивает высокую производительность получения готовой продукции, соответственно будет и высокой эффективность от использования такой установки. Такие установки можно считать оптимальным решением для крупных хозяйств. Для домашней работы довольно установки с низкой или средней скоростью обработки сырья.

Если расположить молотки в плоскостях, которые параллельны между собой, дробление будет более интенсивным.