Молот ковочный – Кузнечный молот – виды, устройство и принцип работы
alexxlab | 03.09.2019 | 0 | Вопросы и ответы
Молот кузнечный МА 4129
Молот кузнечный «МА-4129»
Молот кузнечный «МА-4129» предназначен для выполнения пластической деформации нагретых заготовок в процессе ковочных работ. На нём можно выполнять следующие операции:
- вытяжка;
- осадка;
- гибка;
- пробивание или прошивание отверстий;
- рубки.
Конструкция молота
Молот «МА-4129» имеет литой корпус из стали и чугуна, который надежно предохраняет внутренние узлы станка от повреждений и попадания пыли и мусора.
Схема пневматического кузнечного молота «МА-4129А» представлена на рисунке.

Узлы ковочного молота «МА-4129А»:
1. Станина — МА4129А-11-001СБ;
2. Привод — МА4129-21-001СБ;
3. Управление — МА4129-41-001СБ;
4. Ограждение — МА4129-71-001СБ;
5. Маслопровод — МА4129-81-001СБ;
6. Электрооборудование — МА4129-91-001СБ.
Кузнечный молот состоит из следующих функциональных узлов:
- электрическое оборудование;
- станина;
- ограждение;
- система маслопровода;
- механизм привода;
- падающие части:
- баба;
- верхний подвижный боек;
- шток;
- поршень;
- шабот с зафиксированным на нём нижним неподвижным бойком (на него устанавливается обрабатываемая заготовка).
Принцип действия кузнечного молота
Пневматический кузнечный молот «МА-4129» имеет два цилиндра: компрессионный и рабочий. Поршень компрессорного цилиндра соединён с электродвигателем посредством:
- кривошипно-шатунного механизма с шатуном;
- редуктора;
- клиноременной передачи.
Поршень рабочего цилиндра соединяется с бабой (она является его частью).
Кривошипно-шатунный механизм, который получает движение от электродвигателя через клиноременную передачу, сообщает возвратно-поступательное движение поршню компрессора. Компрессорный и рабочий цилиндры молота соединены друг с другом каналами. Взаимосвязь цилиндров и контакт с атмосферой осуществляется посредством кранов. Управление этими регуляторами осуществляется педалью или рукояткой управления.
Технические параметры
Технические параметры пневматического кузнечного молота «МА-4129А» представлены в таблице.
| Наименование параметра, размерность | Величина параметра |
| Энергия удара, кДж, не менее | 1,55 |
| Номинальная масса падающих частей, кг | 80 |
| Частота ударов в минуту | 220±10% |
| Размеры зеркала бойков длина/ширина, мм | 130±0,5/63±0,37 |
| Габаритные размеры молота в плане ширина/длина, мм | 830±10/1560±20 |
| Наибольшая высота над уровнем пола, мм | 1900±25 |
| Масса молота в сборе, кг | 3190 |
| Частота тока, Гц | 50 |
| Мощность эл. двигателя, кВт | 5,5 |
| Напряжение питающей сети, В | 220/380 |
Технология эксплуатации кузнечного молота
Ковка на пневматическом кузнечном молоте «МА-4129А» представляет собой высокотемпературную обработку различных металлов, которые нагреваются до своей ковочной температуры, °С:
- железо 800…1250;
- медь 650…1000;
- титан 900…1690;
- алюминиевые сплавы 400…480.
Универсальность и надежность кузнечного ковочного молота «МА-4129» дают возможность использовать его в кузнечных цехах на предприятиях современного машиностроения самого разного профиля в единичном и серийном производстве. Рассматриваемое оборудование не рекомендуется использовать для штамповки в закрытом штампе. Связано это с тем, что возможно разрушение станины молота или буксы, вызванное эксцентричными и жесткими ударами.
Достоинства кузнечного молота
Пневматический кузнечный молот «МА-4129А» имеет следующие достоинства:
- простое управление;
- возможность регулировки энергии (силы) удара;
- хорошие энергетические показатели;
- большое количество наносимых за минуту ударов. Это позволяет максимально использовать энергию нагрева заготовки;
- открытая рабочая зона позволяет работать на ковочном молоте «МА-4129» с трех сторон;
- не нуждается в сложном уходе;
- простые эксплуатация и обслуживание;
- устойчивая конструкция станины.
Разделы: Молот кузнечный
kovka-svarka.net
Молот кузнечный пневматический Российского производства



Механический ковочный молот с пневмоприводом характеризуется высокой производительностью и используется для обработки заготовок из железа, титана, алюминия и различных сплавов. Материал для обработки давлением нагревается до определенной температуры. Процесс создания металлических поковок осуществляется путем горячей объемной ковки.
Кузнечный пневматический молот имеет широкое распространение и используется для проведения широкого спектра технологических операций в условиях среднесерийного и мелкосерийного производства. Применение пневмомолота, позволяет проводить:
- осадку,
- горячую рубку металла. Производится способом свободной ковки на вырезных и плоских бойках,
- прошивку отверстий,
- протяжку.
Ковочно-штамповочный молот имеет эргономичную конструкцию, которая удобна в эксплуатации за счет доступа к станку с трех сторон. Молот ковочный пневматический обладает большим количеством достоинств, в том числе большая частота ударов, точное дозирование металла и максимально эффективное использование теплоты заготовки.
Конструкция
Стандартный пакет комплектации двухцилиндрового пневматического кузнечного молота составляет станина, на которой расположены все ключевые узлы и детали:
- падающие части: баба с бойком, соединяемая с поршнем и штоком;
- привод, в составе которого электрический двигатель, редуктор, шатун, клиномерная передача и кривошипно-шатунный механизм;
- центральный маслопровод;
- нижний боек, прикрепленный к плите, на котором фиксируется заготовка;
- компрессорный цилиндр, производящий обработку воздуха, который поступает из окружающей среды;
- рабочий цилиндр с поршнем, присоединенным к бабе или являющимся ее частью.
Принцип действия
Воздух поступает в рабочий цилиндр, где за счет возвратно-поступательных движений компрессорного поршня подвергается попеременному сжатию и расширению. При перемещении поршня компрессора вниз баба поднимается, опускаясь обратно, когда поршень движется вверх. Одноцилиндровые молоты оснащены цилиндром, в котором совершаются движения компрессорного и рабочего поршней.
Российское производство
Представленные ковочно-штамповочные молоты производятся в России. Высокое качество продукции регламентировано государственными стандартами.
Чтобы купить пневматический ковочный молот или узнать подробности о комплектации или цене оборудования, обратитесь в наше представительство в Москве, позвонив по телефону +7(3537)34-13-33.
Характеристики
В таблице ниже Вы можете ознакомиться со всеми моделями кузнечных ковочных молотов, которые производит Орский станкостроительный завод.
| Модель молота: | Масса падающих частей, кг | Число ударов бойка в минуту | Расстояние от оси бабы до станины, мм | Ход бабы (наибольший), мм | Габаритные размеры, мм | Масса, кг, не более |
| МА4129 | 80 | 210 | 385 | 1566х790х1900 | 3100 | |
| МА4132 | 160 | 196 | 350 | 390 | 1860х930х2160 | 5210 |
| МА4134 | 250 | 155 | 420 | 560 | 2710х1200х2450 | 7900 |
| МА4136 | 400 | 142 | 530 | 640 | 3020х1320х2700 | 13000 |
| МА4140 | 1000 | 103 | 800 | 900 | 4400х1780х3570 | 36000 |
orskstanzavod.ru
Молоты ковочные
Оборудование для кузнечных работ – является оборудованием, область применением которого – это кузнечно-штамповочное производство. Любое предприятие, в котором существует потребность в обработке металла методом горячей ковки, используют кузнечные молоты. Принцип работы кузнечного молота-преобразование механической энергии подающих частей в ударную массу.
Основным параметром кузнечных молотов-масса падающих частей(МПЧ). Кузнечный молот модели МА 4127А МПЧ 60кг, идеальный молот для декоративного, художественного ремесла, совмещает в себя универсальность, компактность, высокую частоту ударов, небольшой вес и низкую стоимость. Молот ковочный МА4127А идеальный молот для небольших кузнечных мастерских. Молот модели МА4129А МП4 80 кг, предназначен для горячей объемной штамповки поковок, протяжки, осадки, прошивки отверстий, горячей рубки металла методом свободной ковки на плоских фасонных бойках. Молот МА 4129А мощный, надежный и простой в эксплуатации, не требует специального фундамента, т.к. шабот молота смонтирован непосредственно на станине молота. Отличная управляемость и простота обслуживания, возможность точно и с разной силой производить удары, позволяет считать молот модели МА 4129А самым востребованным и универсальным молотом из линейки молотов выпускаемых Машиностроительным Предприятием «ПромСтройМаш».
Молота ковочные моделей МА4132А, МА4134А и самый мощный МА4136А, относятся к молотам общепромышленным, обладают мощными энергетическими свойствами, требуют специальные фундаменты и относятся к группе сложного оборудования, требующие для работы специально обученных специалистов. Ковочные молоты данных моделей не рекомендуются применять для штамповки в запретных штампах, так как жесткие и эксцентричные удары при штамповке приводят к поломке бабы, буксы или станины молота.
Оптимальный выбор модели ковочного молота, задача технических специалистов завода в тесном сотрудничестве с покупателем. Машиностроительным Предприятием “ПромСтройМаш” ведется постоянная работа по улучшению качества выпускаемых кузнечных молотов, снижению цены и удовлетворению всех запросов наших потенциальных заказчиков оборудования.
www.stanki-zavod.ru
МА4129А молот ковочный пневматический кузнечныйСхемы, описание, характеристики
Производитель молота ковочного пневматического кузнечного МА4129А – Астраханский завод кузнечно-прессового оборудования, основанный в 1931 году. Завод был переименован в Астраханский машиностроительный завод по выпуску кузнечно-прессового оборудования “АКМА” и с 25.05.2015 Акционерное общество “АКМА”.
Продукция завода:
- молот ковочный пневматический МА4127, МА4128, МА4129А, МА4132, МД4134
- прессы однокривошипные открытые простого действия наклоняемые
- прессы однокривошипные открытые простого действия ненаклоняемые
Станки, выпускаемые Астраханским заводом кузнечно-прессового оборудования
МА4129А молот ковочный пневматический. Назначение, область применения
Молот ковочный пневматический МА4129А с массой падающих частей 800 кг предназначен для различных работ: протяжки, осадки, прошивки отверстий, горячей рубки металла, кузнечной сварки, гибки металла и т. д. методом свободной ковки на плоских и фасонных бойках.
Работа в закрытых штампах не допускается, так как жесткость и эксцентричность удара при штамповке может привести к поломке бабы, буксы или других деталей молота.
Общий вид ковочного молота МА4129А

Фото ковочного молота ма4129а

Фото ковочного молота ма4129а

Фото ковочного молота ма4129а. Вид сзади
МА4129А Расположение составных частей ковочного молота

Расположение составных частей молота ма4129а
Перечень составных частей ковочного молота МА4129А:
- Станина – МА4129А-11-001СБ
- Привод – МА4129-21-001СБ
- Управление – МА4129-41-001СБ
- Ограждение – МА4129-71-001СБ
- Маслопровод – МА4129-81-001СБ
- Электрооборудование – МА4129-91-001СБ
Устройство и работа ковочного пневматического кузнечного молота МА4129А и его составных частей
Рабочий и компрессорный цилиндры молота соединены между собой каналами. Взаимосвязь цилиндров между собой и цилиндров с атмосферой достигается с помощью кранов, положение которых устанавливается рукояткой управления или педалью. Энергоносителем для работы служит сжатый воздух, вырабатываемый в компрессорном цилиндре “с” (см. рис.1).
Попадая через каналы в рабочий цилиндр “в”, сжатый воздух приводит в движение бабу “а”, которая, нанося удары по поковке, производит работу.
Возвратно-поступательное движение поршню компрессора сообщается кривошипно-шатунным механизмом, получающим движение от электродвигателя через клиноременную передачу.
Схема кинематическая ковочного молота МА4129А

Кинематическая схема ковочного молота ма4129а
Буферное устройство и воздухопополнение ковочного молота МА4129А

Буферное устройство и воздухопополнение молота ма4129а
- I – баба
- II – клапан обратный
Буферное устройство ковочного молота МА4129А
Для предотвращения ударов бабы I о верхнюю крышку рабочего цилиндра предусмотрено буферное устройство (рис.2).
При подъеме бабы до кромки “С” канала “В” оставшийся между поршнем и крышкой воздух (полость “Д”) образует буфер, препятствующий удару бабы о крышку и ускоряющий ее возврат, из крайнего верхнего положения.
Обратный клапан П предупреждает зависание бабы в верхнем крайнем положении и перегрузку компрессора молота. Клапан препятствует выходу воздуха при образовании буфера, однако он немедленно отрывается, если давление воздуха в полости “Д” станет ниже, чем в канале “В”.
Воздухопополнение ковочного молота МА4129А
Воздухопополнение происходит снизу через внутреннюю полость поршня компрессора, окно “F” в поршне компрессора (см. рис.2), отверстие “G” в штоке поршня и отверстие “Е” в цилиндре компрессора. Последнее, совмещаясь в крайним верхнем и нижнем положениях поршня, последовательно сообщает верхнюю и нижнюю полости компрессора с атмосферой.
Уплотнение штока бабы и поршня компрессора молота МА4129А

Уплотнение штока бабы и поршня компрессора молота ма4129а
- букса бабы
- букса компрессора
- сухари и сегменты
- планка направляющая
- пружина
- кольцо уплотнительное
- экспандер
“а” – зазор
Баба фиксируется от вращения направляющими планками 4, вмонтированными в её буксу (рис.З). Для уплотнения штока бабы в буксе I сделана кольцевая выточка, в которой монтируются сегменты и сухари 3, стягиваемые пружиной 5: По мере износа штока бабы, а также сухарей и сегментов зазор “а” уменьшается, но может быть восстановлен запиловкой торцов сегментов. Для уплотнения штока поршня компрессора в буксе компрессора сделана кольцевая выточка, в которой монтируется уплотнительное кольцо 6, из материала ЛАМ1, стягиваемое экспандером 7.
Крепление пальца шатуна молота МА4129А

Крепление пальца шатуна молота ма4129а
Крепление пальца шатуна молота МА4129А
- палец
- кольцо пружинное
- подшипник игольчатый
- верхняя головка шатуна
Крепление пальца верхней головки шатуна Палец (I) шатуна (рис.4) удерживается от осевого перемещения пружинными кольцами (2).
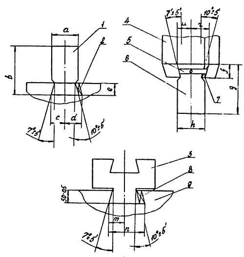
Установочные размеры бойков молота МА4129А

Установочные размеры бойков молота ма4129а
- боек нижний
- клин нижнего бойка
- подушка
- баба
- планка
- боек верхний
- клин верхнего бойка
- клин подушки
- шабот
Схема электрическая ковочного молота МА4129А

Электрическая схема ковочного молота ма4129а
Электрооборудование молота МА4129А
Электрооборудование молота состоит из электродвигателя, кнопочной станции с кнопками “Пуск” и “Стоп”, шкафа электроуправления и токоподводящего кабеля.
Указания по монтажу и эксплуатации электрооборудования молота МА4129А
Электродвигатель крепится к подмоторной плите и устанавливается в нише станины. Шкаф электроуправления и кнопочная станция располагаются недалеко от молота, со стороны рукоятки управления, на стене или стоике в вертикальном положении с отклонением от вертикали не более +5.
В шкафу управления размещена электроаппаратура, элементы которое соединены между собой монтажными проводами в соответствии с принципиальной и монтажной электросхемами. Рукоятки выключателей выведены на крышку шкафа. Вводной пакетный выключатель может быть заменен автоматическим.
Шкафы электроуправления, поставляемые с молотом, выпускаются на номинальное напряжение 360 В с цепью управления на 36 В переменного тока частотой 50 Гц. По особому заказу они могут быть изготовлены на другие напряжения силовой цепи и цепи управления о частотой тока 60 Гц.
Перед установкой надо открыть шкаф специальным ключом и произвести следующие работы:
- удалить защитную смазку
- проверить надежность затяжки болтовых соединений
- освободить магнитные системы реле и пускателей от стопорных приспособлений, одетых перед транспортировкой
Изготовление плотницкого топора на молоте
Работа на 3-х тонном молоте
Технические характеристики ковочного молота МА4129А
| Наименование параметра | МА4132 | МА4129 | МА4129А |
|---|---|---|---|
| Основные параметры молота | |||
| Номинальная масса падающих частей, кг | 160 | 75 | 60 |
| Энергия удара, не менее, кДж (кГс*м) | 3,3 (330) | 1,55 (155) | 1,55 (155) |
| Наибольший ход бабы, мм | 460 | 385 | 365 |
| Частота ударов, 1/мин | 210 | 210 | 220 |
| Расстояние от оси бабы до станины (вылет), мм | 340 | 300 | 280 |
| Расстояние от зеркала нижнего бойка до нижней кромки боксы бабы (Высота рабочей зоны в свету), мм | 360 | 370 | 260 |
| Размеры зеркала верхнего бойка, мм | 75 х 190 | 63 х 130 | 63 х 130 |
| Расстояние от зеркала нижнего бойка до уровня пола, мм | 800 | 800 | 800 |
| Оптимальное сечение квадратной заготовки, мм | 80 х 80 | 60 х 60 | 60 х 60 |
| Оптимальный диаметр круглой заготовки, мм | 90 | 80 | 80 |
| Электродвигатель, кВт | 15 | 7,5 | 7,5 |
| Габарит и масса молота | |||
| Габарит молота (длна х ширина х высота), мм | 930 х 1860 х 2160 | 1566 х 790 х 1900 | 830 х 1860 х 1900 |
| Масса молота, кг | 3540 | 3100 | 3190 |
Полезные ссылки по теме
Каталог справочник кузнечных молотов
Паспорта кузнечных молотов
Справочник деревообрабатывающих станков
Справочник КПО
Купить каталог, справочник, базу данных: Прайс-лист информационных изданий
stanki-katalog.ru
Установка кузнечного молота, фундамент – Ковка, сварка, кузнечное дело
Установка кузнечного молота на фундамент выкладывается на сайте «kovka-svarka.net» по запросу одного из посетителей. Если у вас есть вопросы или требуются уточнения по теме «установка кузнечного молота» или «фундамент для кузнечного молота», напишите в комментариях, и мы ответим на полях сайта в ближайшее время.
Фундамент молота – это не только опора. Кроме всего прочего, он принимает на себя нагрузки, возникающие при непосредственной эксплуатации молота. Качество фундамента влияет не только на увеличение межремонтных периодов в процессе эксплуатации молота. Возникающая при низком качестве повышенная вибрация пола помещения, отрицательно сказывается на работоспособности расположенных рядом приборов и оборудования, а также — здоровье обслуживающего персонала (повышается утомляемость и т. п.).
Конструкция фундамента
Конструкция фундамента зависит от многих факторов. Во всех случаях, устанавливать кузнечный молот следует строго в соответствии с «Инструкцией по эксплуатации» (раздел «Установка» или подобный) вашей модели оборудования. Его следует монтировать на фундаменте, который строится в соответствии с конструкторской документацией в сопроводительной документации. В ней прописываются:
- глубина заложения;
- площадь подошвы;
- необходимость армирования фундамента и многие другие требования.
Обратите внимание, что все требования устанавливаются разработчиками в зависимости от качества грунта, уровня грунтовых вод и других местных условий. Поэтому, правильно оцените вашу ситуацию.
Это наглядно отражено в прилагаемом видеоролике. В целом ряде случаев монтаж фундамента не представляет особых трудностей. Например, ковочный пневматический молот «МА-4129» необходимо просто установить на штатные подставочные амортизационные подушки (виброгасители) прямо на бетонный пол и вибрация распространяться не будет.
В случае отсутствия у вас документации на конструкцию фундамента, предлагаем воспользоваться нашими рекомендациями. Сначала познакомим вас, вкратце, с тем, что предстоит построить.
Классификация фундаментов для молотов
Фундаменты изготавливаются в виде массивных железобетонных блоков. Они делятся на;
- опорные. Они предназначены для восприятия статических и небольших динамических нагрузок;
- шаботные. Эти блоки предназначены для восприятия ударных, т. е. больших динамических нагрузок. Фундамент такой конструкции воспринимает всю энергию удара.
Шаботные фундаменты, в свою очередь, делятся на:
- жесткие. Этот тип фундамента подразделяется на следующие подтипы:
- сплошные;
- раздельные;
- ленточные.
Работает такой тип фундамента следующим образом. Смещение шабота молота (он установлен на жесткий фундамент) во время нагрузочного цикла удара приводит к упругой деформации подшаботной прокладки и, соответственно, грунта под фундаментом. Но в течение последующего (разгрузочного) цикла потенциальная энергия упругой деформации (прокладки и почвы) переходит в кинетическую. Таким образом, возникают колебания фундамента, создающие упругие волны. Распространяясь в грунте, они вызывают его неравномерное уплотнение и вибрации соседнего оборудования;
- виброизолированные. Эти фундаменты изготавливаются подвесными, опорными и подвижными. В указанных конструкциях массивный железобетонный блок или непосредственно шабот изолированы, что значительно снижает вибрации.
Следует уделить должное внимание выбору типа фундамента для вашей модели оборудования. Помните, что качество фундамента влияет не только на работоспособность молота, но и на состояние и работу другого оборудования, расположенного поблизости. А, кроме того, непосредственно на здоровье рабочих, находящихся в непосредственной близи от работающего станка.
Рассмотрим несколько вариантов конструкций фундамента молота
Для молотов пневматического и одностоечного ковочного типа фундамент строится по одной и той же технологии: он создаётся сплошным для стойки станины и шабота. Под станину, а так же под шабот, предусматривается подкладка деревянных брусьев, на которые, в свою очередь, устанавливается фундаментная плита. А на нее, впоследствии, крепят и саму станину. Деревянные брусья служат неким амортизатором. В результате, вибрации, разрушающие железобетон под шаботом, гасятся.
Для молота типа «двухстоечный ковочный» используется конструкция из двух частей: одна из них — под крепление стойки станины, другая — для шабота.
Сплошной фундамент уступает двухкомпонентному по следующим причинам:
- парораспределительные механизмы и сама станина получают гораздо меньше вибраций;
- масса фундамента под станиной значительно снижается. По этой причине себестоимость такого фундамента ощутимо ниже.
Одностоечные молоты, так же как и двухстоечные штамповочные, устанавливаются на фундаментный блок, именуемый оплошным. Такой блок оборудуют углублениями под укладку деревянных брусьев, так называемых подушек. С учётом новых технологий под железобетонную массу фундамента осуществляется установка виброизоляторов для непосредственного гашения возникающих вибраций. В качестве виброгасителей для молотов малой мощности можно применять тарельчатые и мощные кольцевые пружины.

Фундамент двухстоечного молота

Фундамент для одностоечного молота
Рекомендации
1. Рекомендуем посмотреть видеоролик «Фундаменты под оборудование».
2. Не советуем устанавливать молот на резиновые прокладки.
3. На вибрацию при ударе влияет техническое состояние молота и систем управления. Поэтому, следует регулярно проверять и вовремя менять: кольца, уплотнители, краны и т. д.
Желаем успехов!
Разделы: Кузница, Молот кузнечный
Метки: видео, Ковка- основыkovka-svarka.net
МА4132 молот ковочный пневматический кузнечныйСхемы, описание, характеристики
Производитель молота ковочного пневматического кузнечного МА4132 – Астраханский завод кузнечно-прессового оборудования, основанный в 1931 году. Завод был переименован в Астраханский машиностроительный завод по выпуску кузнечно-прессового оборудования “АКМА” и с 25.05.2015 Акционерное общество “АКМА”.
В настоящее время продукция завода поставляется как на местный рынок, так и в страны ближнего и дальнего зарубежья
Продукция завода:
- молот ковочный пневматический МА4127, МА4128, МА4129А, МА4132, МД4134
- прессы однокривошипные открытые простого действия наклоняемые
- прессы однокривошипные открытые простого действия ненаклоняемые
МА4132 молот ковочный пневматический. Назначение, область применения
Машина ма4132 разработана в 1982 году и серийно выпускалась с 1985 года. Разработчик Астраханский завод кузнечно-прессового оборудования.
Молот ма4132 должен соответствовать ГОСТ 712-82 Молоты ковочные пневматические. Основные параметры и размеры.
Молот ковочный пневматический МА 4132 с массой падающих частей 160 кг предназначен для протяжки, осадки, прошивки отверстий, горячей рубки металла, кузнечной сварки, гибки металла и т. д. методом свободной ковки на плоских и фасонных бойках.
Работа в закрытых штампах не допускается, так как жесткость и эксцентричность удара при штамповке может привести к поломке бабы, буксы или других деталей молота.
Общий вид ковочного молота МА4132

МА4132 Расположение составных частей ковочного молота

Перечень составных частей ковочного молота МА4132:
- Станина – МА4132-11-001СБ
- Шабот – М132А-12-001СБ
- Привод – МА4132-21-001СБ
- Управление молотом – МА4132А-41-001СБ
- Ограждение – МА4132-71-001СБ
- Система смазки – М4132А-81-001СБ
- Электрооборудование – М4132А-91-001СБ
Спецификация деталей ковочного молота МА4132:
- Букса бабы – М4132-11-107К ВЧ50 ГОСТ7293-85
- Букса компрессора – М4132-11-113К АЧВ-2 ГОСТ1585-85
- Поршень компрессора – М4132-11-112К ВЧ60 ГОСТ7293-85
- Планка – МА4132-11-114 АЧВ-2 ГОСТ1585-85
- Сегмент – М4132-11-115К АЧВ-1 ГОСТ1585-85
- Сухарь – М4132-11-116к АЧВ-1 ГОСТ1585-85
- Кольцо разрезное – М4132-11-106 АЧВ-2 ГОСТ1585-85
- Кольцо поршневое – М4132-11-424 Сталь 35 ГОСТ1050-74
- Баба – М4132А-11-406к Сталь 40ХН ГОСТ4543-71
- Палец – М4132-11-412к Сталь 20Х ГОСТ4543-71
- Боек верхний – М4132-11-407 Сталь 5ХНМ ГОСТ5950-73
- Боек нижний – М4132-12-401А Сталь 5ХНМ ГОСТ5950-73
- Заглушка – М4132-11-422 Сталь 45 ГОСТ1050-74
Устройство и работа ковочного пневматического кузнечного молота МА4132 и его составных частей
Рабочий и компрессорный цилиндры молота соединены между собой каналами. Взаимосвязь цилиндров между собой и цилиндров с атмосферой достигается с помощью кранов, положение которых устанавливается рукояткой управления или педалью. Энергоносителем для работы служит сжатый воздух, вырабатываемый в компрессорном цилиндре “с” (см. рис.1).
Попадая через каналы в рабочий цилиндр “в”, сжатый воздух приводит в движение бабу “а”, которая, нанося удары по поковке, производит работу.
Возвратно-поступательное движение поршню компрессора сообщается кривошипно-шатунным механизмом, получающим движение от электродвигателя через клиноременную передачу.
Схема кинематическая ковочного молота МА4132

Буферное устройство и воздухопополнение ковочного молота МА4132

I – баба
II – клапан обратный
Буферное устройство ковочного молота МА4132
Для предотвращения ударов бабы I о верхнюю крышку рабочего цилиндра предусмотрено буферное устройство (рис.2).
При подъеме бабы до кромки “С” канала “В” оставшийся между поршнем и крышкой воздух (полость “Д”) образует буфер, препятствующий удару бабы о крышку и ускоряющий ее возврат, из крайнего верхнего положения.
Обратный клапан П предупреждает зависание бабы в верхнем крайнем положении и перегрузку компрессора молота. Клапан препятствует выходу воздуха при образовании буфера, однако он немедленно отрывается, если давление воздуха в полости “Д” станет ниже, чем в канале “В”.
Воздухопополнение ковочного молота МА4132
Воздухопополнение происходит снизу через внутреннюю полость поршня компрессора, окно “F” в поршне компрессора (см. рис.2), отверстие “G” в штоке поршня и отверстие “Е” в цилиндре компрессора. Последнее, совмещаясь в крайним верхнем и нижнем положениях поршня, последовательно сообщает верхнюю и нижнюю полости компрессора с атмосферой.
Уплотнение штока бабы и поршня компрессора молота МА4132

Уплотнение штока бабы и поршня компрессора молота МА4132
- букса бабы
- букса компрессора
- сухари и сегменты
- планка направляющая
- пружина
- кольцо уплотнительное
- экспандер
“а” зазор
Баба фиксируется от вращения направляющими планками 4, вмонтированными в её буксу (рис.З). Для уплотнения штока бабы в буксе I сделана кольцевая выточка, в которой монтируются сегменты и сухари 3, стягиваемые пружиной 5: По мере износа штока бабы, а также сухарей и сегментов зазор “а” уменьшается, но может быть восстановлен запиловкой торцов сегментов. Для уплотнения штока поршня компрессора в буксе компрессора сделана кольцевая выточка, в которой монтируется уплотнительное кольцо 6, из материала ЛАМ1, стягиваемое экспандером 7.
Крепление пальца шатуна молота МА-4132

Крепление пальца шатуна молота МА-4132
- палец
- кольцо пружинное
- подшипник игольчатый
- верхняя головка шатуна
Крепление пальца верхней головки шатуна Палец (I) шатуна (рис.4) удерживается от осевого перемещения пружинными кольцами (2).
Установочные размеры бойков молота МА-4132

- боек нижний
- клин нижнего бойка
- подушка
- баба
- планка
- боек верхний
- клин верхнего бойка
- клин подушки
- шабот
Установочные размеры бойков молота МА-4132, мм
- a = 85
- b = 165
- c = 40
- d = 52
- e = 35..0,5
- f = 35..0,5
- g = 165
- h = 86
- u = 40+0,17
- l = 52
- m = 625
- n = 1
Электрооборудование молота МА-4132
Электрооборудование молота состоит из электродвигателя, кнопочной станции с кнопками “Пуск” и “Стоп”, шкафа электроуправления и токоподводящего кабеля.
Указания по монтажу и эксплуатации электрооборудования молота МА-4132
Электродвигатель крепится к подмоторной плите и устанавливается в нише станины. Шкаф электроуправления и кнопочная станция располагаются недалеко от молота, со стороны рукоятки управления, на стене или стоике в вертикальном положении с отклонением от вертикали не более +5.
В шкафу управления размещена электроаппаратура, элементы которое соединены между собой монтажными проводами в соответствии с принципиальной и монтажной электросхемами. Рукоятки выключателей выведены на крышку шкафа. Вводной пакетный выключатель может быть заменен автоматическим.
Шкафы электроуправления, поставляемые с молотом, выпускаются на номинальное напряжение 360 В с цепью управления на 36 В переменного тока частотой 50 Гц. По особому заказу они могут быть изготовлены на другие напряжения силовой цепи и цепи управления о частотой тока 60 Гц.
Перед установкой надо открыть шкаф специальным ключом и произвести следующие работы:
- удалить защитную смазку
- проверить надежность затяжки болтовых соединений
- освободить магнитные системы реле и пускателей от стопорных приспособлений, одетых перед транспортировкой
Изготовление плотницкого топора на молоте
Работа на 3-х тонном молоте
Технические характеристики ковочного молота МА-4132
| Наименование параметра | МА-4132 | |
|---|---|---|
| Основные параметры молота | ||
| Энергия удара, не менее, кДж (кГс*м) | 3,3 (330) | |
| Номинальная масса падающих частей, кг | 160 | |
| Частота ударов, 1/мин | 210 | |
| Расстояние от оси бабы до станины (вылет), мм | 340 | |
| Высота рабочей зоны в свету, мм | 360 | |
| Размеры зеркала верхнего бойка, мм | 75 х 190 | |
| Расстояние от зеркала нижнего бойка до уровня пола, мм | 800 | |
| Наибольший ход бабы, мм | 460 | |
| Оптимальное сечение квадратной заготовки, мм | 80 х 80 | |
| Оптимальный диаметр круглой заготовки, мм | 90 | |
| Электродвигатель, кВт | 15 | |
| Габарит и масса молота | ||
| Габарит молота (длна х ширина х высота), мм | 930 х 1860 х 2160 | |
| Масса молота, кг | 3540 |
Полезные ссылки по теме
Каталог справочник гидравлических и механических листогибочных прессов
Паспорта и руководства по эксплуатации гидравлических и механических листогибочных прессов
Справочник деревообрабатывающих станков
Справочник КПО
Купить каталог, справочник, базу данных: Прайс-лист информационных изданий
stanki-katalog.ru
Молот ковочный паровоздушный | мтомд.инфо
Паровоздушные ковочные молоты двойного действия разделяют на одностоечные и двухстоечные, а последние – на молоты арочного и мостового типа.
Типовая конструкция паровоздушного ковочного молота с двухстоечной станиной показана на рисунке, а. Основными узлами молота являются станина 1, цилиндр 2, подвижные части 3, шабот 4, система управления 5 и система смазки.
Станину молота образуют две стойки: правая 6 и левая 7, связанные подцилиндровой плитой 8. Внизу стойки прикреплены болтами 9 к фундаментным плитам 10, которые стянуты двумя тягами 11. В средней части, где крепят направляющие бабы 13, стойки соединены между собой дополнительными стяжками 12, что увеличивает жесткость станины в поперечном направлении. Регулировка направляющих осуществляется с помощью клиньев 14, регулировочных болтов 15 и гаек 16.
Молот штамповочный паровоздушный
Паровоздушный молот. Принцип действия. Классификация.
К подвижным частям молота (рисунок, б) относятся баба 3, втулка 18, шток 19, поршень 20 с поршневыми кольцами 21, верхний боек 22, шпонка 23 и клин 25. Конусное соединение штока и бабы осуществляется с помощью разрезной втулки 18 и латунной или медной прокладки 24.
Шток молота изготовляют из высококачественной хромистой, хромоникелевой или углеродистой стали и подвергают термической обработке. Соединение штока с поршнем осуществляется конусной посадкой с последующей расклепкой штока; крепление верхнего бойка – с помощью клина 25 и шпонки 23.
Паровоздушный ковочный молот

а – общий вид; б – подвижные части; в – цилиндр молота
Главным рабочим узлом молота является цилиндр 2 (рисунок, в). Внутри него находится поршень 20 со штоком 19. Сверху цилиндра установлен паровоздушный предохранительный цилиндр 26 с поршнем 27; этот цилиндр предохраняет крышку от возможных жестких ударов поршня 20 (труба 28 присоединяется к магистрали пара или воздуха). В цилиндр запрессована втулка 29 из термически обработанного чугуна. При ее износе ее заменяют на новую. В приливе цилиндра расположена парораспределительная коробка, в которой смонтированы золотник 30 и дроссель 31.
Фундаменты молотов. Конструкции фундаментов.
В патрубках парораспределительной коробки с помощью нажимных фланцев смонтированы подводящая 32 и выпускная 33 трубы.
Движение подвижных частей осуществляется под действием пара или сжатого воздуха на поршень. Поступая по каналу I (рисунок, в), пар действует на поршень сверху, заставляя подвижные части двигаться ускоренно и развивать кинетическую энергию, большую чем энергия свободного падения. Из нижней полости цилиндра пар по каналу II выходит в выпускную трубу.
Если свежий пар подается в нижнюю полость цилиндра, то он, действуя на кольцевую площадь поршня, поднимает подвижные части вверх.
Для уменьшения утечек пара или воздуха предусмотрены регулируемые сальниковые уплотнения 34. Уплотнительным материалом служит асбестовая плетеная набивка. В последнее время вместо набивки применяют манжетные уплотнения, что повышает надежность и увеличивает срок службы этого узла.
Конденсат, образующийся в цилиндре при работе молота, стекает в выхлопную трубу.
Шабот 4 молота представляет собой массивную с плавными переходами отливку из чугуна или стали, масса которой в 15 раз больше массы подвижных частей. В шаботе (рисунок, а) посредством клина и сухаря крепится подушка, в которой с помощью клина и шпонки закреплен нижний боек. Для удобства транспортировки шабот снабжен специальными приливами.
Управление ковочными молотами – ручное с автоматической отсечкой впуска и выпуска пара или воздуха. Автоматическая отсечка достигается воздействием специального саблеобразного рычага 17 (рисунок, а) на золотник через систему рычагов при скольжении сабли по наклонной плоскости бабы. Паровоздухо-распределительное устройство ковочного молота включает цилиндрический золотник и дроссель, управление которыми осуществляется рычагами через систему тяг. В молотах применяется комбинированная система смазки: централизованная от индивидуального насоса с электродвигателем для смазки цилиндра, золотника и дросселя и индивидуальная для смазки шарнирных соединений в системе рычагов управления и направляющих бабы. Насос с электродвигателем установлены на специальной стойке рядом с молотом.
Молоты устанавливают на железобетонных фундаментах. Глубина заложения фундамента, площадь подошвы и необходимость армирования фундамента устанавливают в зависимости от качества грунта, уровня грунтовых вод, близости расположения другого оборудования, для которого нежелательны сотрясения, и других факторов.
Прокладки под шабот и фундаментные плиты изготовляют из строганных брусьев сухой древесины твердых пород (дуба, бука). Для предохранения шабота ковочных молотов от смещения по прокладке между шаботом и стенками фундамента прокладывают брусья из древесины твердых пород. Молот крепят к фундаменту анкерными болтами.
Ковочные паровоздушные молоты двойного действия предназначены для изготовления поковок свободной ковкой, а также для штамповки в подкладных штампах. Масса подвижных частей этих молотов составляет 0,5-5 т. Наибольшая масса поковок, обрабатываемых на молоте с массой подвижных частей 5 т, составляет 750 кг для фасонных поковок и 1500 кг для гладких валов. Основные параметры ковочных паровоздушных молотов двойного действия регламентируют по ГОСТу 9752-81.
www.mtomd.info
