Настольно сверлильный – цены, инструкция, фото, видео и отзывы
alexxlab | 03.08.2019 | 0 | Вопросы и ответы
Настольно-сверлильный станок 2м112: краткая характеристика, положительные качества
Непосредственным производителем и продавцом настольного станка 2м112 является ПромСтройМаш. Машиностроительное предприятие находится в Оренбурге. Предприятие выпускает более 50 видов различного оборудования. Завод поставляет свою продукцию во все регионы России, в Беларусь и Казахстан. Кроме того, оборудование успешно поставляется в Бангладеш, Индию, Литву и Эстонию. Продукция завода, в силу своей надежности и приемлемой цены, пользуется большим спросом. Станок марки 2м112 — не исключение.
Применение сверлильного станка
Благодаря компактным размерам, он вполне пригоден для установки на столешницу слесарного верстака. Более чем приемлемое качество и технические характеристики делают этот станок лидером среди отечественных и зарубежных производителей. Серийное производство данного изделия было начато в далекие восьмидесятые. За долгое время существования спрос на него не падает, а даже растет. Большую популярность бурильный агрегат имеет среди небольших производственных цехов и частных заведений. Также станок широко применяется в школьных мастерских профессиональной ориентации.
Настольный сверлильный станок 2м112 без труда выполнит ряд технических функций. К таким операциям относятся:
- сверление отверстий;
- нарезание внутренней и внешней резьбы;
- рассверливание;
- развертывание.
Станок 2м112 имеет возможность переключения скоростного режима вращения рабочего вала, что, в свою очередь, изменяет скорость вращения сверла и самого процесса сверления. Это достигается путем легкой перестановки приводного ремня на соседние шкивы.
Главным достоинством агрегата 2м112 является простота конструкции
. Она обеспечивает высокую надежность в работе и легкое управление. Небольшие размеры и сравнительно небольшой вес агрегата позволяют при необходимости без особого труда переставлять или передвигать его на новое место.Технические характеристики
Главным показателем всех бурильных изделий является номинальная величина проделанного отверстия. Согласно паспортным данным станка 2м112, заявленная номинальная величина (диаметр) проделанного отверстия — 12 мм. Таких возможностей с избытком хватает для нужд небольших частных мастерских, но на крупных заводских площадках пользуются сверлами гораздо большего размера. Это может достигаться тремя способами:
- За счет увеличенного патрона. В большинстве случаев применяют именно этот метод.
- За счет специальных переходников под сверла более крупного диаметра. Этот метод в силу его трудоемкости применяют редко.
- За счет специальных сверл. Диаметр хвостовой части таких сверл меньше диаметра самого сверла.
По паспортным данным, патрон имеет скорость вращения от 450 до 4500 об/мин. При этом скорость можно изменять при помощи 5 ступеней. На сверлильном агрегате вмонтирован шпиндель В-18. Расстояние от него до поверхности стола может изменяться в пределах 0−400 мм.
Особенности устройства
Несмотря на сравнительно малые размеры и невысокую мощность изделия 2м112, допускается частая и длительная работа агрегата. Высокие характеристики станка достигаются за счет простых конструктивных решений, которые обеспечивают большую эффективность работы агрегата.
Основными деталями станка является шпиндельная бабка, которая двигается с помощью отдельного устройства в вертикальном направлении по колонне. Оно фиксируется на ней особым устройством, которое действует в качестве зажима. Электромотор передает крутящий момент системе шкивов, которые, в свою очередь, через вал соединены с патроном. Система шкивов обеспечивает разную мощность и скорость вращения патрона. Специальный кожух закрывает систему шкивов и всего привода. Плита служит опорой для колонны. Верхняя часть плиты выполняет функцию рабочего стола.
О достоинствах и недостатках
Для высокой защиты от разнообразных повреждений и поломок завод-изготовитель собрал все важные узлы и механизмы в цельный чугунный корпус. В устройстве агрегата для дополнительного удобства работы встроена функция освещения рабочего стола и зоны обработки.
Выпуск изделия начался в давние восьмидесятые. Хотя и прошло с тех пор не одно десятилетие, популярность агрегата не поубавилась. Он и по нынешний день пользуется большим спросом на крупных предприятиях и мелких частных мастерских. Модель 2м112 очень высоко ценят специалисты данного профиля за его надежность, легкость в управлении и хорошие характеристики.
Даже если станок 2м112 дал полный сбой в работе и восстановлению не подлежит (что само по себе крайне редкое явление), пользователи ищут аппарат такой же модели. Китайские аналоги хотя и дешевле, но их качество зачастую сильно страдает, а европейское оборудование на порядок дороже.
Благодаря высокой надежности и хорошему ресурсу, сверлильный станок 2м112 способен отлично справляться с тяжелыми условиями работы бесперебойной эксплуатации.
Простота конструкции делает возможным самостоятельный ремонт и не вызовет особых сложностей. В нынешнее время можно без проблем найти нужные запчасти и комплектующие. Так что с ремонтом никаких проблем не возникнет.
Мощности двигателя вполне хватает как для производственных организаций, так и для мелкого частного предприятия. Учитывая сравнительно доступную цену и крайне высокую надежность за счет большого ресурса, становится понятно, откуда такая высокая популярность у разработанного еще в прошлом веке станка.
tokar.guru
Настольный сверлильный станок: виды, инструкция по изготовлению
Настольный сверлильный станок не всегда необходим в домашней мастерской, однако, если он есть, то большую часть ремонтных и отделочных работ будет выполнить гораздо проще.
Настольно-сверлильный станок вполне можно сделать своими руками, но перед этим нужно понять, как устроен этот аппарат и какие его разновидности (вертикально-сверлильный, радиально-сверлильный, горизонтальный, с ЧПУ и пр.) бывают.
Об этом вы сможете узнать из статьи.

Также вам будет дана инструкция, как собрать самодельный аппарат для работы по металлу и какие детали для этого потребуются.
Инструкция поможет вам разобраться в работе устройств и выбрать такое, которое более подходит для вас.
Виды и назначение станков
Самодельный настольн0-сверлильный станок с ЧПУ или другой модели требуется в доме в тех случаях, когда нужный размер отверстия невозможно сделать обычной дрелью.
Также станки часто используют для работ по металлу: изготовления печатных плат с отверстиями маленького диаметра.
В этом случае выполнять работу дрелью неудобно, поскольку диаметр отверстий получится слишком большим, однако, если у вас есть самодельный мини-станок, то справиться с ней будет несложно.
Несмотря на функциональность, стоимость вертикально-сверлильных и прочих разновидностей станков достаточно высока, поэтому лучше сделать аппарат своими руками.
Видео:
Сверлильный станок необходим, в первую очередь, чтобы делать сквозные и глухие отверстия в металле или другом материале.
Кроме того, такие станки эффективны во фрезеровке, шлифовке поверхностей, наклонно-торцевой или горизонтальной фрезеровке.
Каждый станок должен иметь необходимые детали для возможности функционирования: он должен быть оборудован зенкером, сверлом, метчиком, разверткой и другими деталями.
Также аппарат можно оснащать дополнительными элементами, позволяющие, например, делать отверстия более крупного диаметра, растачивать или точно притирать отверстия.
Существует несколько типов станков (с ЧПУ, радиально-сверлильный, вертикально-сверлильный), которые используются как в промышленном производстве, так и в частных и домашних мастерских.
Это может быть одно или многошпиндельный полуавтомат, вертикально-сверлильный станок, координатно-расточный, радиально-сверлильный, горизонтально-расточный или алмазно-расточный аппарат.
На покупных устройствах модель обозначается сочетанием чисел и букв.
В этом случае по первой цифре можно определить группу, к которой относится станок (вертикально-сверлильный, радиально-сверлильный, с ЧПУ и т.д.), а по следующим цифрам определить его разновидность, размер его и заготовки, которую можно обрабатывать на этом станке.
Настольный сверлильно-фрезерный станок может быть специальным или универсальным в зависимости от возможностей и области его применения.
В массовом производстве широко используются станки, оснащенные сверлильной головкой и другими деталями, упрощающими массовое производство и обработку заготовок.
Для домашнего использования подходят аппараты с более простой конструкцией, однако и сделать их своими руками гораздо проще.
Но некоторые детали должны иметь даже самодельные станки для их успешной работы.
Устройство станка
Вертикально-сверлильный, радиально-сверлильный, мини-станок, с ЧПУ и прочие модели обязательно должны иметь передаточный механизм, двигатель, орган управления и рабочие орган, которые делают возможным процесс работы по металлу или другой поверхности.
Механизм передачи нужен для переноса движения на рабочий орган от электрического мотора. Рабочий орган приводит в движение сверло, закрепленное к патрону и насаженное на шпиндель.
Шпиндель вращается за счет электричества, подаваемого двигателем. Самодельные станки имеют возможность поворачивать патрон рукоятки, а сверло может опускаться и подниматься благодаря наличию реечной передачи.
Видео:
Внешняя часть вертикально-сверлильных, радиально-сверлильных, мини-аппаратов с ЧПУ, а также устройств повышенной точности оснащена кнопкой для выключения и включения двигателя.
В целом, каждый, даже самый сложный станок повышенной точности, устроен довольно просто: он включается с помощью крайней кнопки.
Кнопок на передней части обычно две, и от них зависит, каким образом будет вращаться шпиндель. А выключается устройство с помощью средней красной кнопки.
На основании станка закреплен в вертикальном положении колонный винт. При помощи поворота рукояти шпиндельная бабка перемещается вверх и вниз.
Вторая рукоять станка нужна для того, чтобы остановить бабку и зафиксировать ее в нужном положении. С помощью шкал легко можно контролировать, насколько глубокими получаются глухие отверстия.
Тип сверления выбирается в зависимости от того, будете ли вы работать по металлу или другому материалу.
В соответствии с типом заготовки нужно подобрать подходящую частоту движения шпинделя.
Таким образом устроены вертикально-сверлильные, радиально-сверлильные, мини-устройства ЧПУ и другие станки для частного производства, на крупных предприятиях же используют более совершенные их аналоги, имеющие схожий принцип работы.
Как сделать станок?
Самодельные станки ЧПУ широко распространены как в домашних мастерских, так и в небольшом частном производстве, поскольку сделать их своими руками гораздо дешевле, чем приобрести готовое устройство, но в то же время не так сложно, чтобы с этим мог справиться только профессионал.
Вертикально-сверлильный, радиально-сверлильный, станок-ЧПУ и другие модели будут очень полезны в ремонтных и других работах по металлу.
Видео:
Собрать станок своими руками часто можно из уже имеющихся у вас в доме или гараже деталей, что значительно снижает расходы на его создание.
Станок из дрели
Проще всего своими руками собрать сверлильный станок из старой дрели.
Для такого мини-аппарата требуется стойка, для изготовления которой очень хорошо подойдет ДСП, листовой металл или доска.
Лучше использовать более плотный материал, поскольку для качественной работы устройства обязательно, чтобы станок мог поглощать вибрации дрели.
Держатель и основание должны образовать при соединении прямой угол – это обязательно для правильной работы аппарата.
Закрепить дрель легче всего двумя хомутами, при этом в пространство между частями нужно положить прокладку, сделанную из резины.
Дрель фиксируют на доску, двигающуюся параллельно направляющим, прикрепленным к ней и другой доске, которая во время работы не двигается. Доска приходит в движение благодаря рычагу, который также установлен на ней.
Обычно при изготовлении своими руками на устройство устанавливают брусок, который способен ограничивать движение рычага во время работы.
Установить доску, которая не двигается, на горизонтальную трубу можно с помощью фланца.
Перед этим горизонтальная труба должна быть установлена на вертикальную, а сделать это можно с помощью угольника.
Брусок, ограничивающий движение рычага, также можно регулировать, тем самым меняя его высоту и глубину сверления по металлу или другому материалу.
Подвижная доска должна быть оснащена четырьмя отверстиями, которые необходимы для хомутов, которые будут фиксировать дрель.
Чтобы улучшить скольжение, на той стороне доски, которая находится напротив неподвижной доски, нужно зафиксировать узкие рейки, смазанные воском.
Видео:
Для повышенной прочности мини-станка дрель нужно зафиксировать не только хомутами, но и двумя стержнями.
При таком виде крепления сверло не будет иметь строго вертикальное положение, поэтому для повышенной точности на доске должна быть установлена еще одна рейка.
Станок из старой стиральной машинки
Более сложный и функциональный вариант вертикально-сверлильного, радиально-сверлильного, устройства с ЧПУ и другого мини-станка можно сделать с помощью мотора, принадлежащего стиральной машине.
Такой станок будет отличаться от мини-устройства более сложной механикой и типом электропривода.
Поскольку вес мотора стиральной машинки гораздо выше, вибрировать аппарат будет сильнее, при этом тряска будет увеличиваться аналогично удалению от стойки с двигателем.
Такая вибрация мешает качественной работе и может привести не только к нарушению точности, но и к деформации сверла.
Решить эту проблему можно двумя путями: либо сделать на станке с ЧПУ более устойчивую станину, чтобы сверло было опущено в привод, либо приблизить мотор к держательной стойке.
Второй вариант лучше, т.к. в этом случае в движении будет находиться только нужная для работы часть устройства, однако требует и больших усилий.
Чтобы установить мотор на радиально-сверлильном станке ближе, вам нужен будет шкив с ремнем, позволяющие отрегулировать быстроту вращения.
При таком способе устройства станка он хоть и будет вибрировать, но это не будет мешать качеству обработки деталей, а риск деформации сверла сводится практически к нулю.
Собрать станок с идеальной точностью своими руками почти невозможно, однако можно довести ее до максимально приближенного значения.
Подвижную часть станков такого типа делают с помощью осевого шестигранника, трубки нужного размера, кольца для зажима, подшипников и трубки, на которой имеется внутренняя резьба.
Шестигранник для правильной работы должен быть оборудован шкивом. Трубка должна быть пропилена на каждом торце для более качественного сцепления с шестигранником.
Вход на самодельные станки нужно делать плотным, лучше всего вбить его молотком. Если надевание ощущается слишком легким и не требует приложения усилий, то лучше выбрать более подходящую трубку.
Следующим шагом нужно набить кольцо и подшипники. Система регулировки станка включает надпиленную трубу и шестеренки, и напрямую влияет на качество работы устройства.
Видео:
Правильно собранное устройство должно иметь вертикальный поступательный ход. Сделать его довольно сложно: вам понадобятся схемы, чертежи и видео.
Если у вас нет опыта, то лучше остановиться на мини-станке из дрели, который может выполнять все основные виды сверлильных работ, а со временем мини-аппарат можно улучшить, добавив дополнительные детали.
rezhemmetall.ru
Настольный вертикально-сверлильный станок 2М112: технические характеристики, отзывы
Сверлильный станок 2М112, технические характеристики которого приведены ниже, имеет компактные размеры и широкий функционал. Это позволяет использовать его как настольное оборудование. Отличное соотношение цены и качества делает данный прибор популярным в различных промышленных отраслях, а также прямым конкурентом среди других отечественных и зарубежных аналогов. Рассмотрим его характеристики подробнее, а также отзывы потребителей.

Описание
Технические характеристики сверлильного станка 2М112 позволяют его отнести к оборудованию средней категории вертикально-сверлильного типа. Его производство было начато в 1980 году. За время серийного выпуска агрегат получил признание и популярность. Особенно он востребован в частных мастерских и на небольших производственных предприятиях. Основное предназначение рассматриваемого станка – это обучение молодых специалистов в школах и учебных заведениях технического направления.
Благодаря своему функционалу, агрегат может использоваться для следующих целей:
- Сверления отверстий различного диаметра.
- Рассверливания заготовок.
- Развертывания и зенкерования деталей.
- Выполнения внутренней резьбы.
Конструкционные особенности
Сверлильный станок 2М112, технические характеристики которого позволяют обрабатывать пластик, металл и древесину, имеет довольно простую конструкцию. В устройстве агрегата предусмотрена возможность корректировки скорости вращения рабочего патрона в пяти диапазонах. Данная опция обеспечивается при помощи изменения положения на шкивах соответствующей передачи. Глубина сверления при эксплуатации станка регулируется путем плоской шкалы либо упоров.

Простота конструкции является основным преимуществом аппарата, поскольку надежна и незамысловата в использовании. Компактные размеры и малый вес дают возможность транспортировать агрегат в любое подходящее место. Рассматриваемая техника может монтироваться на поверхности слесарного верстака, сверлильной колонны или тумбы.
Настольно-сверлильный станок 2М112: технические характеристики
Особенностью рассматриваемого агрегата является возможность регулировки диаметра просверливаемого отверстия. Согласно инструкции по эксплуатации, на станке можно проделывать гнезда диаметром до 12 мм. Этого диапазона вполне хватает для производства работ в домашних мастерских. На промышленных аналогах предусмотрен увеличенный диаметр вырабатываемых отверстий.
Ниже приведены технические характеристики сверлильного станка 2М112:
- Максимальный диаметр сверления – 12 мм.
- Перепад дистанции от оси шпинделя до стойки – от 0 до 400 мм.
- Вылет направляющего элемента – 190 мм.
- Ширина рабочей поверхности – 250 мм.
- Количество пазов – 3 штуки.
- Ход гильзы шпинделя – 100 мм.
- Число скоростей – 5.
- Максимальная оборотистость – до 4500 вращений в минуту.
- Тип привода – электрический двигатель мощностью 0,55 кВт.
- Длина/ширина/высота – 0,79/0,37/0,95 м.
- Вес – 120 кг.

Функциональность
Вертикально-сверлильный станок 2М112, технические характеристики которого приведены выше, согласно руководству по эксплуатации способен работать со скоростью до 4500 оборотов в минуту при 5 передачах. Шпиндель агрегата причисляется к классу В-18, регулируется от 0 до 40 сантиметров.
Минимальные габариты станка для удобной работы должны быть не менее 25 см, оборудованы Т-образными пазами, служащими для крепления детали или слесарных тисов. Удобство этого приспособления дополнительно заключается в возможности монтажа на специальную тумбу, что дает возможность сверления отверстий в торцах заготовок длиной до одного метра. За работоспособность агрегата отвечает электрический двигатель мощностью 550 Вт.
Невзирая на компактные габариты, сверлильный станок 2М112, технические характеристики, фото которого приведены в статье, рассчитан на длительную и интенсивную эксплуатацию. Во многом, это обусловлено простотой конструкции и высоким качеством материала изготовления.

Устройство и управление
Основные комплектующие элементы агрегата:
- Рабочая колонная для перемещения бабки со шпинделем.
- Зажимное устройство.
- Привод с электрическим мотором.
- Подъемный узел шпиндельной бабки.
- Основание в виде столешницы.
- Защитный кожух привода механизма.
- Бабка шпиндельного типа.
- Натяжительный узел для контроля упругости ремней.
- Кронштейн для фиксации основания колонны.
Технические характеристики и особенности сверлильного станка 2М112 обуславливают наличие в конструкции следующих элементов контроля и управления:
- Рукоять механической подачи шпинделя.
- Ручку для натяжения ремней.
- Специальный регулируемый фиксатор шпиндельной бабки на рабочей колонне.
- Кнопки управления, которые посредством электропривода запускают и останавливают привод двигателя.
- Рукоятку крепления подмоторной площадки.
Производитель рассматриваемого оборудования предусмотрел установку основных деталей в литом корпусе из чугуна, что позволило обеспечить надежную защиту узлов от механической деформации. Для большей комфортности при работе со станком предусмотрена система освещения рабочей зоны обработки.

Плюсы
Технические характеристики сверлильного станка 2М112, ремонт которого весьма прост, разработаны несколько десятков лет назад. Тем не менее, этот агрегат остается популярным до сих пор. Это обусловлено его надежностью, простотой исполнения и высокой точностью обработки, а также доступной ценой.
Для починки или замены элементов на отечественном рынке легко подобрать отечественные или китайские аналоги. Преимущества агрегата заключаются в следующих параметрах:
- Высокий рабочий ресурс, выносливость, возможность эксплуатации в различных климатических зонах.
- Простота обслуживания и эксплуатации оборудования, включая ремонт агрегата.
- Ремонтопригодность и доступность запасных частей.
- Мощности электрического двигателя хватает не только для школ и частных хозяйств, но и небольших производственных цехов.
Безусловно, что наряду с надежностью и практичностью, основным плюсом данного станка является приемлемая цена.

Недостатки
Как и любая техника, рассматриваемый аппарат имеет ряд минусов. Среди них пользователи отмечают такие моменты:
- Моральное устаревание прибора.
- Проигрыш агрегата в точности и качестве обработки современным моделям от других производителей.
- Пониженную эффективность отдачи и КПД при интенсивной работе.
- Кроме того, данный станок уступает по некоторым параметрам современным моделям, включая компактность и надежность, параллельно с простотой обслуживания.
Сверлильный станок 2М112: технические характеристики и отзывы
Параметры технического плана рассматриваемого оборудования приведены выше. Далее рассмотрим отзывы потребителей.
Как свидетельствуют отклики владельцев, данный инструмент, купленный в нормальном состоянии, вполне способен удовлетворить пожелания частных пользователей и небольших производственных предприятий. Несмотря на довольно большую массу и габариты, агрегат проявил себя преимущественно позитивно, особенно по сравнению с китайскими аналогами одной ценовой категории.
Более всего потребители отмечают надежность и практичность устройства, а также его ремонтопригодность. Пусть он слегка шумный и немного неудобен, однако рассчитан на многие поколения. При необходимости и аккуратной эксплуатации, подобный агрегат сможет проработать еще несколько десятков лет без особой модернизации.

Заключение
Вертикальный сверлильный настольный станок 2М112 определенно является одним из лидеров на отечественном рынке в своем классе. Соотношение цены, качества и простоты обслуживания – основные причины популярности данного агрегата среди населения. Кроме использования в школах и училищах, данное оборудование неплохо проявило себя на частных подворьях и небольших производствах. За три десятилетия существования рассматриваемый станок доказал свою работоспособность и практичность, даже по сравнению с более дорогими зарубежными аналогами.
fb.ru
Настольно-сверлильный станок 2М112 покоряет мир
Сверлильный настольный станок 2м112 применяется для создания отверстий различного диаметра в изделиях, выполненных из металла, дерева, пластика и других материалов. Среди ключевых операций, осуществляемых этим агрегатом, нужно выделить сверление, растачивание, рассверливание и зенкерование.
Эти машины отлично себя зарекомендовали как оборудование для небольших мастерских, в которых выполняются единичные операции или же объемы производства небольшие. Также их часто можно встретить в общеобразовательных школах и профессиональных училищах как машины для обучения. Там настольно-сверлильный станок 2м112 получил особое распространение.
Конструкция агрегата такова, что глубина создаваемого отверстия отсчитывается по особому круговому лимбу встроенного штурвала. Мастер имеет возможность выбрать одну из пяти дополнительных частот вращения, просто перекинув ремень на шкивах. Для многих очевидно, что конструкция 2м112 довольно проста и незатейлива. И в этой простоте скрывается важный плюс сверлильного станка, такой как легкость управления. Нельзя также не сказать о высокой надежности и долговечности этой модели, отмеченной большим числом профессионалов.
Машина типа 2м112 – это устройство настольного типа, которое отличается незначительными габаритами и массой в 120 кг. Эта модель очень мобильна и компактна. Ее можно легко при необходимости транспортировать в другой цех. Скромные размеры, которые составляют 795х370х950 миллиметров, позволяют установить ее на стандартном слесарном столе или специальной тумбе без лишних проблем.

Мы рассмотрели общие особенности. Теперь давайте углубимся в техническую составляющую.
Технические характеристики
Один из ключевых параметров сверлильного станка – предельный диаметр сверления. У 2м112 этот показатель составляет 12 мм., чего достаточно для осуществления большинства операций бытового и мелкосерийного характера.
Максимальный вылет шпинделя – 200 мм. Расстояние от плиты до нижнего конца шпинделя колеблется в пределах 20-400 мм. Конус шпинделя при этом соответствует классу В 18. Станок укомплектован пятью встроенными скоростями вращения, позволяющими подбирать оптимальный режим обработки конкретной заготовки или материала. Частота вращения режущего элемента колеблется в пределах 450-4500 оборотов в минуту.
Конструкцией сверлильного настольного станка 2м112 предусмотрена просторная рабочая область, размеры которой составляют 250х250 мм. Модель укомплектована мощным силовым агрегатом. Номинальная мощность мотора составляет 550 Вт.
Сверлильный станок 2м112 предназначен для мелкосерийного и серийного производства, несмотря на то, что активно используется в малых цехах. Он выдерживает агрессивный режим эксплуатации при длительной бесперебойной работе. Среди мастеров он зарекомендовал себя как высокопроизводительный и надежный. Все это стало реальным, благодаря особой конструкции этой сверлильной машины. Рассмотрим ее ключевые элементы и оценим их преимущества.
Конструкция станка
Конструкция 2м112 довольно простая. Ее базисными элементами являются колонна, несущая плита, механизм движения шпинделя, электрический мотор, устройство зажима, кронштейн, специальный кожух и система натяжения клиноременной передачи. Основными органами управления агрегатом являются: рукоять механической подачи шпинделя, рычаг натяжения клиновых ремней, фиксатор шпинделя, рукоять перемещения шпинделя по оси, а также кнопки управления электромотором и фиксатор плиты, расположенной под двигателем.

Шпиндель представляет собой надежную конструкцию, основой которой выступает литой корпус из высокопрочного чугуна. В этом элементе конструкции располагается шпиндельный узел, система натяжения ремней и система стационарного освещения рабочего пространства. Сзади шпиндель агрегируется с силовым агрегатом.
Преимущества и недостатки
Популярность настольно-сверлильного станка 2м112 в странах СНГ вполне объяснима. Во-первых, это оборудования поразительно дешевое по сравнению с немецкими и азиатскими агрегатами. Во-вторых, оно незамысловато в обслуживании и не требует особого ухода. К этой группе преимуществ стоит также отнести невероятную выносливость и ремонтопригодность 2м112. В-третьих, этот агрегат имеет встроенный мощный электродвигатель, который позволяет с его помощью выполнять широкий спектр операций. Таким образом, плюсы этой техники очевидны.

Но есть и минусы, среди которых наиболее явным считается моральное устаревание этой модели. Спроектированный еще советскими инженерами, этот сверлильный станок в плане эргономичности, точности и по ряду других параметров серьезно отстает от более современных детищ немецких, японских и других специалистов. Спектр его применения из-за этого ограничен, а производительность труда, как и следовало ожидать, невысока.
Имеет смысл обзаводиться станком 2м112 в том случае, когда вы не планируете нагружать его большим количеством работы или выполнять чересчур сложные операции. Для бытовых нужд и потребностей малых цехов этот агрегат подходит идеально. Но если вы намерены достигать максимально возможного результата – имеет смысл обратить внимание на более современные иностранные и отечественные аналоги, чьи эксплуатационные характеристики существенно превосходят вершины, «взятые» в свое время сверлильным настольным станком 2м112.
Рекомендуем почитать
prostostanok.ru
Настольно сверлильный станок 2а112
2А112 станок сверлильный настольный с вариатором. Паспорт, схемы, характеристики, описание

Производители настольно-сверлильного станка модели 2А112 – средние технические учебные заведения, имеющие свою производственную базу.
Станок предназначен для сверления отверстий и нарезания резьбы в мелких деталях из чугуна, стали, цветных сплавов и неметаллических материалов в условиях промышленных предприятий, ремонтных мастерских и бытовых мастерских.
Простота конструкции обеспечивает легкость управления, надежность и долговечность станков.
Вариатор – основная особенность сверлильного станка 2а112. Вариатор – механизм бесступенчатого регулирования скорости вращения шпинделя от 700 до 4000 об/мин при неизменной скорости вращения вала двигателя. Оригинальная конструкция натяжения ременной передачи позволяет не следить за натяжением ремня во время изменения скорости вращения шпинделя.
Отсчет глубины сверления производится по лимбу на валу рукоятки ручной подачи шпинделя.
Станки 2А112 позволяют выполнять следующие операции:
- сверление
- зенкерование
- развертывание
- рассверливание
Общий вид сверлильного станка 2А112




Кинематическая схема сверлильного станка 2А112

Спецификация составных частей сверлильного станка 2А112
- Ведомый шкив (вариатор)
- Пиноль шпинделя (шпиндельная гильза)
- Реечная шестерня для перемещения пиноли шпинделя
- Реечная шестерня для перемещения шпиндельной бабки (траверсы)
- Ведущий шкив
- Прижимная пружина
- Колонна с зубчатой рейкой длиной 308 мм
- Кронштейн крепления колонны к плите
- Шпиндельная бабка
- Зажимное устройство шпиндельной бабки на колонне
- Электропривод
- Плита (рабочий стол)
- Плита подмоторная
- Шпиндель
- Кожух приводного ремня
- Рукоятка ручной подачи шпинделя
- Рукоятка фиксации шпиндельной бабки на колонне
- Рукоятка для перемещения шпиндельной бабки по колонке
- Кнопки управления электродвигателем
- Гайка для регулирования скорости вращения шпинделя

Расположение органов управления сверлильного станка 2А112

Спецификация органов управления станка 2А112
Конструкция сверлильного станка 2А112
Привод главного движения осуществляется от электродвигателя ДПД22—4 или А09 через клиноременную передачу (текстропный ремень клинообразного профиля). Движение передается от ведущего шкива к ведомому и далее на шпиндель и инструмент.
Скорость вращения шпинделя бесступенчато регулируется при помощи гайки, расположенной под шкивом шпинделя. При выкручивании гайки через упорный подшипник увеличивается давление на нижнюю часть шкива-вариатора, диаметр шкива увеличивается, скорость вращения шпинделя умньшается. Натяжение приводного ремня при этом увеличивается, что приводит к тому, что половинки приводного шкива раздвигаются и диаметр шкива уменьшается, а натяжение реня остается постоянным.
Станок работает с ручной подачей. Подача осуществляется от рукоятки через реечную шестерню 3, пиноль 2 и радиально-упорный подшипник к ней. Высота шпиндельной бабки устанавливается рукояткой с реечной шестерней 4 и зажимается рукояткой зажима на колонне.
ВНИМАНИЕ!
Скорость переключать только на ходу.
Принцип работы вариатора сверлильного станка 2А112

На рисунке слева показан ведущий шкив сверху которого прижимная пружина в разрезе в разжатом и сжатом состоянии. Усилие прижимной пружины регулирует натяжение ремня.
Справа – ведомый шкив снизу которого упорный подшипник в разрезе. Упорный подшипник находится между нижней тарелкой шкива и круглой гайкой, регулирующей диаметр ведомого шкива.
Шпиндель с вариатором в сборе

Шпиндель с вариатором в сборе

Детали вариатора и шпинделя станка

Детали вариатора и шпинделя станка

Детали приводного шкива сверлильного станка 2А112

Верхний конец пружины упирается в дно стакана, навинченного на втулку, нижний конец упирается в штифт верхней тарелки составного шкива.
Нижняя тарелка шкива закреплена неподвижно на втулке, верхняя тарелка перемещается по втулке, в зависимости от силы натяжения ремня и настройки пружины, изменяя тем самым диаметр шкива.
Детали вариатора сверлильного станка 2А112

Пиноль и шпиндель сверлильного станка 2А112

Механизм подъема и опускания пиноли (гильзы шпинделя) в сборе

Механизм подъема и опускания пиноли состоит:
- Рукоятка ручной подачи шпинделя
- Реечная шестерня
- Втулка с возвратной пружиной
- Лимб
Детали механизм подъема и опускания пиноли (гильзы шпинделя)

Механизм подъема и опускания шпиндельной бабки

Детали механизм подъема и опускания шпиндельной бабки

Механизм зажима шпиндельной бабки на колонне

Электрооборудование и электрическая схема сверлильного станка 2А112

| Основные параметры станка | ||
| Наибольший диаметр сверления, мм | 12 | 12 |
| Наименьшее и наибольшее расстояние от торца шпинделя до стола | 0..400 | 0..400 |
| Расстояние от оси вертикального шпинделя до направляющих стойки (вылет), мм | 190 | 160 |
| Рабочий стол | ||
| Ширина рабочей поверхности стола, мм | 250 | 250 х 280 |
| Число Т-образных пазов | 3 | 1 |
| Шпиндель | ||
| Наибольшее перемещение шпиндельной головки (траверсы) по колонне, мм | ||
| Ход гильзы шпинделя, мм | 100 | 100 |
| Частота вращения шпинделя, об/мин | 450, 800, 1400, 2500, 4500 | 700..4000 |
| Количество скоростей шпинделя | 5 | б/с |
| Конус шпинделя | Морзе В18 | Морзе 2В |
| Привод | ||
| Электродвигатель привода главного движения, кВт | 0,55 | 0,5 |
| Габарит и масса станка | ||
| Габариты станка (длина ширина высота), мм | 795 х 370 х 950 | 700 х 300 х 800 |
| Масса станка, кг | 120 | 100 |
Связанные ссылки
Каталог справочник настольных сверлильных станков
Паспорта к настольным станкам
stanki-katalog.ru
Правила работы с напольно-сверлильным станком 2а112

Основное назначение сверлильного станка 2а112 — нарезание резьбы и сверление отверстий в чугунных, стальных изделиях и деталях, выполненных из цветных сплавов. Аппарат используется для сверления неметаллических изделий. Агрегат эксплуатируется в ремонтных мастерских, промышленных предприятиях и небольших мастерских.
Характеристика агрегата
Аппарат имеет следующие технические характеристики, которые содержит паспорт устройства:
- вес станка — 100 кг;
- длина, ширина и высота аппарата соответственно — 700*300*800 мм;
- количество пазов — 1;
- параметры поверхности рабочего стола — 251*280 мм;
- максимальное расстояние от стола до торца шпинделя — 40 см;• частота вращения шпинделя — 699-4000 оборотов/мин;
- промежуток от оси вертикального шпинделя до направляющих — 160 мм;
- показатель хода шпиндельной гильзы — 10 см;
- тип конуса шпинделя — Морзе 2В.

Паспорт станка указывает на отсутствие скоростей у его шпинделя. Агрегат оснащен электрическим двигателем, мощность которого составляет 0,5 кВт.
Назначение станка и его особенности
Аппараты 2а112 способны выполнять 4 вида операций:
- развертывание;
- сверловка;
- рассверливание;
- зенкерование.
Главной конструктивной особенностью станка является наличие в нем особого механизма — вариатора. Вариатор представляет собой устройство бесступенчатой регулировки скорости вращения шпинделя с учетом того, что скорость вращения двигательного вала остается без изменения.
Когда скорость вращения шпинделя изменяется, у оператора не возникает необходимости натягивать ремень. Это обусловлено наличием в конструкции аппарата системы натяжения ременной передачи. Агрегат относится к классу легких станков, на что указывает его паспорт.

Конструкция аппарата
Базовым элементом настольно-сверлильного станка является станина. Она представляет собой цельную литую конструкцию, сделанную из чугуна.
На рабочем столе аппарата располагается Т-образный паз. Он применяется для крепления тисков и других приспособлений, предназначенных для станка.
Сверлильный аппарат оборудован металлической колонной с рейкой. На рейке имеются нарезанные зубья, располагающиеся на внешней стороне самой колонны.
На агрегате имеется траверса, представляющая собой горизонтально расположенную цельную литую металлическую конструкцию, оборудованную конусом на конце. Высота от края конуса траверсы до поверхности рабочего стола составляет 400 мм.
Высоту расположения траверсы можно отрегулировать при помощи реечной шестерни, расположенной на ней. Внутри механизма находится прижим, за счет которого траверса фиксируется в определенном положении. Регулировка прижима производится при помощи рукоятки, расположенной с обратной стороны аппарата.
Вариатор агрегата устроен так, что половины шкива раздвигаются или сдвигаются путем вращения гайки. При этом происходит изменение рабочего диаметра шкива.
Натяжение ремня ременной передачи имеет постоянное значение. Оно обеспечивается механизмом, расположенным на валу электрического двигателя.
Вылет пиноли осуществляется при помощи маховика, установленного на траверсе.
Шпиндель агрегата имеет конус Морзе 2В, как указывает паспорт устройства. На шпинделе монтируется быстрозажимной патрон, требующий периодической замены.
Электрическое оборудование станка представлено электродвигателем переменного тока трехфазного типа. Двигатель работает при напряжении сети в 220 В и 380 В.
Принцип работы механизмов станка
Станок работает на электрическом двигателе через клиноременную передачу. От него осуществляется привод главного движения. Движение начинает передавать ведущий шпиндель к ведомому, после чего оно передается шпинделю и рабочему инструменту.
Гайка регулирует скорость вращения шпинделя. Она располагается под шкивом шпинделя.
Принцип работы состоит из этапов:
- через упорный подшипник выкручивается гайка;
- происходит увеличение давления на нижнюю часть вариатора;
- происходит увеличение диаметра шкива;
- попутно уменьшается скорость вращения шпинделя;
- половинки шкива раздвигаются из-за натяжения ремня;
- происходит уменьшение диаметра шкива при постоянном натяжении ремня.
Аппарат функционирует с ручной подачей. Она происходит от рукоятки сразу через несколько механизмов:
- пиноль;
- реечную шестерню;
- упорно-радиальный подшипник.

Рукояткой регулируется высота шпиндельной бабки. Она оснащена реечной шестерней. В процессе регулировки высоты бабки происходит ее зажим рукояткой, расположенной на колонне станка.
Правила работы
Сверлилка модели 2а112 требует соблюдения ряда правил перед началом работы и при выполнении операций на ней.
Требуется предварительная проверка прочности крепления сверла. В процессе работы необходим плавный подвод сверла к обрабатываемому изделию. Передача включается до момента соприкосновения сверла с обрабатываемым изделием. Подача уменьшается в процессе выхода сверла из образовавшегося в детали отверстия.
Удаление короткой стружки, наматывающейся на сверло, производится крючком. Длинная стружка удаляется только после остановки станка. Обслуживание аппарата предусматривает:
- замену масла в редукторе после 90 часов работы;
- удаление с электрического двигателя угольной пыли после 90 часов работы;
- полную очистку агрегата после каждого включения;
- после разборки и сборки аппарата требуется его проверка на электробезопасность;
- постоянный осмотр щеток и их замена, если высота составляет меньше 8 мм.
Видео по теме: Сверлильный станок 2А112
promzn.ru
IV-65 Инструкция по эксплуатац.сверл.станке 2А 112
ОТКРЫТОЕ АКЦИОНЕРНОЕ ОБЩЕСТВО «Нефтяная компания «ЛУКОЙЛ»
Общество с ограниченной ответственностью
«ЛУКОЙЛ – Экоэнерго»
(ООО «ЛУКОЙЛ-Экоэнерго»)
Краснополянская гидроэлектростанция
(наименование)
УТВЕРЖДАЮ:
Заместитель генерального директора –
Главный инженер
ООО «ЛУКОЙЛ-Экоэнерго»
__________В.Е. Подсвиров
«____» _______201_г
ИНСТРУКЦИЯ № 07.10
по эксплуатации сверлильного станка 2А112
Краснополянской ГЭС
Срок действия установлен:
с «___»____________________ 201_ г.
по «___»____________________201_г.
Срок действия продлен:
с «___»____________________ 20__г.
по «___»_____________________ 20__г.
Настоящая инструкция предназначена для ремонтного персонала СПС и сл. ЛЭП, и определяет порядок обслуживания и работы на сверлильном станке 2А 112 и машине ручной электрической ИЭ – 1022А.
Инструкцию должны изучить и пройти проверку знаний ее ремонтный персонал СПС и сл. ЛЭП, обученный и допущенный распоряжением по СПС к работам на сверлильном станке 2А 112 и машине ручной электрической ИЭ – 1022А.
С инструкцией должен быть ознакомлен ИТР СПС и сл. ЛЭП.
КРАТКАЯ ХАРАКТЕРИСТИКА СТАНКА И МАШИНЫ.
Настольно-сверлильный станок 2А 112:
Габаритные размеры в мм – 700 х 360 х 800
Рабочая поверхность стола мм – 280 х 250
Максимальный диаметр сверления мм – 12
Максимальный ход шпинделя мм – 100
Вылет шпинделя в мм – 160
Максимальное расстояние от конца шпинделя до стола мм – 400
Электродвигатель 4А х 71 П- 1500 об/мин., мощность 0,6 кВт.
Движение шпинделя осуществляется от электродвигателя через клиновидную ременную передачу.
Скорость резания без ступенчато регулируется с помощью гайки под ведомым шкивом.
Подача ручная.
МАШИНА РУЧНАЯ СВЕРЛИЛЬНАЯ ЭЛЕКТРИЧЕСКАЯ ИЭ – 1022А.
Габаритные размеры: в мм 405 х 205 х 146
Вес без кабеля кг. – 3,0
Электродвигатель мощность – 400 Вт., напряжение 220 В , частота 50 гц
Обороты шпинделя – 700 об/мин.
Наибольший диаметр сверла – 14 мм.
3. ПОДГОТОВКА НАСТОЛЬНО – СВЕРЛИЛЬНОГО СТАНКА И МАШИНЫ РУЧНОЙ ЭЛЕКТРИЧЕСКОЙ К РАБОТЕ, РАБОТА ИМИ И ИХ ОБСЛУЖИВАНИЕ.
К работе на сверлильном станке и ручной электрической машине допускаются специально обученные и проинструктированные рабочие.
Перед началом работы на станке и сверлильной машине необходимо убедиться в их исправности. Проверить соответствие напряжения сети, прочность затяжки всех резьбовых соединений, безотказность работы выключателя, состояние щеток и коллектора двигателя.
Проверяется прочность и надежное крепление установленного сверла или развертки, правильность их центровки, крепление детали подлежащей сверлению.
При работе на станке и ручной машине, режущий инструмент следует подводить к обрабатываемой детали постепенно, плавно без ударов. Передача должна быть включена до соприкосновения инструмента с деталью. При выходе сверла из отверстия необходимо уменьшить подачу. Перед остановкой станка инструмент обязательно отводится от обрабатываемой детали.
Наматывающаяся на сверло стружка должна отбиваться специальным крючком. При образовании длинной стружки, для ее снятия станок останавливается.
В случае заедания инструмента, поломки хвостовика сверла, метчика или развертки станок немедленно останавливается. Для удаления поломанного инструмента из отверстия предварительно удаляется стружка из канавок этого инструмента и отверстия смазываются (при сверлении стали – маслом, чугуна – керосином) и только после этого производится вытаскивание поломанного инструмента путем его вращения в обратную сторону с помощью специального приспособления или крючка.
При ослаблении сверла в патроне или провороте детали вместе со сверлом станок немедленно останавливается и производится дополнительное крепление сверла (детали).
Сверлильному станку и ручной сверлильной машине проводится следующее техническое обслуживание.
Очистка станка и машины после окончания работы на них.
Замена смазки в редукторе через 100 часов работы.
Осмотр щеток и замена их при высоте менее 8 мм.
Удаление угольной пыли с деталей электродвигателя через 100 часов работы.
После каждой разборки машины – (станка) необходимо производить испытание на электробезопасность.
ТРЕБОВАНИЯ ПРАВИЛ БЕЗОПАСНОСТИ.
Не допускать для использования на сверлильных машинах инструменты с забитыми, или использованными конусами и хвостовиками.
Не применять при работе патроны и приспособления с выступающими стопорными винтами, болтами и кулачками.
Под сверливание отверстий необходимо производить коротким сверлом.
При сверлении отверстий на наклонных плоскостях без кондуктора необходимо предварительно произвести фрезеровку площадки во избежание соскальзывания и поломки сверла.
При нарезке резьбы метчиком необходимо пользоваться безопасным патроном. Метчик надлежит смазывать кисточкой при остановленном станке.
При работе на станке не следует наклоняться близко к обрабатываемой детали, шпинделю и инструменту во избежание захвата волос и ранения лица и глаз стружкой.
ЗАПРЕЩАЕТСЯ:
Удерживать обрабатываемую деталь руками.
Сверление тонких пластинок, полос и других подобных деталей без крепления в специальных приспособлениях.
Смена крепления деталей во время работы станка.
Останавливать станок нажимом руки на шпиндель или патрон. Прикасаться к сверлу до полной его остановки.
Сдувать стружку ртом.
Дробить поломанные инструменты бородком, зубилом, керном.
Работать без защитных очков.
Ложить на стол и станину инструмент или другие предметы, производить разметку деталей на столе станка.
Производить полную или частичную разборку машины (станка) не отсоединив их от сети.
Переходить с одного участка на другой с работающей машиной.
Продолжать работу при обнаруженной неисправности машины (станка).
Оставлять машину (станок) без надзора включенными в сеть.
Работать с неисправной штепсельной вилкой, поврежденными кабелями и защитной трубкой, а так же с просроченным испытанием на электробезопасность.
Руководитель подразделения _____________ _______________
Подпись Ф.И.О.
«___»__________201_г.
Согласовано:
Начальник ПТО С.В. Воронцова
«___»__________201_г.
Начальник ОПБОТиЭ Б.М. Тарарин
«___»__________201_г.
Лист ознакомления
Инструкции________________________________________________________
_____________________________________________________________________
Должность | Подпись | Ф.И.О. | Дата ознакомления |
Соседние файлы в папке Инстр. по эксплуатации КПГЭС ЛУКОЙЛ-Эко(2011)
studfiles.net
2А112 – настольный сверлильный станок
2А112 – настольный сверлильный станок Интересуют несколько вопросов: был ли вариатор изначально на этом станке и тех.документацию где взять?Прикрепленные изображения
2А112 – настольный сверлильный станок2А112 вроде. Вариатор с рождения
2А112 – настольный сверлильный станокВариатор был и похоже на 1А112.
2А112 – настольный сверлильный станокТехник спасибо.А паспорт не могу найти.К вариатору пружинки не хватает,посмотреть бы какая она.
2А112 – настольный сверлильный станокПаспорта у нас нету, а станок есть у Дести
2А112 – настольный сверлильный станокБлин,нету циферку поставил,у меня тоже похожий в запасе стоит.
2А112 – настольный сверлильный станок А мою кто то сможет опознать ? Похожа , но есть отличия . Самый сложный вопрос , какой ремень нужен в вариатор ? 2А112 – настольный сверлильный станок Вдимо никто не знает . Ну хоть подскажите . Ремень там какой то специальный ? вариаторный ? По виду вполне обычный . 2А112 – настольный сверлильный станок Вообще-то для вариаторов, конечно вариаторные ремни. Но именно в этом станке, сколько видел, стояли обычные. Кроме уменьшения (может быть) диапазона регулирования, ничего страшного не будет. С уважением, Рон_Ол. 2А112 – настольный сверлильный станок Это именно вариаторный ремень даст уменьшение диапазона… Лучше поставить клиновый ремень с зубчиками – тише рабатает и позволяет работать на меньших диаметрах шкивов. 2А112 – настольный сверлильный станок Спасибо за ответы … Всё понятно , но обнаглею окончательно . Может кто то модель сверлилки знает ? И размер ремня для неё ? 2А112 – настольный сверлильный станокУв.magol не могли бы Вы сделать фото шкивов на движке.На моем похоже не хватает пружинки сверху.
2А112 – настольный сверлильный станоку меня сейчас всё разобрано , так что могу . Только какой шкиф надо ? Ведуший ?
2А112 – настольный сверлильный станокВедущий.Только на Вашем я тоже пружины не вижу или она с низу должна быть?
2А112 – настольный сверлильный станок на ведущем есть . Сегодня вечером отфоткаю . 2А112 – настольный сверлильный станок Обещанные фото Вид в сборе Пружина . Диаметр проволоки 2 мм . Пальцами не сжать . втулка под пружиной . Высота 20 мм 2А112 – настольный сверлильный станокrenkom большое спасибо за фотки.У меня этой пружины то и нет.Будем искать.
www.chipmaker.ru
i-perf.ru
Изучаем станок настольно сверлильный
Станок настольно-сверлильный представляет собой удобный электроинструмент, предназначенный для создания отверстий самого разного диаметра. Традиционный сверлильный станок настольного типа способен обрабатывать металл, пластик, дерево и другие материалы без особых проблем. Специфическая конструкция этого оборудования позволяет мастеру достигать максимальной точности во время обработки заготовки, с которой не сравнится ни зафиксированная на стойке обыкновенная дрель, ни какой-либо иной агрегат. Жесткость конструкции станка настольно-сверлильного исключает малейшие вибрации и другие помехи, которые могут негативно сказаться на конечном результате.

Конструкция стандартного станка, предназначенного для установки на рабочем столе, довольно проста. Она включает 3 ключевых элемента:
- Электропривод, оборудованный специальным патроном для сверл.
- Электрический двигатель повышенной мощности асинхронного типа. Такое оборудование применяется для того, чтобы продлить срок эксплуатации техники даже в том случае, если она подвергается серьезным испытаниям в цеху.
- Рабочий стол, предназначенный для установки тисков. Нередко стол комплектуется механизмами регуляции высоты.
Сверлильный станок настольный оснащается также рукояткой, регулирующей ход шпинделя. Во время обработки заготовка фиксируется на рабочем столе с помощью тисков или струбцин. Преимущественное большинство станков комплектуется специальным соплом, которое во время сверления подводит охлаждающие смазочные вещества. Наличие этой опции позволяет повысить точность сверления отверстия любых параметров и продлить срок службы инструмента в целом.
В процессе выбора подходящего оборудования мастер должен ориентироваться на такую важную характеристику как размер предельного условного диаметра сверления в металле. Немаловажными параметрами также считаются предельных ход шпинделя и его вылет. Стоит также обращать внимание на показатели скорости работы, наличие дополнительных опций и другие характеристики, которые для мастера принципиально важны.

Сегодня потенциальному покупателю рынок предлагает огромный выбор металлообрабатывающего сверлильного оборудования настольного типа. Всю технику этого рода можно разделить на три основные группы: радиально-, вертикально- и горизонтально-сверлильные машины. Рассмотрим подробно станок вертикально-сверлильный настольный, поскольку именно эта техника пользуется особым спросом среди мастеров.
Вертикально-сверлильный настольный станок функционирует по довольно простому принципу. Шпиндель с установленным в него инструментом осуществляет вращение, а сам инструмент вертикально подается на заготовку с помощью специальных ручных механизмов. В этом время заготовка фиксируется на столе.
В наши дни рынок предлагает большой ассортимент вертикально-сверлильных настольных станков. Рассмотрим успешные детища передовых производителей металлорежущего оборудования, дабы иметь общее представление, на какой ступени технологической эволюции находится в данный момент эта категория сверлильных машин.
Scheppach TD-13T
Этот немецкий настольный агрегат может похвастаться мощным электродвигателем, многофункциональностью и удивительной выносливостью. Он способен работать с целым рядом материалов, включая металл, пластик, дерево, ДСП и МДФ. Scheppach серии TD-13T – это синоним высокой производительности и точности.
Вертикально-сверлильный станок имеет номинальную мощность в 250 Вт, обеспечивая при этом максимальную частоту вращения шпинделя на уровне 2500 оборотов в минуту. Асинхронный двигатель агрегирован с коробкой передач, включающей 5 встроенных скоростей.

TD-13T функционирует в сети 220В. Его габариты весьма скромны – всего 210х420х580 мм. Это касается и веса, который не превышает 15 кг.
Сверлильно-фрезерный станок настольный Scheppach серии TD-13T имеет вылет и ход шпинделя на уровне 225 и 50 мм. соответственно. Машина предназначена для посадки патрона типа В16. Среди профессионалов эта модель заслужила всеобщее признание за свою относительно небольшую цену и великолепное качество комплектующих.
Utool UDP-8
Эта модель была разработана немецкой компанией – одной из лидеров в станкостроительной отрасли. Агрегат укомплектован мощным выносливым двигателем, потребляющим 350 Вт электроэнергии. Этот мотор обеспечивает 2650 оборотов в минуту на холостом ходу, что является достойным показателем. Асинхронный электрический мотор агрегирован с пятиступенчатой коробкой скоростей, дающей возможность выбирать оптимальный режим обработки конкретной заготовки. Вылет и ход шпинделя составляют 210 и 50 мм. соответственно. Посадка патрона соответствует формату В16.

Этот аппарат имеет надежную основу, размеры которой составляют 290х190 мм. Такая конструкция обеспечивает предельную жесткость, что для точной обработки деталей очень важно. При этом габариты настольного сверлильно-фрезерного станка Utool UDP-8 составляют 340х250х440 мм., а диаметр стойки – 46 мм.
Выводы
Выбор настольного сверлильного агрегата опытному мастеру не должен доставить ни малейших проблем, ведь сегодня ассортимент этой техники удивительно широк. В основном он представлен машинами европейского производства, но азиатские компании активно «наступают на пятки» своим немецким и швейцарским коллегам.

Это открывает для вас, как для пользователя сверлильной техникой, отличную возможность приобрести как дорогостоящий надежный агрегат, так и его более доступный аналог, произведенный в Японии, Китае или Южной Корее. Что же касается отечественных станков, то они представлены в основном довольно примитивными моделями, которые в технологическом плане далеко отстали от иностранных аппаратов. Но в вопросах ценовой доступности им нет равных, что, опять же, открывает для потенциальных покупателей новые возможности.
Рекомендуем почитать
prostostanok.ru
2М112 станок настольно сверлильный
Настольно-сверлильный станок 2М112
Выдержавший несколько модернизаций советский вертикальный настольно-сверлильный станок модели 2М112, имеющий координатный стол, до сих пор широко востребован и для нужд домашней мастерской, и в небольших ремонтных предприятиях. Независимо от производителя (а модель 2М112 выпускалась в Литве заводом Komunaras, и в г. Киров, ныне Вятка – местным станкостроительным заводом), данный агрегат сохраняет достаточную функциональность и удобство.

Общий вид настольно-сверлильного станка 2М112
Высокая надежность станка и хорошие технические характеристики обеспечиваются крайне простой конструкцией. В конструкции применено всего 6 подшипников, а шкивы для смены числа оборотов, хоть и громоздки и неудобны, позволили исключить удобную, но не надежную шестеренчатую коробку переключения оборотов. Подшипники станка 2М112 установлены в узле, в котором находится шпиндель, который иначе именуют пиноль, и благодаря которому осуществляется вертикальное перемещение инструмента. Еще один подшипник находится в узле подъема шпиндельной бабки. Малое количество смазываемых узлов облегчает обслуживание настольно-сверлильного станка 2М112.
Ввиду простоты, надежности и низкой стоимости станок хорошо зарекомендовал себя в учебных мастерских.
Технические характеристики станка 2М112
Расшифровка названия станка следующая. Первая цифра 2 обозначает, что рассматриваемое оборудование относится к сверлильному, а буква М означает, что базовая модель (её условное обозначение 2112) подвергалась модернизации. Первая из единичек в обозначении указывает тип агрегата, а две последние цифры – наибольший размер круглого в плане отверстия, которое можно получить на данном оборудовании.
Настольно-сверлильный станок 2М112 имеет технические характеристики, свойственные всем устройствам сверлильных станков подобного класса.
Таким образом, универсальный настольный вертикально сверлильный станок модели 2М112 может работать с отверстиями не более 12 мм в диаметре, причём материалом условной заготовки считается некаленая сталь 45 (для менее прочных материалов, например, алюминия, допускается и больше).
Основные технические характеристики:
- Вылет шпинделя – 0,19 м.
- Номер применённого конуса Морзе – В18.
- Вертикальное перемещение патрона со рабочим инструментом – 100 мм.
- Диапазон регулировки просвета между нижним торцом шпинделя и верхней кромки пазов на столе – 50…400 мм.
- Стол – координатный, рабочие размеры 200×250 мм (производятся варианты и с увеличенным по ширине столом).
- Количество скоростей вращения шпинделя (изменяется ступенчато) – 5, от 450 до 4500 мин-1.
- Привод – электрический: мощность двигателя – 550 Вт, питающее напряжение 3 фазы 380 В.
- Габаритные размеры сверлильного станка 2М112 (длина×ширина×высота) – 770×370×950 мм.
- Вес – 120 кг.

Кинематическая схема настольно-сверлильного станка 2М112
Советские станки, изготавливаемые как на заводе Комунарас, так и на производстве в г. Киров — рассчитывались на точность операции сверления Н (обычную) по ГОСТ 8-82.
Кроме сверления, назначение оборудования заключается в том, чтобы производить нарезание резьбы. Для этого конструкция предусматривает вертикальный специальный резьбонарезной патрон.
Устройство сверлильного станка 2М112
Кинематическая схема и общий вид включают в себя следующие элементы:
- Электрический двигатель.
- Клиноременную передачу.
- Вертикальный кронштейн.
- Шпиндель, входящий в состав инструментальной головки.
- Рукоять передвижения инструментальной головки по кронштейну.
- Рукоятку подачи пиноли.
- Опорную плиту с координатным столом, на поверхности которого имеются Т-образные пазы.
- Защитный кожух, закрывающий шкив сверлильного станка 2М112.
- Хомут с мерной линейкой.

Настольно-сверлильный станок 2М112 без защитного кожуха
Описание работы сверлильного станка 2М112
Шпиндель сверлильного станка 2М112 может перемещаться по колонне и крепится посредством винтового зажима. Пиноль станка может подниматься до высоты 400 мм над поверхностью рабочего стола, позволяя обрабатывать заготовки в широком диапазоне размеров.
Рабочий стол настольно-сверлильного станка 2М112
Ременная передача настольно-сверлильного станка 2М112Перед пуском двигателя обрабатываемая деталь закрепляется зажимами, находящимися в Т-образных пазах, которые имеет координатного стол 2М112. Производитель сверлильного станка 2М112 в качестве дополнительного оборудования предлагает тиски, которые устанавливаются на станине в пазы координатного стола.
Шпиндель проверяется на рабочую скорость вращения, которая зависит от твёрдости детали, после чего вручную устанавливаются вылет инструментальной головки и её положение относительно координатного стола. В патрон устанавливается сверло (или метчик) необходимого диаметра. Ход (особенно, если он – большой) проверяется при неработающем приводе, после чего включается электродвигатель, и с деталью производится необходимая технологическая операция, сверление или нарезание резьбы.

Электрическая схема настольно-сверлильного станка 2М112
Регулировку высоты шпинделя для сверлильного станка 2М112 облегчает возвратная пружина. При наличии дополнительной тумбы в конструкции вылет для настольно-сверлильного станка Комунарас 2М112 можно искусственно увеличить, не теряя при этом в устойчивости оборудования. Набор сменных шкивов позволяет простым способом и оперативно работать с иной скоростью вращения.
Конус Морзе позволяет быстро сменить патрон для сверлильного станка 2М112 на иной рабочий инструмент с аналогичным креплением.
Удобство работы повышается благодаря тому, что рабочий стол неподвижен, а вращается пиноль, а точнее весь шпиндельный узел вокруг неподвижной опоры.
У станка 2М112 имеется подсветка, расположенная в шпиндельном узле.
Производители сверлильного агрегата 2М112 предусматривает его обязательное защитное заземление при работе для повышения безопасности. Подробные указания по заземлению содержит паспорт агрегата.
Скачать паспорт (инструкцию по эксплуатации) настольно-сверлильного станка 2М112
Обслуживание
Все работы по обслуживанию универсального настольно-сверлильного станка 2М112 заключаются в контроле натяжения ремня шкива и смазке отдельных узлов устройства. При нормальной нагрузке чаще всего (раз в 2 дня) смазку и очистку требует шпиндель (пиноль), особенно шлицевые поверхности. Раз в неделю смазывается поверхность вертикальной колонны и регулировочная гайка. Раз в полгода требует замены смазки подшипники шпинделя и колонки. При частой смене количества оборотов нуждается в смазке регулятор натяжения ремня и фиксатор защитного кожуха шпинделя. Подшипники смазываются консистентной смазкой типа ЦИАТИМ или Литол.
Если вы нашли ошибку, пожалуйста, выделите фрагмент текста и нажмите Ctrl+Enter.
stankiexpert.ru
Сверлильный настольный станок 2м112 надежен как всегда
Сверлильный настольный станок 2м112 применяется для создания отверстий различного диаметра в изделиях, выполненных из металла, дерева, пластика и других материалов. Среди ключевых операций, осуществляемых этим агрегатом, нужно выделить сверление, растачивание, рассверливание и зенкерование.
Эти машины отлично себя зарекомендовали как оборудование для небольших мастерских, в которых выполняются единичные операции или же объемы производства небольшие. Также их часто можно встретить в общеобразовательных школах и профессиональных училищах как машины для обучения. Там настольно-сверлильный станок 2м112 получил особое распространение.
Конструкция агрегата такова, что глубина создаваемого отверстия отсчитывается по особому круговому лимбу встроенного штурвала. Мастер имеет возможность выбрать одну из пяти дополнительных частот вращения, просто перекинув ремень на шкивах. Для многих очевидно, что конструкция 2м112 довольно проста и незатейлива. И в этой простоте скрывается важный плюс сверлильного станка, такой как легкость управления. Нельзя также не сказать о высокой надежности и долговечности этой модели, отмеченной большим числом профессионалов.
Машина типа 2м112 – это устройство настольного типа, которое отличается незначительными габаритами и массой в 120 кг. Эта модель очень мобильна и компактна. Ее можно легко при необходимости транспортировать в другой цех. Скромные размеры, которые составляют 795х370х950 миллиметров, позволяют установить ее на стандартном слесарном столе или специальной тумбе без лишних проблем.

Мы рассмотрели общие особенности. Теперь давайте углубимся в техническую составляющую.
Технические характеристики
Один из ключевых параметров сверлильного станка – предельный диаметр сверления. У 2м112 этот показатель составляет 12 мм., чего достаточно для осуществления большинства операций бытового и мелкосерийного характера.
Максимальный вылет шпинделя – 200 мм. Расстояние от плиты до нижнего конца шпинделя колеблется в пределах 20-400 мм. Конус шпинделя при этом соответствует классу В 18. Станок укомплектован пятью встроенными скоростями вращения, позволяющими подбирать оптимальный режим обработки конкретной заготовки или материала. Частота вращения режущего элемента колеблется в пределах 450-4500 оборотов в минуту.
Конструкцией сверлильного настольного станка 2м112 предусмотрена просторная рабочая область, размеры которой составляют 250х250 мм. Модель укомплектована мощным силовым агрегатом. Номинальная мощность мотора составляет 550 Вт.
Сверлильный станок 2м112 предназначен для мелкосерийного и серийного производства, несмотря на то, что активно используется в малых цехах. Он выдерживает агрессивный режим эксплуатации при длительной бесперебойной работе. Среди мастеров он зарекомендовал себя как высокопроизводительный и надежный. Все это стало реальным, благодаря особой конструкции этой сверлильной машины. Рассмотрим ее ключевые элементы и оценим их преимущества.
Конструкция станка
Конструкция 2м112 довольно простая. Ее базисными элементами являются колонна, несущая плита, механизм движения шпинделя, электрический мотор, устройство зажима, кронштейн, специальный кожух и система натяжения клиноременной передачи. Основными органами управления агрегатом являются: рукоять механической подачи шпинделя, рычаг натяжения клиновых ремней, фиксатор шпинделя, рукоять перемещения шпинделя по оси, а также кнопки управления электромотором и фиксатор плиты, расположенной под двигателем.

Шпиндель представляет собой надежную конструкцию, основой которой выступает литой корпус из высокопрочного чугуна. В этом элементе конструкции располагается шпиндельный узел, система натяжения ремней и система стационарного освещения рабочего пространства. Сзади шпиндель агрегируется с силовым агрегатом.
prostostanok.ru
2М112
Настольно-сверлильный станок модели 2М112
ПромСтройМаш является непосредственным производителем 2М112 Мы производим и продаём Настольно-сверлильный станок модели 2М112 во все регионы РФ и страны ближнего зарубежья, такие как Беларусь, Казахстан, Украина. 2М112 нашего производства хорошо зарекомендовали себя в Москве, Ярославле, Нижнем Новгороде, Екатеринбурге, Новосибирске и других городах России. Купить 2М112 вы можете непосредственно у нас или у наших дилеров.
Станок настольно-сверлильный 2М112 предназначен для сверления отверстий в деталях из черных и цветных металлов, а также других материалов, диаметром не более 12 мм. Простота конструкции обеспечивает легкость управления, надежность и долговечность станков. Отсчет глубины обработки производится по круговому лимбу штурвала.
Стан сверлильный 2М112 позволяет выполнить следующие операции:
- сверление
- зенкерование
- развертывание
| Диаметр сверления в стали 45 ГОСТ 1050-88, мм | 12 |
| Вылет шпинделя (расстояние от оси шпинделя до центра образующей колонны), мм | 190 |
| Размер конуса шпинделя наружный по ГОСТ 9953-82 | В18 |
| Наибольшее перемещение шпинделя, мм | 100 |
| Цена деления лимба, мм | 1 |
| Расстояние от торца шпинделя до рабочей поверхности стола, мм | 50-400 |
| Размеры рабочей поверхности стола, мм | 250×250 |
| Количество Т-образных пазов | 3 |
| Расстояние между пазами, мм | 50 |
| Ширина пазов, мм | 14 |
| Число скоростей шпинделя | 5 |
| Число оборотов, об/мин | 450-4500 |
| Подача при сверлении | ручная |
| Мощность электродвигателя, кВт | 0,55 |
| Частота вращения, об/мин. | 1500 |
| Напряжение питания, В | 380 |
| Габаритные размеры, мм | 770х370х880 |
| Габаритные размеры (в упаковке), мм | 800x500x900 |
| Масса, кг | 130 |
Фотографии 2М112

⇐
⇒

⇐
⇒

⇐
⇒

⇐
⇒
⇐
⇒

⇐
⇒

⇐
⇒

⇐
⇒

⇐
⇒

⇐
⇒

⇐
⇒
Фотографии 2М112

⇐
⇒
⇐
⇒

⇐
⇒

⇐
⇒

⇐
⇒
Органы управления сверлильного станка 2М112

- рукоятка ручной подачи шпинделя
- рукоятка натяжения ремня
- рукоятка для фиксации шпиндельной бабки на колонке
- рукоятка для перемещения шпиндельной бабки по колонке
- кнопки управления электродвигателем.
Кинематическая схема станка 2М112

- гайка
- колонка
- рейка гильзы
- вал-шестерня.
Основные узлы 2М112

- колонка станка сверлильного 2М112
- рукоятка зажимного устройства шпиндельной бабки
- привод 2М112
- гайка механизма подъема
- кронштейн
- стол сверлильного станка 2М112
- защитный кожух
- шпиндель
- механизм натяжения ремня станка 2М112

- шпиндель
- гайка
- подшипник
- гильза
- валик шестерни
- подшипники
- корпус
- втулка
- шкив
Шпиндельный узел станка сверлильного 2М112 смонтирован в корпусе. Сам шпиндель 1 смонтирован в гильзе 4 на шарикоподшипниках 3 и 3. Шпиндель получает вращение от втулки 8 и шкива 9 через шлицевое соединение. Подача шпинделя — ручная, осуществляется вращением штурвала при помощи валика — шестерни 5 и гильзы 4 с рейкой. Гайка 2 предназначена для снятия сверлильного патрона с конуса шпинделя.
Электродвигатель посредством подмоторной плиты прикреплен к бабке шпинделя. На оси электродвигателя находятся ступенчатый шкив, который соединен со шкивом шпинделя клиновым ремнем.
На рисунке изображена шкала перемещения шпинделя. При сверлении отверстий на заданную глубину можно пользоваться упором. Поворотом штурвала сверло подвести к по¬верхности обрабатываемого изделия и засверлить его на глу-бину конусной заточки сверла. Освободить фиксатор 4 и по¬воротом гайки 5 установить указатель 2 в положение «0». По¬воротом гайки 5 установить заданную глубину сверления, после чего закончить фиксатор 4.

- шкала
- указатель
- винт
- фиксатор
- гайка
Передвижение шпиндельной бабки сверлильного станка 2М112
Чтобы можно было перемещать шпиндельную бабку станка 2М112 8 (рис. 3) по колонке 1 необходимо освободить рукоятку 2. Поворотом гайки 4 влево или вправо поднимаем или опускаем шпиндельную бабку 8. Станок может быть настроен для свер¬ления отверстий в длинных и крупных деталях, так как имеет возможность поворота шпиндельной бабки на 360° вокруг ко-лонки.
Натяжение ремня станка 2М112
По мере износа ремня происходит его растяжение. Для натяжения ремня предназначена рукоятка
Система смазки сверлильного станка 2М112

Условное обозначение | Места смазки | Режим смазки или смена масла | Марка смазочного материала |
1 | Шлицевая часть шпинделя | Раз в 2 дня | И-20А |
2 | Гайка и поверхность колонки | Раз в 7 дней | ЦИАТИМ-203 |
3 | Поверхность соединения подмоторной плиты | Раз в 30 дней | И-20А |
4 | Шейка вал- шестерни шпинделя и фиксатор корпуса на колонке | Раз в 3 дня | И-20А |
5 | Шарикоподшипники гильзы шпинделя и гайки | Раз в 6 месяцев | ЦИАТИМ-203 |
Указания по подключению и обслуживанию электрооборудования станка сверлильного 2М112
- Станок сверлильный 2М112 должен быть присоединен к общей системе заземления цеха с помощью специального болта, расположенного на плите станка. Заземление станка 2М112 и эксплуатация его электрооборудования должны производиться в соответствии с требованиями «Правил технической эксплуатации и безопасности обслуживания электроустановок промпредприятий».
- При обслуживании , наладке и ремонте электрооборудования станка сверлильного 2М112 необходимо руководствоваться установленными правилами техники безопасности при электромонтажных работах. Доступ к контактным частям электрических машин и аппаратов разрешается только после отключения станка от сети автоматическим выключателем.
- Рекомендуется сделать вначале пробный пуск станка на холостом ходу на всех скоростях последовательно, начиная с наименьших оборотов шпинделя. В первый период после пуска станка 2М112 не рекомендуется работать на максимальных оборотах шпинделя.
- Для обеспечения длительной и безаварийной работы станка 2М112 необходимо регулярно: очищать от пыли, электродвигатель, пусковую и защитную аппаратуру, от нагара — контакты, подтягивать по мере необходимости соединения проводов с аппаратурой. Соблюдение вышеупомянутых правил обеспечит длительную бесперебойную работу станка и безопасность обслуживающего персонала.
станок сверлильный 2М112
www.stanki-zavod.ru
2.5.2. Станок настольно-сверлильный, вертикальный 2м112
Назначение и область применения
Настольной сверлильный станок с вертикальным расположением шпинделя и пятиступенчатым изменением скорости вращения шпинделя предназначен для сверления отверстий максимальным диаметром 12 мм и нарезанием внутренней резьбы метчиками с помощью резьбонарезного патрона в деталях из чугуна, сталей и сплавов. Контроль глубины обработки производится по лимбу (ценой деления 1мм) штурвала. Цельнолитая массивная плита основания станка придаёт сверлильному станку жесткость и устойчивость, а также препятствует возникновению вибрации, негативно влияющей на стойкость сверла, и как следствие, на производительность настольно-сверлильного станка. Лёгкость управления станком, а также его надёжность и долговечность обеспечивается простотой конструкции.
Паспорт настольно-сверлильного, вертикального станка 2М112
Максимальный диаметр сверления и резьбонарезания, мм | 12 |
Расстояние от оси шпинделя до образующей колонны, мм | 190 |
Размер конуса шпинделя наружный по ГОСТ 9953-82 | В18 |
Расстояния от торца шпинделя до рабочей поверхности стола мин/макс, мм | 50/400 |
Наибольшее перемещение шпинделя, мм | 100 |
Цена деления лимба, мм | 1 |
Подача при сверлении | ручная |
Количество скоростей шпинделя | 5 |
Диапазон скоростей вращения шпинделя, об/мин | 450…4500 |
Мощность электродвигателя, кВт | 0.55 |
Частота вращения электродвигателя, об/мин | 1500 |
Напряжение трёхфазного эл.питания, В | 380 |
Размеры рабочей поверхности стола, мм | 200×250 |
Количество Т-образных пазов | 3 |
Расстояние между пазами, мм | 50 |
Ширина пазов, мм | 14 |
Габаритные размеры станка, мм: длина ширина высота | 370 770 950 |
Масса сверлильного станка, кг | 120 |
Устройство станка
Настольно-сверлильный, вертикальный станок 2М112 состоит из колонки 1, зажимного устройства шпиндельной бабки 2, электродвигателя 3, механизма подъема шпиндельной бабки 4, кронштейна 5, плиты 6, шпинделя 7, шпиндельной бабки 8 и механизма натяжения ремня 9.

Рис. 4. Настольно-сверлильный, вертикальный станок 2М112
Плита 6 представляет собой отливку, имеющую корыто для сбора и отвода охлаждающей жидкости. Внутри плиты размещается электрооборудование станка. Пульт располагается на передней стенке плиты. На рабочей плоскости плиты имеются Т-образные пазы, которые служат для крепления приспособления.
К верхнему платику плиты в кронштейне 5 крепится колонка 1, по которой перемещается шпиндельная бабка 4, сама колонка с кронштейном соединена неподвижно.
По мере износа ремня происходит его растяжение. Для натяжения ремня предназначена рукоятка.
Шпиндельный узел смонтирован в корпусе, а шпиндель – в гильзе на шарикоподшипниках. Шпиндель получает вращение от втулки и шкива через шлицевое соединение. Подача шпинделя – ручная, осуществляется вращением штурвала при помощи вала-шестерни и гильзы с рейкой. Гайка предназначена для снятия сверлильного патрона с конуса шпинделя.

Рис. 5. Кинематическая схема станка (1 – гайка, 2 – колонка, 3 – рейка гильзы, 4 – вал шестерни)

Основу шпиндельной бабки 4 составляет чугунный корпус. В корпусе смонтирован шпиндельный узел и механизм натяжения ремня 9. Сзади к бабке прикреплен электродвигатель 3. Шпиндельная бабка может поворачиваться на колонке и фиксироваться в нужном положении. Для перемещения шпиндельной бабки (рис. 4) по колонке 1 надо освободить зажимное устройство 2. Поворотом ручки подъемного механизма шпиндельной бабки влево или вправо можно поднять или опустить шпиндельную бабку 8.
Электрооборудование станка рассчитано на питание от сети переменного трехфазного тока напряжением 380 В частотой 50 Гц. На это же напряжение рассчитана цепь управления. Возможно подключение цепи управления на 220 В при условии подачи питания на станок от 4-проводной сети. Напряжение цепи местного освещения 24 В переменного тока.
Станок должен быть присоединен к общей системе заземления цеха с помощью специального болта, расположенного на плите станка. Заземление станка и эксплуатация его электрооборудования должны производиться в соответствии с требованиями «Правила технической эксплуатации и безопасности обслуживания электроустановок промпредприятий».

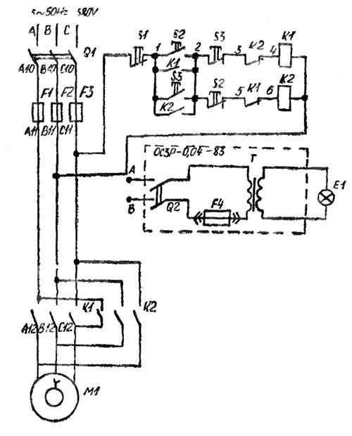
Рис. 6. Схема электрическая принципиальная
Подключить станок к электросети, проверив соответствие напряжения сети и электрооборудования станка. Для подключения станка к сети необходимо вставить вилку разъема.
Рекомендуется сделать вначале пробным пуск станка на холостом ходу на всех скоростях последовательно, начиная с наименьших оборотов шпинделя. В первый период после пуска станка рекомендуется работать па максимальных оборотах шпинделя.
Указания мер безопасности
Безопасность труда на станке обеспечивается его изготовлением в соответствии с требованиями ГОСТ 12.2.009-80 и ГОСТ 12.2.049-80.
Требования безопасности труда при эксплуатации станка устанавливаются соответствующими разделами руководства и настоящим разделом.
Персонал, допущенный к работе на станке:
1. Должен быть соответствующим образом проинструктирован;
2. Должен ознакомиться с правилами эксплуатации и ремонта станка, изложенными в руководстве.
Необходимо соблюдать все общие правила техники безопасности при работе на металлорежущих станках.
Периодически проверять правильность работы блокировочных устройств.
Распаковка. При распаковке сначала снимается верхний щит упаковочного ящика, а затем боковые. Необходимо следить за тем, чтобы не повредить станок упаковочным инструментом.
Для транспортирования распакованного станка используется стальная штанга диаметром 17 мм, которая пропускается через предусмотренное в корпусе отверстие.
При захвате станка канатами за штангу необходимо следить за тем, чтобы не повредить облицовку станка.
При этом шпиндельная бабка станка должна быть сдвинута в крайнее нижнее положение и надежно закреплена.
Полный список оборудования, приспособлений и инструментов, применяемых при восстановлении корпуса водяного насоса представлен ниже.
studfiles.net
i-perf.ru
