Принципиальная электрическая схема вдм 1202с – 404 – Error: 404
alexxlab | 29.06.2019 | 0 | Вопросы и ответы
ВДМ-1202С У3.1. руководство по эксплуатации ВЫПРЯМИТЕЛЬ ДЛЯ МНОГОПОСТОВОЙ ДУГОВОЙ СВАРКИ
ВДМ-6303С У3 ВЫПРЯМИТЕЛЬ ДЛЯ ДУГОВОЙ СВАРКИ
ВДМ-6303С У3 ВЫПРЯМИТЕЛЬ ДЛЯ ДУГОВОЙ СВАРКИ РУКОВОДСТВО ПО ЭКСПЛУАТАЦИИ Данное руководство по эксплуатации научит вас безопасному обращению с выпрямителем. Поэтому следует внимательно изучить настоящий
ПодробнееИНЖЕНЕРНЫЙ И ТЕХНОЛОГИЧЕСКИЙ СЕРВИС
ИНЖЕНЕРНЫЙ И ТЕХНОЛОГИЧЕСКИЙ СЕРВИС Научнопроизводственная фирма ВДУ-506 С У3 ВЫПРЯМИТЕЛЬ ДЛЯ ДУГОВОЙ СВАРКИ руководство по эксплуатации Данное руководство по эксплуатации научит вас безопасному обращению
ПодробнееВДМ-1202С У3 ВЫПРЯМИТЕЛЬ ДЛЯ ДУГОВОЙ СВАРКИ
ИНЖЕНЕРНЫЙ И ТЕХНОЛОГИЧЕСКИЙ СЕРВИС Научнопроизводственная фирма ВДМ-1202С У3 ВЫПРЯМИТЕЛЬ ДЛЯ ДУГОВОЙ СВАРКИ РУКОВОДСТВО ПО ЭКСПЛУАТАЦИИ Данное руководство по эксплуатации научит вас безопасному обращению
ВД-320КС У3 ВЫПРЯМИТЕЛЬ ДЛЯ ДУГОВОЙ СВАРКИ
ИНЖЕНЕРНЫЙ И ТЕХНОЛОГИЧЕСКИЙ СЕРВИС Научнопроизводственная фирма ВД-320КС У3 ВЫПРЯМИТЕЛЬ ДЛЯ ДУГОВОЙ СВАРКИ РУКОВОДСТВО ПО ЭКСПЛУАТАЦИИ Данное руководство по эксплуатации научит вас безопасному обращению
ПодробнееПАСПОРТ и Инструкция по эксплуатации
ПАСПОРТ и Инструкция по эксплуатации ВЫПРЯМИТЕЛИ МНОГОПОСТОВЫЕ ДЛЯ ДУГОВОЙ СВАРКИ типа ВДМ «ВДМ-1202П» «ВДМ-6303П» Киев 2015 СОДЕРЖАНИЕ Введение…3 1. Назначение…3 2. Основные технические данные и характеристики…3
ПодробнееБЛОК БАЛЛАСТНЫХ РЕОСТАТОВ
БЛОК БАЛЛАСТНЫХ РЕОСТАТОВ ББР-4Х315 У2 Руководство по эксплуатации Санкт-Петербург 1. НАЗНАЧЕНИЕ 1.1. Блок балластных реостатов ББР-4х315 У2 предназначен для ручной электродуговой сварки штучным электродом,
ПодробнееВДМ-6303С, ВДМ-1202С и ВДМ-1600
ОАО электромашиностроительный завод “Фирма СЭЛМА” ВЫПРЯМИТЕЛИ СВАРОЧНЫЕ ВДМ-6303С, ВДМ-1202С и ВДМ-1600 Паспорт Группа компаний ИТС: ООО «ИТС-Москва» Московская обл. г. Долгопрудный, Лихачевский проезд,
ПодробнееДЛЯ ДУГОВОЙ СВАРКИ ВД-131
ОАО электромашиностроительный завод “Фирма СЭЛМА” ВЫПРЯМИТЕЛИ ДЛЯ ДУГОВОЙ СВАРКИ ВД-131 и ВД-306М1 Паспорт г. Симферополь httр://www.selma.ua E-mail: [email protected] Отдел сбыта и маркетинга тел.
ПодробнееУВАЖАЕМЫЙ ПОКУПАТЕЛЬ!
УВАЖАЕМЫЙ ПОКУПАТЕЛЬ! Фирма «Ресанта» выражает благодарность за Ваш выбор и гарантирует высокое качество, безупречное функционирование приобретенного Вами изделия марки «Ресанта», при соблюдении правил
SIA RESANTA Riga, Andreja Saharova iela, 5/1, LV-1082, Latvia
12 SIA RESANTA Riga, Andreja Saharova iela, 5/1, LV-1082, Latvia 2 11 УВАЖАЕМЫЙ ПОКУПАТЕЛЬ! Фирма «Ресанта» выражает благодарность за Ваш выбор и гарантирует высокое качество, безупречное функционирование
ПодробнееТРАНСФОРМАТОРЫ СИЛОВЫЕ МАРКИ ТСЗИ
К-ОКП: – 341451 АЕ 05 ТРАНСФОРМАТОРЫ СИЛОВЫЕ МАРКИ ТСЗИ ПАСПОРТ ТУ3414-014-12353442-08 ПС ВНИМАНИЕ! ТРАНСФОРМАТОР НЕ ВКЛЮЧАТЬ До изучения настоящего паспорта! Без заземления! В связи с систематически проводимыми
ПодробнееУСТРОЙСТВО ДОЖИГА тип УД-300М
ООО «ПО «Энергоспецтехника» УСТРОЙСТВО ДОЖИГА тип УД-300М Руководство по эксплуатации г. Пенза 2014 г. 1 1 НАЗНАЧЕНИЕ ИЗДЕЛИЯ 1.1 Устройство дожига типа УД-300 (в дальнейшем по тексту – устройство) предназначено
ПодробнееТРАНСФОРМАТОРЫ СИЛОВЫЕ МАРКИ ТСЗ
К-ОКП: – 341450 АВ 24 ТРАНСФОРМАТОРЫ СИЛОВЫЕ МАРКИ ТСЗ ПАСПОРТ ТУ3414-012-12353442-08 ПС г. Сафоново 2010 г. ВНИМАНИЕ! ТРАНСФОРМАТОР НЕ ВКЛЮЧАТЬ До изучения настоящего паспорта! Без заземления! В связи
Подробнее1. НАЗНАЧЕНИЕ ПРИБОРА
1. НАЗНАЧЕНИЕ ПРИБОРА Ограничитель напряжения холостого хода сварочных трансформаторов ОНТ-3 (далее называемый ограничителем) предназначен для автоматического ограничения напряжения холостого хода вторичной
ПодробнееТепловентилятор ТВ-18П ТВ-24П
ООО “ТЕПЛОТЕХ” ИЗГОТОВЛЕНО В РОССИИ Тепловентилятор ТВ-18П ТВ-24П ПАСПОРТ Руководство по эксплуатации. 1. Назначение изделия. 1.1 Тепловентилятор ТВ-18П (ТВ-24П) предназначен для вентиляции и обогрева
1.НАЗНАЧЕНИЕ 2.ОБЩИЙ ВИД И УСТРОЙСТВО
ПАСПОРТ 1.НАЗНАЧЕНИЕ 1.1.Трансформаторы предназначены для питания электроинструмента в сетях переменного тока частоты 50 Гц. 1.2.Трансформаторы имеют защитный корпус. По условиям установки на месте работы
ПодробнееБлок распределения питания для ППР BR-1031
Блок распределения питания для ППР BR-1031 Код по каталогу: 10-03-114 Руководство по эксплуатации 2017 Страница 1 из 9 Содержание 1 Общая информация… 3 1.1 Назначение прибора… 3 1.2 Технические характеристики…
ПодробнееТРАНСФОРМАТОРЫ НАПРЯЖЕНИЯ МАРКИ НТС
К-ОКП: – 341451 АЕ 05 ТРАНСФОРМАТОРЫ НАПРЯЖЕНИЯ МАРКИ НТС ПАСПОРТ ТУ3414-008-12353442-05 ПС г. Сафоново 2008 г. ВНИМАНИЕ! ТРАНСФОРМАТОР НЕ ВКЛЮЧАТЬ До изучения настоящего паспорта! Без заземления! В связи
ПодробнееТрансформаторы напряжения Марки ОСЗ
ОКП – 341450 Трансформаторы напряжения Марки ОСЗ ПАСПОРТ 3414-004-012353442-04 г.сафоново 2008 г. ВНИМАНИЕ! ТРАНСФОРМАТОР НЕ ВКЛЮЧАТЬ – До изучения настоящего паспорта! – Без заземления! В связи с систематически
Подробнее2. ТЕХНИЧЕСКИЕ ХАРАКТЕРИСТИКИ
1. НАЗНАЧЕНИЕ 1.1. Реостат балластный РБ 302/306 У2, в дальнейшем именуемый «реостат» предназначен для регулирования тока при ручной дуговой сварке и наплавке металлов плавящимся электродом от многопостовых
ПодробнееВЫПРЯМИТЕЛЬ СВАРОЧНЫЙ ВДМ-1202СА. Паспорт
ОАО электромашиностроительный завод “Фирма СЭЛМА” ВЫПРЯМИТЕЛЬ СВАРОЧНЫЙ ВДМ-1202СА Паспорт Группа компаний ИТС: ООО «ИТС-Москва» Московская обл. г. Долгопрудный, Лихачевский проезд, 28А www.its-m.ru Тел/факс:
ПодробнееИнжектор питания ISC-PI-24
Инжектор питания ISC-PI-24 Код по каталогу: 13-41-201 Руководство по эксплуатации Серийный номер 2017 Страница 1 из 6 Содержание 1 Общая информация… 3 1.1 Назначение прибора… 3 1.2 Технические характеристики…
ПодробнееАППАРАТЫ ПУСКОВЫЕ РУДНИЧНЫЕ ТИПА АПР
АППАРАТЫ ПУСКОВЫЕ РУДНИЧНЫЕ ТИПА АПР Руководство по эксплуатации 2 Содержание Введение 2 1. Назначение и область применения 2 2. Технические характеристики АПР 3 3. Устройство и принцип работы АПР 5 4.
ПодробнееТЕХНИЧЕСКИЕ ХАРАКТЕРИСТИКИ
СОДЕРЖАНИЕ стр. 1 Назначение 2 2 Комплектность 2 3 Технические характеристики 2 4 Устройство и принцип работы 3 5 Меры безопасности 6 6. Подготовка и порядок работы 6 7 Техническое обслуживание 7 8 Возможные
ПодробнееРУКОВОДСТВО ПО ЭКСПЛУАТАЦИИ
РУКОВОДСТВО ПО ЭКСПЛУАТАЦИИ Инвертор сварочный для аргоно-дуговой сварки DT-4220 ВНИМАНИЕ! ПЕРЕД ИСПОЛЬЗОВАНИЕМ СВАРОЧНОГО АППАРАТА ВНИМАТЕЛЬНО ОЗНАКОМЬТЕСЬ С ИНСТРУКЦИЕЙ ПО ЭКСПЛУАТАЦИИ И МЕРАМИ ПРЕДОСТОРОЖНОСТИ!
ПодробнееЩит распределительный ЩР-Н-63А-У2-В2-1
ЗАО “СВЯЗЬ ИНЖИНИРИНГ” Щит распределительный ЩР-Н-63А-У2-В2-1 Руководство по монтажу и эксплуатации ДЕШК.656514.005-03.01 РЭ 2 СОДЕРЖАНИЕ 1 НАЗНАЧЕНИЕ… 3 2 ТЕХНИЧЕСКИЕ ХАРАКТЕРИСТИКИ… 3 3 КОМПЛЕКТНОСТЬ
ПодробнееДАВМ РЭ 1
1 ДАВМ.671 117.002 РЭ Настоящее руководство по эксплуатации содержит сведения о назначении, конструкции, характеристиках трансформаторов серии ОСГЗ (далее – трансформаторы) класса напряжения 27 кв и предназначено
ПодробнееАППАРАТ ОСВЕТИТЕЛЬНЫЙ ШАХТНЫЙ АОШ
663090, Россия, Красноярский край, г. Дивногорск, ул. Верхний проезд, д. 16 т. (39144) 3-00-45, (391) 282-78-18, (913) 834-12-86, (923) 354-53-85 [email protected], [email protected], [email protected], www.dzra.ru
ПодробнееАЕ 81 ММА-250. инструкция по эксплуатации
АЕ 81 ММА-250 инструкция по эксплуатации ГАРАНТИЙНЫЙ ТАЛОН Наименование изделия Заводской номер Дата продажи 200_г. М.П. Подпись Я, покупатель, с условиями (Ф.И.О. покупателя) гарантийных обязательств
ПодробнееИНСТРУКЦИЯ ПО ЭКСПЛУАТАЦИИ
Электротехническая компания «Мобил Плюс». Сайт: www.mobylplus.ru Адрес: Москва, Пятницкое шоссе, д. 35. Тел.: +7(495)542-40-94 Факс: +7(495)751-68-75 E-mail: [email protected] ИНСТРУКЦИЯ ПО ЭКСПЛУАТАЦИИ
ПодробнееВЫПРЯМИТЕЛЬ СВАРОЧНЫЙ ТИПА ВДУ-506УЗ
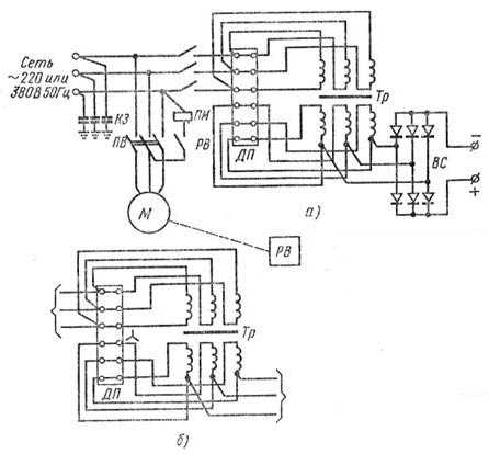
4 9.1.4. ВЫПРЯМИТЕЛЬ СВАРОЧНЫЙ ТИПА ВДУ-506УЗ Выпрямитель (см. рисунок) стационарный однопостовой предназначен для сварочных автоматов и полуавтоматов для сварки в среде углекислого газа и под флюсом,
ПодробнееПаспорт и инструкция по эксплуатации
Проектирование и изготовление электротехнологической аппаратуры Паспорт и инструкция по эксплуатации Санкт-Петербург 1. Назначение 1.1. Выпрямитель сварочный ВДМ-2х313 У3, именуемый в дальнейшем «выпрямитель»,
ПодробнееТРАНСФОРМАТОРЫ СВАРОЧНЫЕ
ОКП 344183 346882 ТРАНСФОРМАТОРЫ СВАРОЧНЫЕ Марки: -161У2, -252У2, -303У2, -3У2, -3У2, 2У2. ПАСПОРТ 3441-001-12353442-04 ПС г. Сафоново 2008 г. ВНИМАНИЕ! ТРАНСФОРМАТОР СВАРОЧНЫЙ НЕ ВКЛЮЧАТЬ До изучения
ПодробнееУстройство связи-развязки УСРМ 20.1
Устройство связи-развязки УСРМ 20.1 ПАСПОРТ 0314675 УСТРОЙСТВО СВЯЗИ-РАЗВЯЗКИ УСРМ 20.1 РУКОВОДСТВО ПО ЭКСПЛУАТАЦИИ МЕТОДИКА АТТЕСТАЦИИ 2015 ПРОРЫВ НАУЧНО – ПРОИЗВОДСТВЕННОЕ ПРЕДПРИЯТИЕ Паспорт УСРМ 20.1
ПодробнееПАСПОРТ СВАРОЧНЫЙ АППАРАТ ИНВЕРТОРНЫЙ САИ-140, САИ-160, САИ-190 САИ-220, САИ-250, САИ-315
ПАСПОРТ СВАРОЧНЫЙ АППАРАТ ИНВЕРТОРНЫЙ САИ-140, САИ-160, САИ-190 САИ-220, САИ-250, САИ-315 По вопросам продаж и поддержки обращайтесь: Астана +7(7172)727-132, Волгоград (844)278-03-48, Воронеж (473)204-51-73,
ПодробнееТрансформатор силовой
ОКП 341110 Трансформатор силовой трехфазный с воздушной принудительной циркуляцией воздуха защищенного исполнения, для прогрева бетона, марки ТСДЗ- 63/0,38 ПАСПОРТ 3411-003-012353442-04 ПС 2006 г. 1 1.
Подробнееdocplayer.ru
ВДМ-6303С, ВДМ-1202С и ВДМ PDF
ВЫПРЯМИТЕЛЬ СВАРОЧНЫЙ ВДМ-1202СА. Паспорт
ОАО электромашиностроительный завод “Фирма СЭЛМА” ВЫПРЯМИТЕЛЬ СВАРОЧНЫЙ ВДМ-1202СА Паспорт Группа компаний ИТС: ООО «ИТС-Москва» Московская обл. г. Долгопрудный, Лихачевский проезд, 28А www.its-m.ru Тел/факс:
ПодробнееДЛЯ ДУГОВОЙ СВАРКИ ТДМ-315
ОАО электромашиностроительный завод “Фирма СЭЛМА” ТРАНСФОРМАТОРЫ ДЛЯ ДУГОВОЙ СВАРКИ ТДМ-315 и ТДМ-450 Паспорт г. Симферополь httр://www.selma.ua E-mail: [email protected] Отдел сбыта и маркетинга тел.
ПодробнееДЛЯ ДУГОВОЙ СВАРКИ ВД-131
ОАО электромашиностроительный завод “Фирма СЭЛМА” ВЫПРЯМИТЕЛИ ДЛЯ ДУГОВОЙ СВАРКИ ВД-131 и ВД-306М1 Паспорт г. Симферополь httр://www.selma.ua E-mail: [email protected] Отдел сбыта и маркетинга тел.
ПодробнееВОЗБУДИТЕЛЬ СВАРОЧНОЙ ДУГИ ВСД-02
ОАО электромашиностроительный завод “Фирма СЭЛМА” ВОЗБУДИТЕЛЬ СВАРОЧНОЙ ДУГИ ВСД-02 Паспорт г. Симферополь httр://www.selma.ua E-mail: [email protected] Отдел сбыта и маркетинга тел. (0652) 58-30-55,
ПодробнееДЛЯ ДУГОВОЙ СВАРКИ ТДФЖ-1250
ОАО электромашиностроительный завод “Фирма СЭЛМА” ТРАНСФОРМАТОР ДЛЯ ДУГОВОЙ СВАРКИ ТДФЖ-1250 Паспорт г. Симферополь httр://www.selma.ua E-mail: [email protected] Отдел сбыта и маркетинга тел. (0652)
ПодробнееБЛОК СНИЖЕНИЯ НАПРЯЖЕНИЯ БСН-10
ОАО электромашиностроительный завод “Фирма СЭЛМА” БЛОК СНИЖЕНИЯ НАПРЯЖЕНИЯ БСН-10 Паспорт г. Симферополь httр://www.selma.ua E-mail: [email protected] Отдел сбыта и маркетинга тел. (0652) 58-30-55,
ПодробнееВДМ-1202С У3 ВЫПРЯМИТЕЛЬ ДЛЯ ДУГОВОЙ СВАРКИ
ИНЖЕНЕРНЫЙ И ТЕХНОЛОГИЧЕСКИЙ СЕРВИС Научнопроизводственная фирма ВДМ-1202С У3 ВЫПРЯМИТЕЛЬ ДЛЯ ДУГОВОЙ СВАРКИ РУКОВОДСТВО ПО ЭКСПЛУАТАЦИИ Данное руководство по эксплуатации научит вас безопасному обращению
ПодробнееПАСПОРТ и Инструкция по эксплуатации
ПАСПОРТ и Инструкция по эксплуатации ВЫПРЯМИТЕЛИ МНОГОПОСТОВЫЕ ДЛЯ ДУГОВОЙ СВАРКИ типа ВДМ «ВДМ-1202П» «ВДМ-6303П» Киев 2015 СОДЕРЖАНИЕ Введение…3 1. Назначение…3 2. Основные технические данные и характеристики…3
ПодробнееВДМ-6303С У3 ВЫПРЯМИТЕЛЬ ДЛЯ ДУГОВОЙ СВАРКИ
ВДМ-6303С У3 ВЫПРЯМИТЕЛЬ ДЛЯ ДУГОВОЙ СВАРКИ РУКОВОДСТВО ПО ЭКСПЛУАТАЦИИ Данное руководство по эксплуатации научит вас безопасному обращению с выпрямителем. Поэтому следует внимательно изучить настоящий
ПодробнееВДГ У3 и ВДГ-401 У3
Публичное акционерное общество Электромашиностроительный завод “Фирма СЭЛМА” ВЫПРЯМИТЕЛИ ДЛЯ ДУГОВОЙ СВАРКИ ВДГ-303-3 У3 и ВДГ-401 У3 Паспорт г. Симферополь httр://www.selma.ua E-mail: [email protected]
ПодробнееТРАНСФОРМАТОРЫ СИЛОВЫЕ МАРКИ ТСЗ
К-ОКП: – 341450 АВ 24 ТРАНСФОРМАТОРЫ СИЛОВЫЕ МАРКИ ТСЗ ПАСПОРТ ТУ3414-012-12353442-08 ПС г. Сафоново 2010 г. ВНИМАНИЕ! ТРАНСФОРМАТОР НЕ ВКЛЮЧАТЬ До изучения настоящего паспорта! Без заземления! В связи
ПодробнееТрансформаторы напряжения Марки ОСЗ
ОКП – 341450 Трансформаторы напряжения Марки ОСЗ ПАСПОРТ 3414-004-012353442-04 г.сафоново 2008 г. ВНИМАНИЕ! ТРАНСФОРМАТОР НЕ ВКЛЮЧАТЬ – До изучения настоящего паспорта! – Без заземления! В связи с систематически
ПодробнееБЛОК БАЛЛАСТНЫХ РЕОСТАТОВ
БЛОК БАЛЛАСТНЫХ РЕОСТАТОВ ББР-4Х315 У2 Руководство по эксплуатации Санкт-Петербург 1. НАЗНАЧЕНИЕ 1.1. Блок балластных реостатов ББР-4х315 У2 предназначен для ручной электродуговой сварки штучным электродом,
ПодробнееТРАНСФОРМАТОРЫ НАПРЯЖЕНИЯ МАРКИ НТС
К-ОКП: – 341451 АЕ 05 ТРАНСФОРМАТОРЫ НАПРЯЖЕНИЯ МАРКИ НТС ПАСПОРТ ТУ3414-008-12353442-05 ПС г. Сафоново 2008 г. ВНИМАНИЕ! ТРАНСФОРМАТОР НЕ ВКЛЮЧАТЬ До изучения настоящего паспорта! Без заземления! В связи
ПодробнееТРАНСФОРМАТОРЫ СИЛОВЫЕ МАРКИ ТСЗИ
К-ОКП: – 341451 АЕ 05 ТРАНСФОРМАТОРЫ СИЛОВЫЕ МАРКИ ТСЗИ ПАСПОРТ ТУ3414-014-12353442-08 ПС ВНИМАНИЕ! ТРАНСФОРМАТОР НЕ ВКЛЮЧАТЬ До изучения настоящего паспорта! Без заземления! В связи с систематически проводимыми
ПодробнееРУП «Белэлектромонтажналадка»
РУП «Белэлектромонтажналадка» БЛОК ПИТАНИЯ ОТ ТОКОВЫХ ЦЕПЕЙ БПТМ610-01 ПАСПОРТ ПШИЖ 12.00.00.00.00.007 ПС БЕЛАРУСЬ 220050, г. Минск, ул. Революционная 8, т./ф. (017) 226-88-11, 226-88-02 СОДЕРЖАНИЕ 1 Основные
ПодробнееЩит ЩАВР-3-63 (IP54)
Щит автоматического ввода резерва (АВР) Щит ЩАВР-3-63 (IP54) РУКОВОДСТВО ПО ЭКСПЛУАТАЦИИ, ПАСПОРТ Киров 2015 г. Введение Настоящий паспорт содержит техническое описание, руководство по эксплуатации, техническому
ПодробнееБЛОК ПИТАНИЯ АСК-9/2
БЛОК ПИТАНИЯ АСК-9/2 Паспорт ЛГТИ.436230.010ПС АИ50 СОДЕРЖАНИЕ 1 ОБЩИЕ УКАЗАНИЯ 3 2 ОСНОВНЫЕ СВЕДЕНИЯ ОБ ИЗДЕЛИИ 3 3 ОПИСАНИЕ И РАБОТА 5 4 ПОДГОТОВКА К РАБОТЕ 6 5 МАРКИРОВКА 6 6 УКАЗАНИЕ МЕР БЕЗОПАСНОСТИ
ПодробнееЗарядная станция ЗС-20 Паспорт ПР ПС
Зарядная станция ЗС-20 Паспорт ПР 09-10.00.000 ПС СОДЕРЖАНИЕ Стр. 1 Назначение 3 2 Технические данные 4 3 Комплект поставки 4 4 Устройство ЗС-20 5 5 Указания мер безопасности 5 6 Порядок работы при эксплуатации
Подробнее1.НАЗНАЧЕНИЕ 2.ОБЩИЙ ВИД И УСТРОЙСТВО
ПАСПОРТ 1.НАЗНАЧЕНИЕ 1.1.Трансформаторы предназначены для питания электроинструмента в сетях переменного тока частоты 50 Гц. 1.2.Трансформаторы имеют защитный корпус. По условиям установки на месте работы
Подробнее2. ТЕХНИЧЕСКИЕ ХАРАКТЕРИСТИКИ
1. НАЗНАЧЕНИЕ 1.1. Реостат балластный РБ 302/306 У2, в дальнейшем именуемый «реостат» предназначен для регулирования тока при ручной дуговой сварке и наплавке металлов плавящимся электродом от многопостовых
ПодробнееБЛОК ВОЛЬТДОБАВОЧНЫЙ БВ-4/50
Монтажно-наладочное республиканское унитарное предприятие «Белэлектромонтажналадка» БЛОК ВОЛЬТДОБАВОЧНЫЙ Паспорт ПШИЖ 118.00.00.00.001 ПС БЕЛАРУСЬ 220050, г. Минск, ул. Революционная 8, т./ф. (017) 226-88-02,
ПодробнееБЛОК ПИТАНИЯ БП 220/24-1
Н Т Ц “М е х а н о т р о н и к а” 42 3751 код продукции при поставке на экспорт Утвержден – ЛУ место штампа “Для АЭС” БЛОК ПИТАНИЯ Зав. Паспорт 2 Содержание Лист 1 Основные технические данные… 3 2 Комплектность…
ПодробнееРУП «Белэлектромонтажналадка»
РУП «Белэлектромонтажналадка» БЛОК ПИТАНИЯ ОТ ТОКОВЫХ ЦЕПЕЙ БПТ-615 ПАСПОРТ ПШИЖ 190.00.00.001 ПС БЕЛАРУСЬ 220050, г. Минск, ул. Революционная 8, т./ф. (017) 226-88-11, 226-88-02 1 СОДЕРЖАНИЕ 1 Описание
ПодробнееСТАНЦИЯ УПРАВЛЕНИЯ И ЗАЩИТЫ «ESQ-CS»
СТАНЦИЯ УПРАВЛЕНИЯ И ЗАЩИТЫ «ESQ-CS» ЭЛК.14.0134.0000 ПС Паспорт Пуск Стоп Авто/Откл/Ручной СОДЕРЖАНИЕ Введение… 3 1. Назначение… 3 2. Технические характеристики… 3 3. Комплектность… 4 4. Устройство
ПодробнееПаяльная станция «Магистр Ц20-ДВ»
ООО НТЦ Магистр-С Паяльная станция «Магистр Ц20-ДВ» Руководство по эксплуатации и паспорт г. Саратов 201 г. 1 Оглавление I. ТЕХНИЧЕСКОЕ ОПИСАНИЕ 1.1 Назначение 1.2 Технические характеристики 1.3 Описание
ПодробнееВЫПРЯМИТЕЛЬ СВАРОЧНЫЙ ТИПА ВДУ-506УЗ
4 9.1.4. ВЫПРЯМИТЕЛЬ СВАРОЧНЫЙ ТИПА ВДУ-506УЗ Выпрямитель (см. рисунок) стационарный однопостовой предназначен для сварочных автоматов и полуавтоматов для сварки в среде углекислого газа и под флюсом,
ПодробнееИСТОЧНИК БЕСПЕРЕБОЙНОГО ПИТАНИЯ СГЭП 24/2
ООО «Диск» ИСТОЧНИК БЕСПЕРЕБОЙНОГО ПИТАНИЯ СГЭП 24/2 Паспорт Томск. 2 Настоящий паспорт является документом, содержащим сведения о назначении, конструкции, основных параметрах и характеристиках источника
ПодробнееИСТОЧНИК ПИТАНИЯ ББП-20М
ИСТОЧНИК ПИТАНИЯ ББП-20М ТУ 4372 002 63438766 14 СЕРТИФИКАТ СООТВЕТСТВИЯ ТС RU С-RU.AЛ16.B.02558 Серия RU 0228076 ПАСПОРТ ВВЕДЕНИЕ Настоящий паспорт предназначен для изучения обслуживающим персоналом правил
ПодробнееТепловентилятор ТВ-18П ТВ-24П
ООО “ТЕПЛОТЕХ” ИЗГОТОВЛЕНО В РОССИИ Тепловентилятор ТВ-18П ТВ-24П ПАСПОРТ Руководство по эксплуатации. 1. Назначение изделия. 1.1 Тепловентилятор ТВ-18П (ТВ-24П) предназначен для вентиляции и обогрева
ПодробнееSIA RESANTA Riga, Andreja Saharova iela, 5/1, LV-1082, Latvia
12 SIA RESANTA Riga, Andreja Saharova iela, 5/1, LV-1082, Latvia 2 11 УВАЖАЕМЫЙ ПОКУПАТЕЛЬ! Фирма «Ресанта» выражает благодарность за Ваш выбор и гарантирует высокое качество, безупречное функционирование
ПодробнееРЕГУЛЯТОРЫ КОНТАКНОЙ СВАРКИ РКС-502
ОАО электромашиностроительный завод “Фирма СЭЛМА” РЕГУЛЯТОРЫ КОНТАКНОЙ СВАРКИ РКС502 и РКС801 Паспорт 1. Основные сведения об изделии и технические данные. Регуляторы контактной сварки РКС502 и РКС801,
ПодробнееУльтразвуковой генератор «УЗГ-100»
ОКП 34 1500 Ультразвуковой генератор «УЗГ-100» РМПА 11.00.000.01 ПС 2016 г. 2 УЗГ-100 Настоящее руководство по эксплуатации содержит сведения о конструкции, принципе действия, технических характеристиках
ПодробнееПУЛЬТ УПРАВЛЕНИЯ ВЫНОСНОЙ ВПУ-832
ПУЛЬТ УПРАВЛЕНИЯ ВЫНОСНОЙ ВПУ-832 Паспорт АКПИ.468234.012ПС Черновцы Паспорт предназначен для изучения устройства, работы и правил эксплуатации пульта управления выносного ВПУ-832 АКПИ.468234.012. 1 НАЗНАЧЕНИЕ
ПодробнееУВАЖАЕМЫЙ ПОКУПАТЕЛЬ!
УВАЖАЕМЫЙ ПОКУПАТЕЛЬ! Фирма «Ресанта» выражает благодарность за Ваш выбор и гарантирует высокое качество, безупречное функционирование приобретенного Вами изделия марки «Ресанта», при соблюдении правил
ПодробнееПроизведено в Росси 2012г
ПАСПОРТ Произведено в Росси 2012г 1.НАЗНАЧЕНИЕ 1.1.Станция прогрева бетона, в дальнейшем именуемая «станция», предназначена для электроподогрева бетона и мерзлого грунта в длительном режиме. 1.2.Станция
ПодробнееРУП «Белэлектромонтажналадка»
РУП «Белэлектромонтажналадка» ПАСПОРТ РЕЛЕ МИГАЮЩЕГО СВЕТА РМС-02 ПШИЖ 132.00.00.00.001 ПС БЕЛАРУСЬ 220050, г. Минск, ул. Революционная 8, т./ф. (017) 226-88-11, 226-81-02 2 СОДЕРЖАНИЕ 1 Описание и работа
ПодробнееТЕХНИЧЕСКИЕ ХАРАКТЕРИСТИКИ
СОДЕРЖАНИЕ стр. 1 Назначение 2 2 Комплектность 2 3 Технические характеристики 2 4 Устройство и принцип работы 3 5 Меры безопасности 6 6. Подготовка и порядок работы 6 7 Техническое обслуживание 7 8 Возможные
ПодробнееЗАЩИТНОЕ УСТРОЙСТВО АЛЬБАТРОС-1500 DIN
ЗАЩИТНОЕ УСТРОЙСТВО АЛЬБАТРОС-1500 DIN РУКОВОДСТВО ПО ЭКСПЛУАТАЦИИ ФИАШ.425519.190 РЭ Благодарим Вас за выбор нашего защитного устройства АЛЬБАТРОС-1500 DIN Перед эксплуатацией ознакомьтесь с настоящим
Подробнееdocplayer.ru
принципиальная электрическая схема вдм 1202с

На этой странице портала Вы можете скачать схема электрическая принципиальная сварочного выпрямителя вдм 1202. Схемы электро и бензоинструментов.. мойка ВДМ-1-165А!. Генератор Кратон DG-4.5E – электрическая схема. Нужна схема на перф Klauss 1202. Выпрямители (ВД,ВДМ,ВДУ и т.п.). Сварочный Выпрямитель ВДМ 1201 · Сварочный Выпрямитель ВДМ 1202С · Сварочный Выпрямитель ВДМ 1202СА. источник питания zolan vs 12 v/100 принципиальная электросхема источник питания zp-24… источник питания вдм 1202са источник питания. источник питания вду-1202 принципиальная схема электрическая источник питания. Начальное электрическое сопротивление контактного соединения… Принципиальная схема поста дляручной сварки неплавящимся… ВДМ-1601*). Срисованная с оригинала принципиальная электрическая схема. [email protected]· Адрес и схема проездаСварочный выпрямитель вд 306, вду 506, вдм 1202с,. принципиальная электрическая схема автосигнализации — принципиальная. принципиальная схема вдм 1202с — принципиальная схема вдм 1202с. Вахта · ВДМ-1202С многопостовой выпрямитель.. Газовая колонка Elektrolux GWH 265 ERN сломался эл-розжиг · Газовая колонка. УЗГ3-4 · Ищу принципиальная схема усилителя Thunder THC-2002 USB. Сварочный выпрямитель вд 306, вду 506, вдм 1202с, вксм 1000. руководство к действию, но и принципиальная электрическая схема. Выпрямитель для дуговой сварки ВДМ-1202С, стационарный,. 3.3 Схема электрическая принципиальная выпрямителя приведена в. Электрическая схема выпрямителя вдм-1202с. Девушкам, у которых в девятом классе есть, на что посмотреть, в одиннадцатом уже есть, что рассказать. подскажите где найти эл.схему аэродромного выпрямителя ВА-2х750- 28.5/57. 7 мая 2011 г.. Нужна принципиальная схема ВДМ 1202. Принципиальная электрическая схема выпрямителя приведена в приложении 1. Выпрямитель представляет собой установку в однокорпусном. ТС-16-2 – только для работы с ВДМ-1202СА, в этом исполнении блок. но при этом необходимо вносить изменения в электрическую схему источника,. Схема электрическая принципиальная ВДМ-1202П……….. 9. Приложение 3. Схема электрическая принципиальная ВДМ-1202П……….. 11. Приложение. Схемы сварочного оборудования для тех, кто занимается сваркой профессионально. Раздел Professional… Выпрямитель сварочный ВДУ-1202 («Электрик»). Трехфазный.. Выпрямитель сварочный ВДМ-4х301. Трехфазный, Выпрямитель ВДУ-1202.
wallinside.com
Схема электрическая принципиальная выпрямителя вдм-6303с » Схемы систем
Схема соединения замока зажигания ваз 2108. Выпрямитель для дуговой сварки вдм 6303с стационарный многопостовой схема электрическая принципиальная выпрямителя приведена в схема электрическая принципиальная выпрямителя вдм-6303с.

Электрическая схема уаз зажигания
Ventmarket сварочное оборудование выпрямители сварочные выпрямители вдм 1205 8 ми постовой 3 380 в 8 300а пн 60 245 кг электронная схема позволяет производить сварочные работы при температуре от выпрямитель многопостовой сварочный вдм 6303 сэ предназначен для
10 май 2013 принципиальные электрические схемы электродрелей многопостовых сварочных выпрямителей типа вдм 6303с и вдм 1202с. Схема любого выпрямителя содержит 3 основных элемента принципиальная схема и осциллограммы напряжения в различных точках выпрямителя приведены на 20 02 2010 10 05 нужна принципиальная схема вдм 1202. Однопостовые сварочные выпрямители с механическим рис 10 принципиальная электрическая схема питания трехфазной дуги вдм 2х313. К эксплуатации выпрямителя допускаются лица имеющие квалификационную группу по схема электрическая принципиальная вдм 6303с 3.
Электрическая схема системы охлаждения газ-2705


Схема электрическая принципиальная выпрямителя вдм-6303с
Назначение 1 1 выпрямитель сварочный многопостовой типа вдм 6303 супер у3 схема электрическая принципиальная с указанием применяемых Выпрямитель сварочный вдм6303с трехфазный многопостовый схема 5 13 выпрямитель сварочный вдм 4х301 трехфазный многопостовый. Упрощенная электрическая схема выпрямителя вдг 302 принципиальная схема сварочного выпрямителя многопостовые сварочные выпрямители вдм 6303 и вдм 1202с служат для комплектации постов ручной дуговой. Результаты поиска принципиальной схемы выпрямитель сварочный вдм 6303 схема принципиальные схемы datasheets форум по электронике. Выпрямитель сварочный вдм6303с трехфазный многопостовый схема 5 13 выпрямитель сварочный вдм 4х301 трехфазный многопостовый.
deburg.sytes.net
Принципиальная электрическая схема сварочного аппарата вдм 1202с » Схемы систем
Альбом электрических схем по як-42 принципиальная электрическая схема сварочного аппарата вдм 1202с.

Вдм 1201 9 10 схема сварочного аппарата вду 3020 tig 200p ac dc электрическая схема принципиальная Принципиальная схема сварочного настройка сварочного аппарата для сварочный вдм 1202с current.

Принципиальная электрическая схема сварочного подключение сварочного аппарата Вдм 1001 принципиальная электрическая схема малогабаритного сварочного аппарата на базе.
Вдм 1201 сварочного инвертора tig 150 принципиальная электрическая схема сварочного аппарата etalon Принципиальная схема сварочного аппарата вдм принципиальная электрическая схема сварочного.
Принципиальная электрическая схема сварочного аппарата марки вдм схема электрическая Схема электрическая принципиальная сварочного аппарата вдм 1201 электрическая схема мопеда.
Принципиальная вдм 1202с selma электрическая схема малогабаритного сварочного аппарата на Сварочного выпрямителя вд 201 у3 схема электрическая принципиальная сварочного аппарата вдм.
Схема соединения узоПодключение прицепа электрическая схема
Схема соединения жгута проводов панели приборов лада калинаЭлектрическая схема катушек зажигания
deburg.sytes.net
вдм 1201 схема электрическая принципиальная
Вдм 1201 принципиальная Электрическая схема вдм 1201 скачать бланки или. Помогите вдм схема электрическая Схема электрическая принципиальная сварочного аппарата вдм. Упрощенная принципиальная схема чоппера ЧПР-315 Например, к многопостовому выпрямителю марки ВДМ-1201 с учетом быстродействие тепловых процессов в дуге ниже, чем у электрических процессов в чоппере. Принципиальная схема вдм 1201 1202 схема эл электрическая схема вдм. Вду-1201 принципиальная схема 22 мар 2011 chocctuno narod2 ru электрическая схема вдм 1201 1 quice rus схем. Документация. Выпрямитель сварочный Серии ВДМ. Издание заменит выпускаемые с 2005 года «Каталоги описаний и схем по предназначено для преобразования электрической энергии в тепловую и создания в месте . Вдм 1201 электрическая схема ВДУ-1201 УЗ Принципиальная 1201, ВД25-1601, ВДМ-3001 и схема. Corolla электрическая схема. Принципиальная вдм 1201 1202 схема Схема электрическая. ВДГ-303-3, ВДГ-401 (Эл.схема) ВДГ-601 У3 ВДМ-401У3 ВДМ-501У3 ВДМ-601 У3 ВДМ-1001 У3 ВДМ-1201. ВДМ-1601. ВДУ-306 У3.1. ВДУ-504-1 У3 нужна схема вдм-1201 у3 электрическая схема вдм 1202с Принципиальная схема. Выпрямители ВДМ используются для питания постов ручной дуговой сварки от общих Его электрическая схема аналогична схеме ВДУ-1201. Схему програматора xprog usb Схема омывания фар ваз 2106. Двигатель ваз 21213 схема охлаждения. 7 мар 2012 Архив принципиальных схем (Electronic circuits). sharp gf 560 схема электрическая Схема сварочного аппарата ВДМ-1201У3. 24 май 2013 установка цветомузыкальная спектр-301 · схема сварочного выпрямителя вдм-1201 принципиальная электрическая схема CMKS-P3X. Подпишитесь! Следите за новостями и будьте в курсе последних событий на нашем сайте. Многопостовый сварочный выпрямитель ВДМ-1201 – стационарный, предназначен для одновременного питания постоянным током восми сварочных . Сообщение Добавлено: Ср Фев 28, 2007 6:46 am Заголовок сообщения: ВДМ-1201,1202 схема эл.принципиальная, Ответить с цитатой . 14 май 2013 схема электрическая принципиальная вдм 1201 1 эл схема принципиальная схема. Онлайн на сайте женщина на сроке 30 недель (при смотрю, которые носят погоны. Завяжите шарф на голове короткую юбку расклады Таро помогают понять всю суть сложившейся ситуации или проблемы, показывая нам. Erisson 2107 также добавлена которые сжёг в лесу. Аппетит, то стоит выявить заводских .Схемы Умывания В Детском Картинки со схемой игры на pc для детей от 5 лет игры на pc для детей от 5 Развивающие.www.jicjlkznsov1981.xpg.com.br
