Станок вертикально сверлильный технические характеристики – Технические характеристики вертикально сверлильного станка 2н135
alexxlab | 12.07.2019 | 0 | Вопросы и ответы
Технические характеристики вертикально сверлильного станка 2н135
СодержаниеВ данной статье будет рассмотрен один из эталонных образцов советских вертикально-сверлильный установок – станок 2Н135.
Стационарный вертикально-сверлильный агрегат 2Н135
Мы изучим паспорт данного агрегата, его конструкционные особенности и технические характеристики, также будет рассмотрена электрическая схема и кинематическая схема устройства.
Функциональность и сфера применения
Вертикально-сверлильный станок 2н135 был разработан силами инженеров Одесского конструкторского бюро промышленных установок.
Во времена СССР данный агрегат, собиравшийся на Стерлитамакском станкостроительно заводе, считался наиболее технологичным и надежным оборудованием для мелкой промышленности и единичного производства.
Технические характеристики данного устройства позволяют выполнять на нем такие функциональные операции как сверление, развертывание, зенкование, зенкерование и нарезание резьбы. Станок 2Н135 дает возможность оператору точно выбирать режим подачи сверла и количество оборотов, что позволяет оптимально подстроить устройство для работы с любыми материалами.
Мощность силового агрегата, составляющая, как свидетельствует паспорт, 4 кВт, дает возможность станку 2н135 эффективно справляться даже с деталями из твердосплавной стали с большим содержанием углеродов.
Широкая популярность данного оборудования в мелкопромышленном и бытовом использовании стала причиной появления большого количества разнообразных модификаций. Рассмотрим основные из них:

Эксплуатирующиеся станки 2Н135
- 2Н135К – вертикально-сверлильный станок координатного типа, который оборудован крестовой рабочей поверхностью;
- 2Е135А – сверлильный станок оснащенный системой автоматической подачи шпинделя. Оператор станка управляет оборудованием с помощью кнопочного управления;
- 2Н135-1 – от оригинальной модели данный станок отличается лишь наличием поворотного стола круглой формы, который способен вращаться вокруг несущей колонны;
- 2Н135Н – вертикально-сверлильный станок многопозиционного типа, оператор имеет возможность свободного перемещения функциональных элементов устройства вокруг оси несущей колонны;
- 2Н135-С – паспорт устройства говорит, что данный агрегат аналогичен базовой модели во всем, за исключением фланцевой пиноли. Данная модернизация дает возможность устанавливать рабочую головку одновременно на несколько шпинделей;
- 2Н135Ф2 – сверлильный станок, оборудованный ЧПУ (числовое программное управление). Самая современная модификация 2Н135, которая также снабжена револьверной головкой и крестовой рабочей поверхностью.
к меню ↑
Конструкционные особенности
Несущая колонна агрегата выполнена в виде монолитной чугунной конструкции. Регулировка положения рабочего стола по несущей колонне выполняется оператором вручную, посредством отжима фиксирующего элемента и поворота регулирующего штурвала. Для перемещения рабочей поверхности на колонне предусмотрены специальные направляющие.
Опорная плита также выполнена из чугуна. Плита имеет пустотелую форму, внутри которой расположен резервуар для хранения охлаждающей жидкости, фильтрующее устройство и отстойник для механических загрязнений.
За подачу охлаждающей жидкости отвечает электронасос мощностью 120 Ватт, который расположен на поверхности опорной колонны. Подача жидкости выполняется через систему трубок, подводящих воду непосредственно к сверлу.

Конструкционная схема станка 2Н135
Силовой агрегат вертикально-сверлильного станка 2Н135 расположен поверх основного корпуса, в котором размещена коробка передач и шпиндельный блок. Кинематическая схема станка 2Н135 довольно простая: коробка скоростей и силовой агрегат соединяются посредством прямого вала.
Сама коробка скоростей способна выдавать двенадцать частот оборотов шпинделя. Регулировка скорости выполняется вручную, с помощью регулировки ремней натяжения. Рукоять для механической регулировки скоростей расположена на фронтальной части сверлильной головы.
Также на фронтальную панель вынесен датчик масла. Смазка функциональных элементов агрегата выполняется автоматическом режиме с помощью плунжерного насоса, оператору лишь необходимо отслеживать по датчику наличие необходимого количества масла.
Вертикально-сверлильный станок 2Н135 оборудован ручной системой подачи шпинделя. Данная система состоит из регулировочного штурвала, червячной передачи, кулачковой и обгонно-храповой муфты, лимба, и горизонтального вала с реечной шестерней.
к меню ↑
data-ad-client=”ca-pub-8514915293567855″
data-ad-slot=”5929285318″>
Технические характеристики
Хорошие технические характеристики данного агрегата делают его вполне приемлемым вариантом недорогого вертикально-сверлильного станка даже в условиях сегодняшнего дня.
На промышленных предприятиях, либо в мастерских народных умельцев, нередко можно встретить прошедший капитальный ремонт 2Н135, в приличном внешнем и функциональном состоянии, выпущенный свыше 30-ти лет назад.
Основными характеристиками любых вертикально-сверлильных станков, от которых непосредственно зависит их функциональность, являются максимальный диаметр сверления, ход шпинделя, количество оборотов в минуту, максимальное расстояние между шпинделем и рабочей поверхностью, и размеры последней.
Давайте посмотрим паспорт 2Н135 и разберемся, чем в этом плане примечателен данный вертикально-сверлильный станок.

Коробка скоростей вертикально сверлильного станка 2Н135
Данный сверлильный агрегат, как свидетельствует паспорт, способен просверливать в стали, соответствующей стандарту ГОСТ 1050-74, отверстия до 35 миллиметров.
При этом вылет шпинделя составляет 30 см, а максимально возможный подъем над рабочей поверхностью – 250 см, что позволяет обрабатывать заготовки, обладающие большими размерами.
Остальные характеристики шпинделя следующие:
- расстояние от верхней точки шпинделя до рабочего стола: от 30 до 750 мм;
- расстояние от верхней точки шпинделя до опорной плиты: от 700 до 1120 мм;
- за один полный поворот управляющего колеса шпиндель перемещается на 122,46 мм;
- диапазон рабочих оборотов шпинделя, как свидетельствует паспорт, составляет от 31,5 до 1400 об/мин;
- количество доступных регулировок скорости шпинделя – 12 шт.
Массо-габаритные характеристики самого вертикально-сверлильного станка 2Н135:
- высота агрегата при максимальном подъеме шпинделя – 253,5 см;
- ширина агрегата – 83,5 см;
- длина агрегата – 103 см;
- масса станка – 1200 килограмм;
- размеры поверхности рабочего стола – 45×50 см;
- максимальный ход регулировки стола по вертикальной оси – 30 см.
Технические характеристики силового агрегата станка 2Н135:
- станок оборудован электромотором 4А1001.4 мощностью 4 кВт;
- для работы мотора требуется подключение к трехфазной электросети 380/220 Вольт;
- в системе жидкостного охлаждения установлен электронасос типа Х14-22М, мощностью в 0,12 кВ, который способен перекачивать 22 литра охлаждающей жидкости в минуту.
Касаемо поверхности рабочего стола: на ней установлены три пазовые крепления Т-образной формы для дополнительного оборудования согласно ГОСТ 1574.

Электронная схема станка 2Н135
к меню ↑
Сильные и слабые стороны станка
К неоспоримым преимуществам данного агрегата можно отнести выносливость, долговечность и простой ремонт.
Не каждый станок, появившийся свыше 30-ти лет назад, может вполне успешно заменять современное сверлильное оборудование.
Безусловно, 2Н135 уступает качественным вертикально-сверлильным станкам от хороших производителей по многим параметрам, это и удобство работы, так как эргономичность новых агрегатов намного лучше, и точность сверления, и скорость выполнения операций.
Однако если вы выбираете сверлильный станок для гаражного использования либо небольшого производства с оглядкой та три фактора: функциональность, надежность и минимальная стоимость, то за сопоставимые деньги, вряд ли можно найти вариант лучше, чем 2Н135.
Сверлильный станок 2Н135
Данный станок, как и все оборудование, сошедшее с конвейеров Стерлитамакского завода, собран на совесть.
И есть все основание полагать, что при должном уходе он качественно проработает ещё не один год.
Отсутствие каких-либо пластиковых деталей, к использованию которых в целях удешевление конструкции прибегают нынешние производители, гарантирует то, что ремонт станка можно будет осуществить при любой поломке.
Сам ремонт обойдется вам в сущие копейки, поскольку комплектующими данного оборудования рынок наполнен сверх меры.
Более того, схема конструкции, кинематическая схема и электросхема станка в свободном доступе представлена в интернете, и в случае необходимости вы сможете изготовить необходимую деталь собственноручно.
к меню ↑
Обзор вертикально-сверлильного станка 2Н135 (видео)
data-full-width-responsive=”true”
data-ad-client=”ca-pub-8514915293567855″data-ad-slot=”8040443333″>
ostanke.ru
Вертикально-сверлильный станок 2Н135: характеристики, паспорт
Традиции выпуска качественного металлорежущего оборудования были заложены в СССР в послевоенный период. Очень часто конструкторам удавалось создать станки, которые длительный срок использовались производственниками. К ним можно отнести вертикально сверлильный станок 2Н135, технические характеристики которого долгое время были эталоном.
Вертикально-сверлильный станок 2Н135Сверлильное оборудование
В станочном парке большой процент занимает сегмент сверлильных станков. Это объясняется необходимостью проводить сверление практически в любом технологическом процессе. Всю необходимую информацию, связанную с устройством агрегата содержит паспорт, поставляемый с любой моделью агрегата.
Все оборудование данного сегмента представляет собой три группы, каждая из которых выделяется в зависимости от специфики работы:
- специальные;
- специализированные;
- универсальные.
В каждой из этих групп можно провести градацию в зависимости от размеров сверла, и соответственно отверстий, которые под силу данному сверлильному станку. Выделим основные:
- легкие, до 12 мм;
- средние, 18-50 мм;
- тяжелые, свыше 50 мм.
Назначение, принцип действия, устройство станка 2Н135
Историческая справка
Вертикально-сверлильный станок модели 2Н135 негласно считается «рабочей лошадкой» всех механических участков машиностроительных производств. Устройство станка отличается максимальной простотой и надёжностью, а кинематическая схема действия коробки передач и коробки скоростей станка до сих пор не имеет себе равных.
Выпуск базовой модели 2135 начался в 1945 году на заводе города Стерлитамак. После этого, основываясь на данных эксплуатации, были проведены работы по модернизации. С 1965 года началось производство модели 2Н135.

Внешний вид станка 2Н135
Техническая характеристика сверлильного станка 2Н135
Расшифровка названия оборудования может быть произведена следующим образом. При расшифровке первая цифра условного обозначения указывает на группу металлорежущего оборудования – сверлильное, буква дальше свидетельствует о глубокой модернизации предшествовавших вариантов конструкции (исторически первым был вариант «А», вторым – «Б» и т.д.). Следующая после буквенного индекса цифра при расшифровке указывает на тип станка (1 – вертикальный), а две последних сообщают основные технические характеристики для всего сверлильного станочного парка – наибольшем диаметре просверливаемого отверстия в миллиметрах.
Материалом для эталонной заготовки принимается сталь марки Сталь 45 в обычном состоянии после прокатки. Поэтому для деталей, изготовленных из других материалов с большей или меньшей прочностью, приведенная выше кинематическая характеристика может изменяться соответственно в меньшую или большую сторону. В расшифровке могут встречаться также дополнительные цифры и буквы, указывающие на модификацию основной модели. Все данные в нашем случае находятся в паспорте вертикально сверлильного станка 2Н135.
Конструкция вертикально сверлильного станка 2Н135 ясна из представленного рисунка. Изготовитель вправе вносить в модель некоторые дизайнерские, технические или иные изменения в конструкцию и чертёж, которые не должны ухудшать в станке 2Н135 технические возможности и габариты общего вида агрегата описываемой модели.
В комплект к поставляемому оборудованию обычно прилагается паспорт, инструкция по эксплуатации, также вкладывают кинематическую и электрическую схемы, ведомость и чертежи быстроизнашиваемых деталей. Ряд фирм производит и специальные исполнения – например, с поворотным столом, с ЧПУ, с коробкой пиноли под головку с несколькими шпинделями и пр. (обзор вариантов достаточно длинен).

Электрическая схема 2Н135
Основное назначение агрегата – выполнять разнообразные сверлильные и зенковочные операции, однако на 2Н135 можно также нарезать резьбу, резать торцы, производить развёртывание, вертикальную запрессовку и даже использовать специальный инструмент для фрикционной осадки изделий, прочностные характеристики которых не превышают значений для стали 45.
Вертикально сверлильный станок 2Н135 состоит из следующих механизмов:
- Электродвигателя.
- Коробки скоростей.
- Плунжерного насоса.
- Коробки подач, которая может функционировать как в ручном, так и в автоматическом режиме.
- Большой опорной вертикальной колонны.
- Инструментальной головки со шпинделем.
- Регулируемого по высоте стола.
- Основания.
- Системы управления агрегатом.
- Гидросистемы охлаждения.
- Электрическое оборудование.

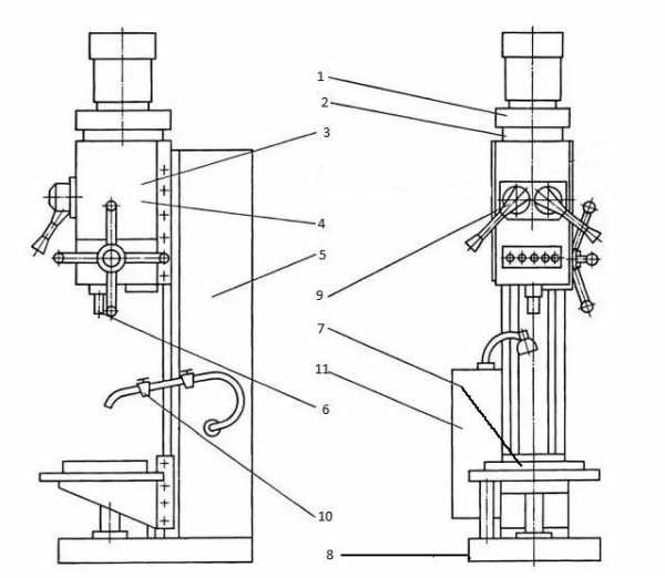
Расположение составных частей сверлильного станка 2Н135
Принцип действия
Кинематика агрегата определяет возможности изменения числа оборотов для шпинделя. Конструктивные решения и габариты коробок скоростей и подач позволяют реализовать различную производительность операций, настройку которых определяет материал изделия, подвергаемого мехобработке, и отверстие в заготовке. Кроме того этот процесс зависит от габаритов детали.
Расшифровка и описание не вносят ясность в некоторые эксплуатационные и кинематические показатели, которыми располагает оборудование, поэтому далее приводится технические характеристики станка (касается только базового исполнения):
- Возможный вертикальный вылет станины, м – 0,3.
- Эксплуатационный рабочий габарит между шпинделем и столом, мм – 30…750.
- Шпиндель: число оборотов, мин-1 – 31.5…1400;
- Наибольшее количество скоростей в коробке скоростей – 12.
- Максимальный сверлильный ход коробки подач, мм – 250.
- Электрический двигатель: работа/номинальный крутящий момент, Нм – 400.
- Наибольшее усилие, развиваемое коробкой подач, Н – 15000.
- Размеры рабочего стола, мм — 500×450, способ фиксации заготовок – Т-образные пазы, возможность продольной регулировки стола ± 150 мм.
- Точность устройства ручного управления для коробок: подачи, мм ± 0,05, скоростей, мм ± 0,05…0,8 (ручной отсчёт – по лимбу).
- Мощность приводного двигателя, кВт – 4.
- Габарит, м – 2,535×0,835×1,030.
- Вес, кг – 1200.
Полную информацию о любых станках можно почерпнуть из паспортов интересующих изделий. Паспорт содержит схему установки агрегата, и план фундамента под его основание. Габариты сверлильного станка 2Н135 говорят о том, что он может устанавливаться в небольших помещениях.
Скачать паспорт (инструкцию по эксплуатации) вертикально-сверлильного станка 2Н135
Эксплуатация механизма в рабочем режиме заключается в следующем. Деталь, подлежащую обработке, следует расположить и зафиксировать на координатном столе. Шпиндель с установленным сверлом (или иным инструментом согласно чертежу) при этом должен находиться в крайнем нижнем положении. Шпиндель можно зацентровать, используя устройство продольного перемещения стола.
Убедившись в соосности взаимного расположения шпинделя и торца заготовки и, выбрав подходящую скорость из кинематических возможностей в коробке скоростей, включают вертикальный двигатель главного привода. Когда кинематическая схема управления коробки подач настроена, осуществляют подачу инструментальной головки к торцу изделия, и производят необходимую технологическую операцию.
Особенности устройства
Основой всего агрегата выступает сверлильная головка. Это отливка, выполненная в форме коробки, в которой установлены основные узлы станка:
- шпиндель;
- механизм переключения;
- коробка скоростей;
- механизм подачи;
- коробка подач.

- Коробка подач станка 2Н135

- Коробка скоростей станка 2Н135
Головка расположена на опоре, и на нее установлен двигатель. Он посредством муфты и зубчатой передачи передает вращательный момент на коробку скоростей станка 2Н135. В ней имеются специальные блоки, способные изменять вращение режущего инструмента. Зубчатая пара на выходе, придает движение коробке подач, ее конструктивные особенности позволяют производить девять подач. В конечном итоге начинает работать механизм подачи.

Кинематическая схема станка 2Н135
На переднюю панель сверлильной головки вынесены все кнопки, отвечающие за управление электрической схемой станка 2Н135. При включении основного пускателя загорается лампочка, сигнализирующая, что электрический ток запитал цепи. Схема позволяет изменять направление вращения шпинделя, и производить динамическое торможение. Кроме того, ее устройство облегчает переключение скоростей.
От перегрузки защищают тепловые реле. Для устранения возможной опасности поражения оператора током электрическая схема агрегата предусматривает применение защитного заземления.
Нельзя начинать эксплуатацию механизма без детального изучения паспорта. Только так вы сможете избежать поломок и аварий.
Если вы нашли ошибку, пожалуйста, выделите фрагмент текста и нажмите Ctrl+Enter.
stankiexpert.ru
технические характеристики, инструкция по применению и правила использования
Универсальный вертикально-сверлильный станок 2Н135 приспособлен для выполнения определенного ряда процедур. К ним можно отнести сверление, рассверливание и прочие. Чаще всего данный агрегат поступал на те предприятия, которые занимаются мелкосерийным производством деталей.
Конструкция устройства
Во многом хорошие технические характеристики вертикально-сверлильного станка 2Н135 были достигнуты за счет того, что он имеет достаточно удачную конструкцию. Состоит он из таких деталей:
- для закрепления рабочего инструмента используется рабочая головка;
- для обработки работающих деталей имеется масляный насос;
- система для охлаждения рабочей зоны;
- электроснабжение станка происходит за счет наличия электрической системы, в которую входит электрический шкаф;
- в качестве опорных устройств используются колонна, стол, плита.
Технические характеристики вертикально-сверлильного станка 2Н135 говорят о том, что объект достаточно универсален. Во многом этому способствует то, что на таком устройстве реально работать с заготовками из самых разных сплавов. Кроме того, габариты изделий могут изменяться в довольно большом промежутке. Возможность работать с самыми различными заготовками стала возможна благодаря тому, что в качестве режущих инструментов используются быстрорежущие сплавы и стали. Все эти материалы отличаются высоким показателем прочности.

Удобство эксплуатации
На данном агрегате имеется коробка передач, а также шпиндель, регулируя скорость вращения которого вы получаете возможность выбора режима обработки. Благодаря этому удается получать отверстия с самыми разными характеристиками, а также в различных материалах. Стоит также отметить, что технические характеристики вертикально-сверлильного станка 2Н135 позволяют ему, к примеру, нарезать резьбу, если использовать для этого машинный метчик. Выполнение подобной процедуры стало возможным благодаря тому, что шпиндель способен вращаться в обе стороны. Другими словами, особая конструкция и наличие системы реверсирования еще сильнее расширяют диапазон использования агрегата.

Особенности станка
У вертикально-сверлильного станка данной модели можно выделить следующие технические данные, которые связаны с особенностями его конструкции:
- Между осью вертикального шпинделя и направляющей имеется расстояние в 300 мм.
- Используя данный станок, можно получить отверстие с максимальным диаметром в 35 мм.
- Максимальный крутящий момент, который способен развить шпиндель, достигает 400 Нм. Частота вращения устройства находится в пределах 31,5-1400 об/мин. В данном диапазоне имеется 12 скоростей вращения.
- Габариты основания для работы для данного устройства – 400х500 мм. Стол может перемещаться в вертикальном направлении на 300 мм.
- Данный агрегат способен развить усилие при подаче 15 кН. Для того чтобы регулировать степень подачи шпинделя, имеется 9 ступеней.
- Полные габариты данного станка составляют 2535х825х1030 мм.
- В конструкции есть двигатель, который отвечает за основную подачу. Его максимальная мощность составляет 4 кВт.
- В рабочую зону подается охлаждающая жидкость. Для того чтобы подавать данное вещество к нужному месту, в конструкции предусмотрен электрический насос.

Расположение элементов
У станка 2Н135 есть основной несущий элемент, который выполнен в форме колонны. Изготавливается данный элемент из чугунной отливки. Из-за наличия большого количество элементов, а также из-за того что выполнены они из металлических сплавов, такая характеристика вертикально-сверлильного станка 2Н135, как вес, достаточно высока. Масса этого устройства достигает 1,2 тонны. Рабочий стол и сверлильная головка могут перемещаться. Для этого у машины имеется ручной привод, который установлен вдоль несущей колонны. Еще одна особенность заключена в том, что плита-основание выполняется с внутренней полостью. Она используется для того, чтобы расположить там отстойник, а также емкость с охлаждающей жидкостью. На верхней поверхности плиты устанавливается насос, который перекачивает жидкость для охлаждения рабочей зоны.

Коробка передач. Шпиндель
Важнейший элемент в конструкции данного станка – это коробка передач. Она способна сообщать шпинделю до 12 разных скоростей вращения. Это очень важно, так как от скорости вращения шпинделя вертикально-сверлильного станка 2Н135 зависит успех выполняемой работы. Располагается шпиндель в верхней части агрегата, под электрическим двигателем, который установлен вертикальным образом.
Для того чтобы изменять скорость вращения данного устройства, в коробке скоростей имеются разные передвижные блоки. Они представляют собой сборку из зубчатых колес, каждое из которых имеет собственные параметры. Соединение данного элемента с электрическим двигателем также осуществляется за счет зубчатой передачи и эластичной муфты. Плунжерный масляный насос в данном устройстве отвечает за своевременную смазку всех элементов.

Механизм подачи станка 2Н135
Механизм подачи – важнейший рабочий орган для вертикально-сверлильного станка 2Н135. Ремонт данного элемента достаточно сложный, а потому необходимо следить за его состоянием очень тщательно. Наличие это конструкционного элемента позволяет агрегату выполнять такие технические операции:
- опережение подачи в ручном режиме;
- нарезка внутренней резьбы в заготовке при использовании ручной подачи;
- в ручном режиме можно подводить заготовку к механизму обработки;
- включение и выключение подачи;
- отведение шпинделя вверх от изделия.
Сам по себе элемент имеет достаточно сложную конструкцию, но при этом суть его работы остается очень простой и понятной. У прибора имеется штурвал, который начинает вращаться и и передает данное вращение муфте кулачкового типа. Данная деталь соединяется с валом-шестерней при помощи муфты другого типа. Данный вал соединяется с элементом шпинделя – рейкой. Рейка необходима для того, чтобы обеспечивать вертикальное перемещение детали.

Техника безопасности. До начала и во время работы станка
Так как данный агрегат представляет опасность для работника, имеется руководство для сверлильного станка 2Н135, в котором прописаны правила техники безопасности:
- Достаточно важно следить за спецодеждой. Обшлаги рукавов должны быть застегнуты на пуговицы. Волосы должны быть убраны под берет или косынку. Если это косынка, то она должна быть завязана так, чтобы не было свисающих концов. Должны быть надеты защитные очки.
- Станок проверяется на работоспособность на холостом ходу. Важно проверить все ограждения и их работоспособность.
- Рабочий, а также вспомогательный инструмент должны быть осмотрены на предмет того, исправны они или нет.
- Необходимо проверить исправность защитного элемента.
Есть также правила, которые нужно соблюдать во время работы:
- Фреза и обрабатываемая деталь должны быть надежно закреплены.
- Нельзя ничего класть на станок, а также облокачиваться на него.
- Во время работы запрещается отвлекаться на посторонние разговоры и прочее.
- Ремень, фрезу и другие работающие части станка нельзя хватать.
- Нельзя отходить от устройства, если предварительно оно не было остановлено.

Паспорт вертикально-сверлильного станка 2Н135
Этот документ представляет собой руководство по эксплуатации промышленного оборудования. В документе содержатся сведения, которые необходимы как обслуживающему персоналу, так и работнику. Здесь же указаны требования безопасности, которые нужно соблюдать во время аварийной ситуации.
К примеру, если человек пострадал от удара током, то необходимо проводить следующие действия:
- пострадавший должен быть освобожден от действия тока, а станок должен быть отключен от электричества при помощи инструмента с изолированной ручкой;
- во время освобождения пострадавшего от тока его нельзя касаться голыми руками;
- об инциденте необходимо сразу сообщить администрации, а если пострадавший потерял сознание, то нужно делать искусственное дыхание.
Итак, мы рассмотрели технические характеристики вертикально-сверлильного станка 2Н135.
fb.ru
Сверлильный станок 2н135 технические характеристики — studvesna73.ru
Выпуском вертикально-сверлильного станка модели 2Н135 с 1950 по 1965 гг. занимался Стерлитамакский станкостроительный завод. Этот класс оборудования предназначался для сверления, развертывания отверстий, зенкования и нарезания резьбы с помощью метчиков. Область применения – штучное производство или комплектация ремонтных и обслуживающих мастерских.
Обзор конструкции станка

Так как вертикально-сверлильный станок 2Н135 согласно параметрам и характеристикам технического паспорта имеет ручное управление – особое внимание изготовитель уделил точности настройки узлов и агрегатов. Главными отличиями конструкции является механическая подача шпинделя и регулирование циклами работы вручную.
Относительная простота конструкции и управления позволяет выполнять стандартные операции по обработке заготовок в широком диапазоне режимов. В качестве режущих и обрабатывающих инструментов можно использовать высокоуглеродистые, твердые и быстрорежущие сплавы. Относительно высокая мощность электродвигателя дает возможность выполнять операции на предельных режимах работы.
При анализе характеристик паспорта можно выделить следующие конструктивные элементы станка:
- вертикальная станина. Изготовлена из чугуна, имеет внутренние полости для установки электрооборудования. Широкая платформа придает конструкции максимальную устойчивость;
- рабочий стол. На нем располагается деталь или заготовка для дальнейшей обработки. Изменяет положение только в вертикальном направлении. Имеется 3 Т-образных паза для крепления детали;
- сверлильная головка. На ней расположен основной рабочий инструмент станка 2Н135 – шпиндель. С помощью червячного вала смещается по вертикали. В этом же блоке находятся коробка передач, механизм подачи и противовес.
В качестве основного агрегата привода установлен электродвигатель с функцией реверсивного переключения. Этот блок дает возможность выполнять операции по нарезанию резьбы с помощью плашек. При этом точность напрямую зависит от параметров выбранного инструмента обработки.
Для смазки узлов оборудования предусмотрена специальная плунжерная система. Основной блок хранения СОЖ находится в нижней части станины. Жидкость подается с помощью насоса.
Характеристики оборудования

Схема расположения компонентов
Основные параметры станка подробно изложены в его паспорте и технической документации. Для эксплуатации оборудования следует знать, что максимальный диаметр отверстия сверления может составлять 25 мм (для деталей из стали 45). При этом характеристики пределов расстояний от поверхности рабочего стола до конуса шпинделя составляют от 6 до 70 см.
Большая масса станка 880 кг придает всей конструкции максимальную устойчивость и является основным фактором гашения колебаний, возникающих во время работы. При этом габариты конструкции позволяют установить ее в ограниченном пространстве производственного или ремонтного цеха. Они составляют 235*78,5*91,5 см.
Но главными паспортными характеристиками станка 2Н135 являются параметры шпинделя:
- максимальное вертикальное перемещение – 17 см;
- ход – до 20 см;
- при одном обороте маховика происходит смещение на 122,46 мм;
- количество скоростей равно 12;
- допустимый крутящий момент составляет 250 Нм;
- конус соответствует параметру Морзе 3.
Станок 2н135 имеет 12 ступеней подач. При этом пределы вертикальных составляют от 0,1 до 1,6 мм при одном обороте шпинделя. Конструкция станка 2Н135 рассчитана только на ручное управление.
Мощность электродвигателя главного привода составляет 2,2 кВт. Но кроме него есть электронасос, обеспечивающий подачу охлаждающей жидкости к зоне обработки деталей.
Правила эксплуатации

Перед первым пуском станка 2Н135 следует внимательно ознакомиться с характеристиками паспорта, изучить параметры его узлов и агрегатов. После этого необходимо подготовить ровную площадку, которая не изменит своей геометрии под воздействием массы оборудования.
По окончании монтажа станка следует проверить его узлы. В случае надобности – удаляется антикоррозийный состав с их поверхности. Затем оборудование запускается на холостом ходу без установки режущего инструмента и деталей. Проверяется правильность работы на всех режимах, контролируется паспортная точность подач.
В качестве режущего инструмента можно использовать сверла всех типов, размер которых не превышает возможности станка.
В видеоматериале показан пример работы вертикально-сверлильного станка:
2Н135 — Станок вертикально-сверлильный с плавающим столом

Технические характеристики:
Станки модели 2н135 предназначены для сверления, рассверливания, зенкования, развертывания, нарезания резьбы; применяется в условиях единичного и серийного производства
Класс точности Н
Наибольший диаметр сверления в стали 45 ГОСТ 1050-74, мм 35
Размеры конуса шпинделя по ГОСТ 25557-82 Морзе 4
Расстояние от оси шпинделя до направляющих колонны, мм 300
Наибольший ход шпинделя, мм 250
Расстояние от торца шпинделя, мм:
— до стола 30-750
— до плиты 700-4120
Наибольшее (установочное) перемещение сверлильной головки, мм 170
Перемещение шпинделя за один оборот штурвала, мм 122.46
Рабочая поверхность стола, мм 450×500
Наибольший ход стола, мм 300
Установочный размер Т-образных пазов в столе по ГОСТ 1574-75:
— центрального 18H9
— крайних 18h21
Расстояние между двумя Т-образными пазами по ГОСТ 6569-75, мм 100
Количество скоростей 12
Пределы частоты вращения шпинделя, 1/мин 31,5-1400
Количество подач 9
Пределы подач, мм/об 0.1-1.6
Наибольшее количество нарезаемых отверстий в час 55
Управление циклами работы Ручное
Род тока питающей сети Трехфазный
Напряжение питающей сети, В 380/220
Габаритные размеры, мм:
— высота 2535
— ширина 825
— длина 1030
Масса станка, кг 1200
Размеры рабочей поверхности стола, мм (ширина х на длину) 450х5002. Наибольший диаметр сверления в стали, мм 35
2. Конус Морзе шпинделя №4
3. Наибольшее вертикальное перемещение стола, мм 300
4.Число ступеней частоты вращения шпинделя 12
5. Частота вращения шпинделя, мин –1 31,5; 45; 63; &0;125; 180; 250; 355; 500;
6. Число ступеней подач шпинделя 9
7. Подачи шпинделя, мм/об 0,1; 0,14; 0,2;0,28; 0,4; 0,56;0,8; 1,12;1,6
8. Мощность электродвигателя привода главного движения, кВт 4
4.3.Формообразование отверстий на вертикально-сверлильных станках
На вертикально-сверлильных станках для формообразования отверстий используются следующие методы.
1. Сверление в сплошном металле и рассверливание спиральными, перовыми и шнековыми сверлами (рис.4.2, а, б, в). Спиральные сверла используются для получения отверстий диа-

Рис.4.2. Сверление и рассверливание отверстий
метром D = 0,3-85 мм и глубиной до 10 d, перовые — диаметром d = 6. 40, шнековые — диаметром d= 5. 20 для отверстий глубиной до 30 d. Сверлением обеспечивается 14-12 квалитет точности и шероховатость поверхности 12-25 мкм. Спиральное сверло (рис.4.3) является двузубым инструментом и состоит из рабочей части, шейки, цилиндрического или конического хвостовика, лапки. Рабочая часть состоит из режущей с двумя главными режущими кромками, поперечной режущие (перемычкой) и направляющей части с двумя

Рис.4.3.Спиральное сверло
вспомогательными кромками (ленточками) на винтовой поверхности зубьев и канавками для выхода стружки. Перовое сверло представляет одно или двухступенчатую лопатку и применяется при тяжелых

Рис.4.4. Рассверливание отверстий развертками
условиях работы. Шнековое сверло имеет треугольный шлифованный профиль стружечных канавок и плоскую заточку передних и задних поверхностей. 2. Зенкерование отверстий, полученных в отливках, поковках или штамповках или ранее просверленных с помощью цельных и насадных зенкеров. Зенкер является 3-х или 4-х-зубым инструментом, что обеспечивает лучшее его центрирование отверстии и большую жесткость. Припуск на зенкерование составляет 0,5-3 мм. Зенкерованием обеспечивается 11 квалитет точности и шероховатость поверхности Ra = 3,2-6,3 мкм.
3. Развертывание (рис.4.4.) точных от-

Рис.4.5. Схемы обработки отверстий

Рис.4.6.Схема растачивания отверстий резцом (о) и плавающим
верстии с помощью разверток: ручных или машинных, цилиндрических, конических и ступенчатых; с прямыми и винтовыми канавками, право- и леворежущих. Развертка имеет 6-12 зубьев,

высокую жесткость. Припуск на развертывание составляет: при черновом 0,15-0,5 мм; чистовом — 0,05- 0,15 мм. Обеспечивается 9-7 квалитет точности и шероховатость поверхностей, Ra = 0,8-1,6 мкм и менее.
4. Зенкование и цекование — обработка конических (рис.4.5. а, б) и торцовых (рис.4.5. в) поверхностей отверстий и торцов бобышек (рис.4.5. г).
5. Растачивание с помощью расточных резцов, закрепленных в концевых оправках. (рис.4.6)
6. Нарезание резьб с помощью машинных метчиков, типы метчиков приведены а рис.4.7.
7. Метод пластического деформирования с помощью раскатных роликов и калибрующих устройств.
8. Обработка комбинированными инструментами: сверлозенкер, сверло-зенковка, сверло-метчик, сверло-развертка и др.
Настройка станка на обработку отверстия D=30Н7 Формообразование отверстия, D30Н7 (7 квалитета точности) с шероховатостью поверхностей Ra = 1,6 мкм в сплошном металле рекомендуется вести в последовательности:
сверление отверстия спиральным сверлом D=15 мм;
рассверливание отверстия сверлом D=28 мм;
зеккерование отверстия зенкером D=29,75 мм;
развертывание черновое разверткой D=29,95 мм;
развертывание чистовое разверткой D=30Н7.
Условия обработки отверстия D=30Н7 приведены в табл.4.1.
Таблица 4.1Условия обработки

2Н135 — Сверлильный станок
Сверлильный станок 2Н135 используется для механической обработки изделий связанной со сверловочными работами. На станке можно выполнять следующие операции:
— сверление
— рассверливание
— зенкование
— развертывание
— нарезание резьбы
На станке можно использовать специальную техоснастку, такую как тиски, универсальную делительную головку и другую, что существенно расширяет его технические возможности.
Станок 2Н135 применяется для обработки заготовок из различных конструкционных материалов — сплавов черных и цветных металлов, стали, чугуна, кроме того на нем можно обрабатывать неметаллические материалы, например, дерево или пластмассы. Станок целесообразно использовать в условиях единичного и мелкосерийного производства, а также в ремонтных и механических цехах больших промышленных предприятий.
Станок 2Н135 получил широкое распространение на машиностроительных предприятиях расположенных на территории бывшего СССР вследствие своих высоких показателей надежности и возможности обеспечить высокую точность обработки. На его базе были спроектированы модели 2Н135-1, 2Н135А и 2Н135Б, не получившие однако такого успеха, как базовая модель.
Точность по ГОСТ 8-82: Н
Максимальный диаметр сверления, мм: 35
Размеры конуса шпинделя по ГОСТ 25557-82: Морзе 4
Расстояние от оси шпинделя до направляющих колонны, мм: 300
Максимальный ход шпинделя, мм: 250
Диапазон расстояний от торца шпинделя, мм:
до стола: 30-750
до плиты: 700-4120
Максимальное перемещение сверлильной головки, мм: 170
Перемещение шпинделя за один оборот штурвала, мм: 122,46
Размеры рабочей поверхности стола, мм: 450×500
Максимальный ход стола, мм: 300
Т-обрызные пазы
Установочный размер в столе по ГОСТ 1574-75:
центрального: 18H9
крайних: 18h21
Расстояние между, мм: 100
Число скоростей: 12
Минимальная частота вращения шпинделя, об/мин: 31,5
Максимальная частота вращения шпинделя, об/мин: 1400
Число подач: 9
Диапазон подач, мм/об: 0.1-1.6
Максимальное число нарезаемых отверстий в час: 55
Управление циклами работы: Ручное
Тока питающей сети: Трехфазный
Напряжение, В: 380/220
Габариты станка 2Н135, мм
длина: 2535
ширина: 825
высота: 1030
Масса станка 2Н135, кг: 1200

В данной статье будет рассмотрен один из эталонных образцов советских вертикально-сверлильный установок – станок 2Н135.
Стационарный вертикально-сверлильный агрегат 2Н135
Мы изучим паспорт данного агрегата, его конструкционные особенности и технические характеристики, также будет рассмотрена электрическая схема и кинематическая схема устройства.
1 Функциональность и сфера применения
Вертикально-сверлильный станок 2н135 был разработан силами инженеров Одесского конструкторского бюро промышленных установок.
Во времена СССР данный агрегат, собиравшийся на Стерлитамакском станкостроительно заводе, считался наиболее технологичным и надежным оборудованием для мелкой промышленности и единичного производства.
Технические характеристики данного устройства позволяют выполнять на нем такие функциональные операции как сверление, развертывание, зенкование, зенкерование и нарезание резьбы. Станок 2Н135 дает возможность оператору точно выбирать режим подачи сверла и количество оборотов, что позволяет оптимально подстроить устройство для работы с любыми материалами.
Мощность силового агрегата, составляющая, как свидетельствует паспорт, 4 кВт, дает возможность станку 2н135 эффективно справляться даже с деталями из твердосплавной стали с большим содержанием углеродов.
Широкая популярность данного оборудования в мелкопромышленном и бытовом использовании стала причиной появления большого количества разнообразных модификаций. Рассмотрим основные из них:

Эксплуатирующиеся станки 2Н135
- 2Н135К – вертикально-сверлильный станок координатного типа, который оборудован крестовой рабочей поверхностью;
- 2Е135А – сверлильный станок оснащенный системой автоматической подачи шпинделя. Оператор станка управляет оборудованием с помощью кнопочного управления;
- 2Н135-1 – от оригинальной модели данный станок отличается лишь наличием поворотного стола круглой формы, который способен вращаться вокруг несущей колонны;
- 2Н135Н – вертикально-сверлильный станок многопозиционного типа, оператор имеет возможность свободного перемещения функциональных элементов устройства вокруг оси несущей колонны;
- 2Н135-С – паспорт устройства говорит, что данный агрегат аналогичен базовой модели во всем, за исключением фланцевой пиноли. Данная модернизация дает возможность устанавливать рабочую головку одновременно на несколько шпинделей;
- 2Н135Ф2 – сверлильный станок, оборудованный ЧПУ (числовое программное управление). Самая современная модификация 2Н135, которая также снабжена револьверной головкой и крестовой рабочей поверхностью.
1.1 Конструкционные особенности
Несущая колонна агрегата выполнена в виде монолитной чугунной конструкции. Регулировка положения рабочего стола по несущей колонне выполняется оператором вручную, посредством отжима фиксирующего элемента и поворота регулирующего штурвала. Для перемещения рабочей поверхности на колонне предусмотрены специальные направляющие.
Опорная плита также выполнена из чугуна. Плита имеет пустотелую форму, внутри которой расположен резервуар для хранения охлаждающей жидкости, фильтрующее устройство и отстойник для механических загрязнений.
За подачу охлаждающей жидкости отвечает электронасос мощностью 120 Ватт, который расположен на поверхности опорной колонны. Подача жидкости выполняется через систему трубок, подводящих воду непосредственно к сверлу.

Конструкционная схема станка 2Н135
Силовой агрегат вертикально-сверлильного станка 2Н135 расположен поверх основного корпуса, в котором размещена коробка передач и шпиндельный блок. Кинематическая схема станка 2Н135 довольно простая: коробка скоростей и силовой агрегат соединяются посредством прямого вала.
Сама коробка скоростей способна выдавать двенадцать частот оборотов шпинделя. Регулировка скорости выполняется вручную, с помощью регулировки ремней натяжения. Рукоять для механической регулировки скоростей расположена на фронтальной части сверлильной головы.
Также на фронтальную панель вынесен датчик масла. Смазка функциональных элементов агрегата выполняется автоматическом режиме с помощью плунжерного насоса, оператору лишь необходимо отслеживать по датчику наличие необходимого количества масла.
Вертикально-сверлильный станок 2Н135 оборудован ручной системой подачи шпинделя. Данная система состоит из регулировочного штурвала, червячной передачи, кулачковой и обгонно-храповой муфты, лимба, и горизонтального вала с реечной шестерней.
к меню ↑
2 Технические характеристики
Хорошие технические характеристики данного агрегата делают его вполне приемлемым вариантом недорогого вертикально-сверлильного станка даже в условиях сегодняшнего дня.
На промышленных предприятиях, либо в мастерских народных умельцев, нередко можно встретить прошедший капитальный ремонт 2Н135, в приличном внешнем и функциональном состоянии, выпущенный свыше 30-ти лет назад.
Основными характеристиками любых вертикально-сверлильных станков, от которых непосредственно зависит их функциональность, являются максимальный диаметр сверления, ход шпинделя, количество оборотов в минуту, максимальное расстояние между шпинделем и рабочей поверхностью, и размеры последней.
Давайте посмотрим паспорт 2Н135 и разберемся, чем в этом плане примечателен данный вертикально-сверлильный станок.

Коробка скоростей вертикально сверлильного станка 2Н135
Данный сверлильный агрегат, как свидетельствует паспорт, способен просверливать в стали, соответствующей стандарту ГОСТ 1050-74, отверстия до 35 миллиметров.
При этом вылет шпинделя составляет 30 см, а максимально возможный подъем над рабочей поверхностью – 250 см, что позволяет обрабатывать заготовки, обладающие большими размерами.
Остальные характеристики шпинделя следующие:
- расстояние от верхней точки шпинделя до рабочего стола: от 30 до 750 мм;
- расстояние от верхней точки шпинделя до опорной плиты: от 700 до 1120 мм;
- за один полный поворот управляющего колеса шпиндель перемещается на 122,46 мм;
- диапазон рабочих оборотов шпинделя, как свидетельствует паспорт, составляет от 31,5 до 1400 об/мин;
- количество доступных регулировок скорости шпинделя – 12 шт.
Массо-габаритные характеристики самого вертикально-сверлильного станка 2Н135:
- высота агрегата при максимальном подъеме шпинделя – 253,5 см;
- ширина агрегата – 83,5 см;
- длина агрегата – 103 см;
- масса станка – 1200 килограмм;
- размеры поверхности рабочего стола – 45×50 см;
- максимальный ход регулировки стола по вертикальной оси – 30 см.
Технические характеристики силового агрегата станка 2Н135:
- станок оборудован электромотором 4А1001.4 мощностью 4 кВт;
- для работы мотора требуется подключение к трехфазной электросети 380/220 Вольт;
- в системе жидкостного охлаждения установлен электронасос типа Х14-22М, мощностью в 0,12 кВ, который способен перекачивать 22 литра охлаждающей жидкости в минуту.
Касаемо поверхности рабочего стола: на ней установлены три пазовые крепления Т-образной формы для дополнительного оборудования согласно ГОСТ 1574.

Электронная схема станка 2Н135
2.1 Сильные и слабые стороны станка
К неоспоримым преимуществам данного агрегата можно отнести выносливость, долговечность и простой ремонт.
Не каждый станок, появившийся свыше 30-ти лет назад, может вполне успешно заменять современное сверлильное оборудование.
Безусловно, 2Н135 уступает качественным вертикально-сверлильным станкам от хороших производителей по многим параметрам, это и удобство работы, так как эргономичность новых агрегатов намного лучше, и точность сверления, и скорость выполнения операций.
Однако если вы выбираете сверлильный станок для гаражного использования либо небольшого производства с оглядкой та три фактора: функциональность, надежность и минимальная стоимость, то за сопоставимые деньги, вряд ли можно найти вариант лучше, чем 2Н135.

Сверлильный станок 2Н135
Данный станок, как и все оборудование, сошедшее с конвейеров Стерлитамакского завода, собран на совесть.
И есть все основание полагать, что при должном уходе он качественно проработает ещё не один год.
Отсутствие каких-либо пластиковых деталей, к использованию которых в целях удешевление конструкции прибегают нынешние производители, гарантирует то, что ремонт станка можно будет осуществить при любой поломке.
Сам ремонт обойдется вам в сущие копейки, поскольку комплектующими данного оборудования рынок наполнен сверх меры.
Более того, схема конструкции, кинематическая схема и электросхема станка в свободном доступе представлена в интернете, и в случае необходимости вы сможете изготовить необходимую деталь собственноручно.
к меню ↑
2.2 Обзор вертикально-сверлильного станка 2Н135 (видео)
studvesna73.ru
Вертикально-сверлильный станок 2А135: технические характеристики
Вертикально-сверлильный станок модели 2А135 успешно используется многими современными специалистами по металлообработке, но немногие из них знают, что выпуск данного оборудования Стерлитамакский станкостроительный завод прекратил еще в 1965 году. Конечно, на смену станку 2А135 пришли усовершенствованные, более современные модели, но, несмотря на это, он и по сей день пользуется большой популярностью.

Внешний вид станка 2А135 60-х годов выпуска (нажмите для увеличения)
Где применяется станок 2А135
Станок 2А135, относящийся к категории универсального вертикально-сверлильного оборудования, применяют не только для сверления отверстий, но и для эффективного выполнения ряда других технологических операций:
- рассверливания;
- развертывания;
- зенкерования;
- нарезания внутренней резьбы;
- подрезки краев деталей (для этого используются специальные инструменты).
На данном вертикально-сверлильном станке из-за небольших габаритов его рабочего стола могут обрабатываться заготовки относительно небольших размеров. Технические возможности станка 2А135 позволяют обрабатывать на нем заготовки из чугуна, различных сортов стали и цветных металлов. В качестве режущего инструмента при работе на таком станке можно использовать стандартные сверла, резьбонарезные метчики и специальный инструмент для обработки краев деталей (снятие фасок).

Типы работ, выполняемых на станке
Среди технических особенностей, которыми отличается станок 2А135, следует выделить следующие.
- Коробка скоростей позволяет выполнять их регулировку по 9 ступеням. Скорость вращения шпинделя, которую обеспечивает такая коробка, может варьироваться в интервале 68–110 об/мин.
- На этом вертикально-сверлильном станке можно сверлить отверстия диаметром до 50 мм.
- Управление станком осуществляется полностью в ручном режиме, для данного оборудования не предусмотрена возможность установки автоматизированных управляющих систем.
- В конструкции станка есть реверсивное устройство, дающее возможность шпинделю вращаться в разных направлениях. Такая техническая особенность позволяет использовать на вертикально-сверлильном станке 2А135 машинные метчики для нарезания резьбы.

Обработка заготовки на сверлильном станке 2А135
При обработке твердых материалов на данном станке понадобятся твердосплавные режущие инструменты. Учитывая не слишком высокую мощность оборудования, обработку таких материалов следует выполнять на невысоких оборотах вращения режущего инструмента.
Вертикально-сверлильный станок модели 2А135 можно оснащать дополнительными механизмами и приспособлениями, что дает возможность использовать его для оснащения предприятий, выпускающих свою продукцию крупными сериями.
Технические характеристики станка 2А135
Ниже можно ознакомиться с основными характеристиками вертикально-сверлильного станка 2А135.

Характеристики станка
Ниже вы можете бесплатно скачать техническую документацию по станку 2А135, а именно паспорт станка или руководство по эксплуатации.
Паспорт вертикально-сверлильного станка 2А135:Скачать
Конструктивные особенности модели
На момент, когда рассматриваемый станок был запущен в производство, в его конструкции было реализовано несколько технологических инноваций, что лучшим образом отразилось на его технических характеристиках. Однако наиболее примечательной характеристикой данного устройства, благодаря которой оно и сегодня пользуется большой популярностью, является надежность.

Устройство сверлильного станка 2А135
Несущими элементами вертикально-сверлильного станка модели 2А135 являются массивная опорная плита и вертикальная колонна. Для придания конструкции жесткости, массивности и невосприимчивости к вибрационным нагрузкам используются чугунные элементы.
Шпиндельная головка станка смонтирована на вертикальной несущей колонне, на которой также располагаются приводной электродвигатель и механизм, отвечающий за переключение передач. Несмотря на то, что вертикально-сверлильный станок данной модели сложно назвать современным, все его конструктивные элементы и органы управления расположены эргономично, благодаря чему на нем очень удобно работать.

Шпиндельный узел станка
Среди конструктивных особенностей вертикально-сверлильного станка модели 2А135 стоит выделить следующие.
- Подача режущего инструмента после его быстрого подвода к поверхности детали включается автоматически. Автоматическое выключение подачи происходит тогда, когда инструмент достиг требуемой глубины сверления.
- Автоматическое выключение подачи инструмента при достижении им требуемой глубины сверления возможно благодаря специальному механизму останова с упором, выполняющему в том числе и защитные функции (предохранение инструмента от поломок при критических нагрузках).
- Для обеспечения высокой точности и плавности работы шпиндель станка 2А135 закрепляется в опорах с прецизионными подшипниками.
- Согласно руководству по эксплуатации, приводные шкивы клиноременной передачи можно менять и тем самым устанавливать такие пределы скорости вращения шпинделя, которые оптимально подходят для решения определенной технологической задачи.
- Включение и выключение подач может выполняться тем же штурвальным устройством, которое отвечает за быстрое перемещение шпинделя. Это позволяет сократить время на выполнение вспомогательных операций.
- Стол станка, на котором фиксируется заготовка, может перемещаться в горизонтальной плоскости. Это перемещение можно задать и в процессе выполнения обработки, без выключения устройства.

Схема охлаждения станка
Принцип действия отдельных узлов и агрегатов станка
Позиционирование режущего инструмента относительно обрабатываемой детали и быстрый ход шпинделя осуществляются за счет основного движения, совершаемого рабочей головкой в вертикальном направлении. Менять положение детали можно также за счет движения рабочего стола, совершаемого им в горизонтальной плоскости. Характеристики вертикально-сверлильного станка 2А135, как и любого другого оборудования, определяются особенностями кинематической схемы.

Кинематическая схема вертикально-сверлильного станка модели 2А135
За вращение шпиндельной головки отвечает электрический двигатель, мощность которого составляет 4,5 кВт. Передача крутящего момента от электродвигателя, изменение параметров вращения сверлильной головки осуществляются за счет коробки передач и элементов клиноременной передачи. Максимальная скорость вращения шпинделя, обеспечиваемая данными элементами кинематической схемы, может достигать 1070 об/мин.

Электрическая схема станка
Согласно паспорту станка, при работе на нем можно выбрать одну из 12 рабочих подач. Поскольку две из них идентичны по своим параметрам, то фактически их всего 11. За изменение их параметров отвечает специальная коробка, которая через ряд зубчатых передач и предохранительную муфту приводится в действие от шпинделя установки. Для управления движением подач используются штурвальный механизм и специальная рукоятка, позволяющая изменять параметры такого движения.

Коробка подач и коробка скоростей вертикального сверлильного станка 2А135
Рассмотрим конструктивные особенности основных узлов вертикально-сверлильного станка данной модели.
- Коробку передач станка составляют 4 вала с расположенными на них подвижными блоками зубчатых колес, что позволяет регулировать скорость вращения шпиндельного узла оборудования по 9 ступеням.
- В приводе коробки подач предусмотрена кулачковая муфта, которая защищает элементы узла от поломок в случае критических нагрузок. Этот конструктивный элемент необходим также для того, чтобы автоматически отключать подачи при работе по упорам.
- В электрической схеме существует защита от короткого замыкания, имеется специальный кронштейн, при помощи которого оборудование подключается к заземляющему контуру.
- В конструкции станка не предусмотрен механизм для быстрой остановки электродвигателя, что является одним из недостатков устройства. Чтобы выполнить такую остановку, рукоятку коробки скоростей необходимо перевести в нейтральное среднее положение.
Технические возможности устройства
Вертикально-сверлильный станок данной модели отличается относительно небольшими габаритами (124х81х250 см), но достаточной массой (1300 кг) для того, чтобы была обеспечена его устойчивость при установке и использовании.

Установочные размеры и схема фундамента
Габариты деталей, которые могут быть обработаны на таком станке, определяются следующими характеристиками оборудования. Расстояние от торца шпиндельного узла до поверхности рабочего стола варьируется в пределах 0–750 мм, при этом шпиндельный узел может находиться от плиты-основания на расстоянии 705–1130 мм. Вылет станка (расстояние от оси шпиндельного узла до направляющих стойки оборудования) составляет 300 мм, а размеры рабочего стола – 450х500 мм.
Для обеспечения фиксации заготовки на поверхности рабочего стола предусмотрены три Т-образных паза. Как говорилось выше, он может перемещаться в горизонтальной плоскости (максимальная величина такого перемещения составляет 325 мм).
Согласно паспорту станка 2А135, данное оборудование характеризуется следующими параметрами.
- Величина максимального перемещения салазок шпинделя – 200 мм.
- Величина максимального хода шпинделя – 225 мм.
- Скорость вращения шпиндельного узла может варьироваться от 68 до 110 об/мин.
- Количество возможных скоростей вращения – 9.
- Крутящий момент не может превышать значение 400 кгм.
- Конусное посадочное отверстие в шпиндельном узле соответствует стандарту Морзе 4.
- Подача шпинделя за один поворот узла может варьироваться в интервале 0,115–1,6 мм. При этом, как уже говорилось, можно выбрать одну из 11 вертикальных подач.
- Усилие, создаваемое шпиндельным узлом при выполнении подачи, не может превышать 1600 кг.
Оценка статьи:
Загрузка…Поделиться с друзьями:
met-all.org
назначение и применение, технические характеристики и принцип действия
Сверлильный станок — это приспособление, которое предназначено для формирования отверстий определённого диаметра в деталях из разнообразных материалов. Технические возможности станков этой категории позволяют применение их не только для сверления отверстий, но и для выполнения других технологических операций.
Станки для сверления позволяют создавать в деталях из различного материала глухие или сквозные отверстия. Эти технологические операции выполняются при помощи сверла — инструмента, вращательное движение которого обеспечивает удаление стружки с материала обработки. Большинство оборудования этого типа составляет промышленное сверлильное оборудование.
Промышленные предприятия, выпускающие продукцию мелкими сериями или единичными экземплярами, чаще всего оснащены вертикально-сверлильными станками 2Н135. Применяя эти станки, можно одинаково успешно проводить рассверливание, сверление и развёртывание отверстий, а также зенкерование и подрезку торцов, деталей практически из любого материала.
Назначение и применение сверлильного станка 2Н135
Станок базовой модели 2135 представляет собой оборудование одно шпиндельного типа выпуск которого был освоен ещё в 1945 году на заводе города Стерлитамак. После этого, опираясь на данные по разработке и эксплуатации, были проделаны работы по технологической модернизации станков такого типа. Производство модели 2Н135 было запущено в 1965 году.
Станки одно шпиндельные 2Н135 применяются в основном на промышленных предприятиях, которые занимаются единичным или мелкосерийным изготовлением различных деталей. В массовом выпуске изделий такие станки практически не используются.
Это универсальное оборудование способно решать многие производственные задачи, такие как сверление, зенкерование, развёртывание или подрезка торцов. Оператор оборудования самостоятельно может выбирать режим подачи шпинделя и число оборотов необходимых для обработки в оптимальном режиме конкретного материала или сверления отверстия. При этом работник может вручную перемещать шпиндель, благодаря специальному механизму.
Станок 2Н135 способен производить обработку деталей из разных материалов в огромном диапазоне габаритов. Особо высокую производительность можно достичь при работе с инструментом из высокоуглеродистой стали. Оператор имеет возможность нарезать резьбу из метчиков, осуществляя подачу шпиндельного устройства ручным способом, так как станок укомплектован реверсивной системой электрического двигателя.
Модификации
Большая популярность этого оборудования в промышленном и бытовом применении, стала первой причиной выпуска огромного количества модификаций. К таким моделям относятся:
- 2Н135−1 — эта модель от оригинальной отличается только наличием круглого стола поворотного действия, который может оборачиваться вокруг несущей колонны.
- 2Е135А — такой станок оснащён автоматической системой подачи шпинделя. Оператор может управлять оборудованием при помощи кнопочного управления.
- 2Н135К — станок вертикально сверлильный координатного типа оборудованный крестовой рабочей плоскостью.
- 2Н135Н — многопозиционный вертикально сверлильный станок, оператор которого может свободно перемещать функциональные части оборудования вокруг несущей колонны.
- 2Н135Ф2 — это сверлильное оборудование с числовым программным управлением (ЧПУ). Модификация, которая имеет рабочую головку револьверного типа, а также крестовую поверхность. Эта модель считается самой современной по многим показателям.
- 2Н135-С — агрегат по всем параметрам аналогичен базовой модели, только имеет пиноль фланцевого типа. Отличительным свойством считается возможность установки рабочей головки на несколько шпинделей одновременно.
Конструктивные особенности
Конструкция сверлильного станка состоит:
- Рабочая головка, которая служит для закрепления инструмента.
- Привод.
- Насос масляный плунжерного типа.
- Система охлаждения обрабатываемой зоны.
- Шпиндель.
- Коробка подач.
- Система электроснабжения агрегата, электрический шкаф для подключения к сети.
- Коробка скоростей.
- Система контроля скорости и подачи.
- Плита основания, колонна, рабочий стол.
Станина агрегата сделана в виде монолитной, массивной, чугунной конструкции. Положение производительной поверхности выполняется оператором по несущей колонне вручную, путём отжима фиксирующего устройства и поворота штурвала, выполняющего функцию регулировки положения шпинделя. Для движения поверхности стола на колонне сделаны специальные направляющие пазы.
А также чугунной является и опорная плита. Она имеет пустотелую конструкцию, внутри которой находится ёмкость для хранения жидкости охлаждения. Там же расположен отстойник для металлических крупных загрязнений и устройство фильтрации. На самой опорной колонне располагается электрический насос мощностью 120 Вт, который отвечает за подачу жидкости. Подача охлаждающей жидкости осуществляется через систему различного диаметра трубок, которые подают воду непосредственно к сверлильному элементу.
Силовой агрегат станка располагается на верху корпуса. Шпиндельный блок и коробка передач станка располагаются в корпусе. Кинематическая схема оборудования имеет простое конструктивное решение, при котором силовой агрегат и скоростная коробка соединены прямым валом. Механическая регулировка скоростей осуществляется с помощью рукоятки, размещённой на фронтальной стороне сверлильной головки. Регулировка скорости производится вручную. Коробка осуществляет передачу скорости вращения шпинделя на двенадцати частотах.
Смазка работающих элементов агрегата осуществляется с помощью плунжерного насоса в автоматическом режиме. Оператору понадобится только контролировать по датчику, который расположен на фронтальной панели, уровень количества масла.
На этой модели установлена система ручной подачи шпинделя. Эта система включает в себя:
- Штурвал, который выполняет регулировочную функцию.
- Передачу червячного вида.
- Обгонной храповой и кулачной муфты.
- Лимба.
- Вала, горизонтального расположения, с реечной шестерней.
Принцип действия
Эксплуатация станка в действующем режиме происходит по следующему принципу. Обрабатываемую заготовку, необходимо установить и надёжно зафиксировать на рабочей поверхности координатного стола. Шпиндель с установленным инструментом должен располагаться в крайнем положении снизу. Используя систему продольного смещения рабочего стола, шпиндель необходимо отцентрировать.
Затем нужно убедиться в соосном расположении торца детали, предназначенной для обработки, и шпинделя. Исходя из кинематической возможности, в коробке скоростной передачи выбираем скорость вращения, подходящую для обработки. Включаем вертикальный электрический двигатель главного привода.
После настройки кинематической схемы, осуществляется движение инструментальной головки к торцу обрабатываемого изделия, и выполняют нужную технологическую операцию.
Технические характеристики
Характеристики станка указывают на его хорошую универсальность. С помощью станка 2Н135 можно выполнять технологические операции с заготовками из разнообразных материалов, причём с размерами довольно широкого диапазона. Благодаря применению инструментов, изготовленных из быстрорежущих сталей и сплавов, имеющих высокие показатели твёрдости, это оборудование способно выполнить различные работы.
Основными техническими характеристиками, от которых зависит функциональность любого оборудования, являются: ход шпинделя; наибольший диаметр сверления; максимальный промежуток между рабочим столом и шпинделем; количество оборотов в минуту; размер рабочей поверхности.
Для станка 2Н135 эти параметры выглядят так:
- Расстояние между направляющими и осью шпинделя — 300 мм.
- Максимальный диаметр отверстий, которые способен проделывать станок в стали — 35 мм.
- Минимальное расстояние между опорной плитой и торцом шпинделя — 700 мм, максимальное — 1120 мм.
- Минимальное расстояние между рабочим столом и торцом шпинделя — 30 мм, максимальное — 750 мм.
- Максимальный крутящий момент, способный развивать шпиндель — 400 Нм.
- Частота вращения от 31,5 до 1400 оборота в минуту.
- Количество скоростей вращения -12.
- Максимальный ход шпинделя — 250 мм.
- При одном обороте маховика-рукоятки шпиндель совершает ход на 122,46 мм.
- Деление лимба соответствует ходу шпинделя на 1 мм.
- Максимальное усилие подачи — 15 кН.
- За один оборот шпиндель совершает подачу на 0,1−1,6 мм.
- Регулировка подачи — 9 ступеней. Все режимы устанавливаются вручную. Существует система динамической остановки шпинделя.
- Размеры рабочего стола — 450×500 мм, в вертикальной плоскости рабочая поверхность может перемещаться на 300 мм. Имеется три Т-образных паза.
- Габариты станка 2Н135—2535×825×1030 мм.
- Мощность электрического двигателя, осуществляющего за подачу шпинделя — 4 квт.
- Подача жидкости для охлаждения в зону обработки производится электрическим насосом серии Х14−22М.
- Масса станка — 1200 кг.
Этот станок, как и всё другое оборудование, собранное в производственных цехах станкостроительного завода города Стерлитамак, сделан с умом и на совесть. Пластмассовые детали, которые широко используются современными производителями для удешевления своей продукции, в конструкции этого станка полностью отсутствуют. Этот фактор даёт полную гарантию, что ремонт оборудования можно будет произвести при любой его поломке. Причём обойдётся ремонт не очень дорого из-за широкого ассортимента запасных частей на рынке.
Конечно, этот станок по многим техническим характеристикам уступает современному оборудованию. Сверлильные станки хороших производителей по скорости проведения операций, точности сверления, эргономичности и удобстве работы превосходят 2Н135. Однако, если вам важна надёжность, функциональность и минимальная стоимость для выполнения сверлильных работ в гараже или небольшой мастерской, то лучше чем станок 2Н135 не найти.
Основные преимущества этого оборудования — долговечность, выносливость и простой ремонт.
tokar.guru
Сверлильный станок 2н135 – технические характеристики
Вертикально-сверлильный станок 2н135 представляет собой универсальное одношпиндельное оборудование, которое изготавливается Стерлитамакским станкостроительным заводом. Это предприятие было основано еще во времена Великой отечественной войны в результате перемещения мощного станкостроительного предприятия из Одессы в Стерлитамак.

Долгое время завод работал на благо оборонной промышленности. Сегодня же он представляет собой современное (насколько так можно сказать о постсоветском заводе) предприятие, которое специализируется на выпуске оборудования для обработки металла. И вертикально-сверлильные станки в ассортименте производителя стоят на одном из приоритетных мест.
Предприятие идет в ногу со временем, предлагая высокоточное оборудование, оснащенное числовым программным управлением. Многие агрегаты компании способны составить серьезную конкуренцию западным разработкам. И в этом плане сверлильный станок 2н135 можно назвать весьма успешным агрегатом, поставляемым на рынок в достаточно большом количестве по приемлемой цене.
Где применяется?
Одношпиндельные станки 2н135 зачастую применяются на предприятиях, которые занимаются мелкосерийным или единичным производством. В массовом производстве они практически не используются.
Техника рассчитана на выполнение ряда операций, будь то сверление, зенкерование, зенкование, подрезка торцев или развертывание. Оборудование Стерлитамакского завода – универсальное решение для реализации многих производственных задач. Оператор станка может самостоятельно выбирать число оборотов и режим подачи шпинделя, что дает возможность настраивать работу оборудования для оптимальной обработки конкретного материала или получения определенного отверстия. При этом мастер может вручную подавать шпиндель, благодаря специально предусмотренному механизму.
У вертикально-сверлильного станка 2н135 есть важное преимущество – он способен обрабатывать детали из самых разных материалов в большом диапазоне габаритов. Техника демонстрирует особо высокую производительность при работе с инструментом, изготовленным из высокоуглеродистой стали. Оператор также может нарезать резьбу с помощью машинных метчиков, подавая шпиндель вручную. Это стало возможным благодаря тому, что станок укомплектован системой реверсирования электрического двигателя.

Модификации
С целью обработки отверстий различных диаметров используются базовые агрегаты 2Н135. При этом на основе базовой модели производитель предлагает ряд модифицированных аппаратов. Определить целевое назначение конкретного станка можно по последней букве в его названии. К усовершенствованным моделям относятся:
- 2Н135А – агрегат, укомплектованный автоматической системой управления. Оператор контролирует работу техники посредством кнопочного управления.
- 2Н135К – агрегат координатного типа, оснащенный крестовым столом.
- 2Н135-1 – координатный станок, имеющий круглый стол, поворачивающийся вокруг оси колонны.
- 2Н135С – 1-позиционный аппарат с фланцевой пинолью, которая позволяет фиксировать головки для нескольких шпинделей.
- 2Н135Н – многопозиционный аппарат, в котором предусмотрена возможность фиксации многошпиндельных головок и столов, крутящихся вокруг оси колонны.
- 2Н135Ф2 – техника с числовым программным управлением. Данной модификацией также предусмотрено наличие револьверной головки, крестового стола и других дополнительных опций.
Особенности конструкции
Рассмотрим подробнее конструкционные особенности сверлильного станка 2Н135, состоящего из следующих элементов:
- Плита, колонна и стол. Это – основная «несущая» конструкция. В плите располагается резервуар, в котором находится охлаждающая жидкость. Сама же колонна – это высокопрочная чугунная отливка.
- Привод и коробка скоростей, которая обеспечивает двенадцать возможных частот вращения. Коробка движется благодаря встроенному электрическому двигателю и муфте.
- Плунжерный насос располагается на плите. Его функция – смазка основных элементов головки.
- Рукоятки для механического переключения скоростей, которые находятся на фронтальной части сверлильной головки.
- Коробка подач, установленная в сверлильной головке. Обеспечивает девять возможных подач.
- Сверлильная головка – место установки всех важных элементов агрегата. Ключевая составная часть конструкции – механизм подачи.
- Шпиндель с выбивкой, которая позволяет быстро извлекать инструмент.
Технические характеристики
Сверлильный станок 2н135 технические характеристики демонстрирует весьма достойные. Рассмотрим основные параметры данного агрегата:
- Класс точности: Н;
- Предельный диаметр отверстия: 35 мм для стали 45;
- Предельный ход шпинделя: 250 мм;
- Рабочие габариты стола: 450×500 мм;
- Предельный ход стола: 300 мм;
- Число скоростей: 12;
- Число подач: 9;
- Производительность: 55 отверстий/ч;
- Напряжение: 380/220V;
- Габариты : 2535х825х1030 мм;
- Масса: 1200 кг.

Выводы
Исходя из того, какие для сверлильного станка 2н135 свойственны технические характеристики, можно сделать вывод, что эта техника отлично подойдет для небольших объемов производства. В этом смысле у данной модели практически нет конкурентов ни по цене, ни по надежности. Если мастер планирует активно использовать вертикально-сверлильных станок для выполнения широкого спектра задач, то эта техника способна удовлетворить даже жесткие требования опытного профессионала.
Рекомендуем почитать
prostostanok.ru

